Лазерное устройство с кольцеобразным распределением интенсивности излучения (варианты) и способ управления потоком его излучения
Иллюстрации
Показать всеИзобретение относится к электронной технике, квантовой электронике, к лазерным устройствам и способам формирования потоков лазерного излучения с высокой плотностью энергии на значительном удалении от лазера. Устройство содержит коаксиально расположенные полый цилиндрический активный элемент, систему накачки, отражатель с максимальным отражением и отражатель с частичным отражением, торцевая поверхность активного элемента со стороны отражателя с частичным отражением выполнена в виде усеченной конической поверхности, образующая которой составляет с главной оптической осью лазерного устройства угол α. Отражатель представляет собой тело вращения, ограниченное двумя наружными коническими поверхностями. Образующая второй наружной конической поверхности отражателя с частичным отражением составляет с главной оптической осью лазерного устройства угол β. Способ управления потоком излучения включает возбуждение его активного элемента, регулирование диаметра сечения потока лазерного излучения. Технический результат- получение мощного потока лазерного излучения с высокой плотностью энергии в сечении и малой угловой расходимостью. 3 н. и 3 з.п. ф-лы, 3 ил.
Реферат
Изобретение относится к электронной технике, квантовой электронике, более конкретно к лазерным устройствам и способам формирования потоков лазерного излучения с высокой плотностью энергии на значительном удалении от лазера.
Такие устройства должны обеспечивать одновременное достижение высокой мощности, минимального сечения пучка и достаточно узкой диаграммы направленности, что является сложной технической проблемой.
Известны мощные лазерные устройства с цилиндрическими полыми активными элементами, в которых источник накачки расположен внутри и/или снаружи полого цилиндрического активного элемента. Это позволяет существенно повысить энергию генерируемого лазерного излучения за счет улучшения условий охлаждения.
Наиболее близкими к предлагаемым по технической сущности являются лазерное устройство с кольцеобразным распределением интенсивности излучения в сечении и способ управления потоком его лазерного излучения (патент РФ №2035099, H01S 3/08, 3/091). Суть известных устройства и способа заключается в возбуждении оптическим излучением системы возбуждения его полого цилиндрического плоскопараллельного активного элемента с плоскопараллельными торцами.
Недостатком известного лазерного устройства с кольцеобразным распределением интенсивности излучения и способа управления потоком этого излучения является то, что при плоскопараллельной конструкции резонатора они не позволяют минимизировать сечение поля излучения одновременно с уменьшением расходимости излучения и таким образом не дают возможности достижения высокой плотности энергии лазерного излучения на значительном удалении от лазера.
Недостатком известного лазерного устройства является также использование большой толщины стенки активного элемента, что приводит к появлению неоднородностей излучения и к дополнительным потерям излучения.
В настоящем изобретении решается задача получения мощного потока лазерного излучения с высокой плотностью энергии в сечении и малой угловой расходимостью.
Поставленная задача решается тем, что в лазерном устройстве с кольцеобразным распределением интенсивности излучения, содержащем коаксиально расположенные полый цилиндрический активный элемент, систему накачки, отражатель с максимальным отражением и отражатель с частичным отражением, обеспечивающим необходимую обратную связь в резонаторе и частичный выход излучения лазерного устройства из резонатора, торцевая поверхность активного элемента со стороны отражателя с частичным отражением выполнена в виде усеченной конической поверхности, образующая которой составляет с главной оптической осью лазерного устройства угол α, значение которого выбирается равным упомянутый отражатель с частичным отражением представляет собой тело вращения, ограниченное по крайней мере двумя наружными коническими поверхностями, образующая одной из них, обращенной к активному элементу, составляет с главной оптической осью лазерного устройства угол γ, значение которого выбирается равным диаметр D1 большего основания этой наружной конической поверхности удовлетворяет соотношению
а образующая второй наружной конической поверхности отражателя с частичным отражением составляет с главной оптической осью лазерного устройства угол β, удовлетворяющий соотношению
где n - показатель преломления материала активного элемента лазера,
n1 - показатель преломления материала тела вращения отражателя с частичным отражением,
D - диаметр внешней цилиндрической поверхности активного элемента,
Z - расстояние от линии пересечения внешней цилиндрической поверхности активного элемента и конической поверхности его выходного торца до большего основания обращенной к активному элементу наружной конической поверхности отражателя с частичным отражением.
Поставленная задача решается также тем, что отражатель с частичным отражением представляет собой тело вращения, ограниченное по крайней мере двумя упомянутыми наружными коническими поверхностями и соединяющей их внутренней гладкой конической поверхностью, образующая которой составляет с главной оптической осью лазерного устройства угол θ, удовлетворяющий соотношению
диаметр D2 меньшего основания этой внутренней конической поверхности удовлетворяет соотношению 0<D2<D1, где D1 - диаметр большего основания наружной конической поверхности отражателя с частичным отражением.
Поставленная задача решается тем, что в лазерном устройстве с кольцеобразным распределением интенсивности излучения, содержащем коаксиально расположенные полый цилиндрический активный элемент, систему накачки, отражатель с максимальным отражением и отражатель с частичным отражением, обеспечивающим необходимую обратную связь в резонаторе и частичный выход из резонатора излучения лазерного устройства, торцевая поверхность активного элемента со стороны отражателя с частичным отражением выполнена в виде усеченной конической поверхности, образующая которой составляет с главной оптической осью лазерного устройства угол α, значение которого выбирается равным упомянутый отражатель с частичным отражением представляет собой тело вращения, ограниченное по крайней мере двумя наружными коническими поверхностями, образующая одной из них, обращенной к активному элементу, составляет с главной оптической осью лазерного устройства угол γ, значение которого выбирается равным диаметр D1 большего основания этой наружной конической поверхности удовлетворяет соотношению
а образующая второй наружной конической поверхности отражателя с частичным отражением составляет с главной оптической осью лазерного устройства угол β, удовлетворяющий соотношению
где n - показатель преломления материала активного элемента лазера,
n1 - показатель преломления материала тела вращения отражателя с частичным отражением,
D - диаметр внешней цилиндрической поверхности активного элемента,
Z - расстояние от линии пересечения внешней цилиндрической поверхности активного элемента и конической поверхности его выходного торца до большего основания обращенной к активному элементу наружной конической поверхности отражателя с частичным отражением.
Поставленная задача решается также тем, что толщина стенки активного элемента Δ выбирается в пределах:
где D - диаметр внешней цилиндрической поверхности активного элемента.
Поставленная задача решается тем, что в способе управления потоком излучения лазерного устройства с кольцеобразным распределением интенсивности излучения, включающем возбуждение его активного элемента системой накачки, регулирование диаметра сечения потока лазерного излучения осуществляют перемещением отражателя с частичным отражением вдоль оси лазерного устройства, при этом расстояние Z от линии пересечения внешней цилиндрической поверхности активного элемента и конической поверхности его выходного торца до большего основания наружной конической поверхности отражателя с частичным отражением, обращенной к активному элементу, изменяют в пределах
где D - диаметр внешней цилиндрической поверхности активного элемента лазера,
D1 - диаметр большего основания обращенной к активному элементу наружной конической поверхности отражателя с частичным отражением,
Δ - толщина стенки активного элемента лазера,
n - показатель преломления материала активного элемента,
n1 - показатель преломления материала тела вращения отражателя с частичным отражением.
Сущность изобретения поясняется фиг.1, 2, 3.
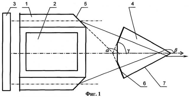
На фиг.1 схематически изображено в разрезе предлагаемое лазерное устройство согласно варианту 1 формулы изобретения, где:
1 - полый цилиндрический активный элемент лазерного устройства,
2 - система накачки,
3 - отражатель с максимальным отражением,
4 - отражатель с частичным отражением,
5 - коническая поверхность выходного торца активного элемента,
6 - первая наружная коническая поверхность отражателя с частичным отражением, обращенная к активному элементу,
7 - вторая наружная коническая поверхность отражателя с частичным отражением.
На фиг.2 схематически изображено в разрезе предлагаемое лазерное устройство согласно варианту 2 формулы изобретения, где:
1 - полый цилиндрический активный элемент лазерного устройства,
2 - система накачки,
3 - отражатель с максимальным отражением,
4 - отражатель с частичным отражением,
5 - коническая поверхность выходного торца активного элемента,
6 - первая наружная коническая поверхность отражателя с частичным отражением, обращенная к активному элементу,
7 - вторая наружная коническая поверхность отражателя с частичным отражением.
На фиг.3 схематически изображено в разрезе предлагаемое лазерное устройство, где:
1 - полый цилиндрический активный элемент лазерного устройства,
2 - система накачки,
3 - отражатель с максимальным отражением,
4 - отражатель с частичным отражением,
5 - коническая поверхность выходного торца активного элемента,
6 - первая наружная коническая поверхность отражателя с частичным отражением, обращенная к активному элементу,
7 - вторая наружная коническая поверхность отражателя с частичным отражением,
8 - внутренняя коническая поверхность отражателя с частичным отражением,
α - угол между образующей усеченной конической поверхности торца активного элемента лазера со стороны отражателя с частичным отражением и главной оптической осью лазерного устройства,
γ - угол между образующей наружной конической поверхности отражателя с частичным отражением, обращенной к активному элементу лазера, и главной оптической осью лазерного устройства.
Лазерное устройство включает в себя полый цилиндрический активный элемент 1, расположенную внутри активного элемента систему 2, отражатель с максимальным отражением 3, отражатель с частичным отражением 4. Торец активного элемента 1, обращенный к отражателю 4 с частичным отражением, представляет собой усеченную коническую поверхность 5. Отражатель с частичным отражением 4 ограничен первой 6 и второй 7 наружными поверхностями (фиг.1, 2, 3), а также может быть ограничен дополнительно внутренней конической поверхностью 8 (фиг.3).
Работа предлагаемого устройства осуществляется следующим образом. Система накачки 2 возбуждает генерацию лазерного излучения в цилиндрическом активном элементе 1. Излучение, выходящее через коническую поверхность выходного торца 5 активного элемента 1 лазерного устройства, образующая которой составляет с главной оптической осью лазерного устройства угол α, равный преломляется и попадает под прямым углом на первую наружную коническую поверхность 6 отражателя 4 с частичным отражением, угол γ между образующей которой и главной оптической осью лазерного устройства составляет При этом компонента данного излучения, поляризованная в плоскости, проходящей через ось лазерного устройства, не испытывает потерь на границе активного элемента, поэтому в силу более низких внутрирезонаторных потерь генерация в лазере осуществляется именно с такой радиальной поляризацией. Излучение лазера проходит через первую наружную поверхность 6 отражателя 4 с частичным отражением, а затем, преломляясь на его второй наружной конической поверхности 7, образующая которой составляет с главной оптической осью лазерного устройства угол β, удовлетворяющий соотношению
в первом варианте устройства
или
во втором варианте устройства,
выходит параллельно оптической оси лазера, при этом диаметр лазерного пучка на выходе из отражателя 4 с частичным отражением становится значительно меньше диаметра активного элемента 1.
Выбор диаметра D1 большего основания обращенной к активному элементу наружной конической поверхности 6 отражателя 4 с частичным отражением в соответствии с соотношением
позволяет избежать дополнительных потерь излучения активного элемента на краю отражателя 4 с частичным отражением.
Благодаря предложенному в настоящем изобретении техническому решению одновременно обеспечиваются уменьшение внутрирезонаторных потерь, формирование радиально поляризованного электромагнитного излучения, увеличение выходной мощности излучения, а также уменьшение сечения и достижение параллельности лазерного пучка.
Выбор толщины Δ стенки активного элемента 1 из соотношения позволяет повысить выходную мощность лазера и уменьшить его расходимость за счет того, что при такой толщине стенки уменьшаются возникающие при высоких уровнях накачки термомеханические напряжения в кристалле. Благодаря этому уменьшаются температурно-рефрактивные градиенты и оптические неоднородности, исключающие волновой фронт генерируемого излучения, вносящие дополнительные потери излучения, снижающие мощность лазера и расширяющие модовый состав лазерного излучения, что приводит к ухудшению диаграммы направленности лазера.
В устройстве, изображенном на фиг.2, излучение лазера проходит через первую наружную поверхность 6 отражателя 4 с частичным отражением и затем претерпевает полное внутреннее отражение на внутренней конической поверхности 8, диаметр D2 меньшего основания которой удовлетворяет соотношению 0<D2<D1, а образующая этой внутренней конической поверхности 8 составляет с главной оптической осью лазерного устройства угол θ, удовлетворяющий соотношению
после чего, преломляясь на его второй наружной конической поверхности 7, образующая которой составляет с главной оптической осью лазерного устройства угол β, удовлетворяющий соотношению
в первом варианте устройства
или
во втором варианте устройства,
выходит параллельно оптической оси лазера. При этом угол падения лазерного излучения на вторую коническую поверхность оказывается равным углу Брюстера при любых значениях n1 и n2, и оно выходит через эту поверхность без потерь, что способствует повышению выходной энергии, а также долговечности предлагаемого лазерного устройства.
Предлагаемый способ управления потоком излучения лазерного устройства с кольцеобразным распределением интенсивности излучения осуществляют следующим образом.
С помощью системы накачки 2 возбуждают генерацию лазерного излучения в цилиндрическом активном элементе 1 и, перемещая отражатель 4 с частичным отражением вдоль главной оси лазерного устройства по направлению к активному элементу 1 таким образом, чтобы расстояние Z изменялось в пределах
изменяют в значительных пределах диаметр выходящего из лазерного устройства потока лазерного излучения без дополнительных потерь его мощности.
Ниже приведены конкретные примеры осуществления предлагаемого способа.
Пример 1. В лазере с кольцевой формой активной среды, с длиной волны λ=1,06 мкм, с показателем преломления активного элемента n=1,55 и показателем преломления отражателя с частичным отражением n1=n=1,55 выбирают значение внешнего диаметра активного элемента равным D=50 мм, значение диаметра большего основания наружной конической поверхности отражателя с частичным отражением равным D1=50 мм и значение толщины стенки активного элемента лазера равным Δ=5 мм. Для регулирования изменения потока излучения лазера изменяют расстояние между активным элементом и отражателем с частичным отражением в пределах 14,5<Z<58,7 мм, при этом внешний диаметр выходного пучка излучения лазера изменялся в пределах от 4 до 27 мм, а внутренний диаметр выходного пучка излучения лазера изменялся в пределах от 0 до 23 мм.
Пример 2. В лазере с кольцевой формой активной среды, с длиной волны λ=1,06 мкм, с показателем преломления активного элемента n=1,55 и показателем преломления отражателя с частичным отражением n1=1,76 выбирают значение внешнего диаметра активного элемента равным D=50 мм, значение диаметра большего основания наружной конической поверхности отражателя с частичным отражением равным D1=50 мм и значение толщины стенки активного элемента лазера равным Δ=5 мм. Для регулирования изменения потока излучения лазера изменяют расстояние между активным элементом и отражателем с частичным отражением в пределах 14,5<Z<58,7 мм, при этом внешний диаметр выходного пучка излучения лазера изменялся в пределах от 7 до 29 мм, а внутренний диаметр выходного пучка излучения лазера изменялся в пределах от 3 до 25 мм.
Таким образом, предлагаемые лазерное устройство с кольцеобразным распределением интенсивности излучения и способ управления потоком этого излучения дают возможность обеспечить высокую плотность энергии в параллельном пучке лазерного излучения, а также управление диаметром этого пучка, обеспечивая при этом снижение потерь излучения в устройстве.
Предлагаемое лазерное устройство формирует поток радиально поляризованного излучения, что может быть важно для сверхострой фокусировки лазерного пучка, например, при использовании предлагаемого устройства в системах растровой оптической микроскопии и прецизионной обработки.
1. Лазерное устройство с кольцеобразным распределением интенсивности излучения, содержащее коаксиально расположенные полый цилиндрический активный элемент, систему накачки, отражатель с максимальным отражением и отражатель с частичным отражением, обеспечивающим необходимую обратную связь в резонаторе и частичный выход из резонатора излучения лазерного устройства, отличающееся тем, что торцевая поверхность активного элемента со стороны отражателя с частичным отражением выполнена в виде усеченной гладкой конической поверхности, образующая которой составляет с главной оптической осью лазерного устройства угол α, значение которого выбирается равным упомянутый отражатель с частичным отражением представляет собой тело вращения, ограниченное по крайней мере двумя гладкими наружными коническими поверхностями, образующая одной из которых, обращенной к активному элементу, составляет с главной оптической осью лазерного устройства угол γ, значение которого выбирается равным диаметр D1 большего основания этой наружной конической поверхности удовлетворяет соотношению
а образующая второй наружной конической поверхности отражателя с частичным отражением составляет с главной оптической осью лазерного устройства угол β, удовлетворяющий соотношению
где n - показатель преломления материала активного элемента лазера,
n1 - показатель преломления материала тела вращения отражателя с частичным отражением,
D - диаметр внешней цилиндрической поверхности активного элемента,
Z - расстояние от линии пересечения внешней цилиндрической поверхности активного элемента и конической поверхности его выходного торца до большего основания наружной конической поверхности отражателя с частичным отражением, обращенной к активному элементу.
2. Устройство по п.1, отличающееся тем, что толщина Δ стенки его активного элемента выбирается из соотношения
Δ≤0,1·D,
где D - диаметр внешней цилиндрической поверхности активного элемента.
3. Устройство по п.1, отличающееся тем, что отражатель с частичным отражением представляет собой тело вращения, ограниченное по крайней мере двумя упомянутыми наружными коническими поверхностями и соединяющей их внутренней гладкой конической поверхностью, образующая которой составляет с главной оптической осью лазерного устройства угол θ, удовлетворяющий соотношению
диаметр D2 меньшего основания этой внутренней конической поверхности удовлетворяет соотношению 0<D2<D1, где D1 - диаметр большего основания наружной конической поверхности отражателя с частичным отражением.
4. Лазерное устройство с кольцеобразным распределением интенсивности излучения, содержащее коаксиально расположенные полый цилиндрический активный элемент, систему накачки, отражатель с максимальным отражением и отражатель с частичным отражением, обеспечивающим необходимую обратную связь в резонаторе и частичный выход из резонатора излучения лазерного устройства, отличающееся тем, что торцевая поверхность активного элемента со стороны отражателя с частичным отражением выполнена в виде усеченной гладкой конической поверхности, образующая которой составляет с главной оптической осью лазерного устройства угол α, значение которого выбирается равным упомянутый отражатель с частичным отражением представляет собой тело вращения, ограниченное по крайней мере двумя гладкими наружными коническими поверхностями, образующая одной из которых, обращенной к активному элементу, составляет с главной оптической осью лазерного устройства угол γ, значение которого выбирается равным диаметр D1 большего основания этой наружной конической поверхности удовлетворяет соотношению
а образующая второй наружной конической поверхности отражателя с частичным отражением составляет с главной оптической осью лазерного устройства угол β, удовлетворяющий соотношению
где n - показатель преломления материала активного элемента,
n1 - показатель преломления материала тела вращения отражателя с частичным отражением,
D - диаметр внешней цилиндрической поверхности активного элемента,
Z - расстояние от линии пересечения внешней цилиндрической поверхности активного элемента и конической поверхности его выходного торца до большего основания наружной конической поверхности отражателя с частичным отражением, обращенной к активному элементу.
5. Устройство по п.4, отличающееся тем, что толщина Δ стенки его активного элемента выбирается из соотношения
Δ≤0,1·D,
где D - диаметр внешней цилиндрической поверхности активного элемента.
6. Способ управления потоком излучения лазерного устройства с кольцеобразным распределением интенсивности излучения, включающий возбуждение активного элемента системой накачки, отличающийся тем, что регулирование диаметра сечения потока лазерного излучения осуществляют перемещением отражателя с частичным отражением вдоль главной оси лазерного устройства, при этом расстояние Z от линии пересечения внешней цилиндрической поверхности активного элемента и конической поверхности его выходного торца до большего основания обращенной к активному элементу наружной конической поверхности отражателя с частичным отражением изменяют в пределах
где D - диаметр внешней цилиндрической поверхности активного элемента лазера,
D1 - диаметр большего основания обращенной к активному элементу наружной конической поверхности отражателя с частичным отражением,
Δ - толщина стенки активного элемента лазера,
n - показатель преломления материала активного элемента,
n1 - показатель преломления материала тела вращения отражателя с частичным отражением.


