Рыбоход

Иллюстрации

Показать все

Изобретение относится к гидротехническому строительству, а именно к рыбопропускным сооружениям, предназначенным для пропуска производителей рыбы через подпорные сооружения к местам нереста и нагула. Рыбоход включает рыбоходный тракт, выполненный в виде напорного водовода с круглым поперечным сечением, выходной оголовок которого соединен с верхним бьефом гидроузла, а входной оголовок - с нижним бьефом. На внутренней поверхности напорного водовода расположены элементы усиленной шероховатости в виде лопастей шнека по длине рыбоходного тракта, формирующие поперечные перегородки, внешние кромки которых образуют вплывные отверстия, соосные продольной оси напорного водовода. Привод вращения рыбоходного тракта выполнен в виде лопастей, установленных на внешней поверхности напорного водовода и размещенных в цилиндрической камере, выполненной в теле плотины коаксиально напорному водоводу. Со стороны верхнего и нижнего бьефов гидроузла в створе размещения входного и выходного оголовков установлены опорные подшипники напорного водовода. Рыбоход снабжен подводящими водоводами, сбросными галереями и дополнительными опорными подшипниками. Лопасти шнека выполнены водопроницаемыми и сформированы рядами гибких стержней. Диаметр цилиндрической камеры выполнен большим диаметра сквозного канала, в котором размещен напорный водовод. Цилиндрическая камера расположена на равноудаленном расстоянии от входного и выходного оголовков, которые снабжены стационарными опорными барабанами, установленными по внешнему периметру напорного водовода. Торцевые части опорных барабанов, обращенные в сторону от плотины, выполнены с центральными осевыми вплывными отверстиями с диаметром меньшим диаметра напорного водовода, а его опорные подшипники выполнены в виде цилиндрических роликов с горизонтальными осями вращения, которые закреплены на внутренней торцевой поверхности стационарных опорных барабанов и расположены с шагом вдоль внешнего периметра напорного водовода. Оси вращения дополнительных опорных подшипников расположены в вертикальной плоскости и радиально по отношению к продольной оси напорного водовода. Дополнительные опорные подшипники выполнены в виде цилиндрических роликов, установленных напротив торцевых частей напорного водовода со стороны входного и выходного оголовков рыбоходного тракта. Подводящие водоводы тангенциально соединены с верхней и нижней частями цилиндрической камеры, а их рабочие отверстия выполнены перпендикулярно лопастям привода вращения рыбоходного тракта и ориентированы в одном направлении. Концевые участки подводящих водоводов сообщены со сбросными галереями. Изобретение обеспечивает создание эффективных условий для продвижения рыбы в рыбоходном тракте. 12 ил.

Реферат

Изобретение относится к гидротехническому строительству, а именно к способам и сооружениям, предназначенным для пропуска производителей рыбы через подпорные сооружения к местам нереста и нагула.

Известно устройство для подъема рыбы [1], включающее рыбоходный тракт, выполненный в виде водовода с круглым поперечным сечением, входной оголовок которого соединен с водоемом, а входной оголовок - с емкостью, рабочий элемент для транспортировки рыбы, выполненный в виде шнека, ось которого соосна рыбоходному тракту, вплывное отверстие.

Недостатком данного устройства является низкая эффективность продвижения рыбы в рыбоходном тракте.

Известно устройство для подъема рыбы [2], включающее рыбоходный тракт, выполненный в виде водовода с круглым поперечным сечением, входной оголовок которого соединен с водоемом, а входной оголовок - с емкостью, рабочий элемент для транспортировки рыбы, выполненный в виде шнека, ось которого соосна рыбоходному тракту, вплывное отверстие.

Недостатком данного устройства является низкая эффективность продвижения рыбы в рыбоходном тракте.

Известно устройство для подъема рыбы [3], включающее рыбоходный тракт, выполненный в виде водовода с круглым поперечным сечением, входной оголовок которого соединен с водоемом, а входной оголовок - с емкостью, рабочий элемент для транспортировки рыбы, выполненный в виде шнека, ось которого соосна рыбоходному тракту, вплывное отверстие.

Недостатком данного устройства является низкая эффективность продвижения рыбы в рыбоходном тракте.

Известен рыбоход [4], включающий рыбоходный тракт, выполненный в виде напорного водовода с круглым поперечным сечением, выходной оголовок которого соединен с верхним бьефом гидроузла, а входной оголовок - с нижним бьефом, элементы усиленной шероховатости, дискретно расположенные по длине рыбоходного тракта и формирующие поперечные перегородки круговой формы, вплывные отверстия.

Недостатком данного рыбохода является низкая эффективность продвижения рыбы в рыбоходном тракте.

Известен рыбоход [5], включающий рыбоходный тракт, выполненный в виде напорного водовода с круглым поперечным сечением, выходной оголовок которого соединен с верхним бьефом гидроузла, а входной оголовок - с нижним бьефом, элементы усиленной шероховатости, дискретно расположенные по длине рыбоходного тракта и формирующие поперечные перегородки круговой формы, вплывные отверстия.

Недостатком данного рыбохода является низкая эффективность продвижения рыбы в рыбоходном тракте.

Известен рыбоход [6], включающий рыбоходный тракт, выполненный в виде напорного водовода с круглым поперечным сечением, выходной оголовок которого соединен с верхним бьефом гидроузла, а входной оголовок - с нижним бьефом, элементы усиленной шероховатости, расположенные по длине рыбоходного тракта, формирующие поперечные перегородки и вплывные отверстия круговой формы.

Недостатком данного рыбохода является низкая эффективность продвижения рыбы в рыбоходном тракте.

Известен рыбоход [7], включающий рыбоходный тракт, выполненный в виде напорного водовода с круглым поперечным сечением, выходной оголовок которого соединен с верхним бьефом гидроузла, а входной оголовок - с нижним бьефом, элементы усиленной шероховатости, расположенные по длине рыбоходного тракта, формирующие поперечные перегородки и вплывные отверстия.

Недостатком данного рыбохода является низкая эффективность продвижения рыбы в рыбоходном тракте.

Известен рыбоход [8], включающий рыбоходный тракт, выполненный в виде напорного водовода с круглым поперечным сечением, выходной оголовок которого соединен с верхним бьефом гидроузла, а входной оголовок - с нижним бьефом, элементы усиленной шероховатости, расположенные по длине рыбоходного тракта, формирующие поперечные перегородки и вплывные отверстия.

Недостатком данного рыбохода является низкая эффективность продвижения рыбы в рыбоходном тракте.

Известен рыбоход [9], включающий рыбоходный тракт, выполненный в виде напорного водовода с круглым поперечным сечением, выходной оголовок которого соединен с верхним бьефом гидроузла, а входной оголовок - с нижним бьефом, элементы усиленной шероховатости, расположенные по длине рыбоходного тракта, формирующие поперечные перегородки и вплывные отверстия.

Недостатком данного рыбохода является низкая эффективность продвижения рыбы в рыбоходном тракте.

Наиболее близким по технической сущности и достигаемому результату является рыбоход [10], включающий рыбоходный тракт, выполненный в виде напорного водовода с круглым поперечным сечением, выходной оголовок которого соединен с верхним бьефом гидроузла, а входной оголовок - с нижним бьефом, элементы усиленной шероховатости, расположенные на внутренней поверхности напорного водовода, в виде лопастей шнека, по длине рыбоходного тракта и формирующие поперечные перегородки, внешние кромки которых образуют вплывные отверстия, соосные продольной оси напорного водовода, привод вращения рыбоходного тракта, выполненный в виде лопастей, установленных на внешней поверхности напорного водовода и размещенных в цилиндрической камере, выполненной в теле плотины коаксиально напорному водоводу, и опорные подшипники напорного водовода, установленные со стороны верхнего и нижнего бьефов гидроузла в створе размещения входного и выходного оголовков.

Недостатком данного рыбохода является низкая эффективность продвижения рыбы в рыбоходном тракте.

Целью изобретения является создание эффективных условий для продвижения рыбы в рыбоходном тракте.

Сущность изобретения заключается в следующем.

Снабжение рыбохода подводящими водоводами позволяет подавать дополнительный расход воды для вращения напорного водовода.

Наличие сбросных галерей позволяет сбрасывать отработанный дополнительный расход воды в нижний бьеф гидроузла.

Наличие дополнительных опорных подшипников позволяет повысить устойчивость напорного водовода при его вращении и уменьшить величину трения-сцепления.

Выполнение лопастей шнека водопроницаемыми и сформированных рядами гибких стержней позволяет улучшить гидравлические условия внутри рыбоходного тракта и создать проточность по всему его живому сечению.

Выполнение диаметра цилиндрической камеры большим диаметра сквозного канала, в котором размещен напорный водовод, при этом цилиндрическая камера расположена на равноудаленном расстоянии от входного и выходного оголовков, позволяет сформировать оптимальную компоновку привода вращения рыбоходного тракта.

Снабжение входного и выходного оголовков стационарными опорными барабанами, установленными по внешнему периметру напорного водовода, причем торцевые части опорных барабанов, обращенные в сторону от плотины, выполнены с центральными осевыми вплывными отверстиями с диаметром меньшим диаметра напорного водовода, а его опорные подшипники выполнены в виде цилиндрических роликов с горизонтальными осями вращения, которые закреплены к внутренней торцевой поверхности стационарных опорных барабанов и расположены с шагом вдоль внешнего периметра напорного водовода, позволяет создать каркасы опорно-ходовой части рыбохода.

Выполнение осей вращения дополнительных опорных подшипников, расположенных в вертикальной плоскости и радиально по отношению к продольной оси напорного водовода, причем дополнительные опорные подшипники выполнены в виде цилиндрических роликов, установленных напротив торцевых частей напорного водовода, со стороны входного и выходного оголовков рыбоходного тракта, позволяет улучшить условия для вращения рыбоходного тракта.

Соединение подводящих водоводов тангенциально с верхней и нижней частями цилиндрической камеры, при этом их рабочие отверстия выполнены перпендикулярно лопастям привода вращения рыбоходного тракта и ориентированы в одном направлении, позволяет в максимальной степени использовать избыточную кинетическую энергию водного потока для создания вращающего момента и привода рыбоходного тракта.

Сообщение концевых участков подводящих водоводов со сбросными галереями позволяет сбрасывать отработанный расход воды в нижний бьеф.

Решение поставленной задачи достигается путем создания новой конструкции рыбохода, позволяющего повысить эффективность продвижения рыб вдоль рыбоходного тракта. Графический материал, поясняющий сущность предлагаемого изобретения, представлен на следующих фигурах:

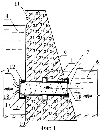
фиг.1 - рыбоход, продольный разрез;

фиг.2 - поперечный разрез рыбохода;

фиг.3 - рыбоходный тракт, план, схема контура водопроницаемой поперечной перегородки в виде шнека;

фиг.4 - сечение 1-1 на фиг.3;

фиг.5 - сечение 2-2 на фиг.3;

фиг.6 - сечение 3-3 на фиг.3;

фиг.7 - поперечный разрез рыбохода по цилиндрической камере;

фиг.8 - входной оголовок рыбохода, система опорных подшипников;

фиг.9 - разрез А-А на фиг.8

фиг.10 - вид на входной оголовок со стороны нижнего бьефа;

фиг.11 - фрагмент выходного оголовка, продольный разрез;

фиг.12 - разрез Б-Б на фиг.11.

Рыбоход включает рыбоходный тракт 1, выполненный в виде напорного водовода 2 с круглым поперечным сечением, выходной оголовок 3 которого соединен с верхним 4 бьефом гидроузла, а входной оголовок 5 - с нижним 6 бьефом, элементы усиленной шероховатости 7, расположенные на внутренней поверхности напорного водовода 2, в виде лопастей шнека, по длине рыбоходного тракта 1 и формирующие поперечные перегородки, внешние кромки которых образуют вплывные отверстия 8, соосные продольной оси напорного водовода 2, привод вращения рыбоходного тракта 1, выполненный в виде лопастей 9, установленных на внешней поверхности напорного водовода 2 и размещенных в цилиндрической камере 10, выполненной в теле плотины 11 коаксиально напорному водоводу 2, и опорные подшипники 12 напорного водовода 2, установленные со стороны верхнего 4 и нижнего 6 бьефов гидроузла в створе размещения входного 5 и выходного 3 оголовков.

Рыбоход снабжен подводящими водоводами 13, сбросными галереями 14 и дополнительными 15 опорными подшипниками, лопасти шнека выполнены водопроницаемыми и сформированы рядами гибких стержней 16, причем диаметр цилиндрической камеры 10 выполнен большим диаметра сквозного канала, в котором размещен напорный водовод 2, при этом цилиндрическая камера 10 расположена на равноудаленном расстоянии от входного 5 и выходного 3 оголовков, которые снабжены стационарными опорными барабанами 17, установленными по внешнему периметру напорного водовода 2, причем торцевые части опорных барабанов 17, обращенные в сторону от плотины 11, выполнены с центральными осевыми вплывными отверстиями 18 с диаметром меньшим диаметра напорного водовода 2, а его опорные подшипники 12 выполнены в виде цилиндрических роликов с горизонтальными осями вращения, которые закреплены к внутренней торцевой поверхности стационарных опорных барабанов 17 и расположены с шагом вдоль внешнего периметра напорного водовода 2, при этом оси вращения дополнительных опорных подшипников 15 расположены в вертикальной плоскости и радиально по отношению к продольной оси напорного водовода 2, причем дополнительные опорные подшипники 15 выполнены в виде цилиндрических роликов, установленных напротив торцевых частей напорного водовода 2, со стороны входного 5 и выходного 3 оголовков рыбоходного тракта 1, а подводящие водоводы 13 тангенциально соединены с верхней и нижней частями цилиндрической камеры 10, при этом их рабочие отверстия выполнены перпендикулярно лопастям 9 привода вращения рыбоходного тракта 1 и ориентированы в одном направлении, причем концевые участки подводящих водоводов 13 сообщены со сбросными галереями 14.

Рыбоход работает следующим образом.

Рабочий расход воды, поступающий из верхнего 4 бьефа, создает благоприятные гидравлические условия внутри рыбоходного тракта 1 и для привлечения рыб к входному оголовку 5 на фоне потока нижнего б бьефа. Рыба, ориентируясь на привлекающий рыбу «шлейф» скоростей, заходит в вплывное отверстие 18 рыбоходного тракта 1 и начинает постепенно перемещаться в направлении верхнего 4 бьефа и, постепенно преодолевая вплывные отверстия 8, сформированные элементами усиленной шероховатости 7, выполненными в виде гибких стержней 16 и расположенными на внутренней поверхности напорного водовода 2 в виде лопастей шнека, по всей длине рыбоходного тракта 1 достигает выходного оголовка 3, где выходит в верхний 4 бьеф (фиг.1).

При своем продвижении рыба имеет возможность выбора трасс и скоростных условий, формируемых вплывными отверстиями 8 и гибкими стержнями 16, выполняющими функцию элементов усиленной шероховатости 7. За счет постоянного вращения рыбоходного тракта 1 вокруг своей продольной оси шнек (фиг.3) из гибких стержней 7 способствует активному продвижению рыбы в сторону верхнего 4 бьефа. Во-первых, рыба использует оптомоторную реакцию и следует за движущимися гибкими стержнями 7; во-вторых, поскольку рыба может находиться в промежутках между лопастями шнека, его гибкие стержни 7 стимулируют ее дальнейшее продвижение в направлении выходного оголовка 3 и верхнего 4 бьефа. Этому способствует обратная закрутка витков шнека из гибких стержней 7 по отношению к направлению закрутки лопастей 9 привода вращения рыбоходного тракта 1. Таким образом, компоновка шнека из гибких стержней 7 имитирует их движение в направлении верхнего 4 бьефа гидроузла.

Величину гидравлического сопротивления потоку, проходящему через напорный водовод 2, можно изменять посредством увеличения или уменьшения круговой скорости вращения рыбоходного тракта 1.

Снабжение рыбохода подводящими водоводами 13 (фиг.7) позволяет подавать дополнительный расход воды к лопастям 9 для вращения напорного водовода 2.

Наличие сбросных галерей 14 позволяет сбрасывать отработанный дополнительный расход воды в нижний 6 бьеф гидроузла (фиг.7).

Наличие дополнительных опорных подшипников 15 (фиг.8) позволяет повысить устойчивость напорного водовода 2 при его вращении и уменьшить величину трения-сцепления.

Выполнение лопастей шнека водопроницаемыми и сформированными рядами гибких стержней 7 позволяет улучшить гидравлические условия внутри рыбоходного тракта 1 и создать проточность по всему его живому сечению.

Выполнение диаметра цилиндрической камеры 10 большим диаметра сквозного канала плотины 11, в котором размещен напорный водовод 2, при этом цилиндрическая камера 10 расположена на равноудаленном расстоянии от входного 5 и выходного 3 оголовков, позволяет сформировать оптимальную компоновку привода вращения рыбоходного тракта 1.

Снабжение входного 5 и выходного 3 оголовков стационарными опорными барабанами 17, установленными по внешнему периметру напорного водовода 2 (фиг.9 и 10), причем торцевые части опорных барабанов 17, обращенные в сторону от плотины 11, выполнены с центральными осевыми вплывными отверстиями 18 (фиг.8) с диаметром меньшим диаметра напорного водовода 2, а его опорные подшипники 12 выполнены в виде цилиндрических роликов с горизонтальными осями вращения, которые закреплены к внутренней торцевой поверхности стационарных опорных барабанов 17 и расположены с шагом вдоль внешнего периметра напорного водовода 2, позволяет создать каркасы опорно-ходовой части рыбохода.

Выполнение осей вращения дополнительных 15 опорных подшипников, расположенных в вертикальной плоскости и радиально по отношению к продольной оси напорного водовода 2 (фиг.8 и 10), причем дополнительные 15 опорные подшипники выполнены в виде цилиндрических роликов, установленных напротив торцевых частей напорного водовода 2, со стороны входного 5 и выходного 3 оголовков рыбоходного тракта 1, позволяет улучшить условия для вращения рыбоходного тракта 1.

Соединение подводящих водоводов 13 тангенциально с верхней и нижней частями цилиндрической камеры 10 (фиг.7), при этом их рабочие отверстия выполнены перпендикулярно лопастям 9 привода вращения рыбоходного тракта 1 и ориентированы в одном направлении, позволяет в максимальной степени использовать избыточную кинетическую энергию водного потока для создания вращающего момента и привода рыбоходного тракта 1.

Предлагаемый рыбоход позволяет создать равновероятные условия для продвижения и отдыха рыбы, попавшей в его внутреннее пространство.

Источники информации

1. Патент Канады (СА) №1093400, "Apparatus for catching and lifting live fish", IPC A01K 61/00, A01K 63/00, A01K 79/00. Faivre Claude, 1981.01.13

2. Патент США (US) №4932149, "Fish lifting device", IPC A01K 71/00. Roger C. Coleman, Douglas W.Gorrie, 1990, 12 июня

3. Патент США (US) №4217718, "Apparatus for catching and lifting live fish", IPC A01K 79/00. Faivre Claude, 1980, 19 августа

4. А.С. СССР (SU) №1500723. «Рыбоход». МПК Е02В 8/08. Авторы: Давыдов В.Д., Немченко Т.А., Опубл. Бюл. №30, 1989.08.15.

5. А.С. СССР (SU) №1709008. «Рыбоход». МПК Е02В 8/08. Авторы: Давыдов В.Д., Немченко Т.А., Опубл. Бюл. №4, 1992.01.30.

6. Патент Австралии (AU) №6011094, "Pipe for fishway", IPC E02В 8/08. Hisato Sugawara, 1995, 29 мая

7. Патент WO №95/13430, "Pipe for fishway", IPC E02В 8/08. Sugawara Hisato, 1995, 18 мая

8. Патент Франции (FR) №2734850, "Tonnel ou chenal a poissons", IPC E02В 8/08. Berthelon Bernard Joseph, 1996, 6 декабря

9. Патент Франции (FR) №2736949, "Tonnel a poissons", IPC E02В 8/08. Berthelon Bernard Joseph, 1997, 24 января

10. А.С. СССР (SU) №658212. «Рыбоход». МПК Е02В 8/08. Автор: Черкасов Г.Н., Опубл. Бюл. №15, 1979.04.25.

Рыбоход, включающий рыбоходный тракт, выполненный в виде напорного водовода с круглым поперечным сечением, выходной оголовок которого соединен с верхним бьефом гидроузла, а входной оголовок - с нижним бьефом, элементы усиленной шероховатости, расположенные на внутренней поверхности напорного водовода в виде лопастей шнека по длине рыбоходного тракта и формирующие поперечные перегородки, внешние кромки которых образуют вплывные отверстия, соосные продольной оси напорного водовода, привод вращения рыбоходного тракта, выполненный в виде лопастей, установленных на внешней поверхности напорного водовода и размещенных в цилиндрической камере, выполненной в теле плотины коаксиально напорному водоводу, и опорные подшипники напорного водовода, установленные со стороны верхнего и нижнего бьефов гидроузла в створе размещения входного и выходного оголовков, отличающийся тем, что он снабжен подводящими водоводами, сбросными галереями и дополнительными опорными подшипниками, лопасти шнека выполнены водопроницаемыми и сформированы рядами гибких стержней, причем диаметр цилиндрической камеры выполнен большим диаметра сквозного канала, в котором размещен напорный водовод, при этом цилиндрическая камера расположена на равноудаленном расстоянии от входного и выходного оголовков, которые снабжены стационарными опорными барабанами, установленными по внешнему периметру напорного водовода, причем торцевые части опорных барабанов, обращенные в сторону от плотины, выполнены с центральными осевыми вплывными отверстиями диаметром, меньшим диаметра напорного водовода, а его опорные подшипники выполнены в виде цилиндрических роликов с горизонтальными осями вращения, которые закреплены на внутренней торцевой поверхности стационарных опорных барабанов и расположены с шагом вдоль внешнего периметра напорного водовода, при этом оси вращения дополнительных опорных подшипников расположены в вертикальной плоскости и радиально по отношению к продольной оси напорного водовода, причем дополнительные опорные подшипники выполнены в виде цилиндрических роликов, установленных напротив торцевых частей напорного водовода со стороны входного и выходного оголовков рыбоходного тракта, а подводящие водоводы тангенциально соединены с верхней и нижней частями цилиндрической камеры, при этом их рабочие отверстия выполнены перпендикулярно лопастям привода вращения рыбоходного тракта и ориентированы в одном направлении, причем концевые участки подводящих водоводов сообщены со сбросными галереями.