Багет для крепления полотнища

Иллюстрации

Показать все

Изобретение относится к области строительства, в частности к багетам для крепления полотнища. Технический результат заключается в уменьшении контактных напряжений в полотнище и повышении способности багета удерживать полотнище. Общее сечение багета для крепления полотнища составлено из сечения устанавливаемого на опоре крепежного профиля и С-образного сечения фиксирующего профиля. Внутренняя полость фиксирующего профиля снабжена прорезью для заведения в нее полотнища. Сечение внутренней полости выполнено в виде сектора дуги диаметром d. На концах прорези с шириной h фиксирующий профиль дополнительно снабжен двумя параллельными полками, расположенными под углом 60-170° к плоскости опоры. Отношение ширины прорези h к диаметру d равно 0,4-0,9. 7 з.п. ф-лы, 3 ил.

Реферат

Изобретение относится к области строительства и может быть использовано при изготовлении поверхностей, плоскость которых сформирована из натянутого и закрепленного полотнища (натяжные потолки, стены и т.п.).

Известен багет для крепления полотнища натяжного потолка, который соединен с опорой (стеной или потолком) крепежом и снабжен открытой вниз полостью для размещения в ней полотнища и средства для его крепления. Полость имеет П-образное сечение, которое образовано нижней горизонтальной полкой и отходящими от нее вниз двумя нижними вертикальными ребрами. Прочность и надежность соединения багета с полотнищем (полотном) обеспечено наличием у полотнища краевого окаймления в форме гарпуна, взаимодействующего с конструктивными элементами багета, расположенными внутри открытой вниз полости (RU №2244077 C1, E04B 9/30, публикация 2005.01.10).

Недостатком известного технического решения является сложность и трудоемкость осуществления крепежа с использованием известного багета, связанная с необходимостью изготовления краевого окаймления полотнища, обеспечения высокой точности раскроя полотнища, а также применение дополнительных устройств для формирования соединения полотнище-багет. Кроме того, достаточно большая длина нижних вертикальных ребер не обеспечивает достаточной жесткости конструкции и, следовательно, высокого качества натяжения полотнища.

Известен багет для крепления полотнища натяжного потолка, который также может использоваться при изготовлении конструкций натяжных вертикальных и наклонных стен. Известный багет представляет собой протяженный профиль, общее сечение которого составлено из сечения устанавливаемого на опоре крепежного профиля, и фиксирующего профиля с С-образным сечением. Крепежный профиль с сечением, составленным из двух с Г-образных сечений, плоской частью устанавливается на опоре и крепится к ней известными средствами крепежа (шурупы, нагели и т.п.). В известном багете профиль с С-образным сечением образует направленную вниз внутреннюю полость, в прорезь которой сначала заводят полотнище, которое затем натягивают и окончательно фиксируют с помощью длинномерного шнурового профиля, который также располагают в упомянутой полости багета (RU 36100 U1, B65D 5/52, публикация 03.11.2003).

Недостатком известного багета является недостаточно большая площадь контакта полотнища с элементами багета и средством фиксации, что является источником высоких контактных напряжений в полотнище. Кроме того, расположение прорези профиля с С-образным сечением вблизи опоры создает неудобства монтажа при заведении и натяжении полотнища. Недостаточная жесткость конструкции известного багета в месте соединения полок профиля с Г-образным сечением может привести к появлению провисания полотнища при длительной эксплуатации.

Задачей изобретения и техническим результатом является уменьшение контактных напряжений в полотнище, повышение способности багета удерживать полотнище в полости при осуществлении операции натяжения, увеличение жесткости конструкции багета в сочетании с достаточной упругостью фиксирующих элементов, через которые заводится полотнище, а также упрощение установки полотнища и его натяжения.

Сущностью изобретения является багет для крепления полотнища, общее сечение которого составлено из сечения устанавливаемого на опоре крепежного профиля и С-образного сечения фиксирующего профиля, внутренняя полость которого снабжена прорезью для заведения в нее полотнища, причем сечение внутренней полости выполнено в виде сектора круга диаметром d, а на концах прорези с шириной h фиксирующий профиль дополнительно снабжен двумя параллельными полками, расположенными под углом 60-170° к плоскости опоры, при отношении ширины прорези h к диаметру d, равном 0,4-0,9.

Кроме того, крепежный профиль выполнен с А-образным сечением и в своей нижней части соединен с фиксирующим профилем; крепежный профиль выполнен с П-образным сечением и в своей нижней части соединен с фиксирующим профилем; крепежный профиль выполнен с R-образным сечением и в своей нижней части соединен с фиксирующим профилем; крепежный профиль выполнен с заполненными внутренними полостями; крепежный и фиксирующий профили багета выполнены из материала, выбранного из группы: металл, металлопласт, термопласт, реактопласт; что параллельные полки фиксирующего профиля на внутренней поверхности дополнительно снабжены пилообразными выступами; опорой служат потолки, вертикальные или наклонные стены, каркасы.

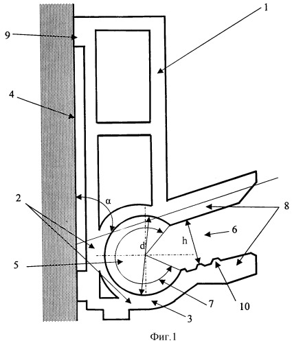
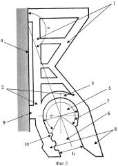
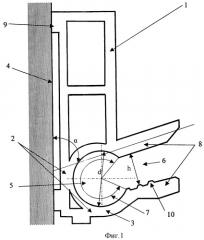
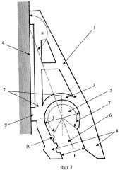
Конструкция багета по изобретению иллюстрируется чертежами на фиг.1-3, где

1 - крепежный профиль;

2 - место соединения крепежного и фиксирующего профилей;

3 - фиксирующий профиль с С-образным сечением;

4 - плоскость опоры;

5 - внутренняя полость с диаметром d фиксирующего профиля;

6 - прорезь шириной h для заведения полотнища;

7 - сектор круга диаметром d;

8 - параллельные полки;

9 - утолщения;

10 - пилообразные выступы;

- угол наклона параллельных полок (8) к плоскости опоры.

Работа конструкции багета по изобретению может быть проиллюстрирована следующими примерами.

Пример 1. Для крепления полотнища натяжного потолка использовали багет, изображенный на фиг1, со следующими характеристиками. Общее сечение багета составлено из крепежного профиля (1) с П-образным сечением (с перемычкой в середине, дающей большую жесткость конструкции) и фиксирующего профиля (3) с С-образным сечением. В своей нижней части крепежный профиль (1) имеет соединение (2) с фиксирующим профилем (3), который снабжен внутренней полостью (5) с сечением в виде сектора круга (7) с диаметром d и прорезью (6) для заведения и фиксации полотнища. Внутренняя полость (5) и прорезь (6) образуют желоб в теле фиксирующего профиля (3).

Ширина опорной поверхности крепежного профиля (1) составила 28 мм, высота крепежного профиля - 10 мм, диаметр сектора (7) круга внутренней полости (5) d=5 мм, ширина прорези (6) h=3,5 мм, величина отношения h/d=0,7, параллельные полки (8), снабженные пилообразными выступами (10), расположены под углом 70° к плоскости опоры (4), полотнище - полотно из пропитанного полимером ткани. Крепежный и фиксирующие профили багета выполнены из поливинилхлорида.

Багет по изобретению устанавливают в месте соединения стена - потолок с упором более широкой опорной поверхности крепежного профиля или утолщений (9) в потолок и крепят к опоре (потолку) с помощью крепежа (шурупы). При наличии утолщений (9) в значительной степени нивелируются неровности опоры.

После установки багета полотнище вывешивают на багете по углам потолка с использованием прищепок. Затем с помощью шпателей, начиная с середины багета, полотнище заводят через прорезь (6) во внутреннюю полость (5), закрепляют с помощью длинномерного фиксатора в виде шнура (шланга, металлического провода в пластиковой оплетке), который также заводят в упомянутую внутреннюю полость, натягивают и окончательно фиксируют. Наличие в конструкции багета по изобретению двух параллельных полок (8), расположенных под заявленным углом α к плоскости опоры (4), обеспечивает удобство проведения работ (стена не мешает при заведении и натяжении полотнища); выполнение сечения внутренней полости (5) в виде сектора круга (7) обеспечивает увеличенный плотный контакт полотнища с багетом и длинномерным фиксатором, что в сочетании с наличием параллельных полок (8), снабженных пилообразными выступами (10), обеспечивает уменьшение контактных напряжений в полотнище, исключает появление морщин при монтаже и в процессе эксплуатации натяжного потолка. Заявленное соотношение ширины прорези h к диаметру d обеспечивает повышенную способность багета удерживать полотнище в полости при осуществлении натяжения, необходимый изгиб (гибкость) параллельных полок (8) при заведении полотнища и требуемую жесткость соединения после окончательной фиксации полотнища. При выполнении багета с h/d=1 полотно будет плохо удерживаться во внутренней полости (5) при осуществлении операции натяжения, что потребует применение дополнительных приспособлений для его фиксирования.

После окончания натяжения и фиксации полотнища устанавливают декоративный профиль, выполненный с F-образным сечением, путем размещения средней выступающей его части в прорези (6).

Пример 2. Для крепления и натяжения полотнища на вертикальной стене (аналогичный результат достигается при креплении на каркасной конструкции) использовали багет, изображенный на фиг.2, со следующими характеристиками. Багет по изобретению имеет общее сечение, составленное из R-образного сечения крепежного профиля (1) и С-образного сечения фиксирующего профиля (3). R-образное сечение крепежного профиля (1) образовано сечениями 2-х профилей с Г-образным сечением. В своей нижней части крепежный профиль (1) с R-образным сечением соединен (2) с фиксирующим профилем (3) с С-образным сечением, который снабжен внутренней полостью (5) с сечением в виде сектора круга (7) и прорезью (6) для заведения и фиксации полотнища.

Ширина опорной поверхности крепежного профиля составила 20 мм, высота полки, расположенной под углом 90°, составила 25 мм, диаметр сектора круга (7) внутренней полости (5) d=10 мм, ширина прорези (6) h=8 мм, величина отношения h/d=0,8, параллельные полки (8) расположены под углом α=165° к плоскости опоры (4), полотнище - ковровое покрытие. Профили багета выполнены из ударного полистирола.

Опорную поверхность багета по изобретению устанавливают на вертикальной опоре (стена, элемент каркаса) и крепят к опоре (стене, каркасу) с помощью известных средств крепежа (стеновой шуруп, саморез, клей). Все последующие операции заведения и натяжения полотнища сходны с вышеуказанными в примере 1.

Аналогичный результат достигается при использовании багета, изображенного на фиг.3, у которого крепежный профиль выполнен с А-образным сечением и соединен с фиксирующим профилем в своей нижней части. Для повышение прочности и жесткости конструкции багета его элементы (крепежный и фиксирующий профили) могут быть дополнительно соединены перемычками, ребрами жесткости и т.п. Для достижения аналогичной цели конструкция багета по изобретению может быть выполнена монолитной, т.е. крепежный профиль выполняют с заполненными внутренними полостями материалом, из которого указанный профиль изготовлен.

В результате осуществления изобретения было получено натянутое и закрепленное полотнище с использованием багета по изобретению, обеспечившего уменьшение контактных напряжений в полотнище, увеличение жесткости конструкции багета в сочетании с достаточной упругостью фиксирующих элементов, через которые заводится полотнище, надежное удержание полотнища в багете при различных нагрузках на полотнище, направленных на вырыв полотнища из багета, а также упрощение установки полотнища и его натяжения.

1. Багет для крепления полотнища, общее сечение которого составлено из сечения устанавливаемого на опоре крепежного профиля и С-образного сечения фиксирующего профиля, внутренняя полость которого снабжена прорезью для заведения в нее полотнища, отличающийся тем, что сечение внутренней полости выполнено в виде сектора круга диаметром d, а на концах прорези шириной h фиксирующий профиль дополнительно снабжен двумя параллельными полками, расположенными под углом 60-170° к плоскости опоры, при отношении ширины прорези h к диаметру d, равном 0,4-0,9.

2. Багет по п.1, отличающийся тем, что крепежный профиль выполнен с А-образным сечением и в своей нижней части соединен с фиксирующим профилем.

3. Багет по п.1, отличающийся тем, что крепежный профиль выполнен с П-образным сечением и в своей нижней части соединен с фиксирующим профилем.

4. Багет по п.1, отличающийся тем, что крепежный профиль выполнен с R-образным сечением и в своей нижней части соединен с фиксирующим профилем.

5. Багет по п.1, отличающийся тем, что крепежный профиль выполнен с заполненными внутренними полостями.

6. Багет по п.1, отличающийся тем, что крепежный и фиксирующие профили багета выполнены из материала, выбранного из группы металл, металлопласт, термопласт, реактопласт.

7. Багет по п.1, отличающийся тем, что параллельные полки фиксирующего профиля на внутренней поверхности дополнительно снабжены пилообразными выступами.

8. Багет по п.1, отличающийся тем, что опорой служат потолки, вертикальные или наклонные стены, каркасы.