Способ и устройство для многопластового заканчивания скважины (варианты)
Иллюстрации
Показать всеИзобретение относится к многопластовому заканчиванию скважины. Обеспечивает повышение надежности устройства и повышение эффективности способа. Сущность изобретения: устройство содержит колонну, имеющую проход, и множество инструментов, установленных в колонне и приспособленных для установки в состояние захвата объектов по существу одинакового размера, перемещаемых вниз по стволу скважины через проход, при этом каждый инструмент, при установке в состояние захвата, способен ограничивать его внутренний диаметр от большего размера до меньшего размера для захвата одного из объектов. По способу используют колонну, имеющую множество инструментов и проход, проходящий через инструменты, и без спуска активизирующего инструмента в проход выборочно активизируют инструменты колонны для перехода каждого активизированного инструмента из первого состояния, в котором инструмент обеспечивает возможность перемещения свободнопадающего объекта через проход, во второе состояние, в котором инструмент обеспечивает захват свободнопадающего объекта. 5 н. и 33 з.п. ф-лы, 11 ил.
Реферат
Настоящее изобретение в общем относится к способу и устройству для многопластового заканчивания скважины.
Для повышения добычи в подземной скважине слои скважины можно разрывать с использованием содержащей расклинивающий наполнитель жидкости для гидравлического разрыва под давлением или других текучих сред для обработки пласта, таких как кислоты. Слои обычно разрывают по одному за один раз, посредством направления жидкости для гидравлического разрыва к подлежащему разрыву слою и изолируя другие слои.
Традиционная система гидравлического разрыва включает поверхностные насосы, создающие давление жидкости для гидравлического разрыва, которая может подаваться вниз по стволу скважины через центральный проход колонны труб. Колонна проходит вниз по стволу скважины через ствол скважины, который пересекает различные слои, подлежащие разрыву, и колонна может включать клапаны (например, золотниковые клапаны), которые в общем выровнены со слоями так, чтобы можно было использовать эти клапаны для управления сообщения по текучей среде между центральным проходом колонны и слоями. Таким образом, когда выполняется операция разрыва на одном из слоев, один из клапанов открыт так, чтобы жидкость для гидравлического разрыва могла передаваться через открытый клапан к прилегающему слою.
Для дистанционного управления клапанами с поверхности скважины клапаны могут содержать седла для шаров различных размеров. Более конкретно, чтобы задавать и приводить в действие клапаны, с поверхности скважины в центральный проход колонны можно забрасывать шары, имеющие различные размеры. Каждый размер шара может быть однозначно связан с отличающимся клапаном таким образом, чтобы конкретный размер шара использовался для активизирования определенного клапана. Самый маленький шар открывает самый глубокий клапан. Более конкретно, свободнопадающие шары застревают или "захватываются" седлом для шара заданного клапана. Для обеспечения различий между различными клапанами каждое седло для шара колонны имеет отличающийся диаметр.
После застревания шара в седле поток текучей среды через центральный проход колонны становится ограниченным, условие, которое позволяет прикладывать давление жидкости с поверхности скважины с целью приложения направленного вниз усилия к шару. Седло для шара обычно прикреплено к втулке клапана для передачи усилия втулке, чтобы заставить клапан открыться.
Кольцевая область, которая используется каждым седлом для шара, ограничивает площадь поперечного сечения потока через колонну (даже в отсутствие шара), и добавление каждого клапана (и седла для шара) в колонну дополнительно ограничивает площадь поперечного сечения потока через центральный проход колонны, поскольку поток через каждое седло для шара постепенно становится более узким с увеличением количества седел для шаров. Таким образом, большое количество клапанов может значительно ограничить площадь поперечного сечения потока через колонну.
В качестве альтернативы седлу для шара, располагаемому в колонне как часть клапанов, чтобы управлять клапанами, можно располагать по выбору на боковой поверхности центрального прохода колонны единственный инструмент активизирования. Более конкретно, инструмент активизирования клапанов может быть опущен вниз по стволу скважины с помощью механизма перемещения к клапану, который подлежит открытию, и для закрытия предварительно открытых клапанов.
Проблема, связанная с этим альтернативным решением, заключается в том, что насосам для гидравлического разрыва у поверхности скважины, возможно, придется простаивать после разрыва каждого слоя. Кроме того, каждый клапан обычно закрывается после связанной с ним операции разрыва. Повторное закрытие клапанов требует, чтобы сальниковые уплотнения и уплотняемые поверхности выдерживали операции разрыва без повреждения.
Известно устройство для многопластового заканчивания скважины, содержащее колонну, имеющую проход, и множество инструментов, установленных в колонне и приспособленных для установки в состояние захвата объектов по существу одинакового размера, перемещаемых вниз по стволу скважины через проход (см., например, авторское свидетельство СССР 907225 от 23.02.1982).
Таким образом, целью настоящего изобретения является создание устройства и способа многопластового заканчивания скважины, обеспечивающих решение одной или нескольких проблем, сформулированных выше.
Согласно изобретению создано устройство для многопластового заканчивания скважины, содержащее колонну, имеющую проход, и множество инструментов, установленных в колонне и приспособленных для установки в состояние захвата объектов по существу одинакового размера, перемещаемых вниз по стволу скважины через проход, при этом каждый инструмент, при установке в состояние захвата, способен ограничить его внутренний диаметр от большего размера до меньшего размера для захвата одного из объектов.
Размеры объектов могут отличаться менее чем приблизительно на 0,125 дюйма.
Объекты могут включать по меньшей мере свободнопадающий объект или нагнетаемый насосом объект.
Только один из множества инструментов может быть установлен в состояние захвата в любой момент времени.
Каждый инструмент при его установке в состояние захвата может ограничивать свой внутренний диаметр одинаковым размером для захватывания объекта.
Множество инструментов могут быть приспособлены для установки в состояние захвата в соответствии с последовательностью. Указанная последовательность может быть основана на положении инструмента в колонне. Последовательность может являться последовательностью, в которой инструменты устанавливаются в состояние захвата с помощью каждого нижнего инструмента, находящегося в последовательности перед верхним инструментом.
Каждый инструмент может быть приспособлен для установки другого инструмента в состояние захвата в ответ на выполнение функции в скважине каждого инструмента.
Инструменты могут быть клапанами.
По меньшей мере один из инструментов может быть приспособлен для ограничения прохода для потока через инструмент в ответ на захват инструмента одного из объектов и использования сужения потока для активизации инструмента.
По меньшей мере один из инструментов может быть клапаном, содержащим втулку, приспособленную для реагирования на усилие, сообщаемое через ограниченный поток, для открытия клапана.
Клапан может дополнительно содержать промывной канал, приспособленный для сообщения давления, с целью установки другого инструмента в состояние захвата в ответ на открытие клапана.
В другом варианте устройство для многопластового заканчивания скважины содержит трубчатый элемент, содержащий проход, первый инструмент, прикрепленный к трубчатому элементу и приспособленный для установки в состояние для захвата первого объекта, перемещаемого через проход, и выполнения операции после захвата первого объекта, и второй инструмент, прикрепленный к трубчатому элементу и приспособленный для перехода в состояние для захвата второго объекта, перемещаемого через проход, в ответ на операцию.
Первым объектом и вторым объектом могут быть сферы одинакового размера.
По меньшей мере один первый инструмент или второй инструмент может быть клапаном.
Первый инструмент может быть клапаном, содержащим втулку, предназначенную для открытия и закрытия клапана, при этом втулка открывается для выполнения операции, и открытие втулки устанавливает сообщение по текучей среде, для обеспечения перехода второго инструмента в состояние захвата второго объекта.
Первый инструмент может быть втулкой, приспособленной для образования седла для захвата первого объекта для установки первого инструмента в состояние захвата.
Второй инструмент может быть втулкой, приспособленной для образования седла для захвата первого объекта для установки второго инструмента в состояние захвата.
Второй инструмент может представлять собой поверхность, контактирующую с первым объектом после перехода второго инструмента в состояние захвата второго объекта и приспособленную для предотвращения образования герметизации между первым объектом и поверхностью.
Согласно изобретению создан способ многопластового заканчивания скважины, при котором используют колонну, имеющую множество инструментов и проход, проходящий через инструменты, и без спуска активизирующего инструмента в проход выборочно активизируют инструменты колонны для перехода каждого инструмента из первого состояния, в котором инструмент обеспечивает возможность перемещения свободнопадающего объекта через проход, во второе состояние, в котором инструмент обеспечивает захват свободнопадающего объекта.
Инструменты можно активизировать в соответствии с последовательностью. Указанная последовательность может быть основана на положении инструмента в колонне.
Нижние инструменты колонны можно активизировать перед активизированием верхних инструментов колонны.
Активизирование может происходить в ответ на выполнение одним из инструментов колонны функции в скважине.
Инструменты могут представлять собой клапаны.
В другом варианте в способе многопластового заканчивания скважины опускают первый объект в проход колонны, осуществляют захват первого объекта первым инструментом в скважине, после захвата объекта прикладывают давления в проходе для обеспечения выполнения первым инструментом операции, производящей изменение давления в скважине, и в ответ на изменение давления осуществляется переход второго инструмента из первого состояния, в котором второй инструмент обеспечивает перемещение второго объекта через колонну и через второй инструмент, во второе состояние, в котором второй инструмент захватывает второй объект.
Первый объект и второй объект могут представлять собой сферы одинакового размера.
По меньшей мере первый инструмент или второй инструмент может быть клапаном.
Первый инструмент может быть клапаном, и дополнительно выполняется открытие клапана для изменения давления.
Ответное на измененное давление действие может содержать сжатие втулки второго клапана для образования седла для захвата второго объекта.
Способ может дополнительно содержать перемещение первого объекта вверх по потоку для перехода второго инструмента из второго состояния в первое состояние.
При перемещении первого объекта его используют для контакта с радиально сжатым механизмом второго инструмента, чтобы вдавить механизм в кольцевую область, в которой он радиально расширяется.
Согласно другому варианту устройство для многопластового заканчивания скважины содержит колонну, предназначенную для опусканию в скважину и содержащую проход, и клапан, прикрепленный к колонне и содержащий корпус, имеющий отверстия, для сообщения по текучей среде между проходом и областью вне колонны, при этом по меньшей мере одно из отверстий содержит прорезь, имеющую продольную длину, превышающую ширину прорези по меньшей мере в пять раз.
Клапан может содержать втулку, приспособленную для перемещения для выборочной блокировки отверстия с целью управления сообщением по текучей среде между проходом и указанной областью.
Продольная длина указанной прорези может превышать ее ширину по меньшей мере в десять раз, предпочтительно по меньшей мере в двадцать раз.
Отверстия корпуса могут проходить в спиральной конфигурации относительно продольной оси клапана.
Преимущества и другие признаки изобретения станут очевидными из последующего описания чертежей, на которых изображено следующее.
Фиг.1 изображает устройство для многопластового заканчивания скважины согласно варианту осуществления изобретения.
Фиг.2 и 3 изображают клапан в закрытом состоянии и перед установкой в состояние захвата шара согласно варианту осуществления изобретения.
Фиг.4 изображает клапан в закрытом состоянии и после установки в состояние захвата шара согласно варианту осуществления изобретения.
Фиг.5 и 6 изображают клапан в его открытом состоянии согласно варианту осуществления изобретения.
Фиг.7 представляет схему последовательностей операции разрыва слоев в скважине с множеством продуктивных слоев согласно варианту осуществления изобретения.
Фиг.8 представляет вид в перспективе, иллюстрирующий особенности поверхности на нижнем конце цангового патрона клапана, согласно варианту осуществления изобретения.
Фиг.9 и 10 изображают различные состояния клапана, который использует пружинное кольцо в качестве улавливающего приспособления для шаров, в соответствии с вариантом осуществления изобретения.
Фиг.11 представляет вид в перспективе корпуса клапана согласно другому варианту осуществления изобретения.
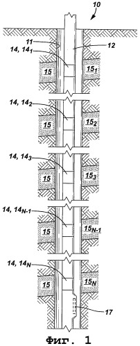
На фиг.1 устройство 10 для многопластового заканчивания скважины посредством гидравлического разрыва включает колонну 12, проходящую в ствол 11 скважины, пересекающий N слоев 15 скважины (слои 151, 152, 153...15N-1 и 15N, изображенные в качестве примеров). Колонна 12 включает клапаны 14 (клапаны 141, 142, 143...14N-1 и 14N, изображенные в качестве примеров), каждый из которых связан с конкретным слоем 15. Например, клапан 143 связан со слоем 153. Таким образом, для разрыва конкретного слоя 15 открывается связанный с ним клапан 14 (первоначально спущенный вниз по стволу скважины в закрытом состоянии) падающим шаром и нагнетанием, которое смещает отверстие золотникового клапана (как описано ниже), чтобы обеспечить связь между центральным проходом колонны 12 и связанным слоем 15. Эта связь, в свою очередь, позволяет направлять жидкость для гидравлического разрыва и давление к связанному слою 15.
Более конкретно, в некоторых вариантах осуществления изобретения каждый клапан 14 управляет связью между центральным проходом колонны 12 и кольцевой областью, которая окружает клапан 14. Когда колонну 12 спускают в скважину, все клапаны 14 первоначально закрыты. Однако клапаны 14 последовательно открывают по одному за раз в предварительно определенной последовательности (описанной ниже) с целью разрыва слоев 15.
В качестве более характерного примера, в некоторых вариантах осуществления изобретения, клапаны открывают в последовательности, которая начинается внизу колонны 12 с самого нижнего клапана 14N, переходя вверх по стволу скважины к следующему непосредственно примыкающему клапану 14, затем к следующему непосредственно примыкающему клапану 14, и т.д. Таким образом, клапан 14N открывается перед клапаном 14N-1, клапан 143 открывается перед клапаном 142 и т.д.
С целью открытия конкретного клапана 14 с поверхности скважины используется свободнопадающий или нагнетаемый насосом вниз объект в центральном проходе колонны 12. Ниже с целью разъяснения последующего обсуждения предполагается, что объект представляет собой сферический шар. Однако должно быть понятно, что в других вариантах осуществления изобретения могут использоваться другие типы объектов и/или объекты, имеющие отличающиеся формы.
В некоторых вариантах осуществления изобретения может использоваться шар такого же размера (хотя в других вариантах осуществления изобретения могут использоваться шары различных размеров), чтобы открывать все клапаны 14, как только один из предварительно нераскрытых клапанов (называемый здесь "целевой клапан") находится в "состоянии захвата шара" в любой момент времени. Более конкретно, в соответствии с некоторыми вариантами осуществления изобретения все шары, которые нагнетают насосом или спускают в скважину с целью открытия одного из клапанов 14, могут иметь диаметры, которые отличаются друг от друга меньше, чем приблизительно на 0,125 дюйма.
Как описано ниже, первоначально все клапаны 14 закрыты, и ни один из клапанов 14 не находится в состоянии захвата шара. Когда конкретный клапан 14 открывается, клапан 14 помещает следующий клапан 14 в последовательности в состояние захвата шара. Когда он находится в состоянии захвата шара, клапан 14 формирует седло, которое представляет проход для потока ограниченного поперечного сечения для захвата шара, заброшенного в центральный проход колонны 12. Для описанной выше последовательности неоткрытые клапаны 14, которые расположены выше неоткрытого клапана 14, находящегося в состоянии захвата шара, обеспечивают возможность прохода шара.
После того как шары застревают в улавливающем приспособлении для шаров целевого клапана 14, шар значительно ограничивает, если не закрывает герметически, центральный проход колонны 12 ниже шара, так что выше шара может прикладываться давление жидкости, чтобы производить усилие, заставляющее клапан открываться, как дополнительно описано ниже.
В качестве более характерного примера шар можно забрасывать с поверхности скважины в центральный проход колонны 12 с целью открытия предварительно неоткрытого клапана 14N, который предварительно был установлен в состояние захвата шара. В ответ на давление жидкости, которое применяется к получаемому в результате ограниченному центральному проходу, клапан 14N открывается, обеспечивая возможность операции разрыва, которую нужно выполнять на связанном слое 15N. Открывание клапана 14N, в свою очередь, помещает следующий клапан 14N-1 в последовательности в состояние захвата шара. Как только операция разрыва на слое 15N закончена, в центральный проход колонны 12 забрасывают другой шар с целью открытия клапана 14N-1, чтобы можно было разорвать слой 15N-1. Таким образом, эта последовательность продолжается до тех пор, пока последний клапан 141 не будет открыт, а связанный слой 151 разорван.
В качестве более характерного примера в соответствии с некоторыми вариантами осуществления изобретения фиг.2 и 3 изображают верхнюю 14А и нижнюю 14В секции клапана 14, который закрыт и не был установлен в состояние захвата шара (то есть, клапан 14 находится в своем исходном состоянии, когда попадает в скважину). Таким образом, как изображено на фиг.2 и 3, клапан 14 не ограничивает свой центральный проход 24. Как дополнительно описано ниже, клапан 14 может быть впоследствии установлен в состояние захвата шара, состояние, в котором клапан 14 сжимает цанговый патрон 30, чтобы образовать кольцевое седло для захвата шара.
Обратимся теперь к конкретным подробностям варианта осуществления, который изображен на фиг.2 и 3. В некоторых вариантах осуществления изобретения клапан 14 включает в общем цилиндрическую верхнюю секцию 20 корпуса (фиг.2), которая является коаксиальной с продольной осью 26 клапана 14. Верхняя секция 20 корпуса включает отверстие 19 для связи по текучей среде (для флюида скважины, жидкости для гидравлического разрыва и т.д.) с участком колонны 12, который расположен выше и прикреплен к верхней секции 20 корпуса. На своем нижнем конце верхняя секция 20 корпуса коаксиальна и подсоединена в общем к цилиндрической нижней секции 22 корпуса (фиг.2 и 3). Как изображено на фиг.2, в некоторых вариантах осуществления изобретения между верхней 20 и нижней 22 секциями корпуса может присутствовать уплотнение, типа уплотнительного кольца 23.
Клапан 14 включает клапанную втулку 60 (фиг.2), которая коаксиальна с продольной осью 26 и сконструирована для продольного перемещения в пределах кольцевого кармана 80 (фиг.3), который образован в верхней 20 и нижней 22 секциях корпуса клапана 14. Центральный проход клапанной втулки 60 образует часть центрального прохода 24 клапана 14. Верхнее 62 и нижнее 64 уплотнительные кольца ограничивают внешнюю поверхность втулки 60 и образуют соответствующие кольцевые уплотнения между внешней поверхностью втулки 60 и внутренней поверхностью секции 20 корпуса для блокировки радиальных отверстий (на фиг.2 не показаны) в верхней секции 20 корпуса в течение закрытого состояния (изображенного на фиг.2 и 3) клапана 14. Как дополнительно описано ниже, когда втулка 60 перемещается по направлению вниз для открытия клапана 14, отверстия в верхней секции 20 корпуса открываются для помещения клапана 14 в открытое состояние, в котором образуется связь по текучей среде между центральным проходом 24 клапана 14 и областью, окружающей клапан 14.
На своем нижнем конце клапанная втулка 60 соединена с верхним концом цангового патрона 30, состояние радиального расширения/сжимания которого контролирует, когда клапан 14 находится в состоянии захвата шара. Цанговый патрон 30 в общем коаксиален с продольной осью 26. В некоторых вариантах осуществления изобретения цанговый патрон 30 включает нижний конец 32, в котором образованы продольные прорези 34, которые могут быть расположены с равными интервалами относительно продольной оси 26 цангового патрона 30.
В своем расширенном состоянии (изображенном на фиг.2), нижний конец 32 цангового патрона 30 расширяется радиально наружу с целью создания максимального диаметра через внутреннюю область цангового патрона 30. Таким образом, как изображено на фиг.2, в этом состоянии цангового патрона 30 отверстие 38 в нижнем конце 32 патрона 30 имеет свой максимальный внутренний диаметр, таким образом оставляя центральный проход 24 свободным.
Для радиального сжатия нижнего конца 32 цангового патрона 30 для установления клапана 14 в состояние захвата шара клапан 14 снабжен оправкой 40. Оправка 40 предназначена для скольжения в нисходящем продольном направлении (от положения, изображенного на фиг.2) с целью сдвигания втулки 48 поверх нижнего конца 32 для радиального сжатия нижнего конца 32. Оправка 40 изображена на фиг.2 в положении, обеспечивающем возможность полного радиального расширения нижнего конца 32 цангового патрона 30, и, таким образом, в этом положении, оправка 40 не конфигурирует цанговый патрон 30 для захвата шара.
С целью приведения в действие оправки 40, чтобы переместить оправку 40 в нисходящем направлении, оправка 40 снабжена головкой 43 поршня, которая имеет верхнюю поверхность 44. Верхняя поверхность 44, в свою очередь, находится в связи с проходом 42 для текучей среды, который может быть образован, например, в верхней секции 20 корпуса. Верхняя поверхность 44 головки 43 поршня открыта в верхнюю камеру 90 (имеющую на фиг.2 свой минимальный объем) клапана 14 с целью создания направленного вниз усилия на оправку 40 для сжатия нижнего конца 32 цангового патрона 30.
Как изображено на фиг.2, уплотнительное кольцо 47 образует уплотнение между внутренней поверхностью головки 43 поршня и внешней поверхностью цангового патрона 30, а нижнее уплотнительное кольцо 72 расположено на внешней стороне оправки 40 для образования уплотнения между внешней поверхностью оправки 40 и внутренней поверхностью верхней секции 20 корпуса. Благодаря этим уплотнениям верхняя камера 90 изолируется от нижней камеры 75, камеры, которая находится под нижней поверхностью 73 головки 43 поршня. Например, в некоторых вариантах осуществления изобретения нижняя камера 75 имеет газ типа воздуха под атмосферным давлением или другим низким давлением, или с вакуумом.
Нижний конец оправки 40 соединен с втулкой 48, имеющей внутренний диаметр, который установлен по размеру, приблизительно соответствующему наружному диаметру секции цангового патрона 30, расположенной выше расширяющегося нижнего конца 32. Таким образом, когда давление, которое проявляется на верхней поверхности 47 головки 43 поршня, создает усилие, которое превышает объединенную подъемную силу, проявляемую от камеры 75 на нижнюю поверхность 73, и силу реакции, которая проявляется из-за сжатия нижнего конца 32, втулка 48 ограничивает внутренний диаметр нижнего конца 32 цангового патрона 30, помещая клапан 14 в его состояние захвата шара.
Фиг.4 изображает верхнюю секцию 14А клапана 14, когда клапан 14 находится в состоянии захвата шара, в котором оправка 40 находится в своей самой нижней точке рабочего хода. В этом состоянии клапанная втулка 60 остается в своей верхней точке рабочего хода, сохраняя клапан 14 закрытым. Как показано, в этом положении наружный диаметр нижнего конца 32 цангового патрона 40 ограничен внутренним диаметром втулки 48, и внутри цангового патрона 30 образовано внутреннее кольцевое седло 94. Седло 94, в свою очередь, представляет ограниченный внутренний диаметр для захвата шара.
Захват шара в седле 94 по существу ограничивает, если не закрывает герметически, центральный проход клапана 14 выше шара от центрального прохода клапана 14 ниже шара. Из-за этого ограничения потока можно применять давление от поверхности скважины с целью прикладывания направленного вниз усилия к цанговому патрону 30. Поскольку верхний конец цангового патрона 30 соединен с нижним концом клапанной втулки 60, когда давление прикладывается к заклиненному шару и цанговому патрону 30, на клапанной втулке 60 создается соответствующее направленное вниз усилие. Втулка 60 может первоначально удерживаться в направленном вверх положении, которое изображено на фиг.2 и 4, таким механизмом (механизмами) (не изображенными на чертежах), как один или более фиксатор (фиксаторы), один или более срезаемые штифты, улавливающая камера (камеры) разряжения, или вакуум-камера (вакуум-камеры). Однако, когда к клапанной втулке 60 прикладывается достаточное направленное вниз усилие, этот механизм удерживания уступает, обеспечивая возможность для нисходящего движения клапанной втулки 60.
Таким образом, для открытия клапана 14 с поверхности скважины забрасывают шар и затем прикладывают достаточное давление (посредством сужения, вносимого заклиненным шаром), чтобы заставить клапанную втулку 60 сдвинуться из ее верхнего положения в ее самое нижнее положение, которое изображено на фиг.5 и 6. Более конкретно, фиг.5 и 6 изображают клапан 14 в его открытом состоянии. Как показано на фиг.5, в открытом состоянии один или несколько радиальных промывных каналов 100, образованных в верхней секции 20 корпуса, открыты в центральный проход 24 клапана 14. Таким образом, в открытом состоянии текучая среда, например жидкость для гидравлического разрыва, может передаваться из центрального прохода 24 колонны (фиг.1) в кольцевую область, которая окружает клапан 14. Следует отметить, что когда клапан 14 закрыт, радиальные промывные каналы 100 герметически закрыты между верхним 62 и нижним 64 уплотнительными кольцами.
На фиг.6 благодаря давлению, которое оказывается на клапанную втулку 60, сборка, образованная из клапанной втулки 60, цангового патрона 30, оправки 40 и втулки 48, перемещается вниз до нижней поверхности цангового патрона 30 и нижней поверхности втулки 48, постоянно находящейся на кольцевом уступе, который образован в нижней части кольцевого кармана 80. Фиг.6 также изображает сферу или шар 150, который опирается на седло 94 и вызывает переход клапана 14 в его открытое состояние.
На фиг.5 в открытом состоянии клапана 14 проход 70 находится в связи по текучей среде с центральным проходом 24. Это является отличием от закрытого состояния клапана, в котором уплотнительное кольцо 68 образует уплотнение между центральным проходом 24 и проходом 70, как изображено на фиг.2 и 4. Поэтому в открытом состоянии клапана давление текучей среды может передаваться в проход 70 (фиг.5) с целью перевода другого клапана 14 из колонны 12 (фиг.1) в его состояние захвата шара.
В качестве более характерного примера в некоторых вариантах осуществления изобретения проход 70 может находиться в связи по текучей среде с проходом 42 другого клапана 14 (например, непосредственно примыкающего к клапану 14, расположенному выше). Поэтому в ответ на перемещение клапанной втулки 60 в ее нижнее положение применяется направленное вниз усилие (через связь давления через проходы 70 и 42) к оправке 40 другого клапана 14 из колонны 12. В качестве более характерного примера в некоторых вариантах осуществления изобретения проход 70 каждого клапана 14 может находиться в связи по текучей среде с проходом 42 непосредственно примыкающего верхнего клапана в колонне 12. Таким образом, обращаясь, например, к фиг.1, отметим, что проход 70 клапана 143 соединен с проходом 42 клапана 142, a проход 70 клапана 143 соединен с проходом 42 клапана 141. Следует отметить, что клапан 141 в примерном варианте осуществления, который изображен на фиг.1, является самым верхним клапаном 14 в колонне 12. Таким образом, в некоторых вариантах осуществления изобретения проход 70 клапана 141 может быть герметически закрыт или не существовать.
Для самого нижнего клапана 14N проход 42 не соединен с проходом нижнего клапана. Таким образом, в некоторых вариантах осуществления изобретения самый нижний клапан 14N помещают в его состояние захвата шара, используя механизм, который отличается от описанного выше. Например, в некоторых вариантах осуществления изобретения, клапан 14N может быть установлен в его состояние захвата шара в ответ на задающее воздействие текучей среды, которая передается вниз по стволу скважины через центральный проход колонны 12. Таким образом, самый нижний клапан 14N может включать механизм, типа разрывной мембраны, который реагирует на дистанционно сообщаемое задающее воздействие, чтобы позволить применить направленное вниз усилие к оправке 40.
В некоторых вариантах осуществления изобретения вышеупомянутый исполнительный механизм может перемещать оправку 40 в нисходящем направлении в ответ на задающее воздействие внизу по стволу скважины, которое сообщается через линию прихватывания или проводную линию связи, спускающуюся вниз по стволу скважины по центральному проходу колонны 12. В качестве еще одного примера задающее воздействие может быть закодировано в акустической волне, которая сообщается через колонну 12.
В качестве другого примера способа устанавливания клапана 14N в его состояние захвата шара в некоторых вариантах осуществления изобретения оправка 40 может иметь профиль на своей внутренней поверхности для зацепления инструмента смещения, который спускают вниз по стволу скважины через центральный проход колонны 12 с целью перемещения оправки 40 по направлению вниз, чтобы установить клапан 14N в его состояние захвата шара. В некоторых вариантах осуществления изобретения клапан 14N может быть спущен вниз по стволу скважины с цанговым патроном (заменяющим цанговый патрон 30), который уже сконфигурирован так, чтобы представлять седло для захвата шара. Таким образом, возможны множество модификаций, и все они находятся в пределах объема заявляемого изобретения.
Поскольку клапан 14N является последним клапаном в колонне 12, могут возникать другие проблемы в действии клапана 14N. Например, ниже самого нижнего слоя 15N, вероятно, имеется закрытая камера в скважине. Если шар был заброшен на седло 94 (фиг.14), клапанная втулка 60 клапана 14N не сможет смещаться вниз, потому что любое перемещение вниз может увеличивать давление ниже шара. Таким образом, в некоторых вариантах осуществления изобретения колонна 12 включает камеру 17 атмосферного давления (фиг.1), которая расположена ниже клапана 14N. Например, камеру 17 можно образовывать в боковом кармане в стенке колонны 12. Чтобы инициировать клапан 14N для операции, в скважину может быть спущен стреляющий перфоратор через центральный проход колонны 12 к местоположению, где расположена камера 17. Тогда по меньшей мере одно отверстие, образованное в результате выстрела стреляющего перфоратора, может проникать через камеру 17 атмосферного давления для создания более низкого давления, необходимого для смещения клапанной втулки 60 по направлению вниз, чтобы открыть клапан 14N.
В некоторых вариантах осуществления изобретения, когда камера 17 пробита, вверх по стволу скважины передается сигнал по давлению, и этот сигнал по давлению может использоваться, чтобы передать сигнал клапану 14N относительно смещения оправки 40 средства управления по направлению вниз для установления клапана 14N в состояние захвата шара. Более конкретно, в некоторых вариантах осуществления изобретения клапан 14N может включать датчик давления, который обнаруживает сигнал по давлению, чтобы исполнительный механизм клапана 14N мог реагировать на сигнал по давлению для перемещения оправки 40 по направлению вниз, чтобы сжать нижний конец 32 цангового патрона 30.
В качестве альтернативы, в некоторых вариантах осуществления изобретения цанговый патрон 30 клапана 14N может быть предварительно сконфигурирован так, чтобы седло 94 находилось уже в своем ограниченном положении, когда колонна 12 попадает в скважину. Затем можно опустить стреляющий перфоратор через центральный проход колонны 12 с целью пробивки камеры 17 атмосферного давления, чтобы в будущем обеспечить возможность нисходящего перемещения золотникового клапана 60, как описано выше.
Рассмотрим фиг.7, где в некоторых вариантах осуществления изобретения способ 200 может использоваться для разрыва множества продуктивных слоев подземной скважины. Способ 200 используется вместе с колонной, которая включает клапаны, подобные клапанам, описанным выше, типа колонны 12, которая содержит клапаны 14 (фиг.1).
В соответствии со способом 200 самый нижний клапан колонны устанавливается в его состояние захвата шара на стадии 202. Затем согласно способу 200 начинают итерацию, в которой клапаны открываются в соответствии с последовательностью (например, последовательностью снизу вверх). В каждой стадии способ 200 включает опускание следующего шара в колонну 12 на стадии 204. Затем на стадии 206 к шару прикладывается давление, чтобы заставить клапан открыться и установить другой клапан (если должен быть открыт другой клапан) в состояние захвата шара. Впоследствии на стадии 208 осуществляют разрыв в слое, который связан с открытым клапаном. Если другой слой подлежит разрыву на стадии 210, то способ 200 включает возвращение к стадии 204, чтобы выполнить другую итерацию.
В качестве более характерного примера в некоторых вариантах осуществления изобретения самый нижний клапан 15N (фиг.1) может быть открыт посредством разрывной мембраны и камеры с атмосферным давлением. Более конкретно, колонна 12 подвергается воздействию повышенного давления, разрывная мембрана разрывается, и затем текучая среда нажимает на сторону поршня. Другая сторона этого поршня находится в контакте с камерой с атмосферным давлением или вакуумной камерой.
В противоположность традиционным колоннам, в которых используют захватывающие шары клапаны, клапаны 14 не закрываются, если они однажды были открыты, в некоторых вариантах осуществления изобретения. Кроме того, в некоторых вариантах осуществления изобретения, каждый клапан 14 остается в своем состоянии захвата шара, если он установлен в это состояние. Поскольку клапаны 14 предназначены для захвата шара одинакового размера, площадь поперечного сечения для потока, протекающего через центральный проход колонны, значительно не препятствует последующим операциям разрыва или добычи.
Следует отметить, что для произвольного клапана 14 в колонне 12, как только клапан 14 установлен в его состояние захвата шара, ограниченный диаметр, формируемый с нижнего конца цангового патрона 30, препятствует опусканию шара ниже цангового патрона 30 ниже вышерасположенной части потока. Поэтому во время противотечения может быть предотвращено прохождение каждого шара за нижний конец 32 цангового патрона 30 клапана 14, расположенного выше.
Однако в соответствии с некоторыми вариантами осуществления изобретения, каждый шар можно образовывать из материала, типа растворимого или ломкого материала, который обеспечивает возможность разрушения шара. Таким образом, хотя конкретный шар может проходить выше по потоку во время противотечения и входить в контакт с нижним концом цангового патрона 30, расположенного выше, шар в конечном счете размывается или по меньшей мере достаточно растворяется, чтобы протекать вверх через клапан, открывая связь через колонну 12.
В некоторых вариантах осуществления изобретения захваченный шар, используемый для активизирования нижнего клапана 14, может выталкиваться на цанговый патрон 30 более высокого клапана в колонне 12 до тех пор, пока цанговый патрон 30 перемещается в область (например, в углубленную область, которая сформирована в нижнем кор
 
                         
                            


