Система петрофизической оценки в реальном времени
Иллюстрации
Показать всеИзобретение относится к петрофизической оценке подземных пластов. Сущность: определяют пористость и проницаемость пласта с использованием количественного показателя состава пласта. Оценивают электрическое удельное сопротивление заполненного водой пласта с использованием указанной пористости пласта. Связывают различия между измеренным электрическим удельным сопротивлением пласта и указанным оцененным электрическим удельным сопротивлением заполненного водой пласта с наличием подземных скоплений углеводородов. Оценивают насыщение пласта остаточной водой с использованием указанной пористости пласта и указанной проницаемости пласта. Технический результат: повышение надежности оценки. 4 н. и 15 з.п. ф-лы, 6 ил.
Реферат
Область техники, к которой относится изобретение
Настоящее изобретение относится к петрофизической оценке подземных пластов, а более конкретно к системе петрофизической оценки подземных пластов, использование которой обеспечивает возможность получения надежных и точных петрофизических параметров, таких как пористость, проницаемость и насыщение углеводородами/водой, сразу же после сбора данных, например, на месте нахождения скважины.
Предшествующий уровень техники
Имеется длинная история, связанная с желанием получать петрофизические параметры (включающие в себя по меньшей мере пористость и насыщение углеводородами/водой) в "реальном времени", которое в контексте этой заявки означает "сразу же после сбора данных", предпочтительно на месте нахождения скважины. Предшествующие попытки получить такой результат осложнялись необходимостью определять многочисленные параметры и разделять скважину на зоны, которые обычно должен выделять квалифицированный интерпретатор. В настоящее время вследствие больших затрат времени, усилий и навыков вычисление петрофизических оценок для большей части скважин не осуществляется. Надежные и точные оценки характеристик пласта могут быть чрезвычайно полезными исходными данными для скважин, когда в конечном счете обращение минеральной модели будет использоваться для оценки запасов. Быстрая петрофизическая оценка также может помочь нефтяным и газовым компаниям более быстро устанавливать приоритеты скважинам и пластам внутри этих скважин, что позволит выявлять наилучшие возможности для возврата инвестиций. Система петрофизической оценки в реальном времени, реализуемая во время бурения, также обеспечит возможность определения характеристик бурения, таких как изменение направления бурения и момент прекращения бурения.
По этим причинам обеспечение системы петрофизической оценки подземного пласта, способного обеспечить получение надежных и точных петрофизических параметров, таких как пористость, проницаемость и насыщение углеводородами/водой, в реальном времени, например на месте нахождения скважины, позволит получить существенную выгоду.
Краткое описание сущности изобретения
Одним объектом изобретения является способ петрофизической оценки подземного пласта, включающий в себя определение пористости и проницаемости пласта с использованием количественного показателя состава пласта; оценку электрического удельного сопротивления заполненного водой пласта с использованием пористости пласта; связывание различий между измеренным электрическим удельным сопротивлением пласта и оцененным электрическим удельным сопротивлением заполненного водой пласта с наличием подземных скоплений углеводородов; и оценку насыщения пласта остаточной водой (также называемой связанной в капиллярах водой) с использованием пористости пласта и проницаемости пласта. Также описано устройство, предназначенное для осуществления способа согласно изобретению. Другие объекты изобретения включают в себя проведение большого количества различных измерений для подземного пласта, включая измерение показателей большого количества абсолютных или относительных концентраций элементов в пласте; обработку результатов измерений для определения большого количества параметров, связанных с подземным пластом, и определение либо интервалов эффективной мощности залежи, либо характеристик бурения при использовании этих параметров пласта. Дополнительные детали и признаки изобретения легко станут очевидными из подробного описания, которое приведено ниже.
Перечень фигур чертежей
Ниже изобретение будет описано более подробно в сочетании с сопровождающими чертежами, на которых:
фиг.1 - схематичное изображение устройства для скважинного каротажа подземного пласта в соответствии с некоторыми вариантами осуществления изобретения;
фиг.2 - схематичное изображение потока данных и этапов обработки в соответствии с некоторыми вариантами осуществления способа согласно изобретению; и
фиг.3 - пример индикатора, отображающего примерные выходные данные, получаемые в некоторых вариантах осуществления устройства и способа согласно изобретению.
Подробное описание
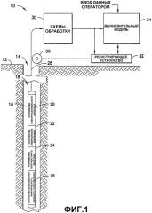
На фиг.1 показано устройство, предназначенное для петрофизической оценки подземного пласта в соответствии с некоторыми вариантами осуществления изобретения. Система 10 сбора и обработки данных показана развернутой внутри подземного пласта 12. Ствол 14 скважины пробурен внутри подземного пласта 12 и заполнен буровым раствором 16. Каротажный прибор 18 подвешен в стволе 14 скважины на бронированном кабеле 28, выпущенная длина которого по существу определяет глубину погружения каротажного прибора внутри подземного пласта 12. Длину кабеля регулируют посредством обычного средства на поверхности (непоказанного). В этом конкретном варианте осуществления устройства согласно изобретению каротажный прибор 18 включает в себя устройство 20 спектроскопического каротажа, устройство 22 нейтронного каротажа, устройство 24 плотностного каротажа и устройство 26 для измерения электрического удельного сопротивления. Устройством спектроскопического каротажа может быть, например, зонд ECS™ спектроскопического каротажа по спектру захвата фирмы Schlumberger, а устройство 22 нейтронного каротажа, устройство 24 плотностного каротажа и устройство 26 для измерения сопротивления могут быть составными частями комплексного каротажного зонда тройного назначения PLATFORM EXPRESS™ фирмы Schlumberger. Устройство 20 спектроскопического каротажа обеспечивает получение количественного показателя состава пласта посредством измерения абсолютных и относительных концентраций большого количества элементов, таких как кремний, кальций, железо и сера. К тому же эти концентрации элементов также могут быть использованы для оценки абсолютных или относительных весовых долей литологических материалов, таких как глина, песчаник, карбонаты и пирит. В устройстве 26 для измерения электрического удельного сопротивления могут использоваться, например, принципы бокового электрического каротажа с фокусировкой тока или измерения индуктивного сопротивления. Дополнительное устройство, которое не показано, может быть использовано для определения температурного профиля пласта. Схемы 30, которые показаны на поверхности, хотя часть их может быть размещена в стволе скважины, представляют собой схемы обработки данных, поступающих от различных составных частей каротажного прибора 18. Желобчатое колесо 36 может быть предусмотрено для определения глубины погружения каротажного прибора 18, а сигналы с него обычно подаются на регистрирующее устройство 32, которое основано на принципах электрической, магнитной, оптической, графической записи и/или на иных принципах хранения и регистрации сигналов, принятых от схем 30 обработки и вычислительного модуля 34.
Операции, выполняемые в некоторых вариантах осуществления изобретения посредством вычислительного модуля 34, показаны на фиг.2 в виде вычислительной процедуры 40.
Результаты измерений объемной плотности при гамма-гамма-каротаже (выходной сигнал устройства 24 плотностного каротажа, рассмотренного выше) обычно преобразуют в значения "пористости по данным плотностного каротажа" во время или сразу же после каротажа. Уравнение, связывающее объемную плотность и пористость, имеет вид
где φt - общая пористость;
ρb - объемная плотность;
ρma - плотность матрицы; и
ρf - плотность флюида.
Поскольку ρb измеряют, а значение ρf как правило известно (обычно предполагают, что оно равно плотности фильтрата бурового раствора), то наибольший вклад в неопределенность при вычислении пористости вносит ρma. Обычно этот параметр неизвестен и при обработке и отображении полевых данных по умолчанию используют постоянную 2,65 г·см-3 плотность кварца.
В различных интерпретациях парадигмы, называемой непосредственным вычислением свойств матрицы (рассмотренной более подробно в докладе Herron S.L. and Herron M.M., 2000, "Application of nuclear spectroscopy logs to the derivation of formation matrix density", Trans. SPWLA 41st Ann. Log. Symp., Dallas, TX, Paper JJ, включенном в настоящую заявку посредством ссылки), плотность матрицы можно аппроксимировать линейной комбинацией долей элементов кремния, кальция, железа и серы в пласте со среднеквадратической ошибкой всего 0,015 г·см-3 в соответствии с соотношением:
где DWSI, DWCA, DWFE и DWSU - весовые доли элементов кремния, кальция, железа и серы по результатам спектроскопических измерений.
В чистом кварце при замене значением 0,47 для DWSI получим плотность матрицы 2,65 г·см-3; в чистом известняке при замене значением 0,4 для DWCA получим значение 2,72 г·см-3. Такое действие обеспечивает возможность непосредственной коррекции изменений плотности матрицы, обусловленных литологией, с исключением необходимости последующего моделирования минералов. Эта процедура представлена на фиг.2 как процесс 42 вычисления плотности матрицы.
Вычисленные значения плотности матрицы объединяют с результатами измерений объемной плотности посредством гамма-гамма-каротажа в процессе 44 вычисления пористости по данным плотностного каротажа, чтобы получить скорректированные значения пористости по данным плотностного каротажа.
Аналогичный подход используют при вычислении скорректированных значений пористости по данным нейтронного каротажа. В процессе 46 вычисления нейтронного индекса матрицы или водородного индекса матрицы вычисляют значения нейтронного индекса матрицы или значения водородного индекса матрицы (в зависимости от вида выполненных нейтронных измерений), обычно и на этот раз по весовым долям элементов в пласте. Нижеследующие алгоритмы используют для вычисления соответствующих значений нейтронного индекса матрицы и водородного индекса матрицы:
нейтронный индекс матрицы = 0,40816-0,889DWSI-1,0136DWCA-0,25718DWFE+0,67533DWSU,
водородный индекс матрицы = 0,30155-0,6229DWSI-0,75759DWCA-0,47354DWFE+0,4521DWSU,
где DWSI - концентрация кремния в десятичных долях единицы, DWCA - концентрация кальция, DWFE - концентрация железа и DWSU - концентрация серы по данным спектроскопических измерений.
Затем эти вычисленные значения нейтронного индекса матрицы или водородного индекса матрицы объединяют с данными нейтронных измерений, чтобы получить скорректированные значения пористости по данным нейтронного каротажа в процессе 48 вычисления нейтронной пористости.
После этого скорректированные значения пористости по данным плотностного каротажа и скорректированные значения пористости по данным нейтронного каротажа используют для получения в процессе 50 вычисления общей пористости скорректированных значений общей пористости. Предпочтительный способ, предназначенный для получения скорректированных значений общей пористости, заключается в отборе скорректированных значений пористости по данным плотностного каротажа в отсутствие пересечения данных нейтронного и плотностного каротажа и в усреднении скорректированных значений пористости по данным нейтронного и плотностного каротажа при наличии пересечения данных нейтронного и плотностного каротажа. Этот процесс графически представлен на фиг.3 и рассмотрен более подробно ниже.
Данные каротажа по содержанию элементов кремния, кальция, железа и серы также могут быть использованы для определения количественной литологии пласта. Эта методика интерпретации, разработанная Schlumberger и названная SpectroLith™, была разработана при использовании минералогической базы данных по кремнисто-обломочным кернам и проверена путем химического исследования приблизительно 400 образцов. Согласно методике SpectroLith™ элементы кремний, кальций и железо используют для оценки глины в соответствии с уравнением (3):
где DWSI, DWCA и DWFE - весовые доли элементов кремния, кальция и железа. Концентрации карбонатов (объединяющих кальцит и доломит) определяют на основании данных кальция. Концентрации ангидрита или пирита определяют, используя диаграмму каротажа серы. Оставшаяся часть формации состоит из песка (кварца, полевого шпата и слюдистых минералов).
Этот способ, включая его разнообразные альтернативные варианты, описан в значительной степени более подробно в нижеследующих документах и обычным образом переуступленных патентах США, каждый из которых включен в настоящую заявку посредством ссылки:
Проницаемость пласта может быть определена при использовании этих фракционных литологических значений для пласта и скорректированных значений общей пористости (рассмотренных выше) в процессе 52 вычисления проницаемости. В ходе этого процесса вычисляют проницаемость в кремнисто-обломочных и родственных пластах на основе параметра лямбда. Параметр лямбда представляет собой меру эффективного диаметра динамически связанных пор и в случае простейших геометрий пор может быть аппроксимирован на основании отношения поверхности порового пространства к объему порового пространства. Было показано, что отношение поверхности порового пространства к объему порового пространства может быть вычислено на основании данных минералогии или по литологическим концентрациям. К числу других необходимых входных данных относятся общая пористость, плотность матрицы и показатель сцементированности Арчи, m*. В более сложных системах пор при меньшей проницаемости некоторые из пор становятся в потоке неэффективными, а первоначально предсказанные проницаемости слишком высокими, но могут быть безошибочно снижены. Первоначальная k-лямбда оценка, примененная к данным литологии, имеет вид:
где Z - оптимизированный предварительный коэффициент;
- общая пористость;
m* - показатель сцементированности Арчи;
ρg - вычисленная плотность матрицы;
а wcla, wsan, wcar и wpyr - литологические весовые доли глины, песчаника (кварца, полевого шпата и слюды), карбонатов и пирита, соответственно.
В случае, если первоначальная оценка меньше 100 мД, конечную оценку вычисляют, используя уравнение (5):
Процесс определения проницаемости земного пласта при использовании данных минералогии или на основании литологических концентраций рассмотрен значительно более подробно в нижеследующих источниках и в обычным образом переуступленных патентах США, каждый из которых включен в настоящую заявку посредством ссылки:
Johnson D.L., Koplik J. and Schwartz L.M., 1986, "New poresize parameter characterizing transport in porous media", Phys. Rev. Lett., 57, 2564-2567;
Sen P.N., Goode P.A. and Sibbit A., 1988, "Electrical conduction in clay bearing sandstones at high and low salinities", J. Appl. Phys., 63, 4832-4840;
Herron M.M., Johnson D.L. and Schwartz L.M., 1998, "A robust permeability estimator for siliciclastics", SPE 49301;
Патент США №4773264 под названием "Permeability determinations through the logging of subsurface formation properties", выданный 27 сентября 1988 г. Herron Michael M.; и
Патент США №6140816 под названием "Method of determining the permeability of sedimentary strata", выданный 31 октября 2000 г. Herron Michael M.
Дальнейшим процессом в вычислительной процедуре 40 является процесс 54 вычисления насыщения остаточной водой. Насыщение остаточной водой (также называемое насыщением связанной в капиллярах водой) обусловлено водой, которая остается в пласте при извлечении флюида из основной массы породы. Путем объединения проницаемости, полученной выше, со скорректированной общей пористостью можно получить оценку насыщения остаточной водой, BFV, используя соотношение Coates-Timur-лямбда (6):
Значительно более подробное рассмотрение уравнения Coates-Timur можно найти в публикациях:
Timur A., 1969, "Producible porosity and permeability of sandstone investigated through NMR principles", Log Analyst, 10 (1), 3-11;
Ahmed U., Crary S.F. and Coates G.R., 1989, "Permeability estimation: the various sources and their interrelationship, SPE 19604; и
Coates G.R., Miller M., Gillen M. and Henderson G., 1991, "The MRIL in Conoco 33-1 - an investigation of a new magnetic resonance imaging log", Trans. SPWLA 32th Ann. Log. Symp., New Orleans, LA, Paper DD;
каждая из которых включена в настоящую заявку посредством ссылки.
Скорректированные значения общей пористости также используют для проведения различия в подземных пластах между насыщением водой и насыщением углеводородом. Ключевой момент этого процесса вытекает из различия между истинным электрическим удельным сопротивлением пласта, Rt, и электрическим удельным сопротивлением, R0, которое наблюдается в случае, когда пласт заполнен минеральным раствором (рассолом), имеющим такое же электрическое удельное сопротивление, что и пластовая вода в стволе скважины, Rw. Существуют несколько моделей электрического удельного сопротивления, которые могут быть использованы для оценки электрического удельного сопротивления заполненного водой пласта в процессе 56 оценки электрического удельного сопротивления заполненного водой пласта, но только немногие из них считаются имеющими научную основу. Обычно эти модели основаны на результате исследования Арчи, заключающемся в том, что удельную проводимость С0 заполненного водой пласта, C0=1/R0, можно считать пропорциональной общей пористости, возведенной в степень и умноженной на удельную проводимость Cw воды:
В 1950-х годах было обнаружено, что глины вносят дополнительный вклад в удельную проводимость. Первой удачной моделью, в которой был учтен вклад глины, было уравнение Waxman-Smits, моделирующее дополнительную удельную проводимость, как равную катионообменной емкости, отнесенной к единице объема порового пространства, Qv, умноженной на параметр В, который зависит от температуры и немного от солености:
Эта модель была расширена для более полного учета влияния температуры и солености. Показатель m* был моделирован как функция корня квадратного из способности к катионному обмену, умноженная на плотность матрицы. Заявитель успешно использовал для глины среднее значение 0,1 миллиэквивалента на каждый грамм глины при демонстрации реализуемости способа и устройства согласно изобретению. Модели удельной проводимости, которые можно успешно использовать в сочетании с изобретением, включают в себя модели удельной проводимости Waxman-Smits-Thomas, Clavier-Coates-Dumanoir, Waxman-Smits-Gravestock и Sen-Goode-Sibbit. В приведенных ниже источниках, каждый из которых включен в настоящую заявку посредством ссылки, эти процедуры и их варианты рассмотрены подробно:
Затем оцененное электрическое удельное сопротивление заполненного водой пласта можно сравнить с результатами измерений электрического удельного сопротивления пласта в процессе 58 различения насыщения водой и насыщения углеводородами. В случае, если Rt представляет собой электрическое удельное сопротивление, измеренное зондом с большим радиусом исследования, а R0 - ожидаемое электрическое удельное сопротивление пласта, заполненного минеральным раствором, то насыщение Sw водой может быть аппроксимировано как
где n называют показателем насыщения и обычно придают ему значение 2.
Насыщение углеводородами вычисляют как разность между скорректированной общей пористостью и вычисленным насыщением водой. Признаки эффективной мощности залежи могут быть определены при использовании любого сочетания критериев для подземного пласта, таких как скорректированная общая пористость, проницаемость, насыщение углеводородами, наличие воды, добываемой с нефтью, и т.д., в процессе 60 определения признаков эффективной мощности залежи.
Аналогичным образом может быть выполнен процесс 62 определения характеристик бурения при использовании желаемых критериев для ствола скважины и любого сочетания критериев для подземного пласта, таких как скорректированная общая пористость, проницаемость, насыщение углеводородами, наличие несвязанной воды и т.д. Определение характеристик бурения может быть сделано, например, для изменения направления бурения или определения момента прекращения бурения. Способ и устройство согласно изобретению могут быть использованы для изменения направления бурения к более продуктивным интервалам на основе изменений пористости, проницаемости или насыщения углеводородами/водой или для приостановки бурения с целью согласования прогнозируемой добычи углеводородов с конструкцией или с пропускной способностью наземного оборудования.
Пример индикатора, на котором представлены результаты соответствующего изобретению способа, показан на фиг.3. Индикатор состоит из десяти столбцов. В первом столбце отображена количественная литология матрицы пласта. Штриховка для каждого компонента-минерала показана в верхней части столбца 70 литологии матрицы, доли (весовые) минералов, показанные вместе с глиной, представлены на самой левой стороне, а другие минералы отображены в обратном порядке по отношению к их штриховому коду в верхней части (то есть доля сидерита показана на самой правой стороне столбца). Во втором столбце отображена вычисленная плотность 72 матрицы (то есть выходные данные процесса 42 вычисления плотности матрицы, рассмотренного выше), а также измеренная глубина (видно, что на показанном интервале представлены данные, полученные на глубинах от 750 до 1000 футов). Этот столбец также может быть использован для отображения результатов измерений каверномером.
В третьем столбце отображены обычные значения 74 пористости по данным плотностного каротажа и значения 76 пористости по данным нейтронного каротажа. Пересечение (там, где значения пористости по данным плотностного каротажа больше значений пористости по данным нейтронного каротажа, что указывает на наличие газа, легких углеводородов или истощение запасов) выделено штриховкой. В четвертом столбце отображены скорректированные значения 78 пористости по данным плотностного каротажа, скорректированные значения 80 пористости по данным нейтронного каротажа и значения 82 общей пористости (то есть выходные данные процесса 44 вычисления пористости по данным плотностного каротажа, процесса 48 вычисления пористости по данным нейтронного каротажа и процесса 50 вычисления общей пористости, рассмотренных выше). Пересечение снова показано штриховкой. Как рассмотрено выше, предпочтительно, чтобы скорректированные значения общей пористости были определены путем отбора скорректированных значений пористости по данным плотностного каротажа в отсутствие пересечения данных нейтронного и плотностного каротажа и путем усреднения скорректированных значений пористости по данным нейтронного и плотностного каротажа при наличии пересечения данных нейтронного и плотностного каротажа.
В пятом столбце представлена оценка k-лямбда проницаемости 84, которая была получена благодаря процессу 52 вычисления проницаемости. В шестом столбце показаны кривая 88 оцененного электрического удельного сопротивления заполненного водой пласта, R0, и кривая 86 электрического удельного сопротивления, измеренного зондом с большим радиусом исследования, Rt. Углеводороды идентифицируются в случае, когда Rt превышает R0. Также показаны значения 90 вычисленного электрического удельного сопротивления пластовой воды, для пласта которой имеются полученные оцененные значения электрического удельного сопротивления пласта в сопоставлении с измеренными значениями электрического удельного сопротивления пласта. Этот столбец полезен при подтверждении правильности оценки солености закачиваемой воды или для автоматического выбора правильных значений солености/электрического удельного сопротивления/удельной проводимости пластовой воды.
В седьмом столбце показана оценка насыщения 94 водой, Sw, и оценка Coates-Timur-лямбда насыщения 92 остаточной водой. Когда Sw меньше единицы, а ее кривая накладывается на кривую насыщения остаточной водой, можно ожидать безводной добычи. В восьмом столбце представлены объемные доли пласта с указанием типа материала. В восьмом столбце глина отображена на самой левой стороне столбца, а остаточная вода представлена на самой правой стороне столбца. Несвязанная вода показана белым, а углеводороды показаны сразу же слева от несвязанной воды. Столбец 98 может быть использован для отображения сигнала о наличии проблем (таких как случаи, когда из результатов измерений каверномером следует, что ствол скважины существенно больше, чем предполагалось, то есть, что могут иметься трудности с получением правильных значений посредством измерительного оборудования, или когда вычисленные значения являются противоречивыми, например, когда оцененное насыщение 94 водой меньше насыщения 92 остаточной водой). Столбец 100 может быть использован для отображения признака эффективной мощности залежи. Как рассматривалось выше, эффективная мощность залежи может быть определена путем выбора любого известного критерия для подземного пласта, такого как скорректированная общая пористость, проницаемость, насыщение углеводородами, наличие несвязанной воды и т.д. Конкретными критериями приемлемости интервалов, использованными при задании признаков эффективной мощности залежи на фиг.3, были насыщение водой (SW)<0,4; пористость (CNPH)>0,1; и проницаемость (KINT)>10 мД. Многочисленные альтернативные критерии очевидны для специалистов в области техники, к которой относится изобретение.
В настоящей заявке показано, что простая, обеспечивающая стабильные результаты система оценки петрофизических характеристик на месте нахождения скважины может быть получена путем добавления данных спектроскопического каротажа к традиционному сочетанию трех измерений, нейтронного (или водородного) индекса, плотности и электрического удельного сопротивления. Вычисления могут быть выполнены в реальном времени на месте нахождения скважины, во время воспроизведения или сразу же после каротажа в центре принятия решения. Данные могут поступать от средств кабельного каротажа и каротажа во время бурения.
Способ и устройство согласно изобретению проверялись в диапазоне солености от 3000 до 180000 млн-1, по существу во всем нефтепромысловом диапазоне. Способ обеспечивал получение стабильных результатов.
В качестве основной модели использовалась модель кремнисто-оболочечного или известкового пласта. Интерпретация SpectroLith может обеспечить хорошую оценку совокупной глины и хорошую оценку совокупных карбонатов. Для дифференциации между кальцитом и доломитом в ее основу положено обращение (инверсия) на основе минералов. Эта дифференциация используется для получения точной плотности матрицы. В одной методике имеются отдельные известняковые и доломитовые модели, которые можно выбирать, если основная литология известна заранее.
Результаты измерений индекса надтеплового водорода также могут быть использованы в дополнение или вместо результатов измерений индекса надтепловых нейтронов, описанных выше. Из анализа кернов и прямого ядерного моделирования следует ожидать, что измерения индекса надтеплового водорода будут давать более предсказуемые результаты, чем измерения индекса надтепловых нейтронов.
Для оценки в качестве входных данных необходима соленость пласта или Rw. В большинстве случаев это значение хорошо известно. Если это значение неизвестно, можно сделать исходное предположение, вычислить R0 и сравнить его с Rt в сланцах или глинистых песках, которые, по всей вероятности, должны быть насыщены водой. Вычисление может быть сделано для всей скважины менее чем за секунду с тем, чтобы результаты можно было использовать для итерации с целью получения наилучшей оценки солености. Для поиска наилучшего значения процесс итерации может быть без труда автоматизирован.
Хотя описаны отдельные приборы для спектроскопического, плотностного, нейтронного каротажа и каротажа сопротивления, можно использовать приборы других типов, такие как приборы с интегральной функциональностью, описанные в обычном образом переуступленной заявке №09/860292 на патент США, поданной 18 мая 2001 г., под названием "Well logging apparatus and method for measuring formation properties", включенной в настоящую заявку посредством ссылки.
Количественные результаты измерений литологии могут быть получены посредством зондов спектроскопического каротажа, таких как устройство ECS™ фирмы Schlumberger для спектроскопического каротажа по спектру захвата, используемое при кабельном каротаже необсаженного ствола скважины, устройство RST™ фирмы Schlumberger для контроля насыщенности коллектора, используемое при кабельном каротаже обсаженного ствола скважины, или устройство xPET™ фирмы Schlumberger для периодических оценочных испытаний во время бурения. Зонды RAB™ для измерения электрического удельного сопротивления возле буровой коронки или ARC-5™ фирмы Schlumberger могут быть использованы для получения результатов измерений электрического удельного сопротивления во время бурения, а нейтронные зонды фирмы Schlumberger типа ADN™ для оценки распределения плотности по азимуту и CDN™ для компенсированного измерения плотности могут быть использованы для нейтронных измерений и оценки плотности во время бурения.
Вкратце, в предпочтительном варианте осуществления изобретения данные спектроскопического каротажа об абсолютных или относительных концентрациях элементов в пласте используют для вычисления плотности матрицы и нейтронного или водородного индекса матрицы в зависимости от типа используемого нейтронного прибора. Полученные скорректированные значения плотности матрицы и пористости по данным нейтронного каротажа сходятся к истинной полной пористости или в случае газа наблюдается усиленное пересечение по сравнению с обычными каротажными диаграммами. На основании количественных данных литологии и общей пористости вычисляют k-лямбда проницаемость. Диаграмму катионообменной емкости обычно образуют на основании глинистых фракций в предположении постоянной катионообменной емкости на единицу массы глины и в дальнейшем, используя общую пористость, ее преобразуют в диаграмму Qv. В этом время либо вводится, либо автоматически определяется соленость пласта, и на основании указанных выше данных и измеренного температурного профиля вычисляют диаграмму R0 ожидаемого электрического удельного сопротивления пласта, заполненного водой, используя, например, модель удельной проводимости Waxman-Smits-Thomas. Альтернативные модели удельной проводимости, которые могут быть использованы, включают в себя модели Waxman-Smits-Gravestock, Clavier-Coates-Dumanoir и Sen-Goode-Sibbit. При сравнении R0 с данными электрического удельного сопротивления, полученными с помощью устройства с большим радиусом исследования, распознаются два перекрытия в заполненных водой зонах, таких как сланцы и заполненные водой пески и глинистые пески; углеводородные зоны легко распознаются в случае, когда Rt превышает R0. Общую пористость и значение k-лямбда вводят в уравнение Coates-Timur-лямбда, чтобы получить кривую насыщения остаточной водой, которую накладывают на кривую кажущегося насыщения, полученную при сравнении R0-Rt. Когда значение Sw сравнимо со значением Swirr, следует ожидать безводной добычи. Когда Sw больше Swirr, следует ожидать воду. Эту петрофизическую оценку можно производить на месте нахождения скважины и применять как к данным кабельного каротажа, так и к результатам каротажных измерений во время бурения.
Измерения могут проводиться во время единственного прохода кабельного каротажного устройства или во время бурения, как рассматривалось выше, или в различные периоды времени. Например, данные каротажа необсаженного ствола скважины комплексным кабельным зондом тройного назначения можно обрабатывать вместе с полученными позднее спектроскопическими данными кабельного каротажа обсаженного ствола скважины, используя способ согласно изобретению.
Хотя в настоящей заявке изобретение описано применительно к некоторым примерам и вариантам осуществления, очевидно, что к описанным выше вариантам осуществления могут быть сделаны различные модификации и изменения без отступления от объема и сущности изобретения, изложенных в формуле изобретения.
1. Способ петрофизической оценки подземного пласта, включающий в себя этапы, на которых
определяют пористость и проницаемость пласта с использованием количественного показателя состава пласта;
оценивают электрическое удельное сопротивление заполненного водой пласта с использованием указанной пористости пласта;
связывают различия между измеренным электрическим удельным сопротивлением пласта и указанным оцененным электрическим удельным сопротивлением заполненного водой пласта с наличием подземных скоплений углеводородов; и
оценивают насыщение пласта остаточной водой с использованием указанной пористости пласта и указанной проницаемости пласта.
2. Способ по п.1, в котором указанный количественный показатель состава пласта получают путем спектроскопических измерений.
3. Способ по п.2, в котором концентрации элементов в пласте, полученные на основании указанных спектроскопических измерений, используют для вычисления плотности матрицы пласта.
4. Способ по п.3, в котором концентрации элементов в пласте, полученные на основании указанных спектроскопических измерений, используют для вычисления нейтронного индекса матрицы пласта и/или водородного индекса матрицы пласта.
5. Способ по п.4, в котором пористость пласта определяют путем отбора скорректированных значений пористости по данным плотностного каротажа в отсутствие пересечения данных нейтронного и плотностного каротажа и путем усреднения скорректированных значений пористости по данным нейтронного и плотностного каротажа при наличии пересечения данных нейтронного и плотностного каротажа.
6. Способ по п.1, в котором указанный количественный показатель состава пласта включает в себя оценку глинистой фракции пласта.
7. Способ по п.6, в котором указанную оценку глинистой фракции пласта вычисляют, используя множество показателей, относящихся к элементам.
8. Способ по п.1, в котором указанное электрическое удельное сопротивление заполненного водой пласта оценивают, также используя указанный количественный показатель состава пласта.
9. Способ по п.1, в котором указанные определение пористости и проницаемости пласта, оценку электрического удельного сопротивления насыщенного водой пласта, связывание различий между измеренным электрическим удельным сопротивлением пласта и оцененным электрическим удельным сопротивлением насыщенного водой пласта и оценку насыщения пласта остаточной водой осуществляют в реальном времени.
10. Способ по п.9, в котором указанные определение пористости и проницаемости пласта, оценку электрического удельного сопротивления насыщенного водой пласта, связывание различий между измеренным электрическим удельным сопротивлением пласта и оцененным электрическим удельным сопротивлением насыщенного водой пласта и оценку насыщения пласта остаточной водой осуществляют на месте нахождения скважины.
11. Способ по п.1, дополнительно включающий в себя сбор спектроскопических, плотностных, нейтронных данных и данных об электрическом удельном сопротивлении.
12. Способ по п.1, в котором указанное электрическое удельное сопротивление заполненного водой пласта определяют, используя одну или несколько из следующих моделей удельной проводимости: Waxman-Smits-Thomas, Clavier-Coates-Dumanoir, Waxman-Smits-Gravestock и Sen-Goode-Sibbit.
13. Устройство для петрофизической оценки подземного пласта, содержащее
устройство спектроскопического каротажа,
устройство плотностного каротажа,
устройство нейтронного каротажа,
устройство для измерения электрического удельного сопротивления,
средства для определения пористости, проницаемости пласта, насыщения углеводородами/
 
                         
                            


