Лазерная установка

Иллюстрации

Показать все

Изобретение относится к медицинской технике и может использоваться в оперативной урологии, в частности, при лечении доброкачественной гиперплазии простаты и в литотрипсии при лечении мочекаменной болезни. Лазерная установка содержит, по меньшей мере, первый лазерный излучатель, предназначенный для дробления камней, и второй лазерный излучатель, предназначенный для рассечения и коагуляции тканей. Первый лазерный излучатель выполнен с возможностью преобразования излучения во вторую гармонику и включает в себя лазерный резонатор на основе кристалла Nd:YAlO3 с модуляцией добротности затвором с нарушенным полным внутренним отражением и оптической волоконной линией задержки, а также внерезонаторный преобразователь излучения во вторую гармонику излучения на нелинейном кристалле с эффективностью преобразования не менее 25%. Второй лазерный излучатель включает в себя лазерный резонатор на основе кристалла Nd:YAG. В результате обеспечивается возможность объединения двух излучателей, используемых для решения различных задач в урологии, в рамках одной установки с использованием универсального источника питания ламп накачки, единой системы управления и контроля и единой системы охлаждения, а также снижается как стоимость установки, так и ее габариты и вес. 11 з.п.ф-лы, 4 ил.

Реферат

Изобретение относится к медицинской технике и может использоваться в оперативной урологии, в частности, при лечении доброкачественной гиперплазии простаты (ДГПЖ) и в литотрипсии при лечении мочекаменной болезни (МКБ).

Лазерные хирургические методы лечения урологических заболеваний можно условно разделить на две группы вмешательств. Первая группа связана с проведением воздействия на мягкие ткани организма с целью их рассечения, вапоризации или коагуляции. В качестве примеров заболеваний, при которых успешно и широко используются такие лазерные методы воздействия, можно назвать: доброкачественную гиперплазию предстательной железы (ДГПЖ), стриктуры уретры, опухоли мочевого пузыря и др. Вторая группа вмешательств связана с необходимостью разрушения твердых конкрементов при МКБ.

Одной из главных причин, ограничивающих распространение лазерных методов лечения в урологии, является сложность в эксплуатации и высокая стоимость предлагаемых хирургических лазеров. Известные лазерные установки эффективны при применении в определенном диапазоне задач - в частности, либо для рассечения, вапоризации и коагуляции тканей при лечении таких заболеваний, как ДГПЖ, либо для дробления твердых конкрементов при МКБ, а приобретение клиниками по отдельной установке для каждой из областей применения экономичеси не обосновано.

В частности, в патенте US 5593404 (Costello et al) описано устройство на основе Nd:YAG лазера, с длиной волны излучения 1,064 мкм, работающего в непрерывном режиме генерации, с выходной мощностью излучения в диапазоне от 40 Вт до 90 Вт. Устройство используется при лечении стриктур уретры, опухолей мочевого пузыря, проведения интерстициальной коагуляции, лечении остроконечных кондилом. Недостатком устройства является то, что эффективность его использования в урологии ограничивается процедурами, допускающими глубокое, до нескольких миллиметров, проникновение излучения в биологические ткани.

Известно также устройство US 6986764 (Davenport et al) на основе Nd:YAG лазера, работающего в квазинепрерывном режиме генерации, с генерацией второй гармоники излучении, с мощностью излучения до 80 Вт. Излучение 0,532 мкм имеет больший коэффициент эффективного поглощения тканью предстательной железы, чем излучение 1,064 мкм, поглощение его водой незначительно (μa=4,34×10-4 см-1 [1]). В результате воздействия большая, чем при воздействии излучения 1,064 мкм, доля ткани подвергается абляции, а глубина остаточной коагулированной ткани не превышает 1-2 мм. Недостатком устройства является то, что при данных параметрах излучения и механизме взаимодействия с тканью применение ограничено только областью задач, связанной с проведением абляции ткани. В урологии устройство используется при лечении ДГПЖ.

Распространены также устройства на основе импульсных Ho:YAG лазеров, с длиной волны излучения 2,1 мкм, работающие в режиме свободной генерации с выходной мощностью излучения до 80 Вт. Имея высокий коэффициент поглощения (μа=26,93 см-1 [2]), излучение Ho:YAG лазера хорошо поглощается водой, содержащейся в тканях. Благодаря малой глубине проникновения излучения и независимости поглощения от вида ткани контактное рассечение, вапоризация и абляция тканей с помощью Ho:YAG лазеров являются эффективными процедурами при лечении ряда заболеваний. Сильное поглощение излучения веществом камня и водой, присутствующей в них, позволяет использовать такие лазеры также и при фрагментации камней при МКБ. Однако необходимость использования высоких энергий импульса до 2,5 Дж при длительностях импульса до нескольких сот микросекунд и термический механизм разрушения камней создают высокий риск повреждения окружающих камень тканей, вследствие чего область применения таких устройств следует признать ограниченной.

Для использования в литотрипсии более предпочтительны лазерные установки, в которых реализован не термический, а акустический механизм разрушения камней. При длительностях лазерного импульса от одной до нескольких микросекунд разрушение камней происходит за счет генерации ударных волн, распространяющихся в веществе камня после схлопывания кавитационного пузыря на поверхности камня [3].

Одними из первых устройств для лазерной литотрипсии были установки на базе лазеров на красителях с ламповой накачкой. Они имели оптимальную длительность импульса излучения в диапазоне 1-3 мкс, длину волны излучения 0,504 мкм, с локальным минимумом поглощения оксигемоглобином. Недостатком таких лазеров является то, что фрагментации поддаются не все типы камней, а эксплуатация таких лазеров в клинике имеет высокую стоимость [4]. Использование в качестве активной среды токсичных красителей создает дополнительные трудности из-за необходимости периодической смены контейнера с красителем.

Разработаны более дешевые, твердотельные лазеры на основе разных активных сред, генерирующие импульсы с микросекундной длительностью. Известен, в частности, лазер на кристалле александрита US 5496306 (Engelhardt R. et al., опубл. 24.11.1992), у которого длина волны излучения может лежать в диапазоне 0,7-1,0 мкм и попадает в область минимального поглощения окружающей тканью. Вторая гармоника излучения служит для инициации лазерной искры на поверхности камня. Длительность импульса 1,1 мкс реализуется в устройстве с помощью быстрой обратной связи, управляющей пропусканием затвора на основе ячейки Поккельса. Недостатком устройства является пичковая структура временного профиля импульса с модуляцией интенсивности излучения до 50%, что ведет к повреждению волоконного инструмента при доставке излучения к камню. Кроме того, в процессе дробления происходит разрушение дистального торца волокна, находящегося в контакте с тканью, вызванное неоднородностями временного профиля импульса излучения.

Известен лазер на кристалле Nd:YAG (RU 93003708, Дьяконов Г.И. и др., опубл. 20.05.1995), использующий аналогичный способ удлинения длительности генерации импульса излучения и преобразование во вторую гармонику. В качестве затвора для управления скоростью вывода излучения из резонатора используется затвор с нарушенным полным внутренним отражением (затвор НПВО), синхронизованный с блоком питания лампы накачки. Поскольку кинетика развития процессов накачки в кристалле Nd:YAG примерно в 30 раз быстрее кинетики развития процессов в кристалле александрита, то управление резонатором с кристаллом Nd:YAG становится еще более трудной задачей. Недостатком устройства является сложная схема управления, невысокая надежность при эксплуатации.

Известен также лазер на основе кристалла рубина (RU 95105018, Беренберг В.А. и др., опубл. 10.06.1997). Длина волны излучения 0,65 мкм такого лазера безопасна для окружающей ткани, микросекундная длительность импульса реализуется увеличением длины резонатора за счет организации многопроходной схемы между системой зеркал. Недостатком устройства является сложность конструкции, необходимость проведения тщательной настройки и сложность эксплуатации.

Известен лазер на основе кристалла Nd:YAG с микросекундной длительностью импульса и преобразованием излучения во вторую гармонику (см. US 5963575, Muller G. et al., опубл. 05.10.1999). Длительность импульса генерации достигается, как и в рубиновом лазере, изменением длины резонатора за счет внесения в него оптической задержки. В качестве задержки использована волоконная оптическая задержка. Впервые волоконная оптическая задержка в качестве элемента резонатора для изменения временных характеристик излучения лазера была использована Диановым Е.М и др. [6,7], а дальнейшие исследования выполнены в работах [8-11]. В известном лазере энергия в импульсе равна 120 мДж, в соотношении 20 мДж на длине волны излучения 0,532 мкм и 100 мДж на длине волны 1,064 мкм. Модуляция добротности осуществляется с помощью пассивного затвора, а преобразование во вторую гармонику осуществляется внутрирезонаторно нелинейным кристаллом КТР. Недостатком устройства является то, что разрушаются при воздействии не все типы камней и эффективность разрушения камней смешанного состава из оксалата кальция моногидрата и дигидрата составляет 53,4%, струвитов 68,1%, фосфатов кальция 58,0% [12]. Основной причиной этого является невысокая энергия как импульса генерации, так и преобразованной во вторую гармонику части излучения. Использование пассивного затвора, при накачке активного элемента до уровня выше порогового, инициирует образование пичковой структуры на временном профиле импульса генерации. Модуляция интенсивности, обусловленная такой структурой, при увеличении энергии импульса ведет к риску повреждения как оптических элементов резонатора, так и волоконного инструмента для доставки излучения к камню.

Недостатком, присущим всем рассмотренным устройствам, является то, что все они могут эффективно использоваться либо в оперативной урологии, либо в литотрипсии. Известно также устройство, объединяющее в одном корпусе два мощных лазера: Ho:YAG до 80 Вт и Nd:YAG до 100 Вт ("VersaPulse PowerSuite - Dual Wavelength Laser" сайт предприятия производителя Lumenis Ltd. http://www.lumenis.com). В известном устройстве излучение с длиной волны 2,1 мкм обеспечивает возможность использования его как при фрагментации камней, так и при контактном рассечении ткани, а излучение 1,064 мкм - возможность использования для глубокой коагуляции тканей. Создание Ho:YAG лазеров такой мощности требует объединения двух и более резонаторов, работающих при малых частотах, для получения высокой средней мощности излучения и решения проблем с охлаждением и тепловыми эффектами в активных элементах. Недостатками устройства в первую очередь можно назвать высокую стоимость и риск термического повреждения окружающих тканей при литотрипсии.

Основной задачей настоящего изобретения явилось создание устройства для воздействия на твердые конкременты при литотрипсии и мягкие ткани в оперативной урологии, которое было бы лишено большинства недостатков отмеченных выше установок, - как многофункциональных, так и предназначенных для решения какой-либо одной из указанных задач.

Указанная задача решена тем, что в лазерной установке, содержащей, по меньшей мере, первый лазерный излучатель (литотриптор), предназначенный для дробления камней, и второй лазерный излучатель (скальпель-коагулятор), предназначенный для рассечения и коагуляции тканей, электрически соединенные с единым блоком питания ламп накачки излучателей и с единой системой охлаждения, а также контроллер с возможностью управления указанными блоком питания и системой охлаждения, согласно изобретению первый лазерный излучатель выполнен с возможностью преобразования излучения во вторую гармонику и с возможностью генерации излучения со значением длительности импульса, лежащим в диапазоне 0,5÷5,0 мкс, и включает в себя лазерный резонатор на основе кристалла Nd:YAlO3 с модуляцией добротности затвором с нарушенным полным внутренним отражением и оптической волоконной линией задержки, а также внерезонаторный преобразователь излучения во вторую гармонику излучения на нелинейном кристалле с эффективностью преобразования не менее 25%, а второй лазерный излучатель выполнен с возможностью работы в импульсно-периодическом режиме с максимальной средней выходной мощностью до 100 Вт, и включает в себя лазерный резонатор на основе кристалла Nd:YAG.

В предпочтительном случае, в лазерном резонаторе первого излучателя преобразователь излучения во вторую гармонику оснащен системой термостабилизации, включающей в себя соединенный с контроллером термостат с установленным в нем нелинейным кристаллом.

Предпочтительно в лазерном резонаторе первого излучателя преобразователь излучения во вторую гармонику выполнен с возможностью реализации 90°-го некритичного по углу синхронизма с фокусированием излучения в указанный нелинейный кристалл.

В частном случае в преобразователе излучения во вторую гармонику в качестве нелинейного кристалла может быть использован кристалл KTiOPO4. При этом в качестве выходного зеркала в лазерном резонаторе первого излучателя предпочтительно использовать полированный торец нелинейного кристалла KTiOPO4.

В лазерном резонаторе первого излучателя предпочтительно обеспечить активную модуляцию добротности, при которой длительность открывания затвора имеет значение более 2 мкс, а длительность открытого состояния более 6 мкс.

Предпочтительно в лазерном резонаторе первого излучателя волоконная задержка установлена таким образом, что один из торцов волоконной задержки находится на расстоянии порядка диаметра кварцевой жилы волокна от отражающей поверхности сферического зеркала резонатора, а второй торец согласован по выходной апертуре с апертурой активного элемента резонатора.

Также предпочтительно, чтобы в лазерном резонаторе первого излучателя между активным элементом и волоконной задержкой была установлена поляризационная развязка на основе ромба Френеля и поляризатора.

Предпочтительно лазерная установка может быть выполнена с возможностью подключения эндовидеокамеры и дополнительно содержать блок обработки видеосигнала с эндовидеокамеры.

Кроме того, предпочтительно лазерная установка может быть выполнена с возможностью демонстрации хода хирургического вмешательства в режиме реального времени на экране сенсорного монитора, соединенного с блоком обработки видеосигнала, с одновременной записью видеоинформации на внешний мобильный носитель данных.

Использование в настоящем изобретении неодимсодержащих активных лазерных сред - Nd:YAlO3 для литотриптора и Nd:YAG для скальпеля-коагулятора позволяет применить универсальный источник питания ламп накачки, единую систему управления и контроля и единую систему охлаждения, а также снизить как стоимость установки, так и ее габариты и вес. Указанная длительность импульса излучения, генерируемого в первом излучателе, является оптимальной с точки зрения надежности и эффективности установки - при длительностях импульса менее 0,5 мкс существенно возрастает риск повреждения волоконного катетера при доставке излучения к поверхности конкремента, а при длительностях более 5 мкс уменьшается эффективность энерговклада в генерацию ударной волны и, как следствие, снижается эффективность фрагментации конкрементов.

Возможности двух лазеров разного типа, объединенных в комплекс, обеспечивают решение проблем во всем диапазоне задач, связанных как с рассечением и коагуляцией тканей, так и с удалением твердых конкрементов при лечении мочекаменной болезни. Указанная компоновка обеспечивает преимущество многофункциональности использования установки, что достигается возможностью сочетания различных режимов работы и параметров выходного излучения, составляющих ее лазеров: скальпеля-коагулятора и литотриптора.

Изобретение поясняется далее более подробно на конкретном примере его осуществления со ссылкой на прилагаемые чертежи, на которых изображено:

- на фиг.1 - блок-схема установки;

- на фиг.2 - оптическая схема установки;

- на фиг.3 - схема узла сферического зеркала литотриптора;

- на фиг.4 - временной профиль пропускания затвора НПВО и форма импульса генерации.

Как показано на блок-схеме, на фиг.1, установка по изобретению состоит из двух лазерных излучателей с активными элементами из кристаллов Nd:YAlO3 1 и Nd:YAG 2. Накачка активных элементов 1 и 2 осуществляется блоком питания ламп накачки 5, управляемым контроллером 8. Модуляция добротности резонатора в первом излучателе (в литотрипторе) осуществляется модулятором 3 на основе затвора с нарушенным полным внутренним отражением (затвор НПВО), блок управления которого связан с контроллером 8. Внерезонаторное преобразование излучения литотриптора во вторую гармонику осуществляется нелинейным кристаллом, находящимся в термостате 4. Система охлаждения 6 с воздушно-водяным теплообменником замкнутого цикла осуществляет охлаждение активных элементов 1 и 2 и ламп накачки. Измерение и контроль выходных параметров излучения производится с помощью группы компонентов 11, на основе фотодиодов. Присутствующий в показанном на фиг.1 примере сенсорный монитор 9 служит как в качестве контрольной панели для управления пользователем работой установки, так и в качестве видеомонитора для отображения сигнала эндовидеокамеры, обработка которого осуществляется блоком обработки 10. Блок обработки видеосигнала 10 может служить не только для отображения хода вмешательства в реальном времени на экране монитора 9, но и может производить запись видеосигнала на внешний мобильный носитель данных (например, на портативный жесткий диск, подключаемый с использованием USB-интерфейса), для архивирования или последующего анализа.

В рассмотренном ранее аналоге (лазерном литотрипторе, US 5963575, Muller G. et al.) модуляция добротности резонатора осуществляется с помощью пассивного затвора, что ведет к образованию пичковой временной структуры импульса генерации. Увеличение энергии импульса генерации в таких условиях ведет к увеличению модуляции интенсивности временного профиля импульса и риску повреждения оптических элементов резонатора и волоконного инструмента. С другой стороны, невысокая плотность интенсивности излучения в нелинейном кристалле КТР, обусловленная размером пучка и длительностью импульса 1 мкс, при внутрирезонаторном преобразовании излучения во вторую гармонику дает невысокую эффективность преобразования. Ограничение общей выходной энергии импульса и невысокая эффективность преобразования дают на выходе излучателя общую энергию импульса, равную 120 мДж, а долю преобразованного излучения 20 мДж.

В отличие от указанного аналога в заявленном изобретении для увеличения выходной энергии импульса и увеличения эффективности преобразования реализована схема лазерного резонатора, позволяющая получить одиночный импульс генерации с гладким временным профилем излучения. В отличие от указанного аналога реализована активная модуляция добротности резонатора затвором НПВО. Для достижения эффективного преобразования частоты излучения с плотностью мощности <1,0 МВт/см2 требуется его фокусировка в нелинейный кристалл. При углах фокусировки излучения, равных нескольким градусам, необходима реализация некритичного по обоим углам синхронизма - 90° синхронизма. Некритичный по углам синхронизм в кристалле КТР (KTiOPO4) для излучения 1,0796 мкм имеет достаточную для фокусировки угловую ширину при нагреве кристалла до температуры 54°С ширина углов синхронизма становится максимальной и равной 4 и 12 градусов для углов синхронизма ϕ и θ соответственно. В отличие от аналога осуществлено внерезонаторное преобразование излучения во вторую гармонику с некритичным по углу, 90°-м синхронизмом с фокусировкой излучения в нелинейный кристалл КТР.

На фиг.2 показана оптическая схема устройства.

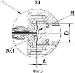
Лазерный резонатор первого излучателя (литотриптора) собран на базе активного элемента из кристалла Nd:YAlO3 27. Изменение эффективной длины резонатора выполнено за счет установки волоконной оптической задержки 21. Согласование апертуры излучения на выходном торце волокна оптической задержки 21 с апертурой активного элемента 27 выполняется объективом 22, фокусное расстояние которого в описываемом конкретном случае выбиралось равным 18 мм. Возврат излучения, вышедшего из противоположного торца оптической задержки 21, осуществляется сферическим зеркалом 20. В описываемом предпочтительно случае осуществления изобретения торец волокна (с диаметром кварцевой жилы d=300 мкм) предпочтительно расположен на малом расстоянии Δ от отражающей поверхности зеркала 20, равном диаметру кварцевой жилы волокна: d≈Δ. Радиус R сферической поверхности зеркала 20 выбран таким, чтобы R>>d, а выбор конкретного значения радиуса R определяется конструкцией узла крепления зеркала. Как показано на фиг.3, деталь 20.1 разъема волокна лежит на сферической поверхности зеркала и имеет диаметр D. Значения D и R определяют зазор Δ, между отражающей поверхностью зеркала 20 и торцом волокна. Размер отражающего покрытия на зеркале 20 должен быть меньше D, внутреннего диаметра детали 20.1, чтобы предотвратить загрязнение или повреждение при сборке узла. При значениях D=8,6±0,1 мм и R=36 мм зазор между торцом волокна и отражающей поверхностью волокна составляет Δ=257±7 мкм. Экспериментально определено, что при указанном значении Δ, волокне типа кварц/кварц, с диаметром жилы 300 мкм, длине волокна 70 м и длине волны излучения 1,0796 мкм - числовая апертура излучения, выходящая из торца волокна в сторону активного элемента 27, по уровню 96% от полной энергии излучения равна NA=0,16. Радиус изгиба волокна, свернутого в кольца, равен 150 мм. Если в фокальной плоскости объектива 22 установить диафрагму 23 диаметром, соответствующим такой же числовой апертуре NA=0,16, она, в свою очередь, будет отсекать излучение с большими углами, распространяющееся в резонаторе в сторону оптической задержки. Узел сферического зеркала 20 может служить своеобразным селектором углов за счет увеличения потерь для излучения, имеющего большие значения числовой апертуры при возврате в оптическую задержку.

Далее, поворотные зеркала 26 и 28 служат для уменьшения габаритов резонатора литотриптора, в то время как линза 29 (например, с фокусным расстоянием 99 мм) предназначена для фокусирования излучения на поверхность переднего торца нелинейного кристалла 31, в качестве которого может быть выбран кристалл КТР (KTiOPO4). Передний торец кристалла КТР 31 представляет собой полированную поверхность, без покрытий, и служит выходным зеркалом резонатора с коэффициентом отражения R≈7%. При этом линзой 29 строится изображение диафрагмы 23 на поверхности торца кристалла с коэффициентом уменьшения, например М≈3,5. Угол фокусировки излучения не превышает ширину углов некритичного синхронизма в кристалле 31, а пиковые значения плотности энергии на поверхности кристалла 31 не превышают 18 Дж/см2, что ниже пороговых значений поверхностного повреждения кристалла КТР [13].

Модуляция добротности резонатора первого излучателя осуществляется затвором НПВО 30, расположенным между линзой 29 и кристаллом 31. Параметры управления затвором НПВО и его характеристики предпочтительно подбирать таким образом, чтобы время открытого состояния затвора 30 было в 10-15 раз больше времени полного прохода резонатора, а время открывания затвора 30 в два раза превышало длительность импульса генерации. В данном конкретном случае исполнения была установлена длительность открытого состояния затвора НПВО 30 t≥6 мкс, а длительность открывания tф≥2 мкс. На фиг.4 представлены характерная форма кривой пропускания затвора НПВО и временная форма лазерного импульса генерации.

Между активным элементом 27 и торцом волокна оптической задержки установлена поляризационная развязка на основе ромба Френеля 24 и поляризатора 25. Поляризационная развязка служит для подавления генерации, которая может возникать в резонаторе, образованном между торцом нелинейного кристалла 31 и торцом волокна оптической задержки 21, препятствуя образованию связанных резонаторов. Импульсы короткой длительности 10-100 нс, в случае возникновения генерации в таком резонаторе, модулируют временной профиль интенсивности микросекундного импульса, что в результате может привести к разрушению оптических элементов резонатора.

При выбранных параметрах оптической схемы резонатора первого излучателя максимальная энергия импульса лазерного излучения на его выходе составила в рассматриваемом примере 186 мДж, а длительность импульса по полувысоте 0,92 мкс. Оптимальная температура в термостате 4 с кристаллом КТР 27 для реализации некритичного по углам синхронизма устанавливалась равной 54,0°С±0,1°С. При длине кристалла равной 24 мм доля энергии преобразованного во вторую гармонику излучения составила 57 мДж (≈31%).

Далее, система ввода из двух объективов 32 и 34 предназначается для ввода излучения двух длин волн в присоединяемый к первому излучателю волоконный инструмент (волоконный катетер) 37. Часть излучения пластиной 33 отводится для контроля выходной энергии импульса на группу компонентов, где 34 и 36 - энергометры на основе фотодиодов, а 35 - дихроичное зеркало. Объективы 32 (с фокусным расстоянием 114 мм) и 34 (с фокусным расстоянием 18,4 мм) оптимизированы для минимизации сферических и хроматических аберраций для двух длин волн: 1,0796 мкм и 0,5398 мкм. С их помощью изображение пятна лазерного пучка в плоскости выходного зеркала резонатора, на торце кристалла КТР 31 строится в плоскости входного торца волоконного инструмента 37 с коэффициентом уменьшения около 6,7. Диаметр пятна лазерного излучения на входном торце волоконного инструмента составляет 240 мкм при диаметре кварцевой жилы волокна 300 мкм. Эффективность ввода излучения в волокно, с учетом потерь на Френелевские отражения на торцах волоконного инструмента и потери на объективах, составляет 91% для излучения с длиной волны 1,0896 мкм и 85% - с длиной волны 0,5396 мкм.

Далее, как показано на фиг.2, второй излучатель (скальпель-коагулятор), предназначенный для рассечения и коагуляции тканей, включает в себя резонатор на базе активного элемента из кристалла Nd:YAG 42 размером ⊘6,3×100 мм. В качестве «глухого» зеркала резонатора второго излучателя использовано сферическое зеркало 41 с коэффициентом отражения излучения с длиной волны 1,064 мкм, равным 99,9%, и радиусом кривизны поверхности ≈2000 мм. Плоское зеркало 44 с коэффициентом пропускания излучения ≈50% служит выходным зеркалом резонатора. Плоское зеркало 43 используется как поворотное для уменьшения габаритов. Просветленная плокоскопараллельная пластина 45 служит для отвода части излучения в энергометр 46, для контроля выходной энергии импульса излучения. Двухкомпонентный объектив 47 с фокусным расстоянием 18 мм служит для ввода излучения в присоединяемый ко второму излучателю волоконный катетер 48.

Установка может быть применена следующим образом.

Для фрагментации камней (в частности, при лечении МКБ) лазерная установка переводится в режим работы, в котором участвует только первый лазерный излучатель (литотриптор). Волоконный катетер 37 проводится в рабочий канал хирургического эндоскопического инструмента (например, уретероскопа). В режиме реального времени под прямым визуальным контролем, при отображении процесса вмешательства с помощью эндовидеокамеры на мониторе 9, осуществляется контактное воздействие лазерного излучения на поверхность камня. В конкретном исполнении, показанном на чертежах, максимальная выходная энергия лазерного импульса на дистальном торце волокна 37 первого излучателя с диаметром кварцевой жилы 300 мкм составила 165 мДж, из них 49 мДж - энергия излучения в импульсе на длине волны второй гармоники. Длительность выходного импульса при этом составляет 0,92 мкс. При контактном воздействии «in vitro» на камни в диапазоне энергии импульса от 120 мДж до 165 мДж были успешно разрушены камни разного химического состава.

При использовании установки в оперативной урологии для рассечения и коагуляции тканей устанавливается режим работы, в котором участвует только второй излучатель (скальпель-коагулятор). Доставка излучения до зоны воздействия осуществляется волоконным катетером 48 как при эндоскопических вмешательствах, так и при проведении открытых операций. При контакте дистального торца волокна 48 с тканью происходит рассечение ткани за счет фототермического воздействия, с частичной вапоризацией и коагуляцией ткани вдоль зоны рассечения. Например, при лечении стриктуры уретры проводится ее контактное рассечение дистальным концом волоконного катетера 48 с выходной мощностью лазерного излучения ˜40 Вт. При удалении дистального конца волокна 48 от поверхности раневой области осуществляется дистанционная коагуляция ткани. Например, при лечении поверхностных опухолей мочевого пузыря проводится коагуляция опухоли излучением мощностью 60 Вт.

В заключение следует отметить, что вышеуказанный пример приведен исключительно для лучшего понимания сущности заявленного изобретения и не может рассматриваться в качестве ограничивающего объем притязаний. Специалисту будут ясны и другие частные случаи осуществления изобретения, не выходящие за рамки испрашиваемой правовой охраны, определяемой исключительно прилагаемой формулой изобретения.

Источники информации

1. R.M.Pope and E.S.Fry, "Absorption spectrum (380-700 nm) of pure water. II. Integrating cavity measurements" App. Opt., 36, 8710-8723 (1997).

2. G.M.Hale and M.R.Querry, "Optical constants of water in the 200 nm to 200 μm wavelength region," App. Opt., 12, 555-563 (1973).

3. K.Rink, G.Delacretaz, R.P.Slathe. "Fragmentation process of current laser lithotriptors" Lasers in Surgery and Medicine,, v.16, n.2, pp.134-146 (1995).

4. M.A.Imamoglu, H.Bakirtas, O.Yigitbasi, H.Ersoy, N.Sertzelik "Use of pulsed dye-laser lithotripsy in the treatment of ureteral stones and its results" Urologia v.67, № 1 (2000).

5. Е.М.Дианов, С.К.Исаев, Л.С.Корниенко, Н.В.Кравцов, В.В.Фирсов. "Лазер со световодным резонатором", "Квантовая электроника", 3, № 11, стр.2503-2505 (1976).

6. Е.М.Дианов, С.К.Исаев, Л.С.Корниенко, Н.В.Кравцов, В.В.Фирсов. "Комбинационный лазер со световодным резонатором", "Квантовая электроника", 5, № 6, стр.1305-1309 (1978).

7. S.K.Isaev, L.S.Kornienko, N.V.Kravtsov, N.M.Naumkin, B.G.Skuibin, V.V.Firsov YU.P Yatsenko. "Mode self-locking in solid-state lasers with long resonators". J. Opt. Soc. Am., v.68, No.11, pp.1621-1622 (1978).

8. A.M.Забелин, С.К.Исаев, Л.С.Корниенко. "Селекция мод и перестройка частоты в лазере со световодным резонатором", "Квантовая электроника", 8, № 12, стр.2695-2697 (1981).

9. Masataka Nakazawa, Masamitsu Tokuda, Naoya Uchida. "Lasing characteristics of a Nd3+:YAG laser with a long optical-fiber resonator". J. Opt. Soc. Am., v.73, № 6б, pp.838-842 (1983).

10. Е.М.Дианов, A.M.Забелин, С.К.Исаев, Л.С.Корниенко. "Кольцевой гранатовый лазер со световодным резонатором", "Квантовая электроника", 11, № 8, стр.1509-1510 (1984).

11. Е.М.Дианов, С.К.Исаев, Л.С.Корниенко, В.В.Фирсов, Ю.П.Яценко. "Синхронизация компонент ВРМБ в лазере со световодным резонатором", "Квантовая электроника", 16, № 1, стр.5-6 (1989).

12. S.Lahme, E.Eipper, A.Stenzl. "Effect of laser lithotripsy by means of frequency doubled dual-pulse Nd:YAG laser (FREDDY) - An in vitro study with natural urinary calculi". European Urology Supplements, v.3, № 3, pp.189-190 (2004).

13. Абросимов С.А., Гречин С.Г., Кочиев Д.Г., Маклакова Н.Ю., Семененко В. «ГВГ в кристалле КТР моноимпульсов микросекундной длительности». Квантовая электроника, 31, № 7, стр.643-646 (2001).

1. Лазерная установка, содержащая, по меньшей мере, первый лазерный излучатель, предназначенный для дробления камней, и второй лазерный излучатель, предназначенный для рассечения и коагуляции тканей, электрически соединенные с единым блоком питания ламп накачки излучателей и с единой системой охлаждения, а также контроллер с возможностью управления указанными блоком питания и системой охлаждения, характеризующаяся тем, что первый лазерный излучатель выполнен с возможностью преобразования излучения во вторую гармонику и с возможностью генерации излучения со значением длительности импульса 0,5÷5,0 мкс и включает в себя лазерный резонатор на основе кристалла Nd:YAlO3 с модуляцией добротности затвором с нарушенным полным внутренним отражением и оптической волоконной линией задержки, а также внерезонаторный преобразователь излучения во вторую гармонику излучения на нелинейном кристалле с эффективностью преобразования не менее 25%, а второй лазерный излучатель выполнен с возможностью работы в импульсно-периодическом режиме с максимальной средней выходной мощностью до 100 Вт и включает в себя лазерный резонатор на основе кристалла Nd:YAG.

2. Лазерная установка по п.1, отличающаяся тем, что в лазерном резонаторе первого излучателя преобразователь излучения во вторую гармонику оснащен системой термостабилизации, включающей в себя соединенный с контроллером термостат с установленным в нем нелинейным кристаллом.

3. Лазерная установка по п.1 или 2, отличающаяся тем, что в лазерном резонаторе первого излучателя преобразователь излучения во вторую гармонику выполнен с возможностью реализации 90°-го некритичного по углу синхронизма с фокусированием излучения в указанный нелинейный кристалл.

4. Лазерная установка по п.1 или 2, отличающаяся тем, что в преобразователе излучения во вторую гармонику в качестве нелинейного кристалла использован кристалл KTiOPO4.

5. Лазерная установка по п.3, отличающаяся тем, что в преобразователе излучения во вторую гармонику в качестве нелинейного кристалла использован кристалл KTiOPO4.

6. Лазерная установка по п.4, отличающаяся тем, что в качестве выходного зеркала в лазерном резонаторе первого излучателя использован полированный торец нелинейного кристалла KTiOPO4.

7. Лазерная установка по п.5, отличающаяся тем, что в качестве выходного зеркала в лазерном резонаторе первого излучателя использован полированный торец нелинейного кристалла KTiOPO4.

8. Лазерная установка по п.1, отличающаяся тем, что в лазерном резонаторе первого излучателя обеспечена активная модуляция добротности, при которой длительность открывания затвора более 2 мкс, а длительность открытого состояния - более 6 мкс.

9. Лазерная установка по п.1, отличающаяся тем, что в лазерном резонаторе первого излучателя волоконная задержка установлена таким образом, что один из торцов волоконной задержки находится на расстоянии порядка диаметра кварцевой жилы волокна от отражающей поверхности сферического зеркала резонатора, а второй торец согласован по выходной апертуре с апертурой активного элемента резонатора.

10. Лазерная установка по п.1, отличающаяся тем, что в лазерном резонаторе первого излучателя между активным элементом и волоконной задержкой установлена поляризационная развязка на основе ромба Френеля и поляризатора.

11. Лазерная установка по п.1, отличающаяся тем, что она выполнена с возможностью подключения эндовидеокамеры и дополнительно содержит блок обработки видеосигнала с эндовидеокамеры.

12. Лазерная установка по п.11, отличающаяся тем, что она выполнена с возможностью демонстрации хода хирургического вмешательства в режиме реального времени на экране сенсорного монитора, соединенного с блоком обработки видеосигнала, с одновременной записью видеоинформации на внешний мобильный носитель данных.