Изменение направления потока текучей среды

Иллюстрации

Показать все

Коленчатый трубопроводный патрубок предназначен для изменения направления потока текучей среды в меньшем пространстве, чем при использовании обычных коленчатых трубопроводных патрубков, не вызывая больших потерь давления, которые встречаются при использовании обычных коленчатых трубопроводных патрубков в эквивалентном пространстве. Коленчатый трубопроводный патрубок содержит цилиндрический корпус, имеющий первый конец, второй конец и по существу постоянный внутренний диаметр; тангенциальный впускной канал, который прикреплен к корпусу вблизи первого конца корпуса и внутренний диаметр которого меньше внутреннего диаметра корпуса; и тангенциальный выпускной канал, который прикреплен к корпусу вблизи второго конца корпуса и внутренний диаметр которого меньше внутреннего диаметра корпуса. В способе текучая среда проходит линейно через тангенциальный впускной канал и поступает в корпус, внутри корпуса линейное движение текучей среды преобразуется во вращательное движение или движение по спирали, текучая среда в корпусе продолжает движение по спирали, перемещаясь в осевом направлении через корпус к тангенциальному выпускному каналу, затем текучая среда выходит из корпуса через тангенциальный выпускной канал, причем при выходе через тангенциальный выпускной канал вращательное движение или движение текучей среды по спирали в корпусе преобразуется обратно в линейное движение. Изобретение также касается применения коленчатого патрубка и способа присоединения к нему вкладыша. 4 н. и 10 з.п. ф-лы, 17 ил.

Реферат

Данное изобретение, в целом, относится к изменению направления потока текучей среды, особенно потоков текучих сред с высокой температурой и/или высокой абразивностью в системах футерованных трубопроводов. В предпочтительных вариантах выполнения данное изобретение относится к изменению направления потока подобных текучих сред в небольшом объеме с меньшими потерями давления или перепадом давления, чем при использовании традиционной технологии, предназначенной для изменения направления потока текучих сред.

В любой замкнутой системе, содержащей движущуюся текучую среду, например в трубопроводной системе, часто возникает необходимость в изменениях направления потока текучей среды. В типичном случае используются обычные коленчатые трубопроводные патрубки, называемые также коленами. Однако зачастую возникают условия, которые налагают ограничения и препятствуют использованию обычных коленчатых трубопроводных патрубков. К этим условиям относится транспортировка текучих сред с высокой температурой, потоков текучих сред, вызывающих коррозию, или абразивных потоков текучих сред, например потоков текучих сред, загрязненных частицами. В типичном случае при наличии таких условий вопрос по изменению направления потока текучих сред решается использованием трубопроводных элементов большего размера (т.е. большего диаметра), футерованных соответствующим огнеупорным, антикоррозийным или стойким к истиранию футеровочным материалом.

Увеличение диаметра трубопровода требует соответствующего увеличения радиуса изгиба любых требуемых колен. Увеличение радиуса изгиба, в свою очередь, повышает требования к пространству для установки коленчатого патрубка или колена, необходимого для изменения направления потока текучей среды. Использование коленчатого патрубка или колена с весьма небольшим радиусом изгиба обычно вызывает нежелательную потерю давления.

В отличие от вышеупомянутого в данном изобретении предлагается коленчатый трубопроводный патрубок, способствующий изменению направления потока текучей среды в меньшем пространстве, чем при использовании обычных коленчатых трубопроводных патрубков, не вызывая больших потерь давления, которые встречаются при использовании обычных коленчатых трубопроводных патрубков в эквивалентном пространстве. Предлагаемые коленчатые трубопроводные патрубки содержат по существу цилиндрический корпус, имеющий первый конец, второй конец и по существу постоянный внутренний диаметр, тангенциальный впускной канал, который прикреплен к корпусу вблизи его первого конца и внутренний диаметр которого меньше внутреннего диаметра корпуса, и тангенциальный выпускной канал, который прикреплен к корпусу вблизи его второго конца и внутренний диаметр которого меньше внутреннего диаметра корпуса. Обычно текучая среда проходит линейно через тангенциальный впускной канал и поступает в корпус. Внутри корпуса линейное движение текучей среды преобразуется во вращательное движение или движение по спирали. Текучая среда в корпусе продолжает движение по спирали, перемещаясь также в осевом направлении через корпус к тангенциальному выпускному каналу. Затем текучая среда выходит из корпуса через тангенциальный выпускной канал. При выходе через тангенциальный выпускной канал вращательное или спиральное движение текучей среды в корпусе преобразуется обратно в линейное движение.

В предлагаемом коленчатом трубопроводном патрубке оси тангенциального впускного канала и тангенциального выпускного канала могут быть ориентированы по существу в противоположных направлениях, или по существу в одном направлении, или по существу под углом примерно 90° относительно друг друга.

В предпочтительном варианте выполнения коленчатый трубопроводный патрубок может быть образован двумя по существу одинаковыми элементами, каждый из которых имеет по существу цилиндрическую секцию корпуса, имеющую открытый первый конец и второй конец с тангенциальным впускным или выпускным каналом, прикрепленным к секции корпуса вблизи указанного второго конца, причем указанные два элемента прикреплены друг к другу с возможностью отсоединения у их первых концов с образованием по существу цилиндрического корпуса с тангенциальным впускным каналом и тангенциальным выпускным каналом.

В другом предпочтительном варианте выполнения два по существу одинаковых элемента прикреплены друг к другу с возможностью отсоединения так, что тангенциальный впускной/выпускной канал на первом элементе может быть ориентирован под любым желательным углом по отношению к тангенциальному впускному/выпускному каналу на втором элементе.

Коленчатый трубопроводный патрубок дополнительно может содержать съемные сопряженные участки защитных вкладышей, находящиеся внутри по существу цилиндрического корпуса, тангенциального впускного канала и тангенциального выпускного канала соответственно.

Предлагаемые коленчатые трубопроводные патрубки могут дополнительно содержать вкладыш, предназначенный для использования с коленчатыми патрубками. В одном варианте выполнения вкладыш содержит вкладыш корпуса, вкладыш тангенциального впускного канала и вкладыш тангенциального выпускного канала. В предпочтительном варианте выполнения вкладыш тангенциального впускного канала и вкладыш тангенциального выпускного канала вставлены с возможностью отсоединения в выемку вкладыша корпуса. В другом варианте выполнения вкладыш секции корпуса содержит два по существу идентичных вкладыша секции корпуса.

Предлагаемый коленчатый патрубок может применяться для транспортировки потока текучей среды, содержащего загрязненный частицами газ, при этом загрязненный частицами газ может содержать хлор, а частица может содержать диоксид титана.

Предложен также способ присоединения вкладыша к коленчатому патрубку, имеющему по существу цилиндрический корпус с открытым концом, тангенциальный впускной канал и тангенциальный выпускной канал, включающий вставку в корпус через открытый конец по существу цилиндрического вкладыша, имеющего первую выемку и вторую выемку, вставку вкладыша в первую выемку через тангенциальный впускной канал и вставку вкладыша во вторую выемку через тангенциальный выпускной канал.

Кроме того, предложен способ изменения направления потока текучей среды через трубопровод с помощью предложенного коленчатого трубопроводного патрубка, включающий пропускание потока текучей среды в первом направлении по существу в цилиндрический корпус указанного патрубка через его тангенциальный впускной канал, вследствие чего текучая среда совершает как вращательное, так и осевое перемещение к тангенциальному выпускному каналу указанного патрубка, и выпуск текучей среды во втором направлении из по существу цилиндрического корпуса указанного патрубка через его тангенциальный выпускной канал.

В этом способе первое направление и второе направление могут быть по существу одинаковыми, или противоположными или могут по существу образовывать угол около 90 градусов.

Данное изобретение проиллюстрировано на прилагаемых чертежах, на которых одинаковыми позициями обозначены одинаковые элементы. Специалистам понятно, что проиллюстрированные и описанные ниже варианты выполнения представляют собой лишь примеры данного изобретения, характеризуемого приведенной ниже формулой изобретения.

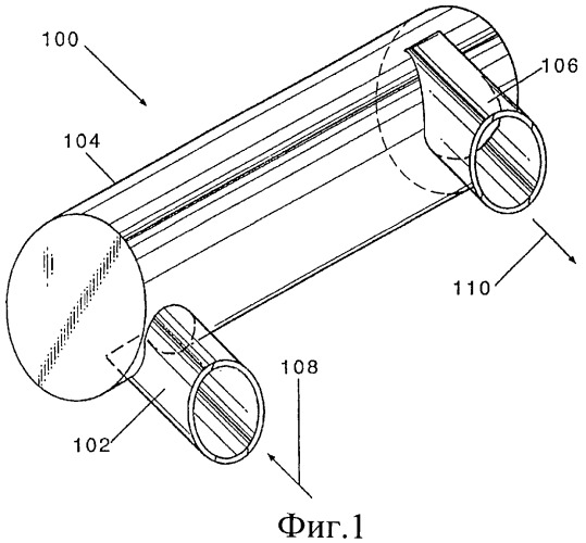
Фиг.1 изображает предлагаемый коленчатый трубопроводный патрубок, имеющий тангенциальный впускной канал и тангенциальный выпускной канал, оси которых ориентированы по существу в противоположных направлениях.

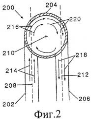
Фиг.2 изображает вид сверху коленчатого трубопроводного патрубка, показанного на фиг.1.

Фиг.3 изображает вид сверху коленчатого трубопроводного патрубка с тангенциальным впускным каналом и тангенциальным выпускным каналом, оси которых ориентированы примерно под углом 90° друг к другу.

Фиг.4 изображает вид сверху коленчатого трубопроводного патрубка с тангенциальным впускным каналом и тангенциальным выпускным каналом, оси которых ориентированы по существу в одном направлении.

Фиг.5 изображает коленчатый трубопроводный патрубок того типа, который показан на фиг.1, но состоящий из двух по существу одинаковых составных секций, содержащих тангенциальный впускной канал и тангенциальный выпускной канал, оси которых ориентированы по существу в противоположных направлениях.

Фиг.6 изображает коленчатый трубопроводный патрубок, показанный на фиг.5, в котором две составные секции скреплены так, что оси тангенциального впускного канала и тангенциального выпускного канала ориентированы примерно под углом 90° друг к другу.

Фиг.7 изображает коленчатый трубопроводный патрубок, показанный на фиг.5, в котором две составные секции скреплены с созданием тангенциального впускного канала и тангенциального выпускного канала, оси которых ориентированы по существу в одном направлении.

Фиг.8 изображает в разобранном виде один из двух по существу одинаковых конструктивных трубопроводных элементов, показанных на фиг.5-7.

Фиг.9 изображает в разобранном виде два конструктивных трубопроводных элемента, показанных на фиг.8 и прикрепленных друг к другу с возможностью отсоединения.

Фиг.10 изображает другой вид вкладышей секции корпуса и тангенциального выпускного канала, показанных на фиг.8 и 9.

Фиг.11 изображает показанный на фиг.8, 9 и 10 вкладыш тангенциального впускного канала, вставленный в выемку вкладыша секции корпуса, показанного на фиг.8, 9 и 10.

Фиг.12 изображает схематический вид вкладыша секции корпуса, показанного на фиг.10.

Фиг.13 изображает схематический вид вкладыша тангенциального впускного канала, показанного на фиг.11.

Фиг.14 изображает имеющую цилиндрическую форму секцию вкладыша, содержащего токопроводящую проволоку, расположенную около наружной поверхности вкладыша в виде зигзагообразного узора в соответствии с данным изобретением.

Фиг.15 изображает поперечное сечение вкладыша секции корпуса, показанного на фиг.14.

Фиг.16 изображает имеющую цилиндрическую форму секцию вкладыша, содержащего токопроводящую проволоку, расположенную около наружной поверхности вкладыша в виде спирального узора в соответствии с данным изобретением.

Фиг.17 изображает поперечное сечение секции вкладыша, показанного на фиг.16.

Предлагаемые коленчатые трубопроводные патрубки содержат по существу цилиндрический корпус, имеющий первый конец, второй конец и по существу постоянный диаметр; тангенциальный впускной канал, который прикреплен к секции корпуса около ее первого конца и диаметр которого меньше диаметра секции корпуса; и тангенциальный выпускной канал, который прикреплен к секции корпуса около ее второго конца и диаметр которого меньше диаметра секции корпуса. Если не указано иное, то под термином "диаметр" в данном документе понимается внутренний диаметр изделия.

В целях данного описания первый конец секции корпуса иногда может также обозначаться как "верхняя часть" корпуса и, следовательно, "верхняя часть" коленчатого трубопроводного патрубка, тогда как второй конец может быть обозначен как "нижняя часть" корпуса и "нижняя часть" коленчатого трубопроводного патрубка. Хотя термины "верхняя часть" и "нижняя часть" могут быть использованы в данном описании для удобства обозначения конкретных концов корпуса и коленчатого трубопроводного патрубка, не следует понимать, что использование слов "верхняя часть" и "нижняя часть", а не "первый конец" или "второй конец" обозначает или подразумевает непременно вертикальную ориентацию коленчатых трубопроводных патрубков, в которых находят применение способы и устройство для контроля вкладышей, или они содержат "верхний" или "нижний" конец, в то время как концы могут находиться на одном уровне.

В предлагаемом коленчатом трубопроводном патрубке потоки текучей среды протекают линейно через тангенциальный впускной канал и поступают в корпус. Внутри корпуса по существу линейное движение текучей среды преобразуется во вращательное движение или движение по спирали. Текучая среда в корпусе продолжает свое перемещение по спирали, перемещаясь также в осевом направлении через секцию корпуса к тангенциальному выпускному каналу. Затем текучая среда выходит из корпуса через тангенциальный выпускной канал. При выходе через тангенциальный выпускной канал вращательное или спиральное движение текучей среды в корпусе преобразуется обратно в линейное движение.

На фиг.1 показан пример подобного коленчатого трубопроводного патрубка 100. Коленчатый патрубок 100 содержит тангенциальный впускной канал 102, корпус 104 и тангенциальный выпускной канал 106. При типичной работе коленчатого патрубка 100 текучая среда проходит, как показано стрелкой 108, по существу линейно через тангенциальный впускной канал 102 и поступает в корпус 104. При входе в корпус 104 линейное движение потока текучей среды преобразуется в спиральное движение при перемещении текучей среды в осевом направлении от канала 102 к каналу 106. По достижении канала 106 спиральное движение снова преобразуется в линейное движение при выходе текучей среды из корпуса 104, что показано стрелкой 110.

Для содействия спиральному движению текучей среды в корпусе в соответствии с данным изобретением диаметры впускных и выпускных каналов выполнены меньше диаметра корпуса. Под термином "тангенциальный" понимается, что ось впускного (или выпускного) канала не проходит через ось корпуса. Также подразумевается, что тангенциальный впускной канал и тангенциальный выпускной канал смещены от центра по отношению к корпусу. Тангенциальный характер впускного и выпускного каналов более ясно проиллюстрирован на фиг.2. На фиг.2 показан вид сверху коленчатого трубопроводного патрубка 200, подобного патрубку 100, изображенному на фиг.1. Коленчатый патрубок 200 содержит тангенциальный впускной канал 202, корпус 204 и тангенциальный выпускной канал 206. Как показано на фиг.2, ось 208 канала 202 не пересекается с осью 210 корпуса 204. Если бы тангенциальный впускной канал был отцентрирован относительно корпуса, то ось тангенциального впускного канала пересекала бы ось корпуса. Аналогично этому ось 212 канала 206 не пресекается с осью 210 корпуса 204.

Как показано стрелками 214, текучая среда поступает в корпус 204 через канал 202. Внутри корпуса 204 текучая среда перемещается к тангенциальному выпускному каналу, совершая движение по спирали, как показано стрелками 216. По достижении канала 206 текучая среда выходит из корпуса, как показано стрелками 218.

Тангенциальный впускной канал и тангенциальный выпускной канал выполнены с диаметром, меньшим диаметра корпуса. Во многих случаях использования диаметр тангенциального впускного канала имеет приблизительно тот же размер, что и диаметр тангенциального выпускного канала. Предпочтительней, чтобы диаметр корпуса по меньшей мере приблизительно в 1,5 раза превышал диаметр тангенциального впускного канала и тангенциального выпускного канала. Более предпочтительно, чтобы диаметр корпуса по меньшей мере приблизительно в 2 раза превышал диаметр тангенциального впускного канала и тангенциального выпускного канала. Предпочтительней, чтобы диаметр секции корпуса не более чем приблизительно в 3 раза превышал диаметр тангенциального впускного канала и тангенциального выпускного канала.

Оси тангенциального впускного канала и тангенциального выпускного канала могут быть ориентированы в любом направлении по отношению друг к другу. Например, на фиг.2 направление потока текучей среды в тангенциальном впускном канале 202 противоположно направлению потока текучей среды в тангенциальном выпускном канале 206. То есть направление потока текучей среды в канале 202 составляет приблизительно 180° по отношению к направлению потока текучей среды в канале 206. Таким образом, ось канала 202 ориентирована противоположно направлению канала 206. Коленчатый трубопроводный патрубок, содержащий тангенциальный впускной канал и тангенциальный выпускной канал, оси которых ориентированы по существу в противоположном направлении, может быть преимущественно использован тогда, когда коленчатый патрубок является частью трубопроводной системы, служащей в качестве возвратного трубопровода, например, когда продукция производственной системы возвращается или повторно используется в производственной системе. В зависимости от требований применения тангенциальный впускной канал может находиться на том же уровне или на уровне, отличающемся от уровня тангенциального выпускного канала.

Для облегчения выхода потока текучей среды через тангенциальный выпускной канал при ориентировании осей впускного и выпускного каналов в противоположном направлении тангенциальный выпускной канал следует располагать на стороне оси секции корпуса, противоположной тангенциальному впускному каналу. Например, на виде сверху патрубка 200, показанного на фиг.2, ось 208 канала 202 выходит слева от оси 210 корпуса, а ось 212 канала 206 выходит справа от оси 210 корпуса. Расположение канала 202 слева от оси 210 корпуса заставляет поток текучей среды в патрубке 200 двигаться по спирали по часовой стрелке, как показано стрелками 216. При продолжении перемещения потока текучей среды по спирали он совершает перемещение в осевом направлении через корпус 204 от канала 202 к каналу 206. По достижении потоком текучей среды канала 206 поток текучей среды перемещается в показанном стрелками 220 и 218 направлении, необходимом для выхода через канал 206. Каналы 202 и 206 в этих обстоятельствах могут быть описаны как "совмещенные путем вращения". Если, с другой стороны, канал 206 был бы расположен непосредственно под каналом 202 так, чтобы обе оси 208 и 212 были расположены слева от оси корпуса 210, то при достижении потоком текучей среды канала 206 он не перемещался бы в том же направлении, как это требуется для выхода через канал 206.

На фиг.3 и 4 проиллюстрированы другие примеры предлагаемых коленчатых трубопроводных патрубков, в которых тангенциальный впускной канал и тангенциальный выпускной канал совмещены путем вращения. На фиг.3 коленчатый трубопроводный патрубок 300 содержит тангенциальный впускной канал 302, корпус 304 и тангенциальный выпускной канал 306, причем тангенциальный впускной канал 302 и тангенциальный выпускной канал 306 совмещены путем вращения, и их оси ориентированы под 90° по отношению друг к другу. На фиг.4 коленчатый трубопроводный патрубок 400 содержит тангенциальный впускной канал 402, корпус 404 и тангенциальный выпускной канал 406, причем каналы 402 и 406 совмещены путем вращения, и их оси ориентированы по существу в одном направлении.

Коленчатые трубопроводные патрубки, проиллюстрированные на фиг.1-4, могут быть изготовлены в виде одной цельной детали (как показано на фиг.1) или, что более предпочтительно, могут быть изготовлены по частям с последующей сборкой, образуя коленчатый трубопроводный патрубок. На фиг.5 коленчатый трубопроводный патрубок 500 содержит тангенциальный впускной канал 502, корпус, собранный из двух секций 504 и 505 корпуса, и тангенциальный выпускной канал 506, причем каналы 502 и 506 совмещены путем вращения и их оси ориентированы по существу в противоположном направлении. Предпочтительней, чтобы канал 502 и первая секция 504 корпуса составляли единую неразрезную деталь, а канал 506 и вторая секция 505 корпуса составляли вторую единую неразрезную деталь. Сборка корпуса патрубка 500 осуществляется прикреплением фланца 518 первой секции 504 корпуса к фланцу 520 второй секции 505 корпуса обычным путем. Верхнюю часть 514 первой секции 504 корпуса прикрепляют к первой секции 504 корпуса, а нижнюю часть 516 второй секции 505 корпуса прикрепляют ко второй секции 505 корпуса. Первая секция 504 корпуса и вторая секция 505 корпуса могут быть разделены после использования так, что внутренняя часть корпуса может быть, при необходимости, осмотрена и очищена. Аналогично этому, верхняя часть 514 и нижняя часть 516 являются съемными, так что внутренняя часть корпуса может быть осмотрена и при необходимости очищена. Кроме того, коленчатый патрубок 500 может быть отделен от остальной трубопроводной системы для облегчения осмотра, очистки, ремонта, замены и т.д. путем отделения фланца 522 от фланца 524 и отделения фланца 526 от фланца 528.

Также возможны и другие конструктивные решения. Например, крепление соответственно верхней части 514 и/или нижней части 516 секций 504 и 505 корпуса может быть неразъемным вместо разъемного крепления, описанного выше. Неразъемное крепление верхней части 514 и/или нижней части 516 может быть осуществлено любым способом, пригодным для конкретного применения. Например, верхняя часть 514 и/или нижняя часть 516 могут быть изготовлены в виде одного неразрезного элемента с секцией 504 корпуса и/или секцией 505 корпуса.

В наиболее предпочтительном случае для простоты и легкости изготовления секции 504 и 505 корпуса выполняются по существу идентичными друг другу и скрепляются с возможностью отсоединения с помощью фланцев 518 и 520, являясь зеркальным отображением друг друга. Таким образом, коленчатый патрубок 500, изображенный на фиг.5, может быть разделен на два по существу идентичных элемента путем отделения фланца 518 от фланца 520. Первый по существу идентичный элемент содержит секцию 504 корпуса, тангенциальный впускной канал 502 и верхнюю часть 514. Второй по существу идентичный элемент содержит секцию 505 корпуса, тангенциальный выпускной канал 506 и нижнюю часть 516.

На фиг.5-7 проиллюстрировано другое преимущество коленчатых трубопроводных патрубков, которые содержат два по существу идентичных элемента. А именно, нижний элемент может быть ориентирован под выбранным углом относительно верхнего элемента для создания необходимого изменения направления потока текучей среды при перемещении от тангенциального впускного канала через корпус и выходе через тангенциальный выпускной канал. Например, на фиг.6 показан патрубок 500, показанный на фиг.5, с нижним элементом, расположенным под углом приблизительно в 90° относительно верхнего элемента. То есть коленчатый трубопроводный патрубок 600, показанный на фиг.6, содержит точно такие же элементы патрубка 500 за исключением того, что нижний элемент повернут приблизительно на 90°. Аналогично этому, на фиг.7 показан коленчатый трубопроводный патрубок 700, содержащий точно такие же элементы патрубка 500 за исключением того, что нижний элемент повернут примерно на 180°.

Предлагаемые коленчатые трубопроводные патрубки могут дополнительно содержать охлаждающие рубашки. Из уровня техники известны охлаждающие рубашки для охлаждения материалов, находящихся внутри резервуаров или трубопроводных систем. Например, коленчатый патрубок 500 содержит охлаждающую рубашку. Как лучше всего показано на фиг.5, первая секция 504 корпуса и вторая секция 505 корпуса патрубка 500 содержат охлаждающую рубашку, включающую впускной канал для воды и выпускной канал для воды, что касается секции 504 корпуса, то она содержит впускной канал 508 и выпускной канал 510. Не показан водоприемник для секции 505, который расположен симметрично водоприемнику 508 и находится в таком же соотношении к водоспуску 512, как водоприемник 508 к водоспуску 510.

Предлагаемые коленчатые трубопроводные патрубки могут дополнительно содержать вкладыш, выполненный из материала, подходящего для среды, в которой используется коленчатый патрубок, и особенно полезны для использования с высокотемпературными и абразивными текучими средами. Например, керамические вкладыши преимущественно могут быть использованы с такими коленчатыми патрубками, как патрубок 500, показанный на фиг.5, применительно к процессу производства диоксида титана (TiO2). В процессе производства TiO2 за участком горелок или участком окисления TiO2 переносится технологическими газами через участок охлаждения. Участок охлаждения является как средой с сильным абразивным воздействием, так и высокотемпературной средой. Вполне обычным является изменение температуры потока текучей среды, содержащей TiO2 и технологических газы, между 400°F (204,44°C) и 1400°F (760°C). На таком участке охлаждения производственного процесса TiO2 преимущественно могут быть использованы коленчатые патрубки с керамическими вкладышами.

В одном варианте выполнения используемые вкладыши содержат вкладыш корпуса, вкладыш тангенциального впускного канала и вкладыш тангенциального выпускного канала. В предпочтительном варианте выполнения вкладыш тангенциального впускного канала и вкладыш тангенциального выпускного канала имеют по существу одинаковую форму. То есть вкладыш тангенциального впускного канала и вкладыш тангенциального выпускного канала по существу идентичны. Вкладыш корпуса может содержать один неразрезной элемент или ряд вкладышей секций корпуса. В предпочтительном варианте выполнения вкладыш корпуса содержит два по существу идентичных вкладыша секций корпуса. Каждый из двух по существу идентичных вкладышей секции корпуса имеет цилиндрическую форму, открытую на одном торце и закрытую с другого торца. Закрытый торец может быть закрыт посредством разъемного крепления торца к вкладышу секции корпуса или изготовлением вкладыша секции корпуса в виде одной неразрезной детали с закрытым торцом. В одном варианте выполнения данного изобретения по меньшей мере один вкладыш секции корпуса содержит прикрепленный с возможностью отсоединения торец, который выполняет функцию либо верхней, либо нижней части вкладыша и может быть удален для осмотра или очистки внутренней части вкладыша секции корпуса.

На фиг.8 показан в разобранном виде элемент 800, являющийся одним из двух по существу идентичных элементов, которые могут быть прикреплены друг к другу с возможностью отсоединения, образуя предлагаемый коленчатый трубопроводный патрубок. Элемент 800 подобен верхнему элементу, показанному на фиг.5, и содержит секцию 804 корпуса, тангенциальный впускной канал 802 и верхнюю часть 814. Следует отметить, что если бы элемент 800 использовался в качестве нижнего, а не верхнего элемента, тангенциальный впускной канал выполнял бы функцию тангенциального выпускного канала. Элемент 800 дополнительно содержит вкладыш 806 тангенциального впускного канала, вкладыш 808 секции корпуса и верхний вкладыш 810. Во время сборки элемента 800 вкладыш 808 вставляют в секцию 804 корпуса, а затем вкладыш 806 вставляют в тангенциальный впускной канал 802 так, что вкладыш 806 входит в выемку 812 вкладыша 808. Вкладыш 806 и выемка 812 имеют такую форму, что края вкладыша 806 совмещаются с краями выемки 812. Таким образом, форма выемки 812 во вкладыше 808 по существу идентична форме вставленного конца вкладыша 806. Получение элемента 800 завершается установкой верхнего вкладыша 810 на вкладыш 808, размещением изоляции 816 на верхнем вкладыше 810, размещением прокладки 818 на верхней части секции 804 корпуса, наложением сальника 820 на верхнюю часть прокладки 818 и последующим прикреплением верхней части 814 к секции 804 корпуса. На фиг.8 верхняя часть 814 прикреплена с возможностью отсоединения к секции 804 корпуса болтами. На фиг.9 показано изображение в разобранном виде двух элементов 800, соединяемых друг с другом с возможностью отсоединения с образованием коленчатого трубопроводного патрубка в соответствии сданным изобретением.

На фиг.10-11 проиллюстрировано, как устанавливаются вкладыши тангенциального впускного канала и вкладыши тангенциального выпускного канала в выемку либо вкладыша корпуса, либо вкладыша секции корпуса с образованием соединения вкладышей. На фиг.10 показан вкладыш 806 тангенциального впускного канала, вкладыш 808 секции корпуса и выемка 812, показанные на фиг.8 и 9. Как показано на фиг.10, форма вставленного конца вкладыша 806 по существу идентична форме выемки 812 во вкладыше 808. На фиг.11 показан вкладыш 806, вставленный в выемку 812 вкладыша 808 с образованием элемента 1100 вкладыша, предназначенного для использования в первом элементе коленчатого трубопроводного патрубка. В данном документе место, в котором осуществляется введение впускного или выпускного канала в выемку вкладыша корпуса или вкладыша секции корпуса, может быть названо соединением вкладышей.

Выемка во вкладыше корпуса или вкладыше секции корпуса может быть создана удалением фрагмента из цилиндрической детали, выполненной из футеровочного материала. Керамические детали из футеровочного материала могут быть приобретены, например, в корпорации Ceramic Protection Corporation. Для удаления фрагмента определяется местоположение точки пересечения оси впускного канала (или выпускного канала) с корпусом. Удаляется фрагмент, проходящий вдоль этой оси и имеющий диаметр, приблизительно равный наружному диаметру впускного канала (или выпускного канала), который необходимо вставить, с учетом любых необходимых допусков. Фрагмент удаляется на такую глубину, чтобы край вкладыша впускного канала (или выпускного канала) совместился с внутренней поверхностью вкладыша корпуса. На фиг.12 схематически изображен вкладыш 1200 секции корпуса с наружным диаметром 1202, равным 13 1/2 дюймам (34,29 см), внутренним диаметром 1204, равным 12 дюймам (30,48 см), и высотой 1206, равной 17 1/2 дюймам (44,45 см). Радиус 1208 выемки 1210 равен 4 13/16 дюйма (12,22 см), причем расстояние 1212 от конца 1214 вкладыша 1200 до оси 1216 выемки 1210 равно 5 3/4 дюйма (14,61 см). Расстояние 1218 от оси 1216 выемки 1210 до наружного края вкладыша 1200 равно 4 3/4 дюйма (12,07 см).

Вкладыши тангенциальных впускных каналов и вкладыши тангенциальных выпускных каналов также могут быть созданы удалением фрагмента из цилиндрической детали из футеровочного материала. Вкладыши впускного и выпускного каналов могут быть созданы удалением цилиндрического фрагмента, имеющего диаметр, приблизительно равный внутреннему диаметру вкладыша корпуса, в который вставляются вкладыши впускного и выпускного каналов. На фиг.13 схематично показан вкладыш 1300 тангенциального впускного (или выпускного) канала, имеющий наружный диаметр 1302, равный 9 1/2 дюймам (24,13 см), внутренний диаметр 1304, равный 8 дюймам (20,32 см), и высоту (или длину) 1306, равную 12 дюймам (30,48 см). Как показано на фиг.13, вкладыш 1300 имеет цилиндрическую форму с высотой 1306, равной 12 дюймам (30,48 см), и наружным диаметром 1302, равным 9 1/2 дюймам (24,13 см). Цилиндрическая форма вкладыша 1300 имеет удаленный цилиндрический фрагмент с радиусом 1308, равным 6 дюймам (15,24 см), который удален из конца вкладыша 1300. Ось 1310 цилиндрического фрагмента расположена на расстоянии 1312, равном 2 дюймам (5,08 см), от оси 1314 вкладыша 1300 ее наиболее близкой точке. Следует отметить, что радиус 1308 удаленного цилиндрического фрагмента (т.е. 6 дюймов (15,24 см)) совпадает с внутренним диаметром 1204 (т.е. 12 дюймов (30,48 см)) вкладыша 1200 корпуса.

Вкладыши описанного здесь типа обладают несколькими преимуществами перед вкладышами, используемыми в известном уровне техники. Из уровня техники известно, что при использовании в производственных линиях или оборудовании систем вкладышей из огнеупорных кирпичей или плиток соединение материалов вкладышей с местом установки обычно осуществляется приклеиванием или заливкой цементирующего вещества. Поэтому каждый раз при возникновении необходимости удаления установленной системы вкладышей приходится ее разрушать. Облицовка кирпичом и разрушение системы вкладышей являются трудоемкими процессами, требующими новых материалов для каждой установки. С другой стороны, описанные в этом документе вкладыши позволяют осуществлять установку и удаление системы вкладышей в некоторых областях применения неоднократно без повреждения материалов вкладышей.

Неизогнутые трубопроводные линии, известные из уровня техники, обеспечивают возможность вставки заранее отлитых секций вкладышей. Однако крепление этих секций на место обычно все еще осуществляют приклеиванием для удержания вкладыша от смещения с позиции установки или выпадения из корпуса. Футеровка соединения, например, тройника или впускного канала резервуара с корпусом резервуара, обычно требует некоторого определения местоположения, совмещения или способа фиксации или фиксирующего приспособления. Во многих случаях это осуществляется заливкой цементирующего вещества или приклеиванием деталей на место. После того, как это сделано, удаление системы вкладышей без разрушения становится трудным или невозможным. Описанные в данном документе вкладыши создают конструкцию соединения, которая совмещает и удерживает детали вкладыша на месте относительно друг друга, почти не требуя заливки цементирующим веществом или приклеивания с целью сохранения целостности соединения. То есть, например, после вставки вкладыша корпуса в корпус коленчатого трубопроводного патрубка, в соответствии с фиг.8-13 установка вкладышей тангенциального впускного канала и тангенциального выпускного канала в выемку вкладыша корпуса удерживает вкладыш корпуса на месте почти без приклеивания. Аналогично этому, при удалении вкладыша тангенциального впускного канала и вкладыша тангенциального выпускного канала вкладыш корпуса может быть удален для осмотра или замены. Таким образом, вкладыш тангенциального впускного канала и вкладыш тангенциального выпускного канала вставляются с возможностью удаления в выемку вкладыша корпуса, а вкладыш корпуса вставляется с возможностью удаления в корпус коленчатого трубопроводного патрубка.

Вкладыши, описанные и показанные в этом документе, и вкладыши, известные из уровня техники, предпочтительнее применять с различными способами определения износа вкладыша. Подобные способы могут быть чрезвычайно важными для применений, в которых во вкладыше заключен поток или перемещаются абразивные текучие среды, в резервуаре, секции трубопровода или коленчатом трубопроводном патрубке описанного выше типа. В одном таком способе используется токопроводящая проволока, размещенная на наружной поверхности вкладыша относительно текущей или перемещающейся текучей среды. Для того чтобы определить, износилась ли проволока, осуществляют периодическое измерение ее электрического сопротивления. При неповрежденной проволоке ее электрическое сопротивление будет относительно низким. Однако при износе вкладыша абразивная среда, которая вызывает износ вкладыша, по всей вероятности, также вызовет износ проволоки с ее разрывом. При износе проволоки электрическое сопротивление проволоки очень сильно возрастет (по существу до бесконечности). Таким образом, измеряя электрическое сопротивление токопроводящей проволоки, можно установить, имеет ли место износ проволоки, а следовательно, и износ вкладыша.

Токопроводящая проволока может быть также помещена около наружной поверхности вкладыша для определения появления значительного износа незадолго до полного износа вкладыша. Аналогичным образом возможно размещение ряда независимых токопроводящих проволок во вкладыше на различных расстояниях от абразивной текучей среды, при этом их сопротивления, измеренные по отдельности, служат для оценки степени износа вкладыша.

Возможно размещение токопроводящей проволоки около наружной поверхности вкладыша, например путем ее вмуровывания во вкладыш. Пример такого размещения приведен на фиг.14 и 15. На фиг.14 показана токопроводящая проволока 1402, размещенная в виде зигзагообразного узора около наружной поверхности 1404 цилиндрической секции трубопроводного вкладыша 1400. На фиг.15 изображено поперечное сечение вкладыша 1400, иллюстрирующее размещение проволоки 1402 около наружной поверхности 1404 вкладыша 1400. Предпочтительней проволоку 1402 располагать ближе к поверхности 1404 вкладыша 1400, чем к его внутренней поверхности 1406.

На фиг.16 и 17 проиллюстрирован другой пример того, как токопроводящую проволоку размещают около наружной поверхности вкладыша. На фиг.16 показана цилиндрическая секция трубопроводного вкладыша 1600 с токопроводящей проволокой 1602, размещенной около наружной поверхности 1604 вкладыша в виде спирального узора. Проволока 1602 помещена в канавку 1606, созданную на поверхности 1604 вкладыша. Канавка 1606 может быть выполнена любым пригодным способом. Предпочтительней глубину канавки 1606 выбирать так, чтобы проволока 1602, помещенная в канавку 1606, располагалась ближе к наружной поверхности 1604, чем к внутренней поверхности 1608 вкладыша 1600. Канавка 1606 во вк