Безопасный самолет вертикального взлета и посадки

Иллюстрации

Показать все

Изобретение относится к области авиационной техники. Самолет содержит крыло, два соосных несущих воздушных винта противоположного направления вращения с автоматами перекоса. Ось вала каждого винта установлена с возможностью поворота вперед в плоскости оси симметрии самолета на угол, отсчитываемый от вертикального положения и определяемый по формуле, приведенной в описании. Центр вращения оси совпадает с центром тяжести самолета. Диаметр несущих винтов соответствует нагрузке на сметаемую площадь не выше 140...150 Па. Крыло выполнено поворотным относительно поперечной оси его профиля и может устанавливаться с требуемым углом атаки или флюгероваться. Изобретение направлено на повышение безопасности посадки при отказе двигательной установки. 4 ил.

Реферат

Изобретение относится к области авиационной техники и может быть использовано в самолетах вертикального взлета и посадки.

Известен самолет вертикального взлета и посадки Кертис Х-19, описанный в книге Ф.П.Курочкина «Проектирование и конструирование самолетов с вертикальным взлетом и посадкой», М.: Машиностроение, 1977 г. стр.13.

В данном самолете вертикального взлета и посадки имеются переднее и заднее крылья, установленные на их концах несущие воздушные винты изменяемого шага с противоположным направлением вращения, оси которых выполнены поворотными в плоскостях, параллельных продольной плоскости симметрии самолета. При взлете, висении и посадке тяга винтов направлена вертикально вверх, а на марше направлена горизонтально вперед.

Недостатками данного самолета вертикального взлета и посадки являются невысокая экономичность вследствие применения двух крыльев малого относительного удлинения и невозможность совершить безопасную посадку на ограниченную площадку при отказе двигателей вследствие использования высоконагруженных винтов с высокой нагрузкой на ометаемую площадь.

Отмеченные недостатки частично устранены в самолете вертикального взлета и посадки OV-22, ВА-609 и Белл XV-15, описанном в книге Ф.П.Курочкина «Проектирование и конструирование самолетов с вертикальным взлетом и посадкой», М.: Машиностроение, 1977 г. стр.107, наиболее близком к изобретению и принятом за прототип.

В данном самолете вертикального взлета и посадки имеются крыло и два установленных на его концах несущих воздушных винта изменяемого шага с автоматами перекоса и противоположным направлением вращения, оси которых выполнены поворотными в плоскостях, параллельных продольной плоскости симметрии самолета. Использование одного крыла с более высоким относительным удлинением позволяет получить более высокое аэродинамическое качество в горизонтальном полете, а значит, улучшить экономичность.

Однако недостаток, заключающийся в невозможности совершить безопасную посадку на ограниченную площадку при отказе двигателей, не устранен. Это обусловлено использованием высоконагруженных винтов с высокой нагрузкой на ометаемую площадь, что приводит к недопустимо высокой скорости снижения на авторотации. В кн. Юрьева Б.Н. «Аэродинамический расчет вертолетов». М.: Оборонгиз, 1956, 560 в табл.11.4 (стр.339) показано, что безопасная посадка с использованием «подрыва винта» достигается при нагрузке р на ометаемую площадь 156 Па, там же на стр.422 дано значение р=140 Па. Для XV-15 составляет p=1820 Па.

Задачей изобретения является создание экономичного самолета вертикального взлета и посадки, способного совершать безопасную аварийную посадку на ограниченную площадку при отказе двигательной установки.

Указанная задача решается тем, что самолет вертикального взлета и посадки, имеющий крыло, два несущих воздушных винта с автоматами перекоса, имеющих противоположное направление вращения, лопасти которых могут совершать маховые движения, причем оси валов воздушных винтов выполнены поворотными в плоскости, параллельной продольной плоскости симметрии самолета, отличающийся тем, что воздушные винты выполнены соосными, а ось их валов может поворачивается вперед в плоскости оси симметрии самолета на угол, отсчитываемый от вертикального положения, величина которого при горизонтальном полете приближенно определяется по выражению

где τ - угол поворота оси; cxf - и cxk - коэффициенты лобового сопротивления фюзеляжа и крыла; cyk - коэффициент подъемной силы крыла; Sf - суммарная площадь поперечного сечения фюзеляжа и стойки несущего винта; Sk - площадь крыла; Gg - вес самолета; V0 - скорость полета; ρ - плотность воздуха; причем центр вращения этой оси совпадает с центром тяжести самолета, при этом диаметр несущих винтов соответствует нагрузке на сметаемую площадь не выше 140...150 Па, а крыло выполнено поворотным относительно поперечной оси его профиля и может устанавливаться с изменяемым в полете углом атаки независимо от положения оси вала несущих винтов, а, при необходимости, может самостоятельно устанавливаться параллельно обтекающему потоку во флюгерное положение.

Выполнение лопастей несущих воздушных винтов имеющими возможность совершать маховые движения, соединенных с автоматом перекоса, аналогичными несущим винтам вертолета, позволяет при вертикальном положении осей несущих воздушных винтов иметь на режиме взлета, висения и посадки высокую управляемость, полностью соответствующую управляемости вертолета.

Применение двух несущих винтов с противоположным направлением вращения позволяет взаимно компенсировать вращающий момент от них и отказаться от рулевого винта.

Применение соосных несущих винтов позволяет снять ограничения на максимальный диаметр винтов (не более половины длины крыла при наклоненном вперед положении) и выиграть в весе за счет отказа от синхронизирующей трансмиссии, за счет облегчения крыла, поскольку крыло в этом случае можно делать менее прочным и жестким. Это подтверждает расчет для консольной балки с одним закрепленным концом, нагруженной либо сосредоточенной силой (весом), приложенной на другом конце, либо распределенной нагрузкой, равнодействующая которой равна этой силе (весу), который показывает, что во втором случае изгибающий момент в 2 раза меньше. Первый случай нагружения соответствует взлету-посадке самолета с винтами на концах крыла, второй - самолета с соосными винтами. Отсутствие трансмиссии также позволяет использовать более тонкий профиль крыла с увеличенным аэродинамическим качеством. Кроме того, упрощается и облегчается привод системы наклона несущих винтов и исключается неодинаковый наклон винтов вследствие нежесткости системы наклона винтов.

Поворот оси валов несущих винтов вперед в плоскости оси симметрии самолета на угол, отсчитываемый от вертикального положения, величина которого при горизонтальном полете приближенно определяется по выражению

где τ - угол поворота оси; cxf - и cxk - коэффициенты лобового сопротивления фюзеляжа и крыла; cyk - коэффициент подъемной силы крыла; Sf - суммарная площадь поперечного сечения фюзеляжа и стойки несущего винта; Sk - площадь крыла; Gg - вес самолета; V0 - скорость полета; ρ - плотность воздуха; позволяет совершать самолету при крыле, установленном на угол атаки, соответствующий наибольшему аэродинамическому качеству, высокоэкономичный полет на маршевом участке.

Расположение центра вращения оси валов несущих винтов совпадающим с центром тяжести самолета позволяет изменять величину и направление вектора тяги несущих винтов, не нарушая балансировку самолета, что упрощает управление на всех режимах полета.

Выполнение диаметра несущих винтов соответствующим нагрузке на ометаемую площадь не выше 140...150 Па позволяет, используя авторотацию, безопасно совершать аварийную посадку «по-вертолетному» на ограниченную площадку при полном отказе двигательной установки.

Выполнение крыла поворотным относительно поперечной оси его профиля, которое может устанавливаться с изменяемым в полете углом атаки независимо от положения оси вала несущих винтов, позволяет точнее устанавливать его с требуемым углом атаки, соответствующим наивысшему аэродинамическому качеству, и позволяет избежать выхода на некоторых режимах полета на закритические углы атаки, что повышает экономичность и безопасность. Кроме того, экономичность повышается на режимах набора высоты и снижения, когда угол атаки отличается от угла атаки при горизонтальном полете и может быть выбран оптимально на любом режиме полета. Установка крыла с требуемым углом атаки на каждом режиме полета упрощает управление.

Способность крыла, при необходимости, самостоятельно устанавливаться параллельно обтекающему потоку во флюгерное положение позволяет при отказе двигателей переводить несущие винты из положения с «наклоном вперед на угол τ» в вертикальное положение, при котором совершается безопасная посадка и совершать ее на авторотации (с «подрывом винта»), аналогично вертолету. При этом крыло не ухудшает существенно обтекание несущих винтов, отсутствуют срывы потока, скачки подъемной силы, рывки, сохраняется управляемость. Флюгерное положение крыла при стандартном вертикальном взлете и посадке снижает потребную мощность и упрощает управление.

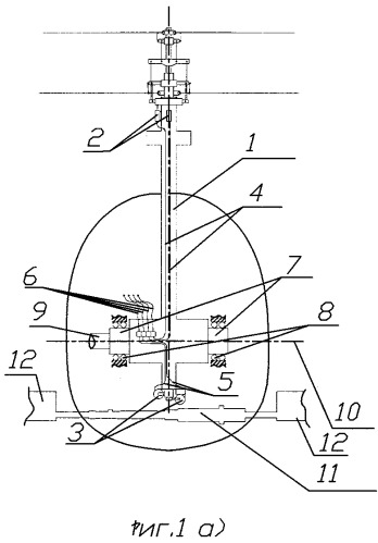
Изобретение поясняется чертежами, где на фиг.1 схематически показаны основные конструктивные элементы самолета вертикального взлета; на фиг.2 - схема узла управления углом атаки и флюгерования крыла, на фиг.3 - расчетные зависимости угла наклона оси несущих винтов τ и дальности полета от площади крыла при горизонтальном полете; на фиг.4 - балансировка самолета.

На фиг.1а) схематически показан разрез самолета плоскостью, проходящей через центр тяжести. Система двух соосных несущих винтов 1 (подобная существующей системе вертолетов Ка-26 или Ка-32) установлена на цапфах 7 в подшипниках 8, установленных в фюзеляже, и может поворачиваться вокруг оси 10, проходящей через центр тяжести. Мощность двигателя передается через вал 9, ось которого совпадает с осью 10. Автоматы перекоса продольного и поперечного направления связаны с соответствующими гидроприводами 2, которые подключены через магистрали 4. Гидроприводы механизмов общего и дифференциального шага верхнего и нижнего винтов 3, подключены через магистрали 5. Все магистрали имеют гибкие шланги 6. Крыло 12, состоящее из 2-х консолей, имеет узел 11 управления углом атаки и флюгерования крыла.

На фиг.1б) схематически показан продольный разрез самолета, где привод соосной системы несущих винтов обозначен 13.

На фиг.2 показан узел управления углом атаки и флюгерования крыла. Крыло 12, имеющее две консоли, жестко соединенные валом 15, установлено на подшипниках (не показаны) в фюзеляже и имеет возможность только поворачиваться вокруг своей продольной оси. На валу закреплен поводок 17, который может упираться в ограничитель 16, соединенный с рычагом флюгерования 23. Ограничитель 16 может перемещаться относительно продольной оси крыла и направляющей 19 на шлицах 18. Направляющая 19 имеет буртик 20, возможность осевого перемещения которого исключена упорами на фюзеляже (не показаны). Рычаг управления углом атаки 22 жестко соединен с направляющей 19. Положение поводка 17 на валу 15 показано условно.

На фиг.3а) показана зависимость угла наклона оси несущей системы τ от площади крыла Sk, на фиг.3б) - зависимость дальности горизонтального полета lk от площади крыла Sk.

Пример выполнения приведен для самолета вертикального взлета весом 600 кГс с двигателем 150 л.с. Безопасный самолет вертикального взлета и посадки функционирует следующим образом. При взлете и посадке система несущих соосных винтов 1 посредством привода 13 (например, винтового типа) устанавливается в положение I см. фиг.1б). Рычаг флюгерования 23 фиг.2, перемещаясь на шлицах 18, устанавливается в крайнее правое положение - «флюгерование», ограничитель 16 при этом обеспечивает возможность свободного поворота крыла 12 с поводком 17 на угол +110-120°. Под влиянием обтекающей струи крыло устанавливается в положение, при котором хорда близка к вертикальному. Аэродинамическое влияние крыла при этом минимально и самолет по управляемости полностью соответствует вертолету с соосными несущими винтами. После набора высоты и горизонтальной скорости крыло переводится в положение «угол атаки», для чего рычаг флюгерования 23 фиг.2 переводится в крайнее левое положение. Ограничитель 16 при этом поворачивает поводок 17 и все крыло до попадания поводка в паз ограничителя, показанный на фиг. Повороты крыла относительно ограничителя в таком положении исключаются и полностью определяются положением направляющей 19 и рычага управления углом атаки 22, что позволяет установить угол атаки в пределах 0...20°.

Аэродинамический момент крыла относительно его передней кромки, возникающий при появлении угла атаки, легко снижается выбором положения оси вращения крыла на хорде и устраняется небольшими углами поворота колец автоматов перекоса.

При достижении горизонтальной скорости, близкой к маршевой, система несущих винтов 1 фиг.1a) приводом 13 за 10...30 с переводится в положение II фиг.1б), поворачиваясь вперед на угол

Данное выражение получается следующим образом. Подъемная сила крыла

сила вредного сопротивления

вес самолета с учетом подъемной силы крыла

Тогда для выполнения горизонтального полета тангенс угла τ

См. фиг.3 и кн. Юрьева Б.Н. «Аэродинамический расчет вертолетов». М.: Оборонгиз, 1956, 560 (стр.404). Подставляя в (4) выражение (2), а в (5) выражения (3) и (4), после преобразований получаем (1). Данное выражение является приближенным, так как согласно выражению (16.29) в кн. Юрьева Б.Н. «Аэродинамический расчет вертолетов». М.: Оборонгиз, 1956, 560 стр.464 необходимо учитывать индуктивное сопротивление крыла Qikp=ρ·cpk·νi·Sk/2, где cpk - коэффициент профильного сопротивления крыла, νi - индуктивная скорость. Индуктивная скорость (кн. Юрьева Б.Н. «Аэродинамический расчет вертолетов». М.: Оборонгиз, 1956, 560 стр.361) при горизонтальном полете 50 м/с мала, составляет 1,74 м/с (угол скоса 1,99°) и на данном этапе ею можно пренебречь. Для самолета, конструкция которого удовлетворяет выражению (1) с использованием выражений

Va=-V0·sinτ+ν1

Vt=V0·cosτ

взятых за основу из (5.4') стр.404, (12.8), (12.9), (7.56) стр.404, (13.20') стр.405, (16.30) стр.465, Юрьева Б.Н. «Аэродинамический расчет вертолетов». М.: Оборонгиз, 1956, 560. Вычислены зависимости угла наклона оси несущей системы τ (на фиг.3а угол обозначен как τg) и дальности полета lk от площади крыла Sk, результаты представлены на фиг.3а) и фиг.3б). Все расчеты проводились с использованием программного пакета Mathcad. Теоретически возможная дальность полета lk определялась как lk=3600·V0·Gt/(Gu·N), где V0 - скорость горизонтального полета (м/с), Gt - запас топлива (кг), Gu - часовой удельный расход топлива двигателя (для Lycoming О-320 Gu=0,22 кг/кВт·ч). Результаты показывают, что отклонение вперед оси несущих соосных винтов на 33° обеспечивает увеличение дальности в 1,72 раза по сравнению с вертолетным режимом, дальнейшее увеличение угла наклона не приводит к существенному росту дальности. Техническая реализация угла наклона оси на 33° не вызывает трудностей. Поворот системы несущих винтов, когда вал двигателя расположен на оси поворота, не влияет на передачу мощности от двигателя. Возможность указанного поворота обеспечивается изменением формы гибких шлангов 6, показанных на фиг.1а), что не сказывается на функционировании управления автоматами перекоса и шагом винтов.

Условие балансировки самолета, означающее равенство нулю суммы вращающих моментов внешних сил относительно центра тяжести, выполняется при любом повороте системы несущих винтов на угол от 0 до τ, так как вектор тяги Т проходит через центр тяжести. Небольшие внешние возмущения за счет порывов ветра, выработки топлива и т.д. компенсируются автоматом перекоса поворотом конусов винтов относительно втулок (точки О и О1) на угол а (см.фиг.4). На фиг.4 видно, что при этом момент вектора тяги М при любом положении в пределах угла τ равен произведению плеча h на вектор Т, т.е. M=h·T=const, что означает сохранение балансировки и управляемости.

При переводе системы соосных несущих винтов вперед с отмеченной выше угловой скоростью ось конусов следует за валом осей, отставая от него (см. кн. под ред. М.Л.Миля «Вертолеты. Расчет и проектирование. Часть 1. Аэродинамика». М.: Машиностроение. 1966 г. 455, стр.70. Отставание может компенсироваться автоматом перекоса.

В случае полного отказа двигательной установки в положении системы соосных несущих винтов «вперед на угол τ» самолет переводится в планирование на авторотации, система несущих винтов за 10...30 с переводится в положение I (см. фиг.4). Затем крыло флюгеруется, оказывая минимальное влияние, и самолет совершает безопасную посадку «по-вертолетному», так как это позволяет нагрузка на ометаемую площадь (см. стр.2 данной заявки).

Изобретение названо «безопасный самолет вертикального взлета и посадки», а не «винтокрыл», поскольку при горизонтальном полете наибольшую часть подъемной силы создает крыло.

Использование предлагаемого технического решения обеспечивает для самолета вертикального взлета и посадки возможность безопасной посадки при отказе двигательной установки, сохранение повышенной экономичности, высокую управляемость при взлете и посадке, свойственную соосным вертолетам, не требующую высоких навыков пилотирования.

Самолет вертикального взлета и посадки, имеющий крыло, два несущих воздушных винта с автоматами перекоса, имеющих противоположное направление вращения, лопасти которых могут совершать маховые движения, причем оси валов воздушных винтов выполнены поворотными в плоскости, параллельной продольной плоскости симметрии самолета, отличающийся тем, что воздушные винты выполнены соосными, а ось их валов поворачивается вперед в плоскости оси симметрии самолета на угол, отсчитываемый от вертикального положения, величина которого при горизонтальном полете приближенно определяется по выражению

где τ - угол поворота оси; cxf - и cxk - коэффициенты лобового сопротивления фюзеляжа и крыла; cyk - коэффициент подъемной силы крыла; Sf - площадь поперечного сечения фюзеляжа и стойки несущих винтов; Sk - площадь крыла; Gg - вес самолета; V0 - скорость полета; ρ - плотность воздуха; причем центр вращения этой оси совпадает с центром тяжести самолета, при этом диаметр несущих винтов соответствует нагрузке на ометаемую площадь не выше 140-150 Па, а крыло выполнено поворотным относительно поперечной оси его профиля и может устанавливаться с изменяемым в полете углом атаки независимо от положения оси вала несущих винтов, а, при необходимости, может самостоятельно устанавливаться параллельно обтекающему потоку во флюгерное положение.