Способ и устройство для определения удельного сопротивления геологического пласта, через который проходит обсаженная скважина
Иллюстрации
Показать всеИзобретение относится к способу определения удельного сопротивления пласта, через который проходит обсаженная скважина. Техническим результатом является повышение точности определения удельного сопротивления пласта. Для этого снимают одну каротажную диаграмму удельного сопротивления в обсаженной скважине и используют результаты каротажного измерения удельного сопротивления в необсаженной скважине, ранее произведенного в той же скважине, чтобы в, по меньшей мере, одной зоне пласта, в которой удельное сопротивление не изменилось между условиями обсадки и отсутствия обсадки, вывести значение геометрического коэффициента k, регулирующего удельное сопротивление, и для определения, с помощью геометрического коэффициента k и каротажной диаграммы в обсаженной скважине, удельного сопротивления в, по меньшей мере, одной зоне, отличной от зоны калибровки, в которой удельное сопротивление изменилось между условием отсутствия обсадки и условием обсадки. 2 н. и 11 з.п. ф-лы, 3 ил.
Реферат
Область применения изобретения
Изобретение относится к определению удельного сопротивления геологического пласта, через который проходит обсаженная скважина.
Важность каротажных диаграмм удельного сопротивления в нефтепоисковых работах уже не нужно демонстрировать. Известно, что удельное сопротивление пласта существенно зависит от содержащегося в нем флюида. Пласт, содержащий соленую воду, которая является проводником, имеет более низкое удельное сопротивление, чем пласт, наполненный углеводородами, и поэтому измерения удельного сопротивления играют важную роль в определении местоположения залежей углеводородов. Каротажные диаграммы удельного сопротивления в течение долгого времени повсеместно получали с помощью электродных устройств в необсаженных скважинах, которые называются необсаженными стволами скважины. Наличие в скважине металлической обсадной колонны, которая имеет бесконечно малое удельное сопротивление по сравнению с типичными значениями для геологических пластов (около 2.10-7 Ом·м для стальной обсадной колонны по сравнению с от 1 до 103 Ом·м для пласта) представляет барьер для передачи электрических токов в пласты, окружающие обсадную колонну. Измерение удельного сопротивления в обсаженных скважинах представляет большой интерес, когда производится в скважине, продуктивной на уровне залежей. Можно определить положение границ раздела вода-углеводород и отслеживать, как изменяется это положение с течением времени, с целью отслеживания поведения залежей углеводорода и оптимизации их эксплуатации.
Уровень техники
В патентных заявках FR 2793031 и FR 2793032, в частности, описаны примеры способов определения удельного сопротивления геологического пласта, через который проходит обсаженная скважина.
Заявитель разработал устройство для определения удельного сопротивления геологического пласта за пределами обсадной колонны, который называется CHFR (Удельное сопротивление пласта обсаженной скважины), каковое название является зарегистрированным торговым знаком компании Schlumberger.
Электрод инжекции тока обеспечивает протекание тока вдоль обсадной колонны с удаленным возвратом (например, на поверхности) таким образом, чтобы в пласте, через который проходит скважина, имел место ток утечки. На данной глубине z, значение тока утечки Ifor обратно пропорционально удельному сопротивлению Rt пласта, согласно закону Ома:
Rt(z)=k(Vz,infinite/Ifor), где Vz,infinite обозначает потенциал обсадной колонны на уровне z относительно бесконечности, а k обозначает геометрический коэффициент, зависящий от условий каротажной диаграммы и, в частности, от конфигурации электродов, положения возвратного электрода на поверхности и характеристик обсадной колонны. Коэффициент k можно только оценивать, и его точность зачастую бывает не очень высокой.
Группа электродов напряжения, установленных на обсадной колонне, позволяют осуществлять измерения падения напряжения между двумя электродами на участках обсадной колонны по обе стороны уровня z. Падения напряжения являются функцией тока утечки Ifor и сопротивления участков обсадной колонны между двумя электродами. Новое измерение падения напряжения между электродами путем пропускания тока между инжекционным электродом и возвратным электродом в обсадной колонне за пределами группы электродов напряжения, не вызывающее утечку в пласт, позволяет определять сопротивление участков обсадной колонны между двумя электродами напряжения.
Необходимо произвести еще одно измерение, чтобы определить напряжение Vz,infinite обсадной колонны на рассматриваемой глубине z относительно бесконечно удаленной точки нулевого потенциала. Направляя постоянный ток в скважину от первого электрода инжекции тока, измеряют разность потенциалов между вторым инжекционным электродом и бесконечно удаленным контрольным электродом. Поэтому контрольный электрод должен располагаться как можно дальше от обсадной колонны. Его обычно размещают на поверхности. Иногда невозможно измерить напряжение Vz,infinite с достаточной точностью, контрольный электрод нельзя разместить достаточно далеко от обсадной колонны или электрический контакт между контрольным электродом и землей не имеет хорошего качества.
Это заставляет использовать эмпирическую формулу, позволяющую оценить удельное сопротивление Rt, не опираясь на напряжение обсадной колонны и учитывая длину b обсадной колонны. Эта эмпирическая формула выглядит следующим образом:
Rt=k·asinh(2z/(z-b))/Ifor, где asinh(2z/(z-b)) обозначает ареасинус величины 2z/(z-b).
Помимо вышеупомянутых трудностей, наблюдения показывают, что в измерениях тока Ifor часто появляется смещение. Это смещение обусловлено тем, что на каждой глубине или в каждой точке измерения устройство осуществляет два измерения тока Ifor. Указанное устройство содержит четыре электрода для измерения напряжения в точках, расположенных одна за другой на разных глубинах. Первое измерение тока Ifor осуществляется на основании измерений, произведенных с помощью трех самых неглубоких электродов, второе измерение тока Ifor осуществляется на основании измерений, произведенных с помощью трех самых глубоких электродов. Поскольку измеренные сигналы очень слабы, небольшие различия на уровне двух измерительных цепей предположительно связаны, например, с сопротивлением проводов, подключенных к электродам. Этот ток смещения весьма трудно оценить.
Кроме того, измерения удельного сопротивления в обсаженных скважинах зависят от цемента, введенного между внешней стенкой обсадной колонны и внутренней стенкой ствола скважины, если удельное сопротивление цемента больше удельного сопротивления пласта. Удельное сопротивление свежеприготовленного цемента можно определить в лаборатории. Определить удельное сопротивление свежеприготовленного цемента можно путем лабораторных измерений. Удельное сопротивление свежеприготовленного цемента обычно составляет в пределах от одного до десяти Ом·м. Однако, когда цемент на месте, прямой доступ к нему невозможен, поскольку он находится за пределами обсадной колонны. Его удельное сопротивление изменяется, во-первых, с течением времени и, во-вторых, в зависимости от среды, в которую он помещен. Измерения удельного сопротивления в обсаженной скважине можно производить в течение нескольких лет или нескольких десятков лет после закладки цемента, и на протяжении этого времени никто не знает, что происходит с цементом.
Цемент имеет пористость около 35%, и когда он на месте, происходит ионообмен между водой, содержащейся в цементе, и водой, содержащейся в пласте.
Из таблиц преобразования, для разных толщин слоя цемента, можно вывести поправочный коэффициент для применения к удельному сопротивлению, даваемому устройством, чтобы получить удельное сопротивление пласта (искомое значение), и этот коэффициент учитывает отношение между удельным сопротивлением, даваемым устройством, и удельным сопротивлением цемента. Эти таблицы строятся на основании математических моделей.
Толщину слоя цемента можно оценить с приемлемой точностью, если знать наружный диаметр обсадной колонны и внутренний диаметр скважины до обсадки. Однако использование таблиц не дает возможности очень эффективно корректировать измеренное значение удельного сопротивления пласта для получения значения удельного сопротивления пласта. Можно получить только приближенное значение средней точности.
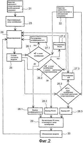
Сущность изобретения
Задача настоящего изобретения состоит в том, чтобы предложить способ определения удельного сопротивления пласта, через который проходит обсаженная скважина, который обеспечивает значительно более высокую точность по сравнению с традиционными способами. Задача состоит в том, чтобы лучше оценивать геометрический коэффициент k для повышения точности удельного сопротивления и эффективно учитывать эффект, связанный с цементом и током смещения.
Для решения этих задач настоящее изобретение предлагает снимать, по меньшей мере, одну каротажную диаграмму удельного сопротивления в обсаженной скважине и использовать результаты, по меньшей мере, одного каротажа удельного сопротивления в необсаженной скважине, снятой в той же скважине, в, по меньшей мере, одной зоне пласта, в которой удельное сопротивление не изменилось между условием обсадки и условием отсутствия обсадки, чтобы вывести значение геометрического коэффициента k, регулирующего удельное сопротивление, и определить, посредством этого геометрического коэффициента k и каротажной диаграммы в обсаженной скважине, удельное сопротивление в, по меньшей мере, одной зоне, отличной от зоны калибровки, в которой удельное сопротивление изменилось между условием отсутствия обсадки и условием обсадки.
В частности, настоящее изобретение предлагает способ определения, в геологическом пласте, через который проходит обсаженная скважина, удельного сопротивления вне обсадной колонны, содержащий этапы, на которых:
а) снимают, по меньшей мере, одну каротажную диаграмму удельного сопротивления пласта в необсаженной скважине до обсадки,
b) снимают, по меньшей мере, одну каротажную диаграмму удельного сопротивления пласта в обсаженной скважине посредством прибора,
с) идентифицируют, по меньшей мере, одну зону пласта, в которой удельное сопротивление, даваемое каротажной диаграммой в обсаженной скважине и даваемое каротажной диаграммой в необсаженной скважине, остается по существу постоянным,
d) строят модель пласта методом обращения параметров на основании результатов каротажа в необсаженной скважине, характеристик скважины и обсадной колонны,
е) вычисляют отклик устройства согласно этой модели,
f) сравнивают отклик устройства согласно этой модели и каротажную диаграмму удельного сопротивления в обсаженной скважине в зоне калибровки, изменяя, при необходимости, в модели, геометрический коэффициент k, регулирующий удельное сопротивление, пока не получат удовлетворительный критерий сравнения,
g) выводят геометрический коэффициент k модели,
h) вычисляют удельное сопротивление пласта на основании каротажной диаграммы удельного сопротивления в обсаженной скважине и, по меньшей мере, геометрического коэффициента, выведенного для, по меньшей мере, одной зоны пласта, отличной от зоны калибровки.
В случае идентификации нескольких зон калибровки, которые имеют разные удельные сопротивления, предпочтительно иметь возможность оценивать другие параметры, помимо коэффициента k.
Кроме того, модель можно строить на основании каротажных диаграмм удельного сопротивления в обсаженной скважине, при наличии нескольких каротажных диаграмм удельного сопротивления в обсаженной скважине.
Способ может содержать этап, на котором оценивают удельное сопротивление цемента, введенного между обсадной колонной и скважиной, сравнивая отклик устройства согласно модели и каротажную диаграмму удельного сопротивления в обсаженной скважине в зоне калибровки с низким удельным сопротивлением, изменяя, при необходимости, удельное сопротивление цемента в модели, пока не достигнут удовлетворительного критерия сравнения, причем на этапе h используют оцененное удельное сопротивление цемента. Это оценивание, в частности, выполняется, когда удельное сопротивление цемента больше удельного сопротивления пласта.
Способ может содержать этап, на котором оценивают ток смещения, сравнивая отклик устройства согласно модели и каротажную диаграмму удельного сопротивления в обсаженной скважине в зоне калибровки с высоким удельным сопротивлением, изменяя, при необходимости, ток смещения, пока не достигнут удовлетворительного критерия сравнения, причем на этапе h используют оцененный ток смещения.
Способ может содержать, до этапа d, этап перекалибровки по глубине удельного сопротивления из каротажной диаграммы в необсаженной скважине и удельного сопротивления из каротажной диаграммы в обсаженной скважине, чтобы эти перекалиброванные удельные сопротивления соответствовали, по существу, одинаковым глубинам.
Способ может содержать предварительный этап оценки геометрического коэффициента k, который полезен для получения удельного сопротивления из каротажной диаграммы удельного сопротивления, снятой в обсаженной скважине.
Способ может содержать предварительный этап оценки тока смещения, который полезен для получения удельного сопротивления из каротажной диаграммы удельного сопротивления, снятой в обсаженной скважине.
Способ может содержать предварительный этап оценки удельного сопротивления цемента, введенного между обсадной колонной и скважиной, каковое удельное сопротивление полезно для получения удельного сопротивления из каротажной диаграммы удельного сопротивления, снятой в обсаженной скважине.
Модель может включать в себя начальное значение удельного сопротивления цемента, введенного между обсадной колонной и скважиной.
Модель может содержать, в случае неоднородного удельного сопротивления пласта, две концентрические области, имеющие разные удельные сопротивления, разделенные границей раздела, причем одна из областей находится вблизи скважины, а другая дальше от нее.
Кроме того, способ может содержать этап, на котором снимают, по меньшей мере, одну каротажную диаграмму сечения захвата, которая позволяет вывести, зная соленость в ближней области, удельное сопротивление в ближней области, затем этап, на котором вычисляют, посредством модели, в, по меньшей мере, одной зоне, отличной от зоны калибровки, удельное сопротивление в дальней области и положение границы раздела.
Настоящее изобретение также относится к способу определения солености воды и/или водонасыщенности, существующей в, по существу, однородном пласте, через который проходит обсаженная скважина. Он предусматривает снятие, по меньшей мере, одной каротажной диаграммы сечения захвата в обсаженной скважине и объединение результатов каротажа сечения захвата с удельным сопротивлением, определенным посредством вышеописанного способа определения удельного сопротивления, для определения солености и/или насыщенности.
Краткое описание чертежей
Настоящее изобретение можно лучше понять, ознакомившись с описанием вариантов осуществления, приведенного ниже исключительно в целях иллюстрации, но не ограничения, и обратившись к прилагаемым чертежам, в которых:
фиг.1 - каротажная диаграмма, снятая в необсаженной скважине, и каротажные диаграммы, снятые в обсаженной скважине, при этом указанные каротажные диаграммы позволяют идентифицировать зоны калибровки;
фиг.2 - блок-схема способа определения удельного сопротивления пласта, через который проходит обсаженная скважина, согласно изобретению;
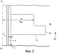
фиг.3 - схематическое представление двух концентрических областей пласта, имеющих разные удельные сопротивления.
Подробное описание конкретных вариантов осуществления изобретения
Обратимся к фиг.1, где показаны, в виде сплошной кривой линии, результаты каротажа удельного сопротивления в пласте, при этом указанная каротажная диаграмма снята в необсаженной скважине на глубинах от 8800 футов (2682 метров) до 9150 футов (2788 метров). Удельное сопротивление представлено с помощью логарифмической шкалы, которая охватывает диапазон от 2.10-1 до 2.103 Ом·м. На фиг.1 показаны результаты трех каротажных измерений удельного сопротивления, произведенных последовательно с интервалом в шесть месяцев в одной и той же обсаженной скважине. Эти три каротажные диаграммы проиллюстрированы черными, серыми и белыми точками. На фиг.1 указаны зоны калибровки 10. Они соответствуют зонам в пласте, в которых удельное сопротивление осталось по существу постоянным между измерениями в необсаженной скважине и измерениями, проделанными позже, в различные моменты времени, в обсаженной скважине. Зоны калибровки проходят примерно от 8880 футов (2682 метров) до 8940 футов (2717 метров) и примерно от 9020 футов (2742 метров) до 9080 футов (2760 метров). Они располагаются на разных глубинах. По обе стороны каждой зоны калибровки 10 находятся зоны 11, в которых удельное сопротивление изменилось между условием обсадки и условием отсутствия обсадки. Зоны 11 в нижеследующем описании рассматриваются как зоны, отличающиеся от зон калибровки.
Теперь рассмотрим разные этапы, используемые для определения удельного сопротивления в пласте, через который проходит обсаженная скважина, согласно способу, отвечающему изобретению. Обратимся к фиг.2.
Снимают, по меньшей мере, одну каротажную диаграмму удельного сопротивления в необсаженной скважине (блок 21). Снятие каротажных диаграмм удельного сопротивления в необсаженной скважине является традиционным методом, который хорошо известен в нефтяной отрасли. Используемые устройства имеют электроды, создающие в пласте гальванические токи или токи Фуко. Эти устройства обеспечивают, на каждой из глубин, на которых производятся измерения, группы значений удельного сопротивления на этой глубине для разных расстояний от скважины.
Таким образом, снимают каротажную диаграмму в необсаженной скважине, когда пласт является однородным, другими словами, когда его удельное сопротивление, по существу, постоянно на данной глубине независимо от расстояния от скважины и представляет собой удельное сопротивление Rt.
Если пласт неоднороден, например, если в процессе бурения в скважину закачали воду, то вокруг скважины образуются две, по существу, концентрические области, причем более ближняя к скважине наполнена буровым раствором, и ее удельное сопротивление равно Rxo, а более удаленная от скважины пуста, и ее удельное сопротивление равно Rt, и пытаются обнаружить, как оно изменяется с течением времени. Граница раздела между двумя областями находится на расстоянии di от оси ствола скважины. Каротажная диаграмма в необсаженной скважине позволяет определить Rt, Rxo и di.
Затем снимают, по меньшей мере, одну каротажную диаграмму удельного сопротивления в обсаженной скважине посредством измерительного и регистрирующего устройства (блок 22). В качестве устройства может выступать устройство, известное как CHFR (устройство определения удельного сопротивления в обсаженной скважине).
Предварительная оценка геометрического коэффициента k тока смещения и/или удельного сопротивления цемента полезна для получения удельного сопротивления каротажной диаграммы в обсаженной скважине.
Предварительная оценка тока смещения может быть полезна для получения удельного сопротивления из каротажной диаграммы удельного сопротивления, снятой в обсаженной скважине.
Идентифицируют, по меньшей мере, одну зону калибровки 10 (блок 23). Эта зона используется для определения геометрического коэффициента k.
Если необходимо определить несколько параметров, отличных от геометрического коэффициента k, например, Rcem, удельное сопротивление цемента, и Ioff, ток смещения, то предпочтительно идентифицировать несколько зон калибровки 10, в которых удельное сопротивление Rt принимает разные значения.
Строят математическую модель пласта, через который проходит обсаженная скважина (блок 24). Такую конструкцию можно построить, в частности, на основании удельных сопротивлений, измеренных и выведенных с помощью каротажной диаграммы удельного сопротивления, снятой в необсаженной скважине. Кроме того, используют, с одной стороны, электрические данные, измеренные в обсаженной скважине, и, с другой стороны, характеристики обсаженной скважины, например, диаметр бура и наружный диаметр обсадной колонны, что позволяет вычислять толщину цемента. Вводят начальное значение удельного сопротивления цемента. При необходимости, его можно в дальнейшем регулировать, поскольку удельное сопротивление цемента изменяется с течением времени.
Сняв первую каротажную диаграмму удельного сопротивления в обсаженной скважине, строят модель с использованием результатов каротажа удельного сопротивления в необсаженной скважине. Затем, если снимают другие каротажные диаграммы удельного сопротивления в обсаженной скважине, то модель можно строить на основании предыдущих каротажных диаграмм, иными словами, каротажных диаграмм в необсаженной скважине и в обсаженной скважине.
Эта модель слоев, образующих пласт, позволяет представить удельное сопротивление пласта как функцию расстояния от оси ствола скважины.
Вычисляют отклик, который бы дало устройство, будучи примененным к моделированному пласту (блок 25).
Отклик вычисляют для каждой из глубин, на которых устройство произвело измерения в процессе каротажа в обсаженной скважине. Отклик соответствует, для данной глубины z, току, текущему в пласте, и, если применимо, напряжению обсадной колонны на этой глубине.
Затем сравнивают (блок 26.1), в зоне калибровки, удельное сопротивление Rt из модели и удельное сопротивление Rt, выданное устройством в ходе каротажа в обсаженной скважине. Если эти два удельных сопротивления совпадают, то из модели выводят значение коэффициента k. Если они не совпадают, то модель изменяют методом обратной итерации, заставляя коэффициент k изменяться, пока не добьются совпадения (блок 27.1).
С помощью выведенного значения коэффициента k (блок 28.1), можно пересчитать значение удельного сопротивления Rt в пласте, в, по меньшей мере, одной зоне, отличной от зоны калибровки, другими словами, в зоне, где удельное сопротивление изменилось между каротажной диаграммой в необсаженной скважине и каротажной диаграммой в обсаженной скважине (блок 29). Все зоны калибровки и все зоны, отличные от зон калибровки, образуют пласт, через который проходит скважина. Предполагается, что коэффициент k является постоянным на протяжении каротажной диаграммы. Значение напряжения Vz,infinite измеряют или даже моделируют.
Таким образом, зоны калибровки служат для регулировки параметров таким образом, чтобы удельное сопротивление Rt, полученное с помощью каротажной диаграммы в обсаженной скважине и полученное с помощью каротажной диаграммы в необсаженной скважине, совпадали.
Затем можно обновить модель с помощью определенных из них значений удельного сопротивления Rt (блок 30).
Если нужно учитывать удельное сопротивление цемента Rcem, иными словами, если оно больше, чем у пласта, то прежде чем пересчитать значение удельного сопротивления Rt и обновить модель, снова сравнивают удельное сопротивление, полученное из модели, и удельное сопротивление, выдаваемое устройством в ходе каротажа в обсаженной скважине, в зоне калибровки, имеющей низкое удельное сопротивление (блок 26.2). Пока не будет достигнуто совпадение, изменяют модель, как и прежде, варьируя Rcem (блок 27.2). Совпадение достигается при значении Rcem, которое можно использовать для корректировки значения удельного сопротивления Rt (блок 28.2). Значение Rcem используется для вычисления Rt в, по меньшей мере, одной зоне, отличной от зоны калибровки, и для обновления модели. Предполагается, что удельное сопротивление цемента, по существу, постоянно на любой рассматриваемой глубине.
Если необходимо учитывать ток смещения Ioff, это выполняют аналогично, сравнивая удельное сопротивление, полученное из модели, и удельное сопротивление, выдаваемое устройством в ходе каротажа обсаженной скважины, в зоне калибровки с высоким удельным сопротивлением (26.3), и варьируют Ioff, пока не добьются совпадения (блок 27.3). Добившись совпадения (блок 28.3), выводят значение тока смещения Ioff. Затем можно уточнить значение удельного сопротивления Rt с учетом влияния тока смещения Ioff и обновить модель этими значениями. Предполагается, что значение Ioff постоянно на протяжении всей каротажной диаграммы.
Такой способ определения удельного сопротивления геологического пласта, через который проходит обсаженная скважина, можно использовать для определения водонасыщенности Sxo, сечения захвата воды Σwat в пласте и/или других параметров, связанных с насыщенностью Sxo и сечением захвата Σwat. Вода неизбежно присутствует в пластах, содержащих углеводороды. Одно условие состоит в том, что пласт является, по существу, однородным, иными словами, имеет, для данной глубины, удельное сопротивление, по существу, постоянное как вблизи скважины, так и на удалении от нее. Эта информация весьма интересна, поскольку она позволяет оценивать количество углеводородов, оставшихся в коллекторе.
Снимают, по меньшей мере, одну каротажную диаграмму сечения захвата Σ в пласте посредством ядерного устройства, например, устройства, известного как TDT (время термического распада) или RST (прибор насыщенности коллектора), причем названия этих устройств являются торговыми знаками, зарегистрированными компанией Schlumberger.
Устройства содержат генератор высокоэнергичных нейтронов, который погружается в обсаженную скважину и управляется с поверхности. Устройства подвергают пласт кратковременной эмиссии нейтронов. Нейтроны входят в столкновение с ядрами различных элементов, присутствующих в пласте. Они приходят в тепловое равновесие. За единицу времени поглощается определенная доля тепловых нейтронов. Выводят эффективное сечение захвата Σ (в 10-3 см2/см3, именуемых единицами захвата или единицами сигма) из характеристического времени распада, необходимого для уменьшения начального количества тепловых нейтронов в е (число Непера) раз. Это эффективное сечение фактически приводится к объему в один кубический сантиметр и, таким образом, выражается в см2/см3. В качестве детектора используют сцинтилляционный счетчик, приспособленный воспринимать излучение низкой энергии.
Когда пласт однороден, каротажные диаграммы удельного сопротивления и сечения захвата Σ соответствуют одним и тем же параметрам пласта и, в частности, одной и той же водонасыщенности Sxo и одной и той же солености воды Σw. Значения этих двух параметров можно вывести как функцию глубины.
С другой стороны, когда пласт неоднороден, две каротажные диаграммы соответствуют разным значениям водонасыщенности. В действительности, электроизмерительные устройства позволяют проводить исследования на удалении от ствола скважины, например, в пределах одного или двух метров, тогда как ядерные измерительные устройства достигают только нескольких десятков сантиметров. Эта неоднородность особенно заметна, когда пласт содержит водяной карман. Эта вода могла быть закачана с поверхности, в особенности, для смещения углеводородов по направлению к эксплуатационной скважине. Это позволяет оценить количество углеводородов в пласте.
Затем на данной глубине в пласте можно задать две, по существу, концентрические области 15, 20, имеющие разные удельные сопротивления. Область 15 расположена вблизи ствола скважины 1 и имеет удельное сопротивление Rxo. Область 20 расположена дальше от скважины и имеет удельное сопротивление Rt. Такие области схематически изображены на фиг.3. Граница раздела 31 между областью 15 и областью 20 находится на расстоянии di от оси XX' ствола скважины 1. Цемент 3 с удельным сопротивлением Rcem введен между обсадной колонной, обозначенной 2, и стволом скважины 1.
Предполагается, что соленость воды, находящейся в ближней области 15 и дальней области 20, известна. Эту информацию можно получить, анализируя образцы пород, взятые из двух областей.
В пористом углеводородном коллекторе, содержащем воду, отклик по сечению захвата для ядерного устройства выражается следующим образом:
Σlog=ΦSwΣw+Φ(1-Sw)Σh+VmatΣmat,
где Φ - пористость пласта в ближней области 15, Sw - водонасыщенность в ближней области, Σw - сечение захвата воды в ближней области, Σh - сечение захвата углеводородов, Vmat - доля объема, занятая породой, по отношению к полному объему пласта и Σmat - сечение захвата породы.
Параметры Φ, Σh, Vmat и Σmat предполагаются известными из каротажной диаграммы удельного сопротивления, снятой в необсаженной скважине, или из других наблюдений, произведенных в ходе построения модели удельного сопротивления. Значение Σw получают из анализа образцов.
Из каротажной диаграммы сечения захвата выводят Sw. Из солености воды в ближней области 15 выводят удельное сопротивление Rxo в ближней области.
В определенной ранее модели вводят две радиальные области 15, 20 и значение ближнего удельного сопротивления Rxo.
Отсюда можно вывести значение удельного сопротивления Rt и значение расстояния di в зонах, отличных от зон калибровки.
Хотя определенный вариант осуществления настоящего изобретения был представлен и подробно описан, следует понимать, что можно предложить другие изменения и модификации, не выходящие за рамки объема изобретения. В частности, порядок выполнения этапов способа не является обязательным.
1. Способ определения удельного сопротивления, в геологическом пласте, через который проходит обсаженная скважина, вне обсадной колонны, содержащий этапы, на которых
а) снимают, по меньшей мере, одну каротажную диаграмму удельного сопротивления пласта в необсаженной скважине до обсадки,
b) снимают, по меньшей мере, одну каротажную диаграмму удельного сопротивления пласта в обсаженной скважине посредством устройства,
с) идентифицируют, по меньшей мере, одну зону пласта, в которой удельное сопротивление, даваемое каротажной диаграммой в обсаженной скважине и даваемое каротажной диаграммой в необсаженной скважине, остается, по существу, постоянным,
d) строят модель пласта методом обращения параметров на основании результатов каротажа в необсаженной скважине и характеристик скважины и обсадной колонны,
е) вычисляют отклик устройства согласно этой модели,
f) сравнивают отклик устройства согласно этой модели и каротажную диаграмму удельного сопротивления в обсаженной скважине в зоне калибровки, изменяя, при необходимости, в модели геометрический коэффициент k, регулирующий удельное сопротивление, пока не получат удовлетворительный критерий сравнения,
g) выводят геометрический коэффициент k модели,
h) вычисляют удельное сопротивление пласта на основании каротажной диаграммы удельного сопротивления в обсаженной скважине и, по меньшей мере, геометрического коэффициента, выведенного для, по меньшей мере, одной зоны пласта, отличной от зоны калибровки.
2. Способ по п.1, в котором, в случае определения нескольких зон калибровки, они имеют разные удельные сопротивления.
3. Способ по п.2, в котором он содержит этап, на котором оценивают удельное сопротивление (Rcem) цемента, введенного между обсадной колонной и скважиной, сравнивая отклик устройства согласно модели и каротажную диаграмму удельного сопротивления в обсаженной скважине в зоне калибровки с низким удельным сопротивлением, изменяя, при необходимости, удельное сопротивление цемента в модели, пока не достигнут удовлетворительного критерия сравнения, причем на этапе h используют оцененное удельное сопротивление цемента.
4. Способ по п.2, в котором он содержит этап, на котором оценивают ток смещения (Ioff), сравнивая отклик устройства согласно модели и каротажную диаграмму удельного сопротивления в обсаженной скважине в зоне калибровки с высоким удельным сопротивлением, изменяя, при необходимости, ток смещения, пока не достигнут удовлетворительного критерия сравнения, причем на этапе h используют оцененный ток смещения.
5. Способ по п.1, в котором построение модели дополнительно производят с помощью результатов каротажных измерений удельного сопротивления в обсаженной скважине при наличии нескольких каротажных диаграмм удельного сопротивления в обсаженной скважине.
6. Способ по п.1, в котором он содержит до этапа d этап перекалибровки по глубине удельного сопротивления из каротажной диаграммы в необсаженной скважине и удельного сопротивления из каротажной диаграммы в обсаженной скважине, чтобы эти перекалиброванные удельные сопротивления соответствовали, по существу, одинаковым глубинам.
7. Способ по п.1, который содержит предварительный этап оценки геометрического коэффициента k, который полезен для получения удельного сопротивления из каротажной диаграммы удельного сопротивления, снятой в обсаженной скважине.
8. Способ по п.1, в котором он содержит предварительный этап оценки тока смещения (Ioff), который полезен для получения удельного сопротивления из каротажной диаграммы удельного сопротивления, снятой в обсаженной скважине.
9. Способ по п.1, отличающийся тем, что содержит предварительный этап оценки удельного сопротивления цемента (Rcem), введенного между обсадной колонной и скважиной, при этом указанное удельное сопротивление полезно для получения удельного сопротивления из каротажной диаграммы удельного сопротивления, снятой в обсаженной скважине.
10. Способ по п.1, в котором модель включает в себя начальное значение удельного сопротивления (Rcem) цемента, введенного между обсадной колонной (1) и скважиной (2).
11. Способ по п.1, в котором модель содержит две концентрические области (15, 20), имеющие разные удельные сопротивления, разделенные границей раздела (31), причем одна из областей находится вблизи скважины, а другая дальше от нее.
12. Способ п.11, который содержит этап, на котором снимают, по меньшей мере, одну каротажную диаграмму сечения захвата, которая позволяет вывести, зная соленость в ближней области, удельное сопротивление (Rxo) в ближней области, затем этап, на котором вычисляют, посредством модели в, по меньшей мере, одной зоне, отличной от зоны калибровки, удельное сопротивление в дальней области (Rt) и положение границы раздела (di).
13. Способ определения солености воды и/или водонасыщенности, существующей в, по существу, однородном пласте, через который проходит обсаженная скважина, содержащий этапы, на которых снимают, по меньшей мере, одну каротажную диаграмму сечения захвата в обсаженной скважине и объединяют результаты каротажа сечения захвата с удельным сопротивлением, определенным посредством способа по п.1, для определения солености и/или насыщенности.
 
                         
                            

