Проточный водонагреватель

Иллюстрации

Показать все

Изобретение относится к энергетике и может быть использовано в проточных нагревателях воды. В проточном нагревателе с нагревательным модулем, содержащем, по меньшей мере, одно нагревательное устройство с поворотным задающим элементом для предварительного выбора мощности нагрева, с, по меньшей мере, одной стационарной электрической коммутирующей системой и с линейно перемещающимся в зависимости от потока воды кулисным механизмом для воздействия на коммутирующую систему, кулисный механизм является поворотным и соединен с задающим элементом. Предусмотрена коммутирующая система, имеющая только один коммутирующий элемент для каждого включаемого нагревательного устройства, при этом кулисный механизм выполнен таким образом, что только посредством задания угла поворота кулисного механизма относительно коммутирующей системы можно предварительно задать требуемое значение мощности нагрева и включить эту мощность посредством перемещения кулисного механизма. При таком выполнении нагреватель имеет минимальное количество микропереключателей и имеется возможность эксплуатировать его по выбору или со ступенчато-регулируемой мощностью, или с плавным предварительным выбором мощности нагрева. 14 з.п. ф-лы, 4 ил.

Реферат

Область техники

Изобретение относится к проточному нагревателю в соответствии с

ограничительной частью пункта 1 формулы изобретения.

Уровень техники

В известном, применяемом на практике проточном нагревателе с двумя раздельно управляемыми нагревательными элементами для регулирования мощности нагрева в зависимости от расхода воды предусмотрены два переключателя, которые через посредство кулисного механизма переключаются управляющей мембраной, срабатывающей в зависимости от расхода воды. Так как эти переключатели срабатывают независимо от угла поворота кулисного механизма, когда управляющая мембрана вызывает линейное перемещение кулисного механизма, то перед поворотным задающим элементом для предварительного задания мощности нагрева включены при двух нагревательных элементах, например, последовательно два дополнительных микропереключателя, переключаемых кулачками в зависимости от положения поворота. Это означает, что на каждый переключаемый управляющей мембраной переключатель ток поступает только в том случае, если соответствующий ему микропереключатель включен задающим элементом. Если нагревательных элементов больше чем два, то требуется еще больше переключателей и микропереключателей. Большое количество электрических коммутирующих элементов стоит дорого и требует значительных расходов на электромонтаж.

В известном из патентного документа DE 10130610 А водонагревателе у кулисного механизма расположены два микропереключателя для двух нагревательных контуров нагревательного устройства. Кулисный механизм имеет переключающий кулачок, перемещаемый управляющей мембраной только вертикально, с двумя скосами, каждый из которых приводит в действие один микропереключатель. Переключающий кулачок функционально связан с мембраной толкателем. Задающий элемент, выполненный в виде поворотной головки, позволяет предварительно задать мощность нагрева, например, так, чтобы при протекании воды не включался ни один контур нагрева, или включался один, или два контура нагрева. Так как оба микропереключателя коммутируются при каждом установочном ходе управляющей мембраны, то для предварительного выбора мощности требуются дополнительные электрические коммутирующие устройства.

Раскрытие изобретения

В основу изобретения положена задача создать проточный нагреватель упомянутого выше типа, отличающийся минимальным количеством электрических коммутирующих элементов, в особенности микропереключателей, и сниженными затратами на электромонтаж. Далее, должна быть предусмотрена возможность эксплуатировать проточный нагреватель по выбору со ступенчато регулируемой мощностью нагрева или с плавным предварительным выбором мощности нагрева с помощью электронных управляющих устройств, причем схема проточного нагревателя должна предусматривать возможность выбора по желанию любого из этих режимов.

Поставленная задача решается в проточном нагревателе (D), в частности Shower-Heater (SH), с нагревательным модулем (Н), расположенным, по меньшей мере, в одном проточном канале (2) и оснащенным, по меньшей мере, одним электрическим нагревательным устройством (K, K1, K2), с поворотным задающим элементом (L) для предварительного выбора мощности нагрева, с, по меньшей мере, одной стационарной электрической коммутирующей системой (S) и с линейно перемещающимся в зависимости от протока воды кулисным механизмом (А) для воздействия на коммутирующую систему и включения предварительно заданной мощности нагрева, отличающемся тем, что кулисный механизм (А) является поворотным и соединен с задающим элементом (L), что в коммутирующей системе (S) для каждого включаемого нагревательного устройства (K, K1, K2) предусмотрен коммутирующий элемент (3, 4, 3') и что кулисный механизм (А) выполнен таким образом, что посредством задания угла поворота кулисного механизма (А) относительно коммутирующей системы (S) можно предварительно задать требуемое значение мощности нагрева и включить эту мощность посредством перемещения кулисного механизма (А).

Нагревательное устройство (K, K1, K2) содержит, по меньшей мере, два раздельно включаемых нагревательных элемента, а поворотный кулисный механизм (А) при угле поворота, соответствующем максимальной мощности нагрева, имеет, по меньшей мере, одну расположенную по периметру поверхность (12) воздействия на коммутирующие элементы для включения всех предусмотренных коммутирующих элементов (3, 4), и, по меньшей мере, один разрыв (16а, 16b) окружности в поверхности (12) воздействия на коммутирующие элементы, которая, по меньшей мере, при одном другом установленном угле поворота для уменьшенной или нулевой мощности нагрева при линейном перемещении кулисного механизма (А) настроена, по меньшей мере, на один или на все коммутационные элементы (3, 4), а преимущественно, по меньшей мере, на их исполнительные органы (3а, 4а).

Кулисный механизм (А) содержит, по меньшей мере, один, расположенный на теле (9) вращения и в окружном направлении ограниченный разрывом (16а, 16b) окружности переключающий кулачок (N1, N2), по наружной стороне которого расположена, по меньшей мере, по существу цилиндрическая поверхность (12) воздействия на коммутирующие элементы, с поверхностью (12) воздействия на коммутирующие элементы соединена коническая наклонная поверхность (13), наклоненная внутрь в сторону установки кулисного механизма (А) для воздействия на коммутирующую систему (S) в направлении оси (X) тела вращения (9).

Кроме того, переключающий кулачок (N1, N2), по меньшей мере, на одном, направленном в сторону периметра конце поверхности (12) воздействия на коммутирующий элемент имеет постепенно снижающуюся в направлении оси (X) наклонную плоскость (14), предпочтительно на конце, лежащем спереди в направлении вращения для задания максимальной мощности нагрева.

Каждый переключающий кулачок (N1, N2) сформован в виде фартука на наружной кромке радиального фланца (10) тела (9) вращения, и предпочтительно на переключающем кулачке (N1, N2) и/или на радиальном фланце (10) сформован выступ (11) для ограничения вращения.

Для двух, по меньшей мере, приблизительно диаметрально расположенных коммутирующих элементов (3, 4) предусмотрены два переключающих кулачка (N1, N2) различной длины по периметру, разделенных между собой двумя разрывами (16а, 16b) окружности, и переключающий кулачок и разрыв окружности, соответствующие друг другу, имеют приблизительно одинаковую величину в дуговом измерении.

Тело (9) вращения имеет головку (27) для соединения с задающим элементом (L) с открытой в направлении свободного конца тела вращения обоймой (18).

Тело (9) вращения выполнено с возможностью поворачиваться с помощью поворотного сцепления и непосредственно связано с управляющей мембраной (М) предпочтительно через резьбовое соединение (V), затянутое не до упора.

На другом свободном конце тела (9) вращения предусмотрен отрезок (21) с наружной резьбой, а на печатной плате (8) управляющей мембраны (М) предусмотрен участок (22) с внутренней резьбой. Тело (9) вращения является цельной фасонной деталью, изготовленной из пластмассы методом литья под давлением.

Соединительная кромка (23) между поверхностью (12) воздействия на коммутирующий элемент и наклонной плоскостью (13), по меньшей мере, в основном расположена параллельно к шагу (а) резьбы участка (21) с наружной резьбой.

На головке (27) по ее в основном цилиндрическому периметру (17) расположены торцевые зубья (19), а на теле (9) вращения, предпочтительно на радиально направленной относительно оси (X) нижней стороне головки (27), предусмотрена в основном гладкая дополнительная плоскость (20) воздействия на коммутирующий элемент, которая предпочтительно на протяжении, например, 360° проходит в основном параллельно к шагу (а) резьбы участка (21) с наружной резьбой.

Нагревательное устройство (K, K1, K2) содержит один или, по меньшей мере, два параллельно включаемых нагревательных элемента, также предусмотрено управляющее силовое полупроводниковое устройство (Е), имеющее потенциометр (Р) с поворотным движком и предназначенный для нагревательного устройства (K, K1, K2) коммутирующий элемент (3'), потенциометр (Р) с поворотным движком посредством зубчатого колеса (25) соединен с торцевыми зубьями (19) тела (9) вращения, и коммутирующий элемент (3') так ориентирован относительно дополнительной поверхности (20) воздействия на коммутирующий элемент кулисного механизма (А), что он может включаться независимо от угла поворота тела (9) вращения при линейном установочном перемещении (7) тела (9) вращения.

В нагревательном модуле (Н), предпочтительно в зоне выхода горячей воды, предусмотрен включенный между присоединением к сети и соответствующим коммутирующим элементом (3, 4, 3') термостатный выключатель (Т), предпочтительно биметаллический выключатель.

На нагревательном модуле (Н) сформованы используемые по выбору держатели (5а, 5b) для позиционирования соответствующего коммутирующего элемента (3, 3') и управляющего силового полупроводникового устройства (Е) относительно кулисного механизма (А).

Так как кулисный механизм предусматривает также предварительное задание мощности нагрева, включение которой осуществляется затем посредством линейного перемещения кулисного механизма, то для каждого включаемого по отдельности нагревательного устройства требуется только один электрический коммутирующий элемент. Такая концепция снижает количество электрических коммутирующих элементов до минимума, снижая одновременно расходы на электромонтаж, что позволяет изготовить проточный нагреватель при оптимальных затратах. Если мощность нагрева устанавливается ступенями с помощью раздельно включаемых нагревательных устройств, то кулисный механизм благодаря своей конструкции и в зависимости от своего установленного поворотного положения при своем линейном перемещении для включения предварительно заданной мощности нагрева не включит коммутирующий элемент нагревательного устройства, включение которого не предусмотрено. При нагревательном устройстве, состоящем из одного или, по меньшей мере, двух соединенных в параллель нагревательных элементов, включаемых с помощью управляющего силового полупроводникового устройства, мощность нагрева, реализуемая управляющим силовым полупроводниковым устройством, задается поворотом кулисного механизма и включается при его линейном перемещении.

Для нагревательного устройства, содержащего, по меньшей мере, два раздельно включаемых нагревательных элемента, кулисный механизм содержит, по меньшей мере, одну круговую поверхность управления коммутирующими элементами и, по меньшей мере, один разрыв окружности. Через посредство круговой поверхности управления коммутирующими элементами включается коммутирующий элемент, соответствующий заданному значению мощности нагрева. Разрыв окружности оставляет коммутирующий элемент, не требующийся для заданного значения мощности нагрева, отключенным. По существу это означает специальную конструкцию предварительного кругового задания мощности в кулисном механизме, который действует по разному в зависимости от установленного поворотного положения, когда она линейно перемещается для включения предварительно заданной мощности нагрева.

Конструктивно простой кулисный механизм имеет, по меньшей мере, один кулачок, установленный на теле вращения, ограниченный в направлении вращения разрывом вращения. С наружной стороны кулачка находится поверхность воздействия на коммутирующий элемент и коническая наклонная поверхность, чтобы при линейном перемещении постепенно воздействовать на соответствующий коммутирующий элемент.

Учитывая, что и при уже установленной мощности нагрева, т.е. при наличии потока воды, должна быть предусмотрена возможность изменения мощности нагрева, по меньшей мере, на одном конце поверхности воздействия на коммутирующий элемент в направлении окружности образована наклонная плоскость, благодаря которой кулачок при повороте, например, в сторону увеличения мощности нагрева постепенно приводит в действие еще не включенный коммутирующий элемент и при вращении не находит на упор на коммутирующем элементе.

Все кулачки технологически просто сформованы в виде выступов на наружном крае радиального фланца тела вращения. Эта мера обеспечивает при минимальном расходе материала оптимальную конструктивную прочность. Предпочтительно на кулачке и/или на радиальном фланце может быть сформован выступ для ограничения вращения, взаимодействующий, например, со сформованным на модуле нагрева ответным выступом, чтобы исключить возможность трудно исправимого перекручивания кулисного механизма при снятом кожухе проточного нагревателя.

В одном предпочтительном варианте исполнения для двух коммутирующих элементов, предпочтительно микропереключателей, диаметрально расположенных относительно оси тела вращения, предусмотрены два кулачка различной длины по окружности, отделенные друг от друга двумя разрывами по окружности. Соответственные кулачок и разрыв имеют приблизительно одинаковую длину в угловом измерении. Первый кулачок предназначен, например, для того, чтобы в определенном положении поворота включать первый коммутирующий элемент, в то время как второй кулачок не может включить второй коммутирующий элемент. Первый кулачок, который может быть длиннее второго кулачка, в другом положении поворота продолжает воздействовать на первый коммутирующий элемент, хотя в это время и второй кулачок воздействует на второй коммутирующий элемент. Оба разрыва окружности оставляют либо один коммутирующий элемент, который не должен быть включен, либо даже оба коммутирующих элемента, которые не должны быть включены, не включенными в зависимости от установленной в данном положении поворота мощности нагрева.

С помощью образованной на теле вращения головной части с обоймой кулисный механизм можно конструктивно просто соединить с задающим элементом для предварительного выбора мощности нагрева.

В одном особенно предпочтительном варианте исполнения тело вращения непосредственно через поворотное сцепление соединено с управляющей мембраной. Прямое соединение кулисного механизма с управляющей мембраной позволяет отказаться от промежуточных звеньев, причем поворотное сцепление обеспечивает требуемое поворотное положение кулисного механизма относительно невращающейся управляющей мембраны. Особенно простым и надежным поворотным сцеплением является не затянутое на упоре резьбовое соединение. Резьбовое соединение обеспечивает жесткое соединение в осевом направлении и в то же время допускает относительный поворот тела вращения. Резьбовое соединение легко монтировать; и при целесообразном сцеплении на нескольких витках оно обеспечивает относительно высокую нагрузочную способность и малый люфт.

Поворотное сцепление может быть выполнено из участка с наружной резьбой на свободном конце тела вращения и из участка с внутренней резьбой в нажимной пластине управляющей мембраны. Желательно, чтобы управляющая мембрана перемещалась в направлении установки и при этом была защищена от перекручивания, чтобы она не могла перекашиваться под воздействием вызванного трением крутящего момента при регулировании положения тела вращения.

С точки зрения технологии изготовления желательно, чтобы тело вращения со всеми установленными на нем компонентами, включая кулисный механизм, было выполнено как цельная пластмассовая фасонная деталь методом литья под давлением. Техника изготовления методом литья под давлением особенно предпочтительна при крупносерийном производстве.

Чтобы независимо от положения поворота тела вращения обеспечить идентичные точки переключения, нужно чтобы соединительная кромка между поверхностью воздействия на коммутирующий элемент и наклонной плоскостью была, по меньшей мере, в основном, параллельна шагу резьбы на участке с наружной резьбой. При этом, когда тело вращения при предварительном задании мощности нагрева будет ввинчиваться в участок с внутренней резьбой, соединительная кромка будет соответственно отступать относительно коммутирующего элемента, чтобы точка переключения коммутирующего элемента не сместилась.

С учетом того, что проточный нагреватель по выбору может оснащаться также управляющим полупроводниковым устройством для плавного регулирования мощности нагрева, в головной части тела вращения могут быть предусмотрены торцевые зубья по периметру, а на нижней стороне головной части - дополнительная поверхность воздействия на коммутирующий элемент. С учетом выполненного в виде резьбового соединения вращающегося сцепления между телом вращения и управляющей мембраной эта дополнительная поверхность воздействия на коммутирующий элемент должна быть в основном параллельна шагу резьбы, чтобы и в этом режиме работы исключить нежелательное смещение точки переключения.

Если в одном из предпочтительных вариантов реализации изобретения управление проточным нагревателем осуществляется с помощью управляющего силового полупроводникового устройства, регулирующего мощность одного или, по меньшей мере, двух параллельно включенных нагревательных элементов, и проточный нагреватель имеет потенциометр с поворотным движком и соответствующий нагревательному устройству коммутирующий элемент, то потенциометр с поворотным движком, соединенный посредством зубчатого колеса с торцевыми зубьями тела вращения, и коммутирующий элемент могут быть так ориентированы относительно дополнительной поверхности воздействия на коммутирующий элемент, что коммутирующий элемент будет переключаться при линейном установочном движении тела вращения независимо от угла поворота тела вращения. И при этом варианте комплектации также требуется только один электрический коммутирующий элемент с очень простым подключением. Кулисный механизм с самого начала рассчитан на работу также и при этом варианте комплектации. В принципе это означает, что проточный нагреватель по выбору может оснащаться компонентами оборудования для ступенчатого или для плавного регулирования мощности нагрева и что на основе базисного варианта могут по модульному принципу выпускаться различные типы проточных нагревателей.

Из соображений безопасности в одном предпочтительном варианте реализации изобретения в нагревательном модуле предусмотрен термостатный выключатель, предпочтительно биметаллический, который при недопустимом повышении температуры размыкает цепь электропитания. На этом принципе в варианте с управляющим силовым полупроводниковым устройством может быть создан проточный нагреватель с электронным регулированием.

Для удобства реализации модульного принципа при различных вариантах комплектации желательно, чтобы на нагревательном модуле были сформованы применяемые по выбору крепежные элементы для позиционирования соответствующего коммутирующего элемента и управляющего силового полупроводникового устройства относительно кулисного механизма. В зависимости от комплектации аппарата будут использоваться только требуемые крепежные элементы, тогда как другие будут оставаться свободными. Никаких других модификаций на самом нагревательном модуле для реализации различных вариантов комплектации не требуется.

Краткий перечень фигур чертежей

Варианты реализации предмета изобретения разъясняются с помощью чертежей. На них изображены:

Фиг.1 - вид в плане проточного нагревателя (при снятой крышке);

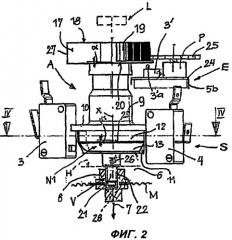
Фиг.2 - увеличенная деталь с фиг.1, вид сбоку, частично в разрезе;

Фиг.3 - вид в плане к детали с фиг.2; и

Фиг.4 - сечение в плоскости IV-VI на фиг.2.

Осуществление изобретения

Главной составной частью изображенного на фиг.1 проточного нагревателя D, например, так называемого "Shower-Heater" SH для нагрева воды в душе является нагревательный модуль Н, состоящий из пластмассовых фасонных деталей, полученных методом литья под давлением, из которых на чертеже видна верхняя фасонная деталь 1. Нагревательный модуль Н ограничивает расположенный внутри проточный канал 2, в котором смонтировано электрическое нагревательное устройство K. Изображен вариант исполнения с двумя раздельно включаемыми нагревательными устройствами K1 и K2, позволяющий получить три ступени мощности нагрева (ни одного, один или все нагревательные устройства включены). Но можно предусмотреть и более двух раздельно включаемых нагревательных устройств. В другом варианте комплектации устанавливается одно нагревательное устройство или несколько нагревательных устройств, соединенных параллельно, для плавного регулирования мощности нагрева от нулевой до максимальной мощности, например, с помощью управляющего силового полупроводникового устройства Е, регулирующего ток нагрева.

В изображенном на фиг.1 варианте комплектации проточного нагревателя D обоими нагревательными устройствами K1, K2 управляет электрическое коммутирующее устройство S, содержащее первый и второй коммутирующие элементы 3, 4 (например, микропереключатели). Коммутирующие элементы 3, 4 стационарно позиционированы в держателях 5а на нагревательном модуле Н относительно кулисного механизма А. Кулисный механизм А сцеплен с не показанным на фиг.1 поворотным задающим элементом L для предварительного выбора мощности нагрева и непосредственно с не показанной на фиг.1 управляющей мембраной, заключенной в мембранной коробке 6 нагревательного модуля Н. Это объяснено детально с помощью фиг.2-4. Кулисный механизм А может поворачиваться вокруг оси X посредством задающего элемента L и перемещаться управляющей мембраной вдоль оси X из пассивного положения в положение воздействия на коммутирующий элемент. Управляющая мембрана срабатывает при наличии потока воды в проточном канале 2.

В нагревательном модуле Н в цепи электропитания может быть установлен термостатный выключатель, предпочтительно биметаллический, реагирующий на температуру воды желательно в том месте, где она горячее всего. При перегреве термостатный выключатель размыкает цепь электропитания.

Для уже упоминавшегося варианта комплектации с плавным регулированием мощности нагрева на нагревательном модуле Н устанавливаются в соответствующем случае дополнительные держатели 5b, например, для позиционирования печатной платы 25 регулирующего силового полупроводникового устройства Е относительно кулисного механизма А и задающего элемента L.

На фиг.2-4 показаны позиционированные относительно кулисного механизма А коммутирующие элементы 3, 4. Главной составной частью кулисного механизма А является тело 9 вращения, ось которого совпадает с осью X, и которое через вращающееся сцепление, выполненное в виде резьбового соединения V, непосредственно связано с управляющей мембраной М в мембранной коробке 6 нагревательного модуля Н. При наличии потока воды управляющая мембрана М совершает, преодолевая сопротивление пружины 26, установочное движение, обозначенное стрелкой 7, отводя весь кулисный механизм как целое вниз по фиг.2, и вызывая срабатывание коммутирующих элементов 3, 4 в зависимости от угла поворота тела 9 вращения, установленного при предварительном задании мощности нагрева.

Резьбовое соединение V состоит из участка 21 с наружной резьбой на нижнем свободном конце тела 9 вращения и участка 22 с внутренней резьбой на печатной плате 8 управляющей мембраны М. Резьбовое соединение V завернуто на несколько полных оборотов, но не до упора, так что тело 9 вращения может вращаться в резьбовом соединении V в обоих направлениях. Желательно, чтобы управляющая мембрана М перемещалась в направлении оси X с помощью отростка 28 и была защищена от перекручивания.

На теле 9 вращения сформован радиальный фланец 10, по наружному краю которого (фиг.2 и 4) расположены два переключающих кулачка N1, N2, вытянутых в виде фартука по направлению вращения. На каждом кулачке имеется наружная, в основном цилиндрическая, поверхность 12 воздействия на коммутирующий элемент и соединенная с ней кромкой 23 наклоненная вниз внутрь, например, коническая поверхность 13. На одном конце, направленном в сторону вращения, каждой поверхности 12 воздействия на коммутирующий элемент сформована далее скошенная или закругленная направленная внутрь наклонная поверхность 14. Между переключающими кулачками N1, N2 предусмотрены два разрыва 16а, 16b окружности, которые в изображенном здесь варианте исполнения (фиг.4) ограничивают переключающие кулачки N1, N2. Один кулачок N1 в угловом измерении значительно длиннее другого кулачка N2. Длины разрывов 16а, 16b окружности в основном соответствуют длинам кулачков N1, N2 в угловом измерении. В не изображенном здесь альтернативном варианте исполнения, по меньшей мере, один разрыв 16а, 16b окружности мог бы быть сформован в поверхности 12 воздействия на коммутирующий элемент единственного замкнутого в направлении окружности переключающего кулачка.

Назначение поверхностей 12 воздействия на коммутирующие элементы состоит в том, чтобы при установочном движении в направлении стрелки 7 в зависимости от угла поворота тела 9 вращения относительно коммутирующих элементов 3, 4 включать соответствующий коммутирующий элемент нажатием на его исполнительный орган За или 4а, когда происходит установочное движение (стрелка 7). Назначение разрывов 16а, 16b окружности состоит в том, чтобы в зависимости от выбранного угла поворота 35 кулисного механизма А оставлять невключенными один или все коммутирующие элементы 3, 4, когда кулисный механизм А совершает линейное установочное движение в направлении стрелки 7. Назначение наклонной плоскости 13 состоит в том, чтобы при движении перестановки постепенно приводить в действие исполнительный орган 3а или 4а. Назначение наклонных плоскостей 14 состоит в том, чтобы при уже опущенном вниз кулисном механизме А, тем не менее, обеспечить возможность дальнейшего поворота с помощью задающего элемента L для последующего включения одного или всех коммутирующих элементов 3, 4.

Коммутирующие элементы 3, 4 не обязательно должны располагаться диаметрально противоположно, как показано на фигуре, но могут быть расположены и ближе друг к другу, чем показано. Тогда конфигурация кулисного механизма А должна быть соответствующим образом изменена. Кулисный механизм должен быть модифицирован и в том случае, если предусмотрено более двух коммутирующих элементов.

Чтобы не изменять точки переключения коммутирующих элементов 3, 4 при повороте кулисного механизма А в резьбовом соединении V, желательно, чтобы соединительная кромка 23 была расположена под углом α приблизительно параллельно шагу резьбы.

На теле 9 вращения, например на радиальном фланце 10 или непосредственно на одном из переключающих кулачков (N1 на фигуре), может быть помещен поворотный упор 11, взаимодействующий с не изображенным ответным упором на нагревательном модуле Н, чтобы исключить случайное перекручивание.

На фиг.2-4 изображено в качестве примера поворотное положение, при котором задана нулевая мощность нагрева. Оба разрыва 16а, 16b окружности расположены против коммутирующих элементов 3, 4. Чтобы задать первую ступень мощности нагрева нужно кулисный механизм А повернуть задающим элементом L на фиг.3 и 4 по часовой стрелке (стрелка 15) в маркированное положение, в котором переключающий кулачок N1 установится против коммутирующего элемента 3, а разрыв 16b - против другого коммутирующего элемента 4. Когда потечет вода, управляющая мембрана М потянет кулисный механизм А вниз. При этом включится коммутирующий элемент 3, а коммутирующий элемент 4 останется не включенным. Чтобы задать следующую ступень мощности нагрева, нужно кулисный механизм А повернуть задающим элементом L дальше по часовой стрелке так, чтобы переключающий кулачок N1 продолжал оставаться против коммутирующего элемента 3, а поверхность 12 воздействия на коммутирующий элемент на кулачке N2 установилась против коммутирующего элемента 4. Теперь будут включены оба коммутирующих элемента 3, 4.

На верхнем конце тела 9 вращения сформована головка 27 ковшеобразной формы, которая на своей приблизительно цилиндрической наружной поверхности 17 (фиг.3) может иметь торцовые зубья 19 и открытую сверху обойму 18 для соединения с задающим элементом L. На нижней стороне головки 27 сформована дополнительная поверхность воздействия 20, ориентированная в основном радиально и охватывающая 360° под углом α относительно плоскости, перпендикулярной к оси X, приблизительно параллельно к шагу резьбы участка 21 с наружной резьбой.

Торцевые зубья 19 и дополнительная поверхность 20 воздействия на коммутирующий элемент предназначены для варианта комплектации проточного нагревателя, который по выбору оборудуется управляющим силовым полупроводниковым устройством Е, и в этом случае коммутирующее устройство S с коммутирующими элементами 3, 4 отпадает.

Печатная плата 24 управляющего силового полупроводникового устройства Е позиционируется на держателях 5b относительно кулисного механизма А. В этом варианте исполнения управляющее силовое полупроводниковое устройство имеет электрический коммутирующий элемент 3', например микропереключатель, с исполнительным органом 3'а, позиционированным относительно дополнительной поверхности 20 воздействия на коммутирующий элемент. Далее предусматривается регулируемый делитель напряжения, например потенциометр Р с поворотным движком, который поворачивается зубчатым колесом 25 от торцевых зубьев 19. При повороте кулисного механизма А по часовой стрелке (стрелка 15) вокруг оси X можно с помощью потенциометра Р с поворотным движком предварительно задать мощность нагрева, которая включится при перемещении кулисного механизма А в направлении стрелки 7 после включения коммутирующего элемента 3'.

1. Проточный нагреватель (D), в частности Shower-Heater (SH), с нагревательным модулем (Н), расположенным, по меньшей мере, в одном проточном канале (2) и оснащенным, по меньшей мере, одним электрическим нагревательным устройством (К, К1, К2), с поворотным задающим элементом (L) для предварительного выбора мощности нагрева, с, по меньшей мере, одной стационарной электрической коммутирующей системой (S) и с линейно перемещающимся в зависимости от протока воды кулисным механизмом (А) для воздействия на коммутирующую систему и включения предварительно заданной мощности нагрева, отличающийся тем, что кулисный механизм (А) является поворотным и соединен с задающим элементом (L), что в коммутирующей системе (S) для каждого включаемого нагревательного устройства (К, K1, K2) предусмотрен коммутирующий элемент (3, 4, 3'), и что кулисный механизм (А) выполнен таким образом, что посредством задания угла поворота кулисного механизма (А) относительно коммутирующей системы (S) можно предварительно задать требуемое значение мощности нагрева и включить эту мощность посредством перемещения кулисного механизма (А).

2. Нагреватель по п.1, отличающийся тем, что нагревательное устройство (К, K1, K2) содержит, по меньшей мере, два раздельно включаемых нагревательных элемента, и что поворотный кулисный механизм (А) при угле поворота, соответствующем максимальной мощности нагрева, имеет, по меньшей мере, одну расположенную по периметру поверхность (12) воздействия на коммутирующие элементы для включения всех предусмотренных коммутирующих элементов (3, 4), и, по меньшей мере, один разрыв (16а, 16b) окружности в поверхности (12) воздействия на коммутирующие элементы, которая, по меньшей мере, при одном другом установленном угле поворота для уменьшенной или нулевой мощности нагрева при линейном перемещении кулисного механизма (А) настроена, по меньшей мере, на один или на все коммутационные элементы (3, 4), а преимущественно, по меньшей мере, на их исполнительные органы (3а, 4а).

3. Нагреватель по п.2, отличающийся тем, что кулисный механизм (А) содержит, по меньшей мере, один, расположенный на теле (9) вращения и в окружном направлении ограниченный разрывом (16а, 16b) окружности переключающий кулачок (N1, N2), по наружной стороне которого расположена, по меньшей мере, по существу цилиндрическая поверхность (12) воздействия на коммутирующие элементы, и что с поверхностью (12) воздействия на коммутирующие элементы соединена коническая наклонная поверхность (13), наклоненная внутрь в сторону установки кулисного механизма (А) для воздействия на коммутирующую систему (S) в направлении оси (X) тела вращения (9).

4. Нагреватель по п.2, отличающийся тем, что переключающий кулачок (N1, N2), по меньшей мере, на одном направленном в сторону периметра конце поверхности (12) воздействия на коммутирующий элемент имеет постепенно снижающуюся в направлении оси (X) наклонную плоскость (14), предпочтительно на конце, лежащем спереди в направлении вращения для задания максимальной мощности нагрева.

5. Нагреватель по п.2, отличающийся тем, что каждый переключающий кулачок (N1, N2) сформован в виде фартука на наружной кромке радиального фланца (10) тела (9) вращения, и что предпочтительно на переключающем кулачке (N1, N2) и/или на радиальном фланце (10) сформован выступ (11) для ограничения вращения.

6. Нагреватель по п.2, отличающийся тем, что для двух, по меньшей мере, приблизительно диаметрально расположенных коммутирующих элементов (3, 4) предусмотрены два переключающих кулачка (N1, N2) различной длины по периметру, разделенных между собой двумя разрывами (16а, 16b) окружности, и что переключающий кулачок и разрыв окружности, соответствующие друг другу, имеют приблизительно одинаковую величину в дуговом измерении.

7. Нагреватель по п.3, отличающийся тем, что тело (9) вращения имеет головку (27) для соединения с задающим элементом (L) с открытой в направлении свободного конца тела вращения обоймой (18).

8. Нагреватель по п.3, отличающийся тем, что тело (9) вращения выполнено с возможностью поворачиваться с помощью поворотного сцепления и непосредственно связано с управляющей мембраной (М) предпочтительно через резьбовое соединение (V), затянутое не до упора.

9. Нагреватель по п.8, отличающийся тем, что на другом свободном конце тела (9) вращения предусмотрен отрезок (21) с наружной резьбой, а на печатной плате (8) управляющей мембраны (М) предусмотрен участок (22) с внутренней резьбой.

10. Нагреватель по п.3, отличающийся тем, что тело (9) вращения является цельной фасонной деталью, изготовленной из пластмассы методом литья под давлением.

11. Нагреватель по п.3 или 9, отличающийся тем, что соединительная кромка (23) между поверхностью (12) воздействия на коммутирующий элемент и наклонной плоскостью (13), по меньшей мере, в основном расположена параллельно к шагу (а) резьбы участка (21) с наружной резьбой.

12. Нагреватель по п.7 или 9, отличающийся тем, что на головке (27) по ее в основном цилиндрическому периметру (17) расположены торцевые зубья (19), и что на теле (9) вращения, предпочтительно на радиально направленной относительно оси (X) нижней стороне головки (27), предусмотрена в основном гладкая дополнительная плоскость (20) воздействия на коммутирующий элемент, которая предпочтительно на протяжении, например, 360° проходит в основном параллельно к шагу (а) резьбы участка (21) с наружной резьбой.

13. Нагреватель по одному из пп.1-10, отличающийся тем, что нагревательное устройство (К, K1, K2) содержит один или, по меньшей мере, два параллельно включаемых нагревательных элемента, что предусмотрено управляющее силовое полупроводниковое устройство (Е), имеющее потенциометр (Р) с поворотным движком и предназначенный для нагревательного устройства (К, K1, K2) коммутирующий элемент (3'), и что потенциометр (Р) с поворотным движком посредством зубчатого колеса (25) соединен с торцевыми зубьями (19) тела (9) вращения, и коммутирующий элемент (3') так ориентирован относительно дополнительной поверхности (20) воздействия на коммутирующий элемент кулисного механизма (А), что он может включаться независимо от угла поворота тела (9) вращения при линейном установочном перемещении (7) тела (9) вращения.

14. Нагреватель по одному из пп.1-10, отличающийся тем, что в нагревательном модуле (Н), предпочтительно в зоне выхода горячей воды, предусмотрен включенный между присоединением к сети и соответствующим коммутирующим элементом (3, 4, 3') термостатный выключатель (Т), предпочтительно биметаллический выключатель.

15. Нагреватель по одному из пп.1-10, отличающийся тем, что на нагревательном