Способ запирания внешней оконной рамы, запирающий механизм и окно с коробкой
Иллюстрации
Показать всеИзобретение относится к области строительства, а именно к способам и конструкциям окон. Изобретение позволит повысить прочность оконной рамы. Способ запирания внешней оконной рамы, при котором внешнюю раму запирают в стационарное положение путем прижатия внешней рамы с помощью запирающего механизма к профилю коробки на внешней поверхности оконной коробки. В качестве запирающего элемента в способе используют запирающий механизм, который содержит боковую часть, полностью утопленную в оконную коробку, и подвижную внутреннюю часть, расположенную внутри боковой части. Боковая часть содержит цилиндрическую стенку и фланец, расположенный на конце стенки. Внутренняя часть имеет на одной поверхности дисковидный поршень с поворотной рукояткой для перемещения внутренней части. При повороте рукоятки внутренняя часть смещается в верхнее положение, где рукоятка по существу полностью выступает из внутренней части, и в нижнее положение, где рукоятка по существу полностью утоплена во внутреннюю часть. Когда внутренняя часть находится в верхнем положении, конец рукоятки упирается во внешнюю раму, препятствуя открыванию рамы в направлении запирающего механизма. Когда необходимо открыть окно, внутреннюю часть сдвигают в боковую часть, в результате чего раму можно свободно открыть. Для поднимания или опускания внутренней части в стенке боковой части имеется по меньшей мере одна канавка. На внутренней части имеется палец, расположенный в канавке и выполненный с возможностью перемещения по канавке. 3 н. и 5 з.п. ф-лы, 2 ил.
Реферат
Настоящее изобретение касается способа запирания в стационарном положении выполненной с возможностью открывания оконной рамы, при котором внешнюю раму прижимают запирающим элементом к профилю коробки на внешней поверхности оконной коробки. Настоящее изобретение также относится к запирающему механизму для внешней оконной рамы и окну, оснащенному запирающим механизмом по настоящему изобретению.
Окна, которые используются в современных жилых зданиях, в большинстве случаев представляют собой открывающиеся окна, которые имеют три или четыре стекла с отдельными внешней и внутренней рамами. Внешняя рама и внутренняя рама прикреплены петлями к участку оконной коробки. Если окно имеет третью раму, так называемую промежуточную раму, то обычно такая рама крепится к внутренней раме с помощью петель. Когда окно закрыто, то внутренняя рама прикрепляется к оконной коробке посредством запирающего механизма. Запирающий механизм содержит корпус, прикрепленный к участку рамы, и ответную часть, прикрепленную к участку коробки. Корпус запирающего механизма содержит язычок-защелку, которая может поворачиваться в направлении от корпуса посредством рукоятки. Рукоятка может быть съемной или может постоянно крепиться к раме. Когда рукоятку поворачивают, язычок-защелка поворачивается и входит в канавку в соответствующей части и запирает раму на месте.
Внешнюю оконную раму можно запереть на месте способом, подобным способу, применяемому для внутренней рамы, т.е. посредством запирающего механизма. Другим известным способом запирания является крепление к внешней раме штифта, который направлен к внутренней раме и конец которого упирается в поверхность внутренней рамы, когда внутренняя рама находится в запертом положении. Штифт имеет такие размеры, что, когда внутреннюю раму толкают в закрытое положение, штифт толкает внешнюю раму так, что она прижимается к профилю коробки на внешней поверхности окна. Таким образом, когда внутренняя рама заперта запирающим механизмом, внешняя рама одновременно запирается в неподвижном положении.
Известные способы запирания внешней оконной рамы имеют много недостатков. Для установки запирающего механизма необходимо с помощью инструмента выполнить углубление для корпуса во внешней раме и соответствующее углубление в коробке для соответствующей части. Углубление, выполненное в узкой внешней раме, снижает прочность рамы. Кроме того, указанная соответствующая часть и углубление под нее могут собирать пыль и грязь, что может ухудшить эксплуатационные свойства запирающего механизма. Язычок-защелка внешней рамы может согнуться под воздействием ветровой нагрузки и тем самым уменьшить плотность и вызвать стук. Язычок-защелка может даже сломаться или перегнуться. Углубления, выполненные для указанных деталей, имеют продолговатую форму, поэтому их необходимо формировать фрезерованием или сверлением нескольких отверстий. Монтажные работы также требуют высокой точности для плотного прижатия внешней рамы к профилю коробки в запертом положении. Далее, в настоящее время внешние рамы часто изготавливают из алюминиевого профиля, что влечет за собой необходимость использования при монтаже инструментов, пригодных для работы по металлу. Поэтому установка запирающего механизма является относительно трудной и дорогой операцией.
Поскольку внешняя рама через штифты опирается на внутреннюю раму, ветровая нагрузка на внешнюю раму передается и на внутреннюю раму. Поэтому ветер может вызвать дополнительную нагрузку на внутреннюю раму, а это, в свою очередь, приводит к необходимости установки дополнительных запирающих механизмов на внутренней раме. Таким образом, внутренняя рама будет иметь больше видимых частей запирающих механизмов, что отрицательно влияет на внешний вид окна. Длина штифтов, соединяющих рамы, должна быть подобрана с высокой точностью, чтобы запирание внешней рамы осуществлялось нужным образом. Слишком длинные штифты вызовут дополнительные напряжения в рамах, что может привести к их короблению и даже растрескиванию стекла. Соответственно, слишком короткие штифты дадут возможность внешней раме совершать небольшие перемещения вперед и назад, в результате чего рама может издавать раздражающий стук даже при слабом ветре. Кроме того, штифты в промежуточном пространстве между рамами могут затруднить размещение в окне, например, жалюзи, и они также отрицательно сказываются на внешнем виде окна.
Задачей настоящего изобретения является создание нового способа фиксации на месте внешней оконной рамы и запирающего механизма новой конструкции для внешней оконной рамы. Способ и запирающий механизм по настоящему изобретению устраняют недостатки и решают проблемы, связанные с известными способами запирания внешней оконной рамы.
Для достижения задач настоящего изобретения способ и запирающий механизм по настоящему изобретению отличаются признаками, определенными в отличительной части независимых пунктов прилагаемой формулы изобретения. Некоторые предпочтительные варианты настоящего изобретения представлены в зависимых пунктах.
В типичном способе запирания внешней оконной рамы по настоящему изобретению внешнюю раму запирают в стационарном положении путем прижатия внешней рамы посредством запирающего элемента к упорной грани внешней поверхности оконной коробки, предпочтительно к профилю коробки. В качестве запирающего элемента в способе используют запирающий механизм, который по существу полностью утоплен в оконную коробку. В положении запирания внутренняя часть запирающего механизма частично выступает из коробки, за счет чего внешняя рама фиксируется на месте.
Основная идея типичного запирающего механизма для внешней оконной рамы по настоящему изобретению заключается в том, что запирающий механизм содержит боковую часть, которая по существу полностью утоплена в коробке окна, и подвижную внутреннюю часть, установленную внутри боковой части. Когда раму запирают на месте, внутренняя часть частично выступает из боковой части. Затем внутреннюю часть прижимают к поверхности внешней рамы, что препятствует открыванию внешней рамы в направлении запирающего механизма. Если необходимо открыть окно, внутреннюю часть перемещают внутрь боковой части и раму можно свободно открывать.
В типичном запирающем механизме по настоящему изобретению боковая часть содержит стенку цилиндрической формы, а внутренняя часть содержит дисковидный поршень, на одной поверхности которого расположена рукоятка для вращения, предназначенная для захвата и перемещения внутренней части. Поворачивая рукоятку, внутреннюю часть можно переместить в верхнее положение, где рукоятка по существу полностью выходит из боковой части, и в нижнее положение, где рукоятка по существу полностью утоплена в боковой части.
Кроме того, запирающий механизм по настоящему изобретению в стенке боковой части имеет по меньшей мере одну канавку, а поршень внутренней части имеет палец, размещенный в канавке с возможностью перемещения по канавке для сдвигания внутренней части вдоль центральной оси боковой части при вращении внутренней части.
Запирающий механизм по настоящему изобретению отличается тем, что канавка в стенке боковой части содержит нижнюю горизонтальную канавку на постоянном расстоянии от первого конца боковой части, верхнюю горизонтальную канавку на постоянном расстоянии от второго конца боковой части, и наклонную канавку, соединяющую первую и вторую горизонтальные канавки и проходящую наклонно от первого конца боковой части ко второму концу боковой части.
Преимущество способа и запирающего механизма по настоящему изобретению заключается в том, что внешнюю раму можно надежно запереть на месте без необходимости монтажных работ посредством инструментов на внешней раме.
Дополнительным преимуществом настоящего изобретения является то, что запирающий механизм можно установить легко и быстро. Во время монтажа выполняется только одно монтажное отверстие в оконной коробке, и запирающий механизм вставляется в это отверстие.
Следующим преимуществом настоящего предпочтительного варианта настоящего изобретения является то, что запирание, обеспечиваемое запирающим механизмом, очень надежно, поскольку рукоятка для поворота, которая запирает внешнюю раму на месте, ориентирована точно в направлении силы, воздействующей на рукоятку.
Еще одним преимуществом настоящего изобретения является то, что запирающий механизм по существу не ухудшает внешний вид окна и не препятствует установке в окне других механизмов, таких как жалюзи.
Следующим преимуществом настоящего изобретения является легкость исправления любых неточностей, допущенных при монтаже.
Далее, в предпочтительном варианте настоящего изобретения запирание не требует отдельного ключа.
Ниже следует более подробное описание настоящего изобретения со ссылками на прилагаемые чертежи, где:
Фиг.1 - схематический вид спереди запирающего механизма для внешней рамы по настоящему изобретению, и
Фиг.2a и 2b - схематические примеры запирающего механизма внешней рамы, который установлен в окне.
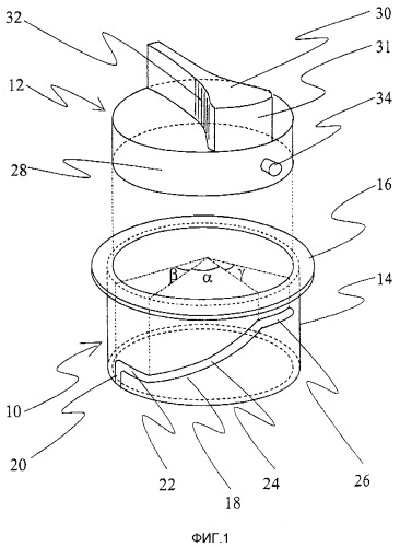
На фиг.1 показан пример запирающего механизма по настоящему изобретению, по направлению наклонно сверху. Запирающий механизм содержит боковую часть 10 цилиндрической формы и внутреннюю часть 12, установленную внутри боковой части. На фиг.1 боковая часть и внутренняя часть показаны отдельно друг от друга для лучшего представления формы и конструкции деталей.
Боковая часть 10 имеет цилиндрическую стенку 14, наружный диаметр которой составляет предпочтительно около 40 мм. Высота стенки вдоль продольной оси боковой части составляет предпочтительно около 27 мм, а ее толщина предпочтительно равна 2,5 мм. Второй конец боковой части имеет кольцевой фланец 16 по всему периметру кромки стенки, и толщина и ширина фланца предпочтительно составляют 1 мм и 4,5 мм соответственно. Нормаль, проведенная к поверхности фланца, образует по существу прямой угол с нормалью, проведенной к стенке боковой части.
В стенке 14 боковой части выполнена канавка 18, которая проходит сквозь стенку и образует четыре последовательных участка. Канавка начинается с вертикальной канавки 20, которая проходит в осевом направлении боковой части, от первого конца боковой части к ее второму концу. Длина вертикальной канавки предпочтительно составляет около 7 мм. Далее следует нижняя горизонтальная канавка 22, которая проходит по стенке в горизонтальном направлении, т.е. расстояние от горизонтальной канавки до первого и второго концов боковой части постоянно. После горизонтальной канавки следует наклонная канавка 24, которая поднимается по стенке по направлению ко второму концу боковой части. В конце канавки 18 находится верхняя горизонтальная канавка 26, которая проходит по стенке так же, как и нижняя горизонтальная канавка, на постоянном расстоянии от обоих концов боковой части.
Длина наклонной канавки 24 такова, что линии, проведенные от центральной оси цилиндрической боковой части к концам наклонной канавки, образуют между собой угол α в плоскости фланца 16, и этот угол предпочтительно равен 90°. Прямые, проведенные от центральной оси боковой части к концам верхней и нижней горизонтальных канавок, образуют углы β и γ, которые предпочтительно равны и составляют около 30°. Расстояние между нижней горизонтальной канавкой 22 и верхней горизонтальной канавкой в направлении центральной оси боковой части 10 предпочтительно составляет 12 мм. Ширина канавки 18 предпочтительно равна около 4 мм и остается по существу постоянной на всей длине канавки.
Внутренняя часть 12 запирающего механизма содержит круглый дисковидный поршень 28, предпочтительно имеющий толщину около 15 мм. Рукоятка 30 установлена на верхней поверхности поршня с возможностью его поворота. Рукоятка представляет собой пластинчатый выступ, возвышающийся от уровня поверхности поршня и проходящий от одной кромки поршня по существу до другой кромки по диаметру поршня. Рукоятка 30 может быть более короткой так, чтобы проходить от одной кромки по направлению ко второй кромке. Существенно то, что на поршне может быть выполнена запирающая поверхность 31, которая расположена напротив внешней запираемой рамы. Высота рукоятки в направлении нормали к верхней поверхности поршня предпочтительно составляет около 12 мм. Второй конец рукоятки выполнен существенно более широким, чем ее остальные части. Предпочтительно ширина рукоятки составляет около 5 мм у первого конца и в центральной части и около 10 мм у второго конца по направлению сверху. На боковых поверхностях рукоятки предпочтительно выполнены шероховатые участки, которые улучшают захват рукоятки.
На цилиндрической внешней поверхности поршня 28 имеется палец 34, диаметр которого по существу равен ширине канавки 18 в боковой части 10, т.е. около 4 мм. Палец имеет длину, равную или немного меньшую, чем толщина стенки 14 боковой части. При работе запирающего механизма его внутренняя часть расположена внутри боковой части 10 так, что палец 34 на поршне 28 размещен в канавке 18. Внутренняя часть легко устанавливается снизу, поскольку вертикальная канавка 20 проходит вниз к первому концу стенки боковой части. Диаметр поршня подобран так, чтобы он садился в боковую часть плотно, но с зазором между внутренней поверхностью боковой части и внешней поверхностью поршня для обеспечения возможности вращения поршня. При повороте рукоятки поршень поворачивается внутри боковой части в пределах, определяемых канавкой 18. Когда палец 34 находится в наклонной канавке 24, он заставляет внутреннюю часть 12 при повороте подниматься или опускаться. Палец расположен на стенке поршня 28 так, что, когда палец находится в верхней горизонтальной канавке 26, рукоятка выходит из внутренней части так, что становится почти полностью видимой. В то же время верхняя поверхность поршня и фланец 16 боковой части будут располагаться в одной плоскости и образовывать однородную гладкую поверхность. Соответственно, когда внутреннюю часть поворачивают в положение, когда палец находится в нижней горизонтальной канавке, рукоятка 30 будет полностью утоплена во внутренней части 10.
На фиг.1 показан только один предпочтительный вариант запирающего механизма по настоящему изобретению. Запирающий механизм может быть реализован различными способами в рамках настоящего изобретения. Например, боковые части могут иметь несколько канавок и, соответственно, поршень может иметь несколько пальцев, перемещающихся в канавках. Канавка не обязательно должна проходить насквозь боковой стенки, если она достаточно глубока, чтобы в ней мог перемещаться палец. Кроме того, не обязательно, чтобы палец 34 был фиксированной частью поршня, он может быть свободной деталью, расположенной в отверстии в поршне. В верхней и нижней горизонтальных канавках можно выполнить небольшие выступы, чтобы они "запирали" внутреннюю часть в положении, когда внутренняя часть повернута так, чтобы палец 34 оказался между выступами. Запирающий механизм по настоящему изобретению предпочтительно может быть изготовлен из пластмассы или металла. Можно также изготовить детали запирающего механизма из разных материалов. Размеры и пропорции компонентов запирающего механизма могут отличаться от показанных на чертежах.
На фиг.2a и 2b показаны в сечении части окна, где запирающий механизм по настоящему изобретению, показанный на фиг.1, размещен на своем месте в окне. Эти сечения проходят по той точке оконной коробки 40, где установлен запирающий механизм. Запирающий механизм крепится на место путем высверливания установочного отверстия 42 в направлении, перпендикулярном поверхности коробки в этой ее части, которая расположена между внутренней рамой 44 и внешней рамой 46, за счет чего диаметр отверстия по существу равен внешнему диаметру боковой части 10 запирающего механизма. Установочное отверстие сверлится рядом с внешней рамой так, что линия, проведенная в направлении внутренней поверхности внешней рамы 46, проходит по существу по касательной к окружности отверстия. Затем запирающий механизм запрессовывают на место в установочное отверстие так глубоко, чтобы фланец 16 плотно упирался во внутреннюю поверхность коробки 40. Установочное отверстие должно иметь достаточную глубину, чтобы запирающий механизм мог быть утоплен на эту глубину. Запирающий механизм установлен в коробку в положении, где тот участок боковой части, который содержит верхнюю горизонтальную канавку 26, располагается максимально близко к внешней раме 46. При необходимости боковую часть можно зафиксировать в установочном отверстии с помощью клея или с помощью механических крепежных средств.
На фиг.2a показан запирающий механизм в запирающем положении, где он фиксирует внешнюю оконную раму 46 в стационарном положении, прижимая ее к профилю 48, выполненному на внешней поверхности коробки 40. В запирающем положении внутренняя часть 12 запирающего механизма повернута посредством рукоятки 30 в положение, в котором палец 34 находится в верхней горизонтальной канавке 26. Внутренняя часть 12 выдвинута в верхнее положение, где рукоятка 30 находится полностью над уровнем фланца 16, и запирающая поверхность 31 рукоятки 30 упирается во внешнюю раму. Таким образом, внешняя рама зажата между профилем 48 коробки и широким концом рукоятки и, следовательно, заперта в стационарном положении. Если необходимо открыть окно, рукоятку 30 внутренней части 12 поворачивают на 90°. Тогда внутренняя часть 12 утапливается в свое нижнее положение внутри боковой части, как показано на фиг.2b. В этом положении рукоятка находится полностью ниже уровня фланца 16 и тем самым не препятствует открыванию окна.
На фиг.2a и 2b показан только один запирающий механизм по настоящему изобретению для внешней рамы 46. Количество запирающих механизмов в одном окне может быть таким, какое требуется для надежного запирания внешней рамы. Таким образом, запирающие механизмы могут быть установлены и в горизонтальных, и в вертикальных частях коробки. Если установочное отверстие 42 по ошибке просверлено слишком далеко от внешней рамы, можно использовать тонкую накладку на внутренней поверхности внешней рамы там, где расположен запирающий механизм, чтобы посредством накладки выбрать зазор между концом рукоятки и внутренней поверхностью внешней рамы, который появился в результате неточности при монтаже (накладка на чертежах не показана). С другой стороны, если установочное отверстие находится слишком близко к внешней раме, можно снять материал с рукоятки так, чтобы рукоятка имела достаточно пространства для поворота до плотного упора во внешнюю раму.
Основная идея способа запирания внешней рамы по настоящему изобретению заключается в том, что внешнюю раму запирают в стационарном положении такими элементами, которые крепятся только к оконной коробке. В способе по настоящему изобретению могут использоваться запирающие механизмы разных конструкций. Предпочтительный вариант запирающего механизма, используемого в этом способе, содержит участок корпуса, который утоплен в углубление, выполненное в оконной коробке, и язычок, установленный с возможностью поворота на участке корпуса. При необходимости запирания внешней рамы язычок поворачивают так, чтобы он вышел из боковой части, в результате чего он упрется во внутреннюю поверхность внешней рамы, находящейся на своем месте. Соответственно, если необходимо открыть окно, язычок поворачивают внутрь боковой части, в результате чего внешняя рама освобождается от запора.
Выше описаны предпочтительные варианты способа и устройства по настоящему изобретению. Настоящее изобретение не ограничивается описанными выше решениями, но изобретательская идея может быть осуществлена различными многочисленными способами в рамках прилагаемой формулы изобретения.
1. Способ запирания внешней открываемой оконной рамы в стационарном положении, при котором внешнюю раму прижимают запирающим механизмом к упорной поверхности, предпочтительно профилю (48) коробки, расположенному на внешней поверхности оконной коробки (40), при этом в качестве запирающего элемента используют запирающий механизм, который содержит боковую часть (10), которая, по существу, полностью утоплена в оконную коробку (40), и перемещающуюся внутреннюю часть (12), расположенную внутри боковой части, причем внутренняя часть запирающего механизма выполнена с возможностью частичного подъема из коробки, при этом боковая часть (10) содержит цилиндрическую стенку (14), а внутренняя часть (12) содержит дисковидный поршень (28), причем стенка (14) боковой части (10) содержит по меньшей мере одну канавку (18), содержащую нижнюю канавку (22), расположенную на постоянном расстоянии от первого конца боковой части (10), верхнюю горизонтальную канавку (26), расположенную на постоянном расстоянии от второго конца боковой части, и канавку (24), соединяющую первую и вторую горизонтальные канавки, а поршень (28) внутренней части(12) имеет палец (34), расположенный в канавке и выполненный с возможностью перемещения в канавке, отличающийся тем, что канавка (24), соединяющая первую и вторую горизонтальные канавки, выполнена проходящей наклонно от первого конца боковой части по второму концу боковой части, а палец (34) расположен с возможностью перемещения внутренней части в направлении центральной оси боковой части при вращении внутренней части, а внешнюю раму прижимают механизмом к упорной поверхности.
2. Запирающий механизм внешней оконной рамы (46), содержащий боковую часть (10), выполненную с возможностью, по существу, полного утапливания в оконную коробку (40), и подвижную внутреннюю часть (12), расположенную внутри боковой части, за счет чего внутренняя часть частично поднимается из боковой части, причем боковая часть (10) содержит цилиндрическую стенку (14), а внутренняя часть (12) содержит дисковидный поршень (28), при этом стенка (14) боковой части (10) содержит по меньшей мере одну канавку (18), содержащую нижнюю канавку (22), расположенную на постоянном расстоянии от первого конца боковой части (10), верхнюю горизонтальную канавку (26), расположенную на постоянном расстоянии от второго конца боковой части, и канавку (24), соединяющую первую и вторую горизонтальные канавки, а поршень (28) внутренней части (12) имеет палец (34), расположенный в канавке и выполненный с возможностью перемещения в канавке, отличающийся тем, что канавку (24), соединяющую первую и вторую горизонтальные канавки, выполняют проходящей наклонно от первого конца боковой части ко второму концу боковой части, а палец (34) расположен с возможностью перемещения в канавке для перемещения внутренней части в направлении центральной оси боковой части при вращении внутренней части, причем рукоятка (30) с запирающей поверхностью (31) расположена на верхней поверхности поршня (28) для захвата и перемещения внутренней части и прижатия внешней рамы к упорной поверхности.
3. Механизм по п.2, отличающийся тем, что за счет вращения рукоятки (30) внутренняя часть (12) выполнена с возможностью смещения в верхнее положение, в котором рукоятка (30) находится, по существу, полностью вне боковой части (10), и в нижнее положение, в котором рукоятка находится, по существу, внутри боковой части.
4. Механизм по п.2 или 3, отличающийся тем, что поверхность рукоятки снабжена шероховатым участком (32), причем один конец рукоятки снабжен более широким участком.
5. Окно с коробкой (40), упорной поверхностью, предпочтительно наличником (48) коробки, расположенным на внешней поверхности коробки, внешней рамой (46), прикрепленной к коробке с возможностью открывания, и по меньшей мере одним запирающим элементом для запирания внешней рамы на упорной поверхности, предпочтительно наличнике коробки, причем запирающим элементом является запирающий механизм, содержащий боковую часть (10), выполненную с возможностью, по существу, полного утапливания в оконную коробку (40), и подвижную внутреннюю часть (12), расположенную внутри боковой части (10), при этом внутренняя часть выполнена с возможностью частичного подъема из боковой части, причем боковая часть (10) содержит цилиндрическую стенку (14), а внутренняя часть (12) содержит дисковидный поршень (28) и при этом стенка (14) боковой части (10) содержит по меньшей мере одну канавку (18), содержащую нижнюю горизонтальную канавку (22), расположенную на постоянном расстоянии от первого конца боковой части (10), верхнюю горизонтальную канавку (26), расположенную на постоянном расстоянии от второго конца боковой части, и канавку (24), соединяющую первую и вторую горизонтальные канавки, а поршень (28) внутренней части (12) имеет палец (34), расположенный в канавке и выполненный с возможностью перемещения в канавке, отличающееся тем, что канавка (24), соединяющая первую и вторую горизонтальные канавки, выполнена проходящей наклонно от первого конца боковой части ко второму концу боковой части, а палец (34) расположен с возможностью перемещения в канавке для перемещения внутренней части в направлении центральной оси боковой части при вращении внутренней части, причем рукоятка (30) с запирающей поверхностью (31) расположена на верхней поверхности поршня (28) для захвата и перемещения внутренней части и прижатия внешней рамы к упорной поверхности.
6. Окно по п.5, отличающееся тем, что за счет вращения рукоятки внутренняя часть (12) выполнена с возможностью смещения в верхнее положение, где рукоятка (30) находится, по существу, полностью вне боковой части (10), и в нижнее положение, где рукоятка (30) находится, по существу, внутри боковой части.
7. Окно по п.6, отличающееся тем, что запирающий механизм установлен в оконной коробке так, что один конец рукоятки (30) расположен в соприкосновении с поверхностью внешней рамы (46), когда внутренняя часть (12) находится в верхнем положении.
8. Окно по любому из пп.5-7, отличающееся тем, что запирающий механизм расположен в круглом установочном отверстии (42), просверленном в коробке (40).


