Способ и устройство для построения изображения подземного пласта
Иллюстрации
Показать всеИзобретение относится к построению изображений подземных пластов. Сущность: устройство для исследования стенки ствола скважины, заполненного непроводящим буровым раствором, содержит опорную пластину, имеющую внутреннюю поверхность и наружную поверхность для прижима к стенке ствола скважины. На наружной поверхности опорной пластины установлен набор измерительных электродов, питающий электрод и возвратный электрод. Набор измерительных электродов расположен между питающим электродом и возвратным электродом и содержит два горизонтальных ряда электродов. Указанные два ряда электродов смещены по горизонтали относительно друг друга так, что разности потенциалов, измеряемые между указанными измерительными электродами, являются представляющими как вертикальную составляющую, так и горизонтальную составляющую полного электрического поля в пласте в каждой точке измерения. 2 н. и 23 з.п. ф-лы, 9 ил.
Реферат
Настоящее изобретение относится к построению изображений подземных пластов. Более конкретно, изобретение относится к усовершенствованной компоновке матрицы электродов напряжения, уложенных на опорной пластине, которую прижимают к стенке пласта, для исследования окружения скважины, и к способу для построения изображения подземного пласта с помощью указанной опорной пластины.
Для проведения разведки месторождений углеводородов очень желательно получать точные сведения о характеристиках геологического пласта на различных глубинах ствола скважины. Многие из этих характеристик являются очень тонкими по структуре, например стратификациями, неоднородными элементами, характеристиками пор, разломами и т.д. Например, ориентации, плотность и протяженности разломов имеют важное значение для динамических характеристик породы-коллектора. В зависимости от типа бурового раствора, который используют при бурении скважины, могут быть реализованы измерения двух видов. Некоторые из этих способов, среди которых способ в патенте США №4567759, направлены на измерения в проводящем буровом растворе.
Другие способы относятся к измерениям в непроводящем буровом растворе, среди которых способ в патенте США №6191588. В таком устройстве для исследования удельной проводимости пласта используют непроводящую опорную пластину и дисковые электроды, которые образуют электроды напряжения вместо токовых электродов, описанных в патенте США №4468623. Инжектирующие ток электроды расположены вне опорной пластины или в предпочтительном варианте непосредственно на концах ее. В любом случае два инжектора размещены таким образом, что ток проходит через пласт по существу параллельно опорной пластине и поэтому протекает, предпочтительно, по существу ортогонально границам пласта. При таких условиях разность потенциалов между двумя дисковыми электродами пропорциональна удельному сопротивлению материала, обращенного к дисковым электродам.
Как установлено в этом документе, то, что ток протекает по существу по нормали к границам пласта, рассматривается как идеальная ситуация. Поэтому упрощенная непроводящая опорная пластина, снабженная единственным источником питающего тока и единственным источником возвратного тока, будет удовлетворительной. Однако на практике такое одномерное протекание тока не может быть гарантией того, что ток всегда будет протекать по существу по нормали к границам слоев пласта. Вероятно, что границы слоев пласта могут быть расположены параллельно протеканию тока, например, в искривленной или в горизонтальной скважине. Если это случается, токи, протекающие через различные слои, не будут равными, а разности напряжений, измеряемые посредством двух пар электродов на противоположных сторонах границы слоя, не будут иметь смысла. Кроме того, известно, что в подземных пластах встречаются высоко резистивные прожилки, и если такие прожилки находятся между питающим источником (электродом) тока и источником (электродом) возврата тока, поле тока не будет формироваться, а напряжение не будет обнаруживаться.
В патенте США №6191588 предложено снабжать устройство парой непараллельных источников питающего тока и возвратного тока для измерения падения напряжений по двум направлениям и выполнения векторного анализа. Кроме того, этот способ связан с компоновкой электродов в матрице, имеющей смещенные ряды. В первом примере предложена двухрядная компоновка, а во втором примере раскрыта трехрядная компоновка.
Однако размер и разнесение дисков электродов являются важными для получения хорошего разрешения и отношения сигнала к шуму. В частности, для высокого разрешения дисковые электроды должны быть расположены близко и должны быть небольшими по площади для широкой полосы пространственных частот. Поэтому решения, предложенные в патенте США №6191588, не являются полностью удовлетворительными. Во-первых, принимая во внимание вертикальное размещение электродов, двухрядной компоновке из этого документа присуще плохое разрешение по вертикали. Во-вторых, трехрядная компоновка имеет еще более плохое разрешение по вертикали и нуждается в большом числе электродов, что практически трудно реализовать, поскольку каждый дисковый электрод необходимо подключать к отдельному буферному усилителю с высоким импедансом.
Поэтому задача настоящего изобретения заключается в создании устройства и способа для построения изображения подземного пласта в скважинах с непроводящим буровым раствором, с помощью которых измерения выполняются с повышенным разрешением при простой реализации на практике.
С этой целью согласно изобретению предложено устройство для исследования стенки ствола скважины, заполненного непроводящим буровым раствором, при этом указанное устройство содержит:
- опорную пластину, имеющую внутреннюю поверхность и наружную поверхность для прижима к стенке ствола скважины;
- набор измерительных электродов, установленных на наружной поверхности опорной пластины, при этом измеряются разности потенциалов между указанными измерительными электродами, для определения точек измерения, представляющих удельное сопротивление пласта;
- питающий электрод и возвратный электрод, оба выполненные с возможностью инжекции тока в пласт, при этом набор измерительных электродов расположен между питающим электродом и возвратным электродом.
Согласно изобретению набор измерительных электродов содержит два, по существу, горизонтальных ряда электродов, при этом указанные два ряда смещены по горизонтали относительно друг друга, так что разности потенциалов, измеряемые между указанными измерительными электродами, являются представляющими как вертикальную составляющую, так и горизонтальную составляющую полного электрического поля в пласте в каждой точке измерения.
Поэтому в устройстве изобретения обеспечивается весьма удовлетворительное размещение набора измерительных электродов, что очень удобно осуществляется на опорной пластине и приводит к повышенной разрешающей способности изображения пласта.
В первом варианте осуществления устройства изобретения каждая точка измерения расположена на середине вертикальной медианной линии треугольника, образованного элементарной группой из трех измерительных электродов, среди которых имеются два из них из одного и того же ряда и один из них из другого ряда измерительных электродов.
В этом варианте осуществления значительно уменьшено число измерительных электродов. Действительно, в нем создается число n точек измерения путем использования только n+2 измерительных электродов при выполнении n+1 измерения разностей потенциалов. Поэтому число измерительных электродов существенно снижено по сравнению с устройством, известным из предшествующего уровня техники, для которого требуются 2n измерительных электродов для n точек измерения.
Во втором варианте осуществления устройства согласно изобретению каждая точка измерения расположена на месте каждого измерительного электрода, или каждая точка измерения обращена к каждому измерительному электроду и смещена по вертикали от указанного измерительного электрода на половину смещения по вертикали между указанными двумя рядами.
В этих вариантах осуществления существенно повышается разрешение вертикальной составляющей по горизонтали.
В третьем предпочтительном варианте осуществления устройства согласно изобретению точки измерения расположены на серединах каждой из линий, соединяющей измерительные электроды из одного ряда с соседними электродами из другого ряда.
Как и в случае первого варианта осуществления, число необходимых измерительных электродов существенно уменьшено, поскольку каждый измерительный электрод участвует в определении двух точек измерения. Это положение точки измерения также является очень удовлетворительным с учетом того, что в этом случае вертикальную и горизонтальную составляющие получают в одной и той же точке, и нет необходимости в сдвиге по глубине относительно друг друга.
В примере устройства согласно изобретению опорная пластина выполнена из непроводящего материала. В другом примере опорная пластина дополнительно содержит экранирующее средство, которое размещено между питающим электродом и измерительными электродами и между измерительными электродами и возвратным электродом, при этом указанное экранирующее средство находится вровень или почти вровень с наружной поверхностью опорной пластины. В этом случае возможно, чтобы опорная пластина сама образовывала экранирующее средство, при этом опорную пластину выполняют из электропроводного материала.
Предпочтительно, чтобы устройство согласно изобретению содержало измеряющее напряжение средство, соединенное с указанным набором измерительных электродов, для измерения указанных разностей потенциалов между указанными измерительными электродами. Оно также содержит средство обработки сигналов, соединенное с указанным набором измерительных электродов, для формирования изображения удельного сопротивления стенки ствола скважины на основании разностей потенциалов, измеряемых указанным измеряющим напряжение средством. В этом случае каждая точка измерения образует пиксел изображения удельного сопротивления стенки ствола скважины.
Кроме того, в качестве объекта предложен способ исследования стенки ствола скважины в геологическом пласте, при этом ствол скважины заполнен непроводящим буровым раствором, и этот способ заключается в том, что:
- прижимают опорную пластину к стенке ствола скважины, при этом указанная опорная пластина содержит питающий электрод и возвратный электрод;
- формируют ток для пропускания через пласт посредством указанного питающего электрода и указанного возвратного электрода, между которыми прикладывают потенциал;
- измеряют разности потенциалов между измерительными электродами, которые расположены на наружной поверхности опорной пластины между питающим электродом и возвратным электродом;
- определяют на основании указанных разностей потенциалов набор точек измерения, которые являются представляющими удельное сопротивление стенки ствола скважины.
Согласно изобретению в указанном способе дополнительно размещают указанные измерительные электроды в двух рядах, которые являются по существу горизонтальными и смещены по горизонтали относительно друг друга; получают по указанным разностям потенциалов вертикальную составляющую и горизонтальную составляющую электрического поля в пласте в каждой точке измерения; и суммируют указанные вертикальную и горизонтальную составляющие для определения полного электрического поля в пласте в каждой точке измерения.
В первом варианте осуществления каждую точку измерения располагают на середине вертикальной медианной линии треугольника, образованного элементарной группой из трех соседних измерительных электродов, среди которых имеются два из них из одного и того же ряда и один из них из другого ряда измерительных электродов.
В этом случае предпочтительно, чтобы способ содержал этапы, на которых вычисляют горизонтальную и вертикальную составляющие электрического поля, формируемого в каждой элементарной группе из трех соседних измерительных электродов; сдвигают по глубине горизонтальную составляющую указанного электрического поля до уровня вертикальной составляющей; суммируют указанные две составляющие векторно для получения полного электрического поля в каждой из указанных групп из трех соседних измерительных электродов.
Во втором варианте осуществления способа согласно изобретению дополнительно измеряют потенциалы измерительных электродов из двух рядов относительно опорного для первой глубины d измерения; повторяют измерение потенциалов измерительных электродов для двух рядов на второй и третьей глубинах измерения, при этом указанные вторую и третью глубины соответственно относят от первой глубины измерения на d+dy и d-dy, где dy соответствует смещению по вертикали между двумя рядами измерительных электродов, объединяют указанные потенциалы электродов на трех глубинах измерения для обеспечения виртуального набора измерительных электродов, где каждый электрод первого ряда обращен к электроду второго ряда; и измеряют разности потенциалов между электродами указанного виртуального набора измерительных электродов для определения набора точек измерения.
В третьем варианте осуществления способа согласно изобретению точки измерения располагают на серединах линий, соединяющих измерительные электроды из одного ряда с соседними электродами из другого ряда.
В этом случае способ дополнительно содержит этап, на котором измеряют разности потенциалов между первой парой соседних измерительных электродов и второй парой соседних электродов, при этом все из указанных измерительных электродов являются несовпадающими электродами, а каждая пара образована измерительным электродом из одного ряда и измерительным электродом из другого ряда; и интерполируют указанные две разности потенциалов для получения третьей вычисленной разности потенциалов, которую вычисляют между парой виртуальных соседних измерительных электродов, каждый из которых расположен на середине линии, соединяющей электроды из первой и второй пар, которые расположены в одном и том же ряду.
Предпочтительно, чтобы указанный способ согласно изобретению содержал этап, на котором формируют изображение удельного сопротивления стенки ствола скважины на основании полного электрического поля в каждой точке измерения, при этом указанные точки измерения образуют пикселы указанного изображения.
Предпочтительно, чтобы способ согласно изобретению также содержал этап, на котором определяют положение и ориентацию границ слоев в пласте на основании указанного изображения удельного сопротивления стенки ствола скважины.
Дополнительные объекты и преимущества изобретения станут очевидными для специалистов в данной области техники при обращении к подробному описанию в сочетании с сопровождающими чертежами, на которых:
фиг.1 - вид опорной пластины существующего устройства для исследования стенки ствола скважины;
фиг.2 - вид опорной пластины из одного варианта осуществления устройства согласно изобретению;
фиг. с 3а по 3с - компоновки усилителей в устройстве согласно изобретению;
фиг.4 - схематическое представление первого способа получения точек измерения устройством согласно изобретению;
фиг.5 - схематическое представление второго способа получения точек измерения устройством согласно изобретению;
фиг.6 - схематическое представление третьего способа получения точек измерения устройством согласно изобретению;
фиг.7 и 8 - схематические иллюстрации конкретного случая реализации варианта осуществления способа изобретения; и
фиг.9 - пример устройства согласно изобретению в процессе исследования стенки ствола скважины.
На фигуре 1 представлена схема, показывающая принцип, на котором основано электрическое измерение в способе построения изображения, описанном в Международной заявке WO 0004405 на патент. Это устройство особенно пригодно для исследования стенки 2 ствола скважины, пробуренного при использовании непроводящего бурового раствора, например бурового раствора, жидкая фаза которого образована по существу нефтью (дизельным топливом, синтетическим маслом) или водонефтяной эмульсией. Термин «буровой раствор на нефтяной основе» используется ниже для обозначения буровых растворов любого из этих типов. Буровой раствор образует глинистый слой 1 на всем протяжении стенки 2.
Устройство из предшествующего уровня техники имеет опорную пластину 3, выполненную из электроизоляционного материала, такого как керамика или полимер, имеющего высокую прочность и высокую термическую и химическую стабильность. Опорная пластина используется как опора для двух инжекторов тока: питающего электрода 4 и возвратного электрода 5. Эти два электрода расположены на противоположных концах опорной пластины и занимают всю ее ширину или они занимают, по меньшей мере, большую часть ее ширины таким образом, чтобы максимально увеличивались площади поверхностей этих инжектирующих ток электродов. На центральном участке опорной пластины имеются два ряда измерительных электродов 6, которые прижаты к стенке ствола скважины рычагом 7. В этих двух рядах электродов каждый измерительный электрод из первого ряда расположен непосредственно над соответствующим измерительным электродом из второго ряда, так что между указанными первым и вторым рядами нет смещения по горизонтали. Как показано на фигуре 1, разности потенциалов вычисляют между парой обращенных друг к другу измерительных электродов.
Как уже пояснялось в настоящей заявке выше, этой конфигурации из предшествующего уровня техники присущи различные недостатки. Во-первых, этот способ не отвечает требованиям, когда границы слоев пласта не являются горизонтальными, например когда слоистость значительно отклоняется от горизонтали или при сильно криволинейной границе небольшого объекта. Во-вторых, с учетом размещения электродов по вертикали это решение обеспечивает плохое разрешение по вертикали. В-третьих, взятие замеров по горизонтали не является идеальным решением, поскольку нет перекрытия между результатами измерений: каждая пара измерительных электродов только способствует вычислению одной точки измерения, образующей пиксел изображения удельного сопротивления стенки ствола скважины.
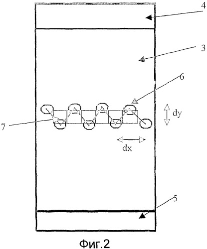
На фигуре 2 представлена опорная пластина 3 устройства согласно изобретению. Эта опорная пластина содержит питающий электрод 4 и возвратный электрод 5, которые инжектируют электрический ток в пласт. Между этими двумя электродами находится набор измерительных электродов 6. Как уже описывалось в настоящей заявке выше, опорная пластина 3 может быть выполнена из электроизоляционного материала. В другом варианте осуществления изобретения опорная пластина дополнительно содержит экранирующее средство, которое расположено между питающим электродом и измерительными электродами и между измерительными электродами и возвратным электродом, при этом указанное экранирующее средство находится вровень или почти вровень с наружной поверхностью опорной пластины. В этом случае возможно, чтобы сама опорная пластина образовывала экранирующее средство, при этом указанная опорная пластина выполнена из электропроводного материала.
Для уменьшения вертикального расстояния между двумя измерительными электродами до минимума было решено сделать так, чтобы любой измерительный электрод участвовал в вычислении, по меньшей мере, двух точек 7 измерения, то есть двух пикселов изображения удельного сопротивления стенки пласта. Поэтому, как можно видеть из чертежа, набор измерительных электродов 6 образован из двух по существу горизонтальных рядов измерительных электродов, при этом эти ряды смещены по горизонтали относительно друг друга так, что набор измерительных электродов выглядит приблизительно как зигзагообразный набор. Смещение по горизонтали между двумя рядами обеспечивает возможность уменьшения расстояния по вертикали между измерительными электродами, что повышает разрешающую способность измерений по вертикали.
Хорошие результаты были получены при смещении (dx) по горизонтали между двумя рядами измерительных электродов, составлявшем приблизительно 0,16 дюйма (0,41 см). Кроме того, типовое смещение (dy) по вертикали между двумя рядами измерительных электродов составляло приблизительно 0,20 дюйма (0,51 см). Предпочтительно, чтобы зигзагообразная группа содержала 22 измерительных электрода (11×2) и позволяла осуществлять 21 измерение разностей потенциалов по диагоналям.
На фигуре 2 не показано, но каждый измерительный электрод 6 подключен к измеряющему напряжение средству, предназначенному для измерения указанных разностей потенциалов между указанными измерительными электродами. Три компоновки с использованием дифференциальных усилителей показаны на фигурах с 3а по 3с. Во-первых, на фигуре 3а разности потенциалов могут быть измерены по диагональным направлениям. Во-вторых, на фигуре 3b для обеспечения избыточности разности потенциалов могут быть измерены по трем направлениям. В-третьих, на фигуре 3с потенциалы измерительных электродов могут быть измерены относительно общего опорного, предпочтительно относительно среднего потенциала электродов, а разность потенциалов между измерительными электродами может быть вычислена при отдельной обработке сигналов. Как известно из уровня техники, выходные сигналы этих усилителей могут быть дискретизированы параллельно или последовательно и преобразованы из аналоговой формы в цифровую дискретизирующими/преобразующими блоками. В свою очередь, предпочтительно, чтобы выходной сигнал блока обрабатывался средством обработки данных. Это средство формирует изображение удельного сопротивления стенки ствола скважины на основе пикселов, то есть на основе вычисленных точек 7 измерения.
На фигуре 4 представлен первый способ вычисления удельного сопротивления по результатам измерений разностей потенциалов между измерительными электродами путем использования устройства согласно изобретению. В этом варианте осуществления каждая точка 7 измерения (в которой должно быть вычислено удельное сопротивление пласта) расположена в середине вертикальной медианной линии треугольника, образованного элементарной группой из трех измерительных электродов 6, среди которых два из них из одного и того же ряда, а один из них из другого ряда.
Разности потенциалов измеряют по диагональным направлениям, то есть между соседними измерительными электродами первого и второго рядов. На самом деле также достаточно измерить разность потенциалов по любым двум направлениям в каждом треугольнике измерительных электродов, поскольку третье значение может быть вычислено. В качестве альтернативы, как уже пояснялось, для обеспечения избыточности все три разности потенциалов могут быть измерены в каждом треугольнике.
В этом случае вертикальную составляющую электрического поля вычисляют, как указано ниже:
где dVyi - вычисленное значение dV по вертикали;
Vi и т.д. - потенциалы на измерительных электродах; и
δVi и δVi+1 - измеренные разности δV потенциалов по диагоналям.
Удельное сопротивление в точке 7 измерения в центре каждого треугольника пропорционально dVyi.
Поэтому, если полное электрическое поле является вертикальным, удельное сопротивление задается уравнением:
где А - геометрический коэффициент, зависящий от разнесения питающего и возвратного электродов, 4 и 5; и
I - ток, протекающий через пласт.
В этом способе путем использования n+2 измерительных электродов совместно с результатами n+1 измерения разностей потенциалов обеспечиваются n точек измерения удельного сопротивления. По сравнению с группой из двух выровненных рядов одинакового размера и с одним и тем же числом измерительных электродов из предшествующего уровня техники в этой компоновке почти удвоены выборки результатов измерений по горизонтали и также уменьшено разнесение электродов по вертикали, и тем самым повышено разрешение по вертикали.
Когда границы слоев пласта наклонены относительно горизонтали, электрический ток, протекающий в пласте, отклоняется от вертикали. В таком случае желательно вычислять полное электрическое поле в виде вектора, а не только вертикальную составляющую. При использовании полного поля повышается отношение сигнала к шуму и более точно локализуются границы. Знание направления поля и ориентации границ слоев пласта обеспечивает возможность дополнительного анализа, который может повысить точность измерения удельного сопротивления.
Поэтому в соответствии со способом исследования стенки пласта согласно изобретению горизонтальная составляющая электрического поля добавляется к вертикальной составляющей.
Горизонтальная составляющая электрического поля задается уравнением:
где dVxi - разность потенциалов по горизонтальному направлению, задается уравнением:
Полное поле представляет собой векторную сумму горизонтальной и вертикальной составляющих. Однако из фиг.4 можно видеть, что две составляющие измеряются в различных местах. Вертикальная составляющая 7а измеряется в середине вертикальной медианной линии (то есть в том же самом месте, где находится вычисленная точка 7 измерения), тогда как горизонтальная составляющая 7b измеряется в центре горизонтальной стороны треугольника. Поэтому последовательные горизонтальные составляющие смещены по вертикали на +dy/2, -dy/2, +dy/2 и т.д. по сравнению с вертикальными составляющими и должны быть сдвинуты по глубине до вычисления полного поля.
В предположении, что ток является постоянным между глубинами +/-dy/2 (обоснованное предположение, если иметь в виду большой размер инжектирующих ток электродов по сравнению со смещением dy рядов по вертикали), полное поле вычисляется как
,
где символ подчеркивания обозначает векторную форму.
Поэтому удельное сопротивление для каждой точки 7 измерения на месте i (обозначим как 7i) задается уравнением:
где |Ei| - величина вектора .
На самом деле вследствие шероховатости или отрыва опорной пластины или изменений тока, подаваемого с электронной аппаратуры, ток между глубинами +/-dy/2 может изменяться. Значение Е пропорционально I в любом фиксированном месте, поэтому Е будет изменяться при изменениях I. Для точного вычисления полного поля и удельного сопротивления предпочтительно нормировать составляющие поля относительно токов на глубине измерения следующим образом:
На фигуре 5 представлен второй вариант осуществления способа согласно изобретению. Вычисление вертикальной составляющей в уравнении (3) включает в себя линейную интерполяцию между Vi-1 и Vi+1. Для исключения этой интерполяции и, следовательно, повышения разрешения по горизонтали вертикальной составляющей можно объединить результаты измерений, выполненных на трех глубинах, разнесенных друг от друга на смещение dy электродов по вертикали, для образования виртуальной группы, показанной на фигуре 5.
Способ включает в себя измерение потенциалов измерительных электродов путем использования любого из трех способов, которые были пояснены ранее. Этот способ дополнительно включает в себя следующие этапы:
- вычисление нормированных значений Vi/I с учетом изменяющегося тока между глубинами;
- вычисление среднего значения Vi/I отдельно как для верхнего, так и для нижнего рядов электродов относительно опорного значения;
- повторение предшествующих этапов для трех глубин, d+dy, d и d-dy, отстоящих друг от друга на величину смещения dy по вертикали.
На фиг.5 дисковые электроды на глубине d-dy показаны штрихпунктирными линиями, они же на глубине d сплошными и они же на глубине d+dy пунктирными линиями.
Затем должна быть добавлена постоянная к значениям Vi/I на глубине d+dy, чтобы установить среднее значение V/I верхнего ряда на глубине d+dy равным среднему значению V/I нижнего ряда на глубине d. Кроме того, постоянную добавляют к значениям Vi/I на глубине d-dy, чтобы установить среднее значение V/I нижнего ряда на глубине d-dy равным среднему значению верхнего ряда на глубине d. На этих двух этапах образуют два виртуальных ряда измерительных электродов со смещением dx/2 по горизонтали и смещением dy по вертикали. В этом варианте осуществления изобретения виртуальные ряды являются такими, что каждый из измерительных электродов первого ряда обращен к измерительному электроду второго ряда.
Далее в соответствии с этим вариантом осуществления вычисляют разности dVy/I по вертикали между вычисленными значениями Vi/I в двух рядах, образованных объединением результатов измерений. Затем нормированное электрическое поле вычисляют следующим образом:
Горизонтальную составляющую нормированного электрического поля вычисляют тем же самым путем, поясненным при обращении к первому варианту осуществления способа согласно изобретению. Затем в первом примере эту горизонтальную составляющую сдвигают по глубине до векторного суммирования с вертикальной составляющей. В этом случае каждая точка измерения обращена к каждому измерительному электроду и смещена по вертикали от указанного измерительного электрода на половину расстояния dy по вертикали между двумя рядами. Во втором примере имеется вертикальная составляющая электрического поля, которую сдвигают по глубине до уровня горизонтальной составляющей перед векторным суммированием с указанной горизонтальной составляющей. В этом случае каждая точка измерения находится на месте каждого измерительного электрода.
В варианте осуществления изобретения формируют изображение с взятием выборок по вертикали при смещении измерительных электродов по вертикали на dy, которое характеризует разрешение по вертикали. В соответствии с известной теорией выборок предпочтительно, чтобы выборки брались по вертикали с интервалом dy/2 или меньше. Если интервал выборок по вертикали составляет dy/2, то образуются два независимых пересекающихся набора измерений. Первый набор будет при глубинах d, d-dy, d-2dy и т.д. и второй набор при d-dy/2, d-3dy/2 и т.д., где d - глубина, на которой начинается каротажная диаграмма.
В предпочтительном третьем варианте осуществления способа согласно изобретению, схематически поясняемом со ссылкой на фигуру 6, составляющие электрического поля по двум различным направлениям определяют в точках измерения, расположенных на середине каждой линии, соединяющей два соседних измерительных электрода, находящихся в разных рядах. Этим обеспечивается возможность определения в точках измерения вертикальной и горизонтальной составляющих электрического поля и, следовательно, полного электрического поля.
Измеряют разности потенциалов между двумя соседними измерительными электродами, находящимися в разных рядах. Каждая разность потенциалов дает по существу электрическое поле по направлению линии, соединяющей соседние электроды.
При движении поперек группы направления измерений чередуются между ϕ 180-ϕ, где ϕ=tg-1(2dy/dx). Соответственно δVi и δUi характеризуют разность потенциалов по направлениям ϕ и 180-ϕ в каждой точке 7i измерения независимо от того, осуществляется или нет непосредственное измерение указанной разности потенциалов.
Как можно видеть из фигуры 6, для точки 72 измерения, где δVi(δV2) измеряют непосредственно с помощью измеряющего потенциал средства из устройства согласно изобретению, отсутствует измерение δUi(δU2). Однако значение для δU2 может быть получено по непосредственным измерениям δUi-1(δU1) и δUi+1(δU3) в соседних точках 71 и 73 измерения, соответственно, с помощью метода интерполяции, описываемого ниже.
В таком случае полное поле (то есть составляющие Exi и Eyi по осям x и y) в точке 7i измерения можно вычислить из:
где D - расстояние по диагонали между соседними измерительными электродами из разных рядов.
Это дает:
откуда может быть получено как .
Точно так же, если в некоторой другой точке 7j измерения отсутствует результат непосредственного измерения для δVj, интерполированное значение может быть получено на основании близлежащих непосредственных измерений δVj-1 и δVj+1. В этом случае полное электрическое векторное поле может быть получено во всех средних точках каждой из линий, соединяющих измерительные электроды из одного ряда с соседними электродами из другого ряда.
Поэтому в этом предпочтительном способе согласно изобретению требуется получать δUi на основании δUi-1 и δUi+1 путем интерполяции. Если электрическое поле примерно постоянное в окрестности точки i измерения, то δUi можно получить по δUi-1 и δUi+1 путем простого арифметического усреднения. В случае границы между двумя слоями пласта с большим контрастом удельного сопротивления, находящимися рядом, как показано на фиг.7, электрическое поле не будет постоянным. На фигуре 7 серыми линиями показаны линии протекания электрического тока в окрестности границы АВ слоев между материалом с низким удельным сопротивлением ниже нее и материалом с высоким удельным сопротивлением выше нее. Пунктирные темные линии проходят по траекториям точек 1, 2, 3 измерения, когда опорную пластину перемещают по вертикали вверх поперек границы. В этом случае простое усреднение работать не будет.
На фигуре 8 обычными линиями представлены кривые δU1,2,3, которые измерены в этих точках измерения в соответствии с законом Ома:
где ρ - удельное сопротивление; и
Jx и Jy - плотности тока по направлениям x и y.
Штрихпунктирной линией показано арифметическое среднее δU1 и δU3. Очевидно, что последнее является плохим приближением к кривой δU2.
В таких ситуациях этап интерполяции, основанный на принципе согласования с глубиной, дает лучший результат.Что касается фигуры 8, то этот этап интерполяции обеспечивает получение соответствующих точек между δU1 и δU2, приводя в результате к обычной кривой δU2.
Хотя очевидно, что этот этап интерполяции будет работать в случае линейных границ, он имеет намного более общую применимость. Поскольку при упомянутой выше процедуре осуществляется интерполяция между двумя кривыми, удаленными на расстояние dx (расстояние по горизонтали между двумя рядами), то она будет давать хороший результат всякий раз, когда край неоднородности хорошо аппроксимируется прямой линией на протяжении расстояния dx, которое обычно составляет несколько миллиметров.
В случае, когда ток изменяется между глубинами, для которых осуществляют согласование, поля должны быть разделены на ток до выполнения упомянутой выше процедуры, уже поясненной в настоящей заявке выше.
На фигуре 9 представлен пример ствола скважины, в котором удельное сопротивление пласта измеряется путем использования устройства согласно изобретению. В соответствии со способом изобретения каждую опорную пластину 3 устройства прижимают к глинистому слою 1, покрывающему стенку ствола скважины. Затем питающим 4 и возвратным 5 электродами инжектируется ток в пласт 2. Разности потенциалов между измерительными электродами 6 измеряют так, как пояснялось в одном из вариантов осуществления согласно способу изобретения, при этом указанные разности потенциалов характеризуют удельное сопротивление пласта.
Устройство согласно изобретению и связанный с ним способ исследования стенки ствола скважины, заполненного непроводящим буровым раствором, обладают многими преимуществами. Во-первых, по сравнению с обычной двухрядной компоновкой в зигзагообразной компоновке уплотняется размещение электродов по вертикали, что повышает разрешение по вертикали. Во-вторых, по сравнению с трехрядной компоновкой, известной из предшествующего у
 
                         
                            


