Обвязывающая машина с усовершенствованным устройством вытягивания, отвода и натягивания ленты
Иллюстрации
Показать всеОбвязывающая машина, предназначенная для обвязывания упаковки лентой, содержит устройство вытягивания, отвода и натяжения ленты, содержащее двигатель и главное ведущее колесо. Вокруг колеса лента частично обматывается для перемещения ее в обоих направлениях. Машина содержит два передаточных механизма, предназначенные для передачи движения от двигателя главному ведущему колесу и содержащие первый и второй передаточные механизмы, управляющее устройство. Первый передаточный механизм вызывает вращение главного ведущего колеса с первой скоростью и вспомогательного ведущего колеса, прижатого к главному ведущему колесу с помещением между ними ленты вблизи зоны ввода ленты на главное колесо для выполнения натяжения ленты. Второй передаточный механизм вызывает вращение главного ведущего колеса в обоих направлениях со второй скоростью, превышающей первую скорость, для выполнения вытягивания и отвода ленты при расположении вспомогательного ведущего колеса на расстоянии от главного ведущего колеса. Управляющее устройство способно поочередно приводить в действие первый или второй передаточный механизм для реализации в быстрой последовательности вытягивания, отвода и натяжения ленты. Технический результат направлен на создание обвязочной машины с усовершенствованным устройством вытягивания, отвода и натяжения ленты, обеспечивающим достижение высоких надежности, качества и скорости обвязывания упаковок лентой. 11 з.п. ф-лы, 5 ил.
Реферат
Настоящее изобретение относится к обвязывающей машине, предназначенной для обвязывания упаковки пластиковой полосой или лентой. В частности, настоящее изобретение относится к усовершенствованному устройству для вытягивания, отвода и натяжения ленты в машине.
Известно, что в обвязывающих машинах устройство вытягивания, натяжения и отвода ленты является наиболее важным компонентом для достижимых эксплуатационных характеристик. Действительно, скорость, с которой выполняются различные операции, правильное позиционирование ленты или достижение необходимого усилия тяги замкнутой ленты зависят от этого устройства. Например, важно поддерживать натяжение ленты, установленное перед началом операций обвязывания, независимо от вида и размеров упаковки, подлежащей обвязыванию. Кроме того, любая складка или изгиб в ленте, образованные во время операций вытягивания или натяжения, вызывают дефект обвязывания или, что еще хуже, заклинивание машины.
Известна обвязывающая машина, содержащая устройство вытягивания, отвода и натяжения ленты, содержащее основной двигатель и главное ведущее колесо, вокруг которого лента частично обматывается для перемещения ее в обоих направлениях (см., например, Европейский патент 1249397. В данной машине главное ведущее колесо постоянно соединено с основным двигателем и приводится в движение непосредственно данным двигателем, при этом скорость и направление вращения главного колеса зависят непосредственно от скорости и направления вращения двигателя для выполнения натяжение или отвода обвязывающей ленты.
При вытягивании ленты выходной вал двигателя соединен на его конце, противоположном концу, соединенному с основным колесом, через приводной ремень и понижающую передачу со вторичным двигателем, обычно используемым для привода вала для уплотнения, для вращения основного двигателя с низкой скоростью. В известной машине вторичный двигатель и понижающая передача являются тормозным механизмом, действующим снаружи на основной двигатель для его замедления до скорости, пригодной для выполнения вытягивания обвязывающей ленты.
Данная известная машина не обеспечивает необходимых надежности, качества и скорости обвязывания упаковок лентой.
Целью настоящего изобретения является создание обвязывающей машины с усовершенствованным устройством вытягивания, отвода и натяжения ленты, обеспечивающим достижение высоких надежности, качества и скорости обвязывания упаковок лентой.
Указанная цель достигается тем, что обвязывающая машина для обвязывания упаковки лентой, содержащая устройство вытягивания, отвода и натяжения ленты, содержащее двигатель и главное ведущее колесо, вокруг которого лента частично обматывается для перемещения ее в обоих направлениях, согласно изобретению содержит два выбираемых передаточных механизма, предназначенные для передачи движения от двигателя главному ведущему колесу и содержащие первый передаточный механизм, вызывающий вращение главного ведущего колеса с первой скоростью и вспомогательного ведущего колеса, прижатого к главному ведущему колесу с помещением между ними ленты вблизи зоны ввода ленты на главное ведущее колесо для выполнения натяжения ленты, и второй передаточный механизм, вызывающий вращение главного ведущего колеса в обоих направлениях со второй скоростью, превышающей первую скорость, для выполнения вытягивания и отвода ленты при расположении вспомогательного ведущего колеса на расстоянии от главного ведущего колеса, и управляющее устройство, способное поочередно приводить в действие первый или второй передаточные механизм для реализации в быстрой последовательности вытягивания, отвода и натяжения ленты.
Первый передаточный механизм может содержать рычаг, на котором смонтировано вспомогательное ведущее колесо и который способен двигаться при получении команды от средства управления рычагом между первым, нерабочим, положением, в котором вспомогательное ведущее колесо отодвинуто от главного колеса, и вторым, рабочим, положением, в котором вспомогательное ведущее колесо прижато к главному ведущему колесу.
Вспомогательное ведущее колесо для его вращения может быть присоединено к передающему движение средству и имеет вал, соединенный с первым зубчатым колесом, способным зацепляться с вращательным зубчатом колесом для вращения главного ведущего колеса при перемещении рычага в рабочее положение. Передающее движение средство вспомогательного ведущего колеса может содержать второе зубчатое колесо, соединенное с валом вспомогательного ведущего колеса и способное зацепляться с приводным зубчатым колесом.
Первая пара, образованная первым зубчатым колесом вспомогательного ведущего колеса и вращательным зубчатым колесом для вращения главного ведущего колеса, может иметь модуль зубьев, который меньше, чем модуль зубьев второй пары, образованной из второго зубчатого колеса вспомогательного ведущего колеса и приводного зубчатого колеса для удерживания зубьев второй пары в контакте даже при перемещении рычага в его нерабочее положение.
Средство управления рычагом может содержать кулачковый механизм для толкания рычага к его рабочему положению с заданной регулируемой силой и может дополнительно содержать электромагнитное приспособление для выполнения первого частичного перемещения из нерабочего положения в рабочее положение до зацепления зубьев первого зубчатого колеса с зубьями вращательного зубчатого колеса главного ведущего колеса.
Управляющее устройство может последовательно формировать первоначальную команду для электромагнитного приспособления на выполнение зацепляющего перемещения зубьев первого зубчатого колеса с зубьями вращательного колеса главного ведущего колеса и последующую команду для кулачкового механизма на прижатие вспомогательного ведущего колеса к главному ведущему колесу с заданной силой.
Второй передаточный механизм может содержать два последовательно расположенных зубчатых колеса, одно из которых способно зацепляться с вращательным зубчатым колесом главного ведущего колеса, и два зубчатых колеса способны приводиться в действие через соответствующие муфты, сцепляемые по команде для обеспечения вращения главного ведущего колеса в одном или другом направлении в зависимости от сцепленной муфты.
Машина может содержать еще одно вспомогательное колесо, способное с заданной силой прижимать ленту к главному ведущему колесу в положении вблизи зоны выпуска ленты с главного ведущего колеса для создания заданного тягового усилия на ленте при вытягивании.
Машина может содержать еще одно, промежуточное, вспомогательное колесо, способное с заданной силой прижимать ленту к главному ведущему колесу в промежуточном положении по траектории изгиба ленты на главном ведущем колесе для создания заданного тягового усилия на ленте при отводе. Промежуточное вспомогательное колесо может иметь датчик остановки, способный сигнализировать управляющему устройству об остановке колеса, вызванной проскальзыванием ленты на главном ведущем колесе.
Для лучшего пояснения настоящего изобретения и его преимуществ по сравнению с предшествующим уровнем техники ниже описан возможный вариант осуществления изобретения, только в качестве не ограничивающего примера, со ссылками на приложенные чертежи, на которых изображено следующее:
фиг.1 схематично изображает обвязывающую машину согласно настоящему изобретению;
фиг.2 изображает в увеличенном масштабе вид устройства вытягивания, отвода и натяжения ленты в машине, показанной на фиг.1;
фиг.3, 4 и 5 показывают варианты первого и второго передаточных механизмов машины согласно изобретению.
Обвязывающая машина 10 содержит катушку 11 для подачи ленты 12, устройство 13 вытягивания, отвода и натяжения ленты и устройства 14, 15 для захвата, сварки и обрезки ленты.
Захватное, сварочное и обрезающее устройства хорошо известны специалистам в данной области техники и поэтому не обсуждены далее и не показаны на чертежах. В частности, может быть выбрано сварочное устройство, пригодное для сварки конкретного типа используемой полипропиленовой ленты, поддающейся горячей сварке. Эти устройства можно приводить в действие синхронно, например, посредством подходящей известной передачи с кулачковым механизмом.
На фиг.2 более подробно показано устройство 13 вытягивания, отвода и натяжения ленты. Устройство 13 содержит впускное отверстие 16 для прохождения ленты из подающей катушки и выпускное отверстие 17 для направления ленты в упаковочную зону, где расположена упаковка или пакет, подлежащий обвязыванию лентой.
Устройство 13 содержит главное ведущее колесо 18 для управления лентой, вокруг которого лента изгибается в относительно большую дугу (в показанном варианте осуществления - приблизительно 180°) на своем пути от впускного отверстия 16 до выпускного отверстия 17. Впускное колесо 19 направляет ленту дугой приблизительно в 90° от впускного отверстия к главному колесу 18, в то время как тангенциальная направляющая 20 направляет ленту от главного колеса к выпускному отверстию 17.
Устройство также содержит первое вспомогательное ведущее колесо 21, расположенное вблизи зоны впуска ленты на главном колесе 18, второе вспомогательное колесо 22 для выпуска, расположенное вблизи зоны выпуска ленты с главного колеса, и третье вспомогательное промежуточное колесо 23, расположенное в промежуточном положении на траектории ленты вокруг главного колеса. Промежуточное колесо 23 содержит датчик вращения, который, как разъяснено ниже, направляет сигнал управляющему устройству 50, которое управляет операциями машины.
Вспомогательное выпускное колесо 22 и промежуточное колесо 23 работают вхолостую и постоянно придвинуты к главному колесу 18 (предпочтительно под давлением, регулируемым кулачком), в то время как вспомогательное ведущее колесо 21 подвижно для его перемещения ближе к главному колесу 18 или дальше от него. Для этой цели вспомогательное колесо 21 смонтировано на рычаге 24, установленном на шарнире 25 и имеющем управляющий конец 26, приводимый в действие кулачковым механизмом 27 и электромагнитом 28, как объяснено ниже.
Обвязывающая машина содержит первый и второй передаточные механизмы для управления движением главного ведущего колеса 18 и вспомогательного ведущего колеса 21, которые подробно описаны ниже.
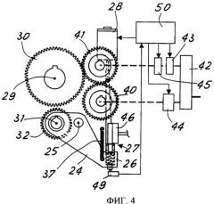
Колесо 18 (фиг.3) прикреплено шпоночным соединением к валу 29, несущему зубчатое колесо 30, и колесо 21 прикреплено шпоночным соединением к валу 31, опирающемуся на рычаг 24 и несущему первое зубчатое колесо 32 и второе зубчатое колесо 33. Первое зубчатое колесо 32 находится в плоскости зубчатого колеса 30 главного колеса 18, а второе зубчатое колесо 33 находится в плоскости приводного зубчатого колеса 34, приводимого в действие двигателем 36. Это также показано на фиг.4 и 5 соответственно, на которых схематично показаны передачи в двух плоскостях.
Как видно на фиг.4 (где показана передача, в сущности, в плоскости зубчатых колес 30, 32), когда рычаг 24 находится в нерабочем положении, т.е. когда колесо 21 колесо отодвинуто от главного колеса 18, по меньшей мере, пара зубчатых колес 30, 32 взаимно расцеплена для предотвращения передачи движения главному колесу 18 двигателем 36. Но когда рычаг 24 находится в рабочем положении, т.е. когда колесо 21 придвинуто к главному колесу 18, пары зубчатых колес 30, 32 и 33, 34 зацеплены и движение двигателя 36 передается главному колесу 18, которое таким образом поворачивается синхронно с зубчатым колесом 32. Передача движения от двигателя 36 колесу 18 осуществляется таким образом, чтобы иметь относительно медленное вращение колеса 18, но с такой же мощностью и с той же окружной скоростью, что и у вспомогательного колеса 21.
Как понятно при сравнении фиг.4 и 5, зубчатая пара 30, 32 предпочтительно имеет зубья с модулем (например, модуль 2), меньшим, чем модуль зубьев зубчатой пары 33, 34 (например, модуль 3), с тем, чтобы, даже когда рычаг 24 находится в нерабочем положении, зубчатая пара 33, 34 оставалась слегка зацепленной для удержания вала 31 в синхронном вращении.
Для перемещения рычага 24 кулачковый механизм 27 содержит кулачковый толкатель 38, неподвижно прикрепленный к рычагу посредством пружины 39 сжатия. Вращением соответствующего кулачка 46 (посредством соответствующего активирующего устройства, не показанного на чертеже) зубчатые колеса 30, 32 вводят в зацепление и придвигают вспомогательное колесо 21 к главному колесу 18 с помещением между ними ленты и с относительно большой силой, обеспеченной пружиной 39, которую можно соответствующим образом регулировать. Пружина 37 возврата гарантирует возврат рычага в нерабочее положение при освобождении кулачка.
Рычаг 24 также можно перемещать в рабочее положение посредством электромагнита 28, присоединенного к рычагу посредством удлиненного паза 48, имеющего соответствующие размеры. Как разъяснено ниже, управление электромагнитом 28 позволяет получать первое быстрое перемещение рычага в рабочее положение для введения в зацепление медленно движущиеся зубья зубчатого колеса 32 с зубьями зубчатого колеса 30. Датчик 49, например микровыключатель, сигнализирует о перемещении рычага, соответствующем зацеплению зубчатых колес.
В дополнение к первому передаточному механизму, управляемому вышеописанным колесом 18, машина содержит второй передаточный механизм, который двигает главное колесо 18 в обоих направлениях с более высокой скоростью, когда первый механизм отсоединен.
Как видно на фиг.4, второй передаточный механизм в предпочтительной реализации содержит группу из двух идентичных зубчатых колес 40, 41, которые зацепляются с зубчатым колесом 30, выполненным за одно целое с главным колесом 18. Как схематично показано на фиг.4, каждое зубчатое колесо из группы имеет свой собственный вал, соединенный с передающим движение средством 42 (например, ведущей к тому же двигателю 36) через соответствующие муфты 43 и 44, сцепляемые по команде. Зубчатое колесо 41 также имеет электромагнитный тормоз 45.
Таким способом, приводя в действие какую-либо из муфт 43, 44, на главное колесо 18 подается команда вращаться в одном или в другом направлении, без необходимости реверсирования вращения двигателя.
Во время работы обвязывающей машины на первой стадии ленту подают вперед для обеспечения обматывания упаковки, подлежащей обвязыванию. Для этой цели рычаг 24 удерживают в его нерабочем положении, так что первый низкоскоростной передаточный механизм остается неработающим, и управляющее устройство 50 сцепляет муфту 43. Главное колесо 18, следовательно, вращается по часовой стрелке с относительно высокой скоростью, как показано на фиг.2, и подает ленту из катушки в зону обвязывания. Вспомогательное колесо 22 вблизи выпускной зоны главного колеса 18 отрегулировано так, чтобы прикладывать давление ленты 12 к главному колесу 18 для получения необходимого тягового усилия ленты 12 из катушки 11.
По завершении стадии подачи управляющее устройство 50 деактивирует муфту 43 и сцепляет муфту 44, возможно, после торможения движения колеса 18 посредством тормоза 45. Вращение главного колеса 18, следовательно, меняет направление на противоположное, и лента 12 снова отводится с той же относительно высокой скоростью для ее прилегания к упаковке.
На этой стадии вспомогательное колесо 22 оказывает малое влияния, так как оно находится на выпускной стороне ленты 12 на главном колесе 18, и сила тяги, по существу, определяется давлением второго вспомогательного колеса 23. Тяга установлена так, что когда лента 12 отведена достаточно для обеспечения плотного контакта с упаковкой, она начинает скользить по главному колесу 18. Датчик на колесе 23 отслеживает остановку колеса 23 и сигнализирует об этом управляющему устройству 50. Управляющее устройство 50 деактивирует обе муфты 43, 44 для блокировки высокоскоростного второго передаточного механизм, возможно, даже с коротким торможением тормозом 45 для устранения инерции главного колеса.
После этого управляющее устройство 50 дает электромагниту 28 команду зацепить зубчатые колеса 30, 32. Как только датчик 49 сигнализирует выполнение первого перемещения зубьев в зацеплении, кулачковый механизм 27 приводится в действие и придвигает колесо 21 к главному колесу 18 с заданным относительно высоким давлением. Благодаря только что вошедшей в зацепление зубчатой передаче главное колесо продолжает вращаться против часовой стрелки, но с более низкой скоростью. Лента таким образом протягивается с пониженной скоростью и с большей силой благодаря объединенному действию главного колеса 18 и вспомогательного колеса 21 для осуществления правильного натяжения ленты 12.
Когда правильное натяжение ленты 12 достигнуто (рассчитанным по времени управлением состоянием нового скольжения ленты по главному колесу, его отслеживанием или даже управлением моментом, передаваемым двигателем), цикл натяжения завершен и сварочное и обрезающее устройства для ленты, обернутой вокруг упаковки, приводятся в действие. Таким образом, машина готова для еще одного обвязывания.
Теперь ясно, что поставленные цели достигнуты предоставлением обвязывающей машины с устройством вытягивания, отвода и натяжения ленты, обеспечивающим высокие скорости на стадиях вытягивания и натяжения ленты и точное и эффективное тяговое усилие ленты на всех стадиях обвязывания. Все это осуществлено простым, прочным, надежным и экономичным механизмом.
С использованием машины по настоящему изобретению обеспечивается возможность, например, реализовать весь цикл обвязывания за 3 секунды.
Вышеизложенное описание варианта осуществления с применением инновационных принципов настоящего изобретения дано в качестве неограничивающего примера указанных принципов в рамках объема эксклюзивных прав, заявленных здесь. Например, вспомогательное колесо 21 может также иметь зубчатую поверхность, предлагая повышенную силу тяги. Машина также может содержать другие известные устройства или приспособления в данном типе машины.
1. Обвязывающая машина, предназначенная для обвязывания упаковки лентой и содержащая устройство вытягивания, отвода и натяжения ленты, содержащее двигатель и главное ведущее колесо, вокруг которого лента частично обматывается для перемещения ее в обоих направлениях, отличающееся тем, что содержит два передаточных механизма, предназначенных для передачи движения от двигателя главному ведущему колесу и содержащих первый передаточный механизм, вызывающий вращение главного ведущего колеса с первой скоростью и вспомогательного ведущего колеса, прижатого к главному ведущему колесу с помещением между ними ленты вблизи зоны ввода ленты на главное ведущее колесо для выполнения натяжения ленты, и второй передаточный механизм, вызывающий вращение главного ведущего колеса в обоих направлениях со второй скоростью, превышающей первую скорость, для выполнения вытягивания и отвода ленты при расположении вспомогательного ведущего колеса на расстоянии от главного ведущего колеса, и управляющее устройство, способное поочередно приводить в действие первый и второй передаточный механизм для реализации в быстрой последовательности вытягивания, отвода и натяжения ленты.
2. Машина по п.1, отличающаяся тем, что первый передаточный механизм содержит рычаг, на котором смонтировано вспомогательное ведущее колесо и который способен двигаться по получении команды от средства управления рычагом между первым, нерабочим, положением, в котором вспомогательное ведущее колесо отодвинуто от главного колеса, и вторым, рабочим, положением, в котором вспомогательное ведущее колесо прижато к главному ведущему колесу.
3. Машина по п.2, отличающаяся тем, что вспомогательное ведущее колесо для его вращения присоединено к передающему движение средству и имеет вал, соединенный с первым зубчатым колесом, способным зацепляться с вращательным зубчатым колесом для вращения главного ведущего колеса при перемещении рычага в рабочее положение.
4. Машина по п.3, отличающаяся тем, что передающее движение средство вспомогательного ведущего колеса содержит второе зубчатое колесо, соединенное с валом вспомогательного ведущего колеса и способное зацепляется с приводным зубчатым колесом.
5. Машина по п.4, отличающаяся тем, что первая пара, образованная первым зубчатым колесом вспомогательного ведущего колеса и вращательным зубчатым колесом для вращения главного ведущего колеса, имеет модуль зубьев, который меньше, чем модуль зубьев второй пары, образованной из второго зубчатого колеса вспомогательного ведущего колеса и приводного зубчатого колеса для удерживания зубьев второй пары в контакте, даже при перемещении рычага в его нерабочее положение.
6. Машина по п.3, отличающаяся тем, что средство управления рычагом содержит кулачковый механизм для толкания рычага к его рабочему положению с заданной регулируемой силой.
7. Машина по п.6, отличающаяся тем, что средство управления рычагом дополнительно содержит электромагнитное приспособление для выполнения первого частичного перемещения из нерабочего положения в рабочее положение до зацепления зубьев первого зубчатого колеса с зубьями вращательного зубчатого колеса главного ведущего колеса.
8. Машина по п.7, отличающаяся тем, что управляющее устройство способно последовательно формировать первоначальную команду для электромагнитного приспособления на выполнение зацепляющего перемещения зубьев первого зубчатого колеса с зубьями вращательного колеса главного ведущего колеса и последующую команду для кулачкового механизма на прижатие вспомогательное ведущего колеса к главному ведущему колесу с заданной силой.
9. Машина по п.6, отличающаяся тем, что второй передаточный механизм содержит два последовательно расположенных зубчатых колеса, одно из которых способно зацепляться с вращательным зубчатым колесом главного ведущего колеса, и два зубчатых колеса способны приводиться в действие через соответствующие муфты, сцепляемые по команде для обеспечения вращения главного ведущего колеса в одном или другом направлении в зависимости от сцепленной муфты.
10. Машина по п.1, отличающаяся тем, что содержит еще одно вспомогательное колесо, способное с заданной силой прижимать ленту к главному ведущему колесу в положении вблизи зоны выпуска ленты с главного ведущего колеса для создания заданного тягового усилия на ленте при вытягивании.
11. Машина по п.1, отличающаяся тем, что содержит еще одно, промежуточное, вспомогательное колесо, способное с заданной силой прижимать ленту к главному ведущему колесу в промежуточном положении по траектории изгиба ленты на главном ведущем колесе для создания заданного тягового усилия на ленте при отводе.
12. Машина по п.11, отличающаяся тем, что промежуточное вспомогательное колесо имеет датчик остановки, способный сигнализировать управляющему устройству об остановке колеса, вызванной проскальзыванием ленты на главном ведущем колесе.



