Бесшатунный механизм для поршневой машины
Иллюстрации
Показать всеИзобретение относится к машиностроению и может быть использовано в двигателях внутреннего сгорания. Бесшатунный механизм содержит кинематически связанные между собой первый и второй кривошипы, штоки поршней и блок шестерен. Первый кривошип выполнен с тремя шейками, две крайние из которых соединены со штоками, а третья, средняя, шейка установлена в направляющей. Второй кривошип установлен на коренных шейках. Блок шестерен состоит из шестерен наружного зацепления с передаточным отношением 1:1, соединенных между собой тягой, связанной шарнирно с шатунной шейкой второго кривошипа и с коренной шейкой первого кривошипа. Изобретение направлено на уменьшение расхода энергии при работе механизма. Предложенная схема позволяет увеличить количество рабочих цилиндров и, следовательно, повысить выходную мощность бесшатунного механизма с уменьшением массы двигателя. 2 ил.
Реферат
Изобретение относится к машиностроению и может быть использовано в двигателях внутреннего сгорания.
Известен двигатель внутреннего сгорания с бесшатунным механизмом преобразования возвратно-поступательного движения поршней во вращательное движение рабочего вала со звездообразно расположенными цилиндрами, поршни которых попарно жестко связаны между собой штоками, с перемещением поршневых систем и связывающих их штоков по оси противолежащих цилиндров, при этом рабочий вал двигателя выполнен из двух частей с кривошипами, несущими подшипники для закрепления в них, на радиусе одной четверти хода поршней, крайних шеек коленчатого вала, снабжен соединительным валом, фиксирующим с помощью шестерен положение кривошипов обеих частей рабочего вала относительно друг друга /см. авт. св. СССР №118471, публ. 10.12.73 г./.
В данном механизме встречное вращение кривошипа и коленчатого вала в два раза больше, чем вращение в остальном механизме, что приводит к ограничению оборотов двигателя. Кроме того, коленчатый вал имеет сборную конструкцию, что снижает надежность конструкции. Особенностью конструкции является также и то, что в ней мертвая точка наличествует не только у поршней, но и совпадает с мертвой точкой всего механизма, т.е. все точки, передающие момент вращения, находятся на одной линии и плечо рычага кривошипов отсутствует.
Известен бесшатунный механизм для поршневой машины /см. авт. св. СССР, публ. 07.04.87 г. №1302051/, выбранный как наиболее близкий по своей технической сущности в качестве прототипа, содержащий кинематически связанные между собой первый и второй кривошипы, шток поршня и блок шестерен, причем первый из кривошипов соединен шарнирно со штоком, размещенным в направляющей, и второй кривошип коренной шейкой установлен на продольной оси штока, при этом блок шестерен выполнен в виде шестерен наружного зацепления с передаточным отношением 1:1, соединенных между собой тягой, один конец которой шарнирно связан с шатунной шейкой второго кривошипа, а другой - с коренной шейкой первого кривошипа, причем одна из шестерен наружного зацепления размещена на шатунной шейке второго кривошипа.
Данная конструкция бесшатунного механизма работает только при одном поршне и не позволяет обеспечить сборку многоцилиндрового бесшатунного механизма из-за наличия второго кривошипа, препятствующего установке второго поршня. Кроме того, мертвая точка наличествует не только у поршня, но и у самого бесшатунного механизма /все точки, передающие момент вращения, находятся на одной линии, т.е. плечо рычага кривошипа отсутствует/, что требует дополнительного расхода энергии на преодоление мертвой точки бесшатунного механизма.
В основу настоящего изобретения положена задача создания бесшатунного механизма с такой кинематической схемой, чтобы обеспечить при нулевой скорости поршня исключение мертвой точки в самом бесшатунном механизме, что позволяет уменьшить расход энергии при работе бесшатунного механизма, а также обеспечить увеличение количества рабочих цилиндров в механизме с уменьшением массы двигателя.
Указанная задача решается тем, что в бесшатунном механизме для поршневой машины, содержащем кинематически связанные между собой первый и второй кривошипы, шток поршня и блок шестерен, при этом блок шестерен выполнен в виде шестерен наружного зацепления с передаточным отношением 1:1, соединенных между собой тягой, один конец которой шарнирно связан с шатунной шейкой второго кривошипа, а другой - с коренной шейкой первого кривошипа, согласно изобретению бесшатунный механизм содержит дополнительно по меньшей мере один поршень со штоком, а первый кривошип выполнен с тремя шейками, две крайние из которых шарнирно связаны со штоками поршней, а третья, средняя, не связанная со штоками поршней, установлена в направляющей, расположенной на одной оси, проходящей через центры вращения шестерен.
Такое выполнение бесшатунного механизма позволяет обеспечить при нулевой скорости каждого из поршней исключить мертвую точку в самом бесшатунном механизме за счет образования плеча в момент нахождения поршней в мертвых точках, что уменьшает расход энергии в момент прохождения поршнями мертвой точки.
Кроме того, такая кинематическая схема механизма не препятствует введению в бесшатунный механизм еще одного и более поршней, что, в свою очередь, позволяет увеличить его выходную мощность и уменьшить массу двигателя.
Указанные выше и другие преимущества, а также особенности настоящего изобретения будут более понятными после рассмотрения приведенного ниже подробного описания, сопровождаемого чертежами, на которых:
фиг.1 изображает кинематическую схему бесшатунного механизма поршневой машины, согласно изобретению;
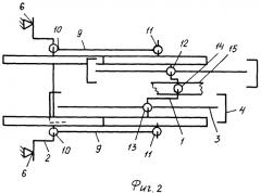
фиг.2 - то же, что на фиг.1, вид сверху.
Бесшатунный механизм содержит кинематически связанные между собой первый кривошип 1 /фиг.1, 2/ и второй кривошип 2, штоки 3 четырех поршней 4 и блок 5 /по стрелке/ шестерен. Первый кривошип 1 шарнирно соединен со штоками 3, а второй кривошип 2 установлен на коренных шейках 6. Блок 5 /по стрелке/ шестерен состоит из шестерен 7 и 8 наружного зацепления с передаточным отношением 1:1, соединенных между собой тягой 9, один конец которой шарнирно связан с шатунной шейкой 10 второго кривошипа 2, а другой - с коренной шейкой 11 первого кривошипа 1. Первый кривошип 1 выполнен с тремя шейками, две крайние шейки 12 и 13 связаны со штоками 3 поршней 4, а третья, средняя, шейка 14 установлена в направляющей 15, расположенной на одной оси, проходящей через центры 16 и 17 вращения шестерен 7 и 8. Шестерня 7 имеет точку вращения 16, а шестерня 8 имеет точку вращения 17. Зубчатое зацепление шестерен 7 и 8 находится в точке 18.
Работа бесшатунного механизма осуществляется следующим образом (рассмотрена на примере работы одного из поршней 4).
Поршень 4 передает движение через шток 3 на штоковую шейку 12 кривошипа 1 и далее на шейку 14, расположенную в направляющей 15, т.е. в момент мертвой точки поршня 4 имеется плечо рычага кривошипа 1, равное расстоянию между точками 12 и 14. Второе плечо, передающее момент вращения, равно расстоянию от точки 12 до точки 18 зацепления шестерен 7 и 8.
При движении поршня 4 от верхней мертвой точки к нижней мертвой точке шестерня 7 первого кривошипа 1 удерживается направляющей 15, тягой 9 и зубчатым зацеплением с шестерней 8 и вращается вокруг точки 16 по правильной окружности, передавая через точку 18 момент вращения на блок 5 через кривошип 2 на вал отбора мощности коренных шеек 6. Остальные поршни работают аналогичным образом.
Бесшатунный механизм для поршневой машины, содержащий кинематически связанные между собой первый и второй кривошипы, шток поршня и блок шестерен, при этом блок шестерен выполнен в виде шестерен наружного зацепления с передаточным отношением 1:1, соединенных между собой тягой, один конец которой шарнирно связан с шатунной шейкой второго кривошипа, а другой - с коренной шейкой первого кривошипа, отличающийся тем, что бесшатунный механизм содержит дополнительно по меньшей мере один поршень со штоком, а первый кривошип выполнен с тремя шейками, две крайние из которых шарнирно связаны со штоками поршней, а третья средняя, не связанная со штоками поршней, установлена в направляющей, расположенной на одной оси, проходящей через центры вращения шестерен.

