Предохранительное устройство системы перфорирования ствола скважины, система для перфорирования и способ управления системой для перфорирования
Иллюстрации
Показать всеИзобретение относится к нефтедобывающей промышленности, в частности к предохранительным устройствам системы для перфорирования ствола скважины. Технический результат - обеспечение безопасности при перфорировании скважин. Предохранительное устройство для обеспечения прерывания баллистической цепи в системе перфорирования. Предохранительное устройство содержит корпус, по существу, трубчатой формы, имеющий первый и второй концы и выполненный с возможностью его расположения в любом месте системы перфорирования. Устройство содержит первую и вторую баллистические секции в корпусе и третью баллистическую секцию, которая с возможностью вращения установлена в корпусе для перемещения между нейтральным положением и активированным положением посредством использования давления в скважине. При извлечении системы перфорирования из ствола скважины предохранительное устройство возвращает третью баллистическую секцию в его нейтральное положение. Дополнительно использовано устройство для постоянной нейтрализации третьей баллистической секции для обеспечения того, что при извлечении системы из ствола скважины не возникнет случайной детонации. 3 н. и 12 з.п. ф-лы, 6 ил.
Реферат
ПРЕДПОСЫЛКИ СОЗДАНИЯ ИЗОБРЕТЕНИЯ
ОБЛАСТЬ ТЕХНИКИ
Настоящее изобретение относится к предохранительному устройству системы для перфорирования ствола скважины.
ПРЕДШЕСТВУЮЩИЙ УРОВЕНЬ ТЕХНИКИ
Безопасность является существенной проблемой при перфорирующих операциях и более всего при перфорировании через насосно-компрессорные трубы, когда стреляющая головка сначала присоединяется к колонне перфоратора или когда стреляющая головка демонтируется с несдетонировавшей колонны перфоратора, которая была извлечена из ее положения в скважине. Присоединение или демонтаж стреляющей головки обычно осуществляется на полу буровой вышки, когда персонал находится вблизи оборудования, и если в это время возникнет детонация, это может привести к серьезному материальному ущербу и телесным повреждениям, включая смерть.
Одна из используемых техник безопасности заключается в установке трубы заданной длины без каких-либо изменений формы, например на 10 футов, на верх колонны перфоратора, до установки стреляющей головки. После осуществления такой процедуры колонна перфоратора находится под полом буровой вышки, когда устанавливается стреляющая головка. Если перфораторы сдетонируют при установке данной головки, опасности для жизни человека можно в некоторой степени избежать ввиду того, что персонал не находится непосредственно на линии огня перфораторов. Другая техника безопасности требует, чтобы два параметра, например механическое воздействие и давление, были достигнуты для детонации стреляющей головки. На поверхности, где устанавливается стреляющая головка, давление является, как правило, недостаточным для соответствия требуемому давлению, и стреляющие головки могут считаться безопасными, пока они находятся на поверхности.
В других системах безопасности используются технологии, когда стреляющая головка механически заблокирована до тех пор, пока система не будет погружена в скважину близко к зоне, подлежащей перфорированию. Эти системы известны как системы «активации в скважине» и могут включать в себя эвтектический материал, который является твердым при низких температурах и плавится при небольшом повышении температур. Эти эвтектические материалы выполняют функцию блокирования бойка взрывателя от соударения с детонатором на поверхности. Когда система погружается в скважину, однако эвтектический материал плавится и боек имеет свободный проход для удара по детонатору. Недостаток систем такого типа заключается в том, что после плавления эвтектического материала он вытекает из его первоначальной блокирующей полости. Таким образом, когда несдетонировавшая колонна перфоратора извлекается из скважины, путь бойка взрывателя к детонатору больше не будет заблокирован.
Другие способы обеспечения безопасности могут включать в себя использование технологий для прерывания баллистической цепи от стреляющей головки к колонне перфоратора. В одном из таких устройств, называемом «молотковым ограничителем», также используется эвтектический материал, как описано выше. Эвтектический материал расположен так, чтобы блокировать путь бойка взрывателя от удара по ударному детонатору. По мере ввода системы в скважину температура внизу скважины возрастает и эвтектический материал плавится. Физический барьер между бойком взрывателя и детонатором таким образом устраняется.
Другой способ обеспечения безопасности типа баллистического прерывания включает в себя использование радиального блокирующего бойка. Боек расположен между бойком взрывателя и ударным детонатором и удерживается в заблокированном положении при помощи пружины. Боек имеет кольцевые уплотнения и уплотнения от камеры с атмосферным давлением. После ввода системы в скважину давление в скважине приводит к перемещению бойка к камере с атмосферным давлением. Когда боек перемещается в его конечное положение, отверстие в бойке обеспечивает свободный проход к детонатору.
КРАТКОЕ ОПИСАНИЕ ИЗОБРЕТЕНИЯ
Предохранительное устройство в соответствии с настоящим изобретением выполняет функцию обеспечения прерывания баллистической цепи в системе перфорирования, что предотвращает распространение баллистической цепи от одной баллистической секции к другой баллистической секции. Устройство в соответствии с настоящим изобретением содержит корпус, по существу, трубчатой формы с первым и вторым концами и с концевыми соединителями на каждом конце для обеспечения возможности расположения устройства в любом месте в колонне скважинного перфоратора. Однако, как правило, корпус расположен между стреляющей головкой и колонной перфоратора, что является преимущественным, особенно если стреляющая головка расположена на нижней части колонны перфоратора.
Корпус содержит первую и вторую баллистические секции, которые проходят от первого и второго концов к центру устройства. Корпус также содержит третью баллистическую секцию, которая с возможностью вращения установлена в средней части корпуса для перемещения из нейтрального положения в активированное положение. В нейтральном положении третья баллистическая секция не выровнена с первой и второй баллистическими секциями. Третья баллистическая секция выровнена с первой и второй баллистическими секциями в активированном положении. Установка третьей баллистической секции с возможностью вращения может предпочтительно быть осуществлена в одном воплощении при помощи цапф. В нейтральном состоянии третья баллистическая секция может удерживаться в невыровненном положении при помощи пружины, и в одном из воплощений эта пружина содержит пластинчатую пружину.
Предохранительное устройство в соответствии с настоящим изобретением дополнительно содержит кольцевой поршень, который окружает третью баллистическую секцию и способен перемещаться из первого положения во второе положение. Кольцевой поршень удерживается в первом положении при помощи пружины сжатия, когда на предохранительное устройство не оказывается давления. В такой ситуации третья баллистическая секция удерживается в положении, которое не выровнено с первой и второй баллистическими секциями. Таким образом, если стреляющая головка случайно выстрелит, детонация детонирующего шнура будет прервана. Если предохранительное устройство в соответствии с настоящим изобретением будет помещено между головкой и перфораторами, перфораторы не смогут сдетонировать.
Кольцевой поршень смещается для сжатия пружины сжатия под давлением. Когда устройство в соответствии с настоящим изобретением помещается в скважину, давление в скважине прижимает поршень с кольцевым уплотнением к пружине сжатия. Поверхность с внутренней стороны кольцевого поршня контактирует с невыровненной третьей баллистической секцией. Поскольку кольцевой поршень продолжает перемещаться, третья баллистическая секция поворачивается в выровненное положение с первой и второй баллистическими секциями. Давление на кольцевой поршень удерживает третью баллистическую секцию в таком положении, и баллистическая цепь теперь может быть передана через прерывающую секцию и детонировать перфораторы.
Когда колонна перфоратора и стреляющая головка, погруженные в скважину, но не детонировавшие, возвращаются на поверхность, устройство работает в обратном порядке. По мере снижения давления на устройство пружина сжатия возвращает кольцевой поршень в его начальное положение. После этого внутренняя поверхность кольцевого поршня, которая была в контакте с третьей баллистической секцией, отводится и пластинчатая пружина, установленная на одной стороне третьей баллистической секции, поворачивает его из выровненного положения с первой и второй баллистическими секциями. Это приводит к тому, что детонирующий шнур прерывается и детонация не может распространяться.
Предохранительное устройство в соответствии с настоящим изобретением может дополнительно содержать структуру для постоянной нейтрализации третьей баллистической секции в корпусе трубчатой формы. Такое устройство может, например, включать в себя хрупкий элемент, такой как разрывной диск, который может быть предпочтительно расположен в смещенном кольцевом поршне и может быть подвержен воздействию давления в скважине. Разрывной диск может быть уплотнен подходящим образом, например, при помощи уплотнительных колец, так что существует вторая уплотненная камера при атмосферном давлении до тех пор, пока разрывной диск не разорвется. Канал для жидкости расположен под разрывным диском и сообщается со второй камерой в корпусе.
Если желательно навсегда заблокировать короткую баллистическую секцию, в скважине, в которой используется предохранительное устройство согласно настоящему изобретению, может быть создано избыточное давление для разрыва разрывного диска. После разрыва разрывного диска жидкость из скважины будет входить во вторую камеру и давление в скважине вместе с пружиной сжатия будут возвращать кольцевой поршень в его исходное положение. После того как разрывной диск разорвался, дальнейшие колебания давления в скважине не будут влиять на положение кольцевого поршня и баллистика в третьей баллистической секции будет постоянно оставаться в невыровненном положении.
КРАТКОЕ ОПИСАНИЕ ЧЕРТЕЖЕЙ
фиг.1 изображает схему системы перфорирования через насосно-компрессорные трубы в соответствии с настоящим изобретением;
фиг.2 - вид в поперечном сечении вдоль продольной оси предохранительного устройства в соответствии с настоящим изобретением, который показывает устройство в нейтральном положении;
фиг.3 - поперечное сечение устройства вдоль линии 3-3' на фиг.2;
фиг.4 - поперечное сечение вдоль продольной оси предохранительного устройства в соответствии с настоящим изобретением, которое показывает устройство в активированном положении;
фиг.5 - увеличенное поперечное сечение устройства, содержащегося в корпусе, показанном на фиг.2.
фиг.6 - увеличенное поперечное сечение устройства, содержащегося в корпусе, показанном на фиг.4.
ОПИСАНИЕ ОТДЕЛЬНЫХ ВОПЛОЩЕНИЙ
Очевидно, что настоящее изобретение может принимать любые формы и воплощения. В следующем описании объяснены некоторые воплощения изобретения и изложены многочисленные детали для обеспечения понимания настоящего изобретения. Однако специалистам в данной области техники очевидно, что настоящее изобретение может быть осуществлено без таких деталей и что возможны многочисленные изменения и модификации описанных воплощений. Таким образом, следующее описание предназначено для иллюстрации, а не для ограничения настоящего изобретения.
Несмотря на то что настоящее описание может быть сфокусировано на использовании предохранительного устройства согласно настоящему изобретению в системе перфорирования через насосно-компрессорные трубы, специалистам в данной области техники понятно, что предохранительное устройство может также быть использовано в системе перфорирования с помощью кабеля и системе перфорирования с гибкими трубами с небольшими изменениями или без них. Заявители таким образом предполагают, что прилагаемая формула изобретения, если она четко не ограничивается системой перфорирования через насосно-компрессорные трубы, должна охватывать использование изобретения в системах перфорирования через насосно-компрессорные трубы, с использованием кабеля гибких труб.
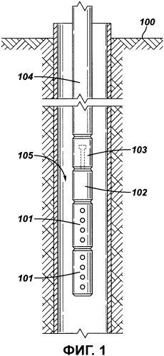
На фиг.1 показана система перфорирования через насосно-компрессорные трубы в соответствии с настоящим изобретением. Система перфорирования через насосно-компрессорные трубы может, например, быть собрана на полу 100 буровой вышки и может содержать по меньшей мере одну секцию 101 скважинного перфоратора, при этом на фиг.1 показано две такие секции 101 перфоратора. Система перфорирования через насосно-компрессорные трубы дополнительно включает в себя стреляющую головку 103 и дополнительные звенья трубчатых элементов 104. Число трубчатых элементов 104, которые используются в системе перфорирования через насосно-компрессорные трубы, будет определяться глубиной, на которую следует погрузить секции 101 перфоратора в стволе скважины 105.
Система перфорирования через насосно-компрессорные трубы в соответствии с настоящим изобретением дополнительно содержит предохранительное устройство 102, которое подсоединено к баллистической цепи системы перфорирования через насосно-компрессорные трубы между стреляющей головкой 103 и секцией 101 перфоратора.
Как показано на фиг.2 и 4, предохранительное устройство 102 содержит корпус 202, по существу, трубчатой формы, имеющий первый и второй концы 202а и 202b соответственно. Каждый конец 202а и 202b имеет резьбовой участок 201, что позволяет предохранительному устройству 102 с легкостью подсоединяться к системе перфорирования через насосно-компрессорные трубы. Другими словами, предохранительное устройство имеет модульную конструкцию. Предохранительное устройство 102 также включает в себя окружные пазы 220 для приема уплотнений, например, уплотнительных колец (не показано), предназначенных для предотвращения прохождения скважинного давления внутрь устройства. Как описано ниже более подробно, предохранительное устройство 102 предназначено для активации баллистической цепи, когда оно погружено в скважину, при помощи скважинного давления.
Как показано на фиг.2 и 5, первая баллистическая секция, содержащая детонирующий шнур 203 с бустером 203а на каждом конце, проходит от первого конца 202а предохранительного устройства 102 до средней части предохранительного устройства, в то время как вторая баллистическая секция, содержащая детонирующий шнур 204 с бустером 204а на каждом конце, проходит от второго конца 202b к центру предохранительного устройства. Бустеры 203а и 204а прочно присоединены к детонирующим шнурам 203 и 204 соответственно. В одном воплощении эти крепежные соединения могут быть выполнены путем обжатия бустеров на детонирующих шнурах.
Как показано на фиг.5, предохранительное устройство 102 содержит третью баллистическую секцию, содержащую детонирующий шнур 205 с бустерами 205а на каждом конце. Бустеры 205а жестко присоединены к концам детонирующего шнура 205, например, путем обжатия. Третья баллистическая секция жестко установлена в конструкции 209, которая с возможностью вращения установлена в предохранительном устройстве 102. Такую установку с возможностью вращения можно осуществить при помощи подходящих устройств, таких как шарнирные пальцы. Альтернативно, конструкция 209, содержащая третью баллистическую секцию, может быть с возможностью вращения установлена в корпусе при помощи цапф 300 и 301, как показано на фиг.3.
Показанное на фиг.5 предохранительное устройство 102 дополнительно содержит уплотненный кольцевой поршень 208, окружающий конструкцию 209, и пружину 210 сжатия, которая удерживает кольцевой поршень 208 в его начальном положении, показанном на фиг.2 и 5, когда предохранительное устройство 102 не подвержено воздействию давления.
Кольцевой поршень 208 имеет два различных диаметра под уплотнения, обозначенные А1 и А2 на фиг.5, причем А2>А1. Такая разница в диаметрах приводит к тому, что кольцевой поршень 208 смещается для перемещения против силы пружины 210 сжатия и сжимает ее под давлением, например под давлением в скважине, при его приложении через радиальное окно 207. Поверхность 208а внутри кольцевого поршня 208 контактирует с конструкцией 209, содержащей третью баллистическую секцию. По мере увеличения давления смещенный кольцевой поршень 208 перемещается в положение, показанное на фиг.4 и 6, и таким образом поверхность 208а приводит к повороту конструкции 209, содержащей третью баллистическую секцию, в активированное положение. Третья баллистическая секция теперь выровнена с первой и второй баллистическими секциями. В это время между стреляющей головкой и перфораторами существует баллистическая цепь, и перфораторы могут детонировать.
Давление на кольцевой поршень 208 может быть уменьшено путем выведения системы перфорирования через насосно-компрессорные трубы из ствола скважины. После уменьшения давления на кольцевой поршень пружина 210 сжатия способствует перемещению кольцевого поршня 208 в его начальное положение, как показано на фиг.2. Контактная поверхность 208а на внутренней стороне кольцевого поршня 208 перемещается обратно, позволяя пружине 206 под конструкцией 209 поворачивать третью баллистическую секцию из выровненного положения с первой и второй баллистическими секциями, как показано на фиг.2 и 5, т.е. обратно в безопасное положение. Пружина 206, например, может представлять собой пластинчатую пружину.
Предохранительное устройство в соответствии с настоящим изобретением может дополнительно содержать конструкцию, которая позволяет избыточному давлению навсегда нейтрализовать третью баллистическую секцию. Такое устройство включает в себя хрупкую мембрану 211, например разрывной диск. Хрупкая мембрана 211 расположена в кольцевом поршне 208 и подвергается воздействию скважинного давления. Хрупкая мембрана 211 может быть уплотнена уплотнительными кольцами 212 так, что вторая герметизированная камера 213 остается при атмосферном давлении до разрушения хрупкой мембраны 211. Канал 214 для текучей среды расположен под разрывным диском и сообщен со второй камерой 213. До тех пор, пока хрупкая мембрана 211 остается неповрежденной, кольцевой поршень 208 функционирует так, как описано выше.
Если желательно навсегда нейтрализовать кольцевой поршень 208, например, до выхода из скважины с перфораторами, которые не сдетонировали, может быть подведено избыточное давление для разрыва хрупкой мембраны 211. После разрыва хрупкой мембраны 211 скважинная текучая среда входит во вторую камеру 213, но ее прохождению в участок баллистической цепи устройства препятствует уплотнительная пробка 217. Вторая камера включает в себя уплотнительные кольца на нижнем конце смещающего поршня. Эти уплотнительные кольца имеют такой размер, что после разрыва хрупкой мембраны 211 кольцевой поршень 208 перемещается обратно в его начальное положение под действием комбинации смещения под давлением из-за разницы в диаметрах уплотнений в точках А1 и А3 (например, А1>А3) и силы, оказываемой пружиной сжатия 210. Когда кольцевой поршень возвращается в свое начальное положение, третья баллистическая секция больше не выровнена с первой и второй баллистическими секциями и перфораторы не могут детонировать. После разрыва хрупкой мембраны 211 дальнейшие колебания давления в скважине не будут воздействовать на положение кольцевого поршня и третья баллистическая секция навсегда остается в невыровненном положении. Такая особенность дополнительно повышает безопасность, навсегда отсоединяя стреляющую головку от перфораторов.
Специалистам в данной области техники, оценившим преимущества настоящего описания, очевидно, что предохранительное устройство в соответствии с настоящим изобретением имеет ряд преимуществ над предшествующим уровнем техники. Одним из этих преимуществ является то, что больше нет необходимости во вводе перфораторов в ствол скважины до ввода стреляющей головки в ствол скважины. Другими словами, при помощи использования предохранительного устройства в соответствии с настоящим изобретением стреляющая головка может располагаться ниже перфораторов в колонне перфорирования через насосно-компрессорные трубы.
Специалистам в данной области техники также очевидно, что колонна перфорирования через насосно-компрессорные трубы может содержать множество модулей 102 предохранительных устройств.
1. Предохранительное устройство для обеспечения прерывания баллистической цепи в системе для перфорирования ствола скважины, имеющей скважинные перфораторы и стреляющую головку, содержащее корпус, по существу, трубчатой формы, имеющий первый и второй концы и выполненный с возможностью его расположения в любой точке системы перфорирования, первую баллистическую секцию в корпусе, проходящую от первого конца корпуса до средней части корпуса, вторую баллистическую секцию в корпусе, проходящую от второго конца корпуса до средней части корпуса, третью баллистическую секцию, установленную с возможностью вращения в средней части корпуса для перемещения между нейтральным положением и активированным положением, при этом третья баллистическая секция не выровнена с первой и второй баллистическими секциями в нейтральном положении и выровнена с первой и второй баллистическими секциями в активированном положении, кольцевой поршень, расположенный в корпусе, который находится в его первом положении при отсутствии давления на предохранительное устройство и который перемещается из первого положения во второе положение при воздействии скважинного давления на предохранительное устройство, при этом перемещение кольцевого поршня из первого положения во второе приводит к повороту третьей баллистической секции из нейтрального положения в активированное положение, и пружину сжатия, размещенную в корпусе для воздействия на кольцевой поршень для удержания его в его первом положении при отсутствии давления на предохранительное устройство и способную сжиматься под действием перемещения кольцевого поршня из его первого положения во второе.
2. Предохранительное устройство по п.1, дополнительно содержащее пружину, оперативно соединенную с третьей баллистической секцией для содействия удержанию третьей баллистической секции в нейтральном положении.
3. Предохранительное устройство по п.1, в котором третья баллистическая секция установлена с возможностью вращения в корпусе при помощи цапф.
4. Предохранительное устройство по п.1, дополнительно содержащее хрупкий элемент, приспособленный при его разрыве поддерживать кольцевой поршень постоянно в его первом положении.
5. Предохранительное устройство по п.1, в котором система перфорирования представляет собой систему перфорирования через насосно-компрессорные трубы.
6. Система для перфорирования ствола скважины, содержащая, по меньшей мере, одну секцию, содержащую множество перфораторов, секцию, содержащую стреляющую головку для обеспечения детонирования перфораторов, баллистическую цепь между стреляющей головкой и, по меньшей мере, одной секцией перфораторов и предохранительное устройство, включенное в баллистическую цепь и активирующее баллистическую цепь при его расположении в скважине посредством скважинного давления.
7. Система по п.6, в которой предохранительное устройство способно нейтрализовать баллистическую цепь при отсутствии воздействия на него давления.
8. Система по п.7, в которой предохранительное устройство способно нейтрализовать баллистическую цепь при извлечении системы из ствола скважины.
9. Система по п.7, в которой предохранительное устройство способно нейтрализовать баллистическую цепь посредством ее прерывания в двух местах.
10. Система по п.6, являющаяся системой перфорирования через насосно-компрессорные трубы.
11. Система по п.6, в которой предохранительное устройство содержит корпус, по существу, трубчатой формы, имеющий первый и второй концы, и которая содержит первую баллистическую секцию в корпусе, проходящую от первого конца корпуса до средней части корпуса, вторую баллистическую секцию, проходящую от второго конца корпуса до средней части корпуса, третью баллистическую секцию, установленную с возможностью вращения в корпусе для перемещения между нейтральным положением и активированным положением, при этом третья баллистическая секция не выровнена с первой и второй баллистическими секциями в нейтральном положении и выровнена с первой и второй баллистическими секциями в активированном положении, кольцевой поршень, расположенный в корпусе и способный перемещаться из первого положения во второе положение при воздействии на предохранительное устройство достаточного скважинного давления, при этом перемещение кольцевого поршня приводит к перемещению третьей баллистической секции из нейтрального положения в активированное положение, и пружину сжатия, расположенную в корпусе для воздействия на кольцевой поршень для удержания его в его первом положении до возникновения достаточного скважинного давления для обеспечения возможности перемещения кольцевого поршня в его второе положение.
12. Система по п.6, в которой стреляющая головка расположена в системе так, что она входит в ствол скважины до входа в него скважинных перфораторов.
13. Способ управления системой для перфорирования ствола скважины, имеющей стреляющую головку, скважинные перфораторы и баллистическую цепь между стреляющей головкой и скважинными перфораторами, при котором активируют баллистическую цепь в скважине при помощи скважинного давления.
14. Способ по п.13, дополнительно содержащий нейтрализацию баллистической цепи при извлечении системы из ствола скважины.
15. Способ по п.13, при котором баллистическая цепь нейтрализуется навсегда до извлечения системы из ствола скважины.
Приоритет:
18.05.2006 по пп.1-15.
 
                         
                            


