Резервуар для горячей воды

Иллюстрации

Показать все

Изобретение предназначено для хранения горячей воды и может быть использовано в теплотехнике. Резервуар для горячей воды содержит корпус, охватывающий со всех сторон внутренние части резервуара для горячей воды, задняя стенка которого используется в заданном смонтированном положении в качестве задней монтажной стенки. Корпус состоит, по меньшей мере, из двух компонентов и расположенной между ними в плоскости разъема изолирующей канавки. Изолирующая канавка в смонтированном положении расположена преимущественно горизонтально. Одним компонентом корпуса является цельная коробка заданной высоты, открытая с одного конца, а другим компонентом корпуса является закрывающая отверстие коробки крышка, высота которой составляет лишь часть высоты коробки. Изобретение обеспечивает уменьшение габаритов и стоимости изготовления резервуара. 11 з.п. ф-лы, 3 ил.

Реферат

Область техники

Изобретение относится к резервуару для горячей воды, в особенности к малогабаритному резервуару, соответствующему ограничительной части пункта 1 формулы изобретения.

Уровень техники

В известных на практике резервуарах для горячей воды, монтируемых, например, так, что их задняя стенка крепится к практически вертикальной стене, сложились две различные концепции конструкции корпуса. В одной концепции корпуса предусматривается в общих чертах прямоугольная неглубокая коробка, дно которой служит монтажной задней стенкой, на которой с открытой стороны монтируются внутренние детали малогабаритного резервуара, после чего спереди вставляется аналогичная неглубокая коробка. Края второй коробки либо вставляются внутрь в отверстие другой коробки, либо насаживаются снаружи сверху. Плоскость разъема в смонтированном состоянии проходит в основном вертикально. В другой известной концепции корпуса внутренние части малогабаритного резервуара помещаются в четырехугольную, расположенную в смонтированном состоянии вертикально, коробчатую профилированную деталь из листового материала, в которой одна боковая стенка образует монтажную заднюю стенку, а затем насаживаются верхняя и нижняя пластмассовые крышки, которые в двух в основном горизонтально ориентированных плоскостях разъема входят снаружи над концами отверстия листовой коробчатой профилированной детали. Эти известные концепции конструкции корпуса обусловливают высокую стоимость и относительно высокую трудоемкость изготовления и монтажа, в том числе из-за того, что необходимо обеспечить, по меньшей мере, достаточную брызгонепроницаемость изолирующей канавки. Внешний вид оставляет желать лучшего. В первой концепции корпуса переход от передней насаженной коробки к задней коробке, образующей монтажную стенку и, как правило, состоящей из другого материала с сильно отличающейся поверхностью, очень заметен. Во второй концепции смешанная конструкция, сочетающая пластмассу и стальной лист, с двумя изолирующими канавками очень заметна, в том числе вследствие сильного различия поверхностей и их качества. Кроме того, трудно обеспечить брызгонепроницаемость в области нижней изолирующей канавки. Серьезный недостаток обеих концепций конструкции корпуса с точки зрения маркетинга состоит в том, что концепции корпуса при модификации серии моделей, базирующихся на одинаковых или сходных внутренних компонентах малогабаритного резервуара, почти не оставляют возможности предусмотреть хорошо заметные различия без значительного увеличения расходов. В то же время у изготовителей таких малогабаритных резервуаров существует маркетинговая потребность с помощью разработанных для торговых предприятий различного типа модификаций моделей целенаправленно обращаться к определенным кругам потребителей, и в рамках одной серии продавать на различных ценовых уровнях, например, простые версии в строймаркетах, а усложненные версии в специализированных магазинах.

Раскрытие изобретения

В основе изобретения лежит задача предложить резервуар для горячей воды, особенности малогабаритный резервуар названного выше вида, с концепцией корпуса, реализуемой без больших затрат и позволяющей без заметного увеличения стоимости обеспечить привлекательный внешний вид и достаточно заметно варьировать этот внешний вид, исходя из маркетинговой стратегии.

Для решения поставленной задачи предложен резервуар для горячей воды, в особенности малогабаритный резервуар с корпусом, охватывающим со всех сторон внутренние части резервуара для горячей воды. Задняя стенка резервуара может быть использована в качестве задней монтажной стенки. Корпус состоит, по меньшей мере, из двух компонентов и расположенной между ними в плоскости разъема изолирующей канавки. Изолирующая канавка в смонтированном положении расположена преимущественно горизонтально. Одним компонентом корпуса является цельная коробка заданной высоты, открытая с одного конца, а другим компонентом корпуса является закрывающая отверстие коробки крышка, высота которой составляет лишь часть высоты коробки.

Четырехугольная коробка, напоминающая четырехугольное ведро, и закрывающая отверстие коробки крышка с практически горизонтальной изолирующей канавкой позволяют при небольших расходах обеспечить привлекательный внешний вид. Эта концепция позволяет снизить стоимость изготовления и обеспечить простоту монтажа. Не нужны хорошо заметные различия в материале и качестве поверхность между коробкой и крышкой. Предпочтительно коробка и крышка изготавливаются из одного материала. Внутренние контуры коробки и крышки для всех модификаций модели в основном одинаковы. Наружные поверхности и дизайн можно, однако, модифицировать в широких пределах так, чтобы получить заметно различающиеся по внешнему виду варианты. Так, например, реализуемая через строймаркеты модификация модели может иметь простую коробку и простую крышку, тогда как реализуемая через специализированные магазины более дорогая модификация может иметь коробку и крышку более высокого качества по внешнему виду и более дорогой дизайн.

В целесообразном варианте исполнения при смонтированном положении малогабаритного резервуара коробка находится снизу, в то время как крышка закрывает расположенное сверху отверстие в области изолирующей канавки. Монтажную заднюю стенку образует задняя стенка коробки, так что визуально непривлекательный переход от монтажной задней стенки к боковым стенкам корпуса незаметен.

Коробка и крышка могут быть отдельными фасонными деталями из пластмассы, предпочтительно соединенными между собой с помощью, по меньшей мере, одного шарнира или другого соединительного механизма. Благодаря раздельному изготовлению внешний вид каждой составной части корпуса можно видоизменять по желанию, что позволяет создавать много комбинаций по модульному принципу.

В одном предпочтительном альтернативном варианте коробка и крышка образуют единую фасонную деталь, преимущественно пластмассовую, и соединены между собой, по меньшей мере, одним встроенным пленочным шарниром, образуя откидное соединение. Это концепция корпуса, в рамках которой крышка и коробка производят впечатление отлитых из одного куска.

Концепция корпуса, состоящего из коробки и крышки, имеет далее то преимущество, что она позволяет обеспечить достаточную брызгонепроницаемость в зоне изолирующей канавки с помощью простых технических средств. Например, в изолирующей канавке можно предусмотреть уплотнение, которое будет действовать при надлежащим образом закрытой крышке. Например, здесь может быть образована структура типа паз-пружина или лабиринтное уплотнение уже при формовке коробки и крышки. В качестве вспомогательного средства могут быть включены упругие уплотнительные элементы.

Полезно, чтобы крышку можно было запирать внутри в отверстии коробки, предпочтительно с помощью фиксирующих элементов - фиксаторов или защелок - расположенных в смонтированном положении сбоку и/или спереди. Визуально снаружи такой запор не будет заметен, и в то же время он не допустит недозволенного проникновения внутрь корпуса. Чтобы снять или открыть крышку, в коробке и/или в крышке предпочтительно предусматриваются соответствующие отверстия для доступа, позволяющие расцепить фиксаторы с помощью инструмента или подобных средств.

При такой концепции корпуса подключения для воды, по меньшей мере, штуцеры для воды могут быть расположены в крышке или выведены наружу через крышку, в особенности, если крышка открывается или снимается в том же направлении, в которое направлены подключения.

Предпочтительно на крышке устанавливается, по меньшей мере, один элемент управления малогабаритным резервуаром. Требуемая для этого конструкция крышки может быть реализована при ее формовке.

Удобство обращения с малогабаритным резервуаром при его обслуживании обеспечивается, если предусмотреть на крышке в монтажном положении скос спереди, идущий наискось от лицевой стороны крышки до изолирующей канавки и оформленный как панель управления, по меньшей мере, с одним элементом управления. Кроме того, скос является визуально хорошо воспринимаемым отличающим признаком. Ведь в другой модификации модели от скоса можно отказаться и тогда она будет внешне выглядеть совершенно иначе.

В альтернативном варианте панель управления может быть размещена на лицевой стороне коробки и доходить предпочтительно до лицевой стороны крышки. Это позволяет реализовать совершенно другой внешний вид для другой модификации модели. В принципе и изолирующую канавку, как заметный различающий признак, можно либо визуально подчеркнуть, либо сделать в значительной степени незаметной. Это при концепции корпуса с коробкой и крышкой можно легко реализовать при формовке.

В еще одном варианте осуществления, по меньшей мере, передняя боковая кромка коробки и/или крышки скошена или закруглена.

Краткий перечень фигур чертежей

Варианты исполнения изобретения поясняются с помощью чертежей. На них изображены:

Фиг.1 - схематическое изображение в перспективной проекции первого варианта исполнения малогабаритного резервуара;

Фиг.2 - вид сбоку в перспективной проекции второго варианта исполнения малогабаритного резервуара; и

Фиг.3 - боковой вид части варианта исполнения по фиг.1.

Осуществление изобретения

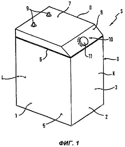
Изображенный на фиг.1 первый вариант исполнения малогабаритного резервуара S имеет корпус G для размещения не изображенных внутренних частей малогабаритного резервуара. Корпус G состоит из приблизительно четырехугольной открытой сверху коробки К, изготовленной, например, из пластмассы, и крышки D также из пластмассы, закрывающей расположенное наверху отверстие коробки К. Плоскость разъема между крышкой D и коробкой К расположена в изображенном на фиг.1 монтажном положении, по меньшей мере, в основном горизонтально. Коробка К, также как и крышка D являются неразборными цельными деталями, а в соответствующих случаях крышка D и коробка К образуют даже одну цельную пластмассовую фасонную деталь и соединены между собой встроенными пленочными шарнирами 17 (фиг.3). Коробка К имеет левую и правую боковые стенки 1, 3, переднюю стенку 2 и заднюю стенку 4, которая одновременно выполнена как монтажная задняя стенка и снабжена соответственными крепежными приспособлениями 11 (фиг.3). Дно 5 коробки К закрыто, так что коробка К в целом выглядит приблизительно как четырехугольное, открытое сверху ведро. Крышка D имеет в основном ровную или слегка выпуклую верхнюю сторону 7 и передний скос 8, доходящий до изолирующей канавки 6. Скос 8 определяет панель управления 10, на которой расположен, по меньшей мере, один элемент управления малогабаритным резервуаром S. В крышке D могут быть, например, расположены штуцеры 9 для воды в сформованных отверстиях. Крышка D может шарнирно соединяться с коробкой К и откидываться в сторону вверх или назад вверх, причем шарниры 17 монтируются в области соединения (фиг.3). В альтернативном варианте можно выполнить крышку D полностью съемной, так чтобы она насаживалась сверху через верхний фальц вокруг отверстия коробки К или вставлялась в верхний фальц (в последнем случае изолирующая канавка была бы визуально замаскирована и незаметна).

В другом варианте исполнения по фиг.2 крышка D имеет гладкую верхнюю сторону 7 и вертикальную переднюю сторону 18. Обе вертикальные кромки корпуса G, ограничивающие с боков переднюю сторону коробки К и переднюю сторону крышки D, на участках 8' закруглены или скошены. Панель управления 10' с элементом управления 11 расположена на передней стороне 2 коробки К и доходит предпочтительно до верхней стороны 7' крышки D, т.е. захватывает переднюю сторону 18 крышки D.

Изолирующая канавка 6' изображена здесь едва заметной. Крышка D могла бы вставляться также в верхний фальц коробки К так, чтобы изолирующая канавка 6' была бы сбоку снаружи не видна. Крышка D на фиг.2 может быть выполнена либо откидной и соединяться с коробкой К с помощью, по меньшей мере, одного пленочного шарнира или вставленных шарниров 17, либо полностью съемной.

На фиг.3 в области изолирующей канавки 6 показана уплотнительная структура 12, которая предпочтительно неразъемно заформована в отверстие коробки К и/или в крышку D. Например, в уплотнительной структуре 12 может быть предусмотрена вставка паз-пружина, изображенная в виде элементов паза и пружины 13, 14. В этой зоне может быть предусмотрено также упругое уплотнение. В альтернативном варианте может быть образовано также лабиринтное уплотнение посредством взаимодействия крышки D с коробкой К.

Крышка D на фиг.3 выполнена откидной и соединяется с коробкой К посредством пленочного шарнира или установленного шарнира 17. Пленочный шарнир или шарнир 17 могли бы быть установлены глубже, чем изображено на фигуре, чтобы при открывании крышки D его задняя кромка не слишком выступала над задней стороной 4. В простом варианте исполнения коробка К могла бы иметь внутри в области отверстия карман для закладки соответствующего выступа крышки D. Желательно, чтобы крышка D в области боковых стенок 1, 3 и/или передней стенки 2 блокировалась с помощью фиксаторов V с коробкой К для защиты от несанкционированного открытия, например, защелкой 15, причем отверстие 16 для доступа должно позволять, например, с помощью соответствующего инструмента освободить соответствующий фиксатор V для открытия крышки D.

1. Резервуар для горячей воды, в особенности малогабаритный резервуар (S) с корпусом (G), охватывающим со всех сторон внутренние части резервуара для горячей воды, задняя стенка (4) которого используется в заданном смонтированном положении в качестве задней монтажной стенки, причем корпус (G) состоит, по меньшей мере, из двух компонентов и расположенной между ними в плоскости разъема изолирующей канавки (6, 6'), отличающийся тем, что изолирующая канавка в смонтированном положении расположена преимущественно горизонтально, и что одним компонентом корпуса является цельная коробка (К) заданной высоты, открытая с одного конца, а другим компонентом корпуса является закрывающая отверстие коробки крышка (D), высота которой составляет лишь часть высоты коробки.

2. Резервуар по п.1, отличающийся тем, что коробка в смонтированном положении расположена отверстием вверх и имеет монтажную заднюю стенку (4).

3. Резервуар по п.1, отличающийся тем, что коробка (К) и крышка (D) являются отдельными фасонными деталями из пластмассы и соединены предпочтительно по меньшей мере одним шарниром (17), образующим откидное соединение.

4. Резервуар по п.1, отличающийся тем, что коробка (К) и крышка (D) являются одной цельной фасонной деталью из пластмассы и соединены по меньшей мере одним встроенным пленочным шарниром (17), образующим откидное соединение.

5. Резервуар по п.1, отличающийся тем, что в области изолирующей канавки (6, 6') предусмотрена по меньшей мере одна уплотнительная структура (12), предпочтительно неразъемно заформованная в отверстие коробки и/или в крышку (D).

6. Резервуар по п.5, отличающийся тем, что в уплотнительной структуре (12) предусмотрена вставка типа паз-пружина или упругое лабиринтное уплотнение.

7. Резервуар по п.1, отличающийся тем, что крышка (D) выполнена с возможностью фиксирования внутри, в отверстии коробки, предпочтительно с помощью фиксирующих элементов (V), расположенных в смонтированном положении сбоку и/или спереди предпочтительно в виде защелки (15).

8. Резервуар по п.1, отличающийся тем, что по меньшей мере штуцеры для воды расположены в крышке (D) или выведены через крышку (D) наружу.

9. Резервуар по п.1, отличающийся тем, что на крышке (D) и/или коробке (К) установлен по меньшей мере один элемент управления (11) резервуаром для горячей воды.

10. Резервуар по одному из предшествующих пунктов, отличающийся тем, что крышка (D) имеет наружный в смонтированном положении расположенный спереди скос (8), проходящий от верхней стороны (7) крышки с наклоном до области изолирующей канавки (6) и выполненный предпочтительно как панель управления (10) по меньшей мере с одним элементом управления (11).

11. Резервуар по п.1, отличающийся тем, что передняя сторона (18) крышки (D) расположена, по существу, по одной линии с передней стороной (2) коробки (К), и что в переднюю сторону (2) коробки (К) встроена панель управления (10'), которая предпочтительно проходит до передней стороны (8') крышки (D).

12. Резервуар по одному из пп.1-9, отличающийся тем, что по меньшей мере передняя боковая кромка коробки (К) и/или крышки (D) скошена или закруглена.