Пылеуловитель

Иллюстрации

Показать все

Изобретение относится к устройствам для отделения дисперсных частиц от газов или паров. Пылеуловитель содержит корпус, внутри которого установлена обечайка, по меньшей мере, часть обечайки выполнена перфорированной. Щелевое сопло ввода загрязненного газа введено внутрь корпуса и присоединено в верхней части обечайки тангенциально к ее внутренней поверхности, при этом сопло направлено под углом к плоскости горизонтального сечения обечайки с ориентацией в сторону ее нижней части. К нижней части корпуса присоединен бункер для сбора пыли, а в верхней части корпуса выполнен выход очищенного газа. Пространство между корпусом и обечайкой предназначено для подъема очищенного газа и по объему больше, чем пространство внутри обечайки. Технический результат: повышение эффективности улавливания мелкодисперсной пыли. 4 з.п. ф-лы, 5 ил.

Реферат

Изобретение относится к устройствам для отделения дисперсных частиц от газов или паров с использованием гравитационных инерционных или центробежных сил с изменением направления очищаемого потока.

Известны устройства для очистки газов от пыли, в которых очистка происходит за счет использования инерционных сил. Привлекательность таких устройств заключается в том, что они конструктивно просты, однако эффективность очистки потока от пыли в этих устройствах не всегда достаточна.

Особенно сложно в таких устройствах производить очистку газового потока от легких фракций пыли.

Известны конструкции инерционных пылеуловителей, в которых используются перфорированные вставки и обечайки.

В патенте GB 1283842 «Центробежный сепаратор», публикация 02.09.1972, В04С 5/103, приведена конструкция сепаратора, который содержит входной патрубок (10), отбойники (16), направляющие поток к стенкам сепаратора и перфорированный экран (34). Очищенный поток частично проходит через отверстия экрана и выводится через патрубок (30). На перфорированном экране выполнены складки (36), которые служат замедлению потока.

В данной конструкции за перфорированным экраном не происходит резкого замедления потока, поэтому эта конструкция недостаточно улавливает легкие пылевые фракции.

Известны также патент US 4778494, публикация 18.10.1988, B01D 19/00 и патент RU 2302296, публикация 10.07.2007, В04С 5/00.

В US 4778494 приведен циклонный сепаратор для отделения газа от жидкости. В данном сепараторе применяется перфорированная вставка. В RU 2302296 приведена конструкция вихревой камеры для разделения многофазных потоков, которая содержит цилиндрический корпус, с тангенциальными входными патрубками. В корпусе установлена вставка в виде усеченной конической поверхности с перфорированной верхней частью, которая разделяет корпус на рабочую и приемную полости. Вихревая камера снабжена штуцерами для вывода газов, твердых и жидких продуктов.

Однако эти перфорированные элементы применены в устройствах, предназначенных для отделения жидкости от газа.

Известны также следующие конструкции пылеуловителей: патент на изобретение РФ №2174452 «Пылеуловитель», приоритет 10.10.2000, патент на полезную модель РФ №33879 «Пылеуловитель», приоритет 10.11.2002, в которых описывается конструкция пылеуловителя, содержащая цилиндрический корпус, в верхней части которого тангенциально к внутренней образующей корпуса установлено щелевое сопло для ввода загрязненного газа. По образующей корпуса выполнены карманы, ближайшая, в направлении потока, стенка каждого из карманов выполнена в виде уступа. Пространство в центре корпуса посредством вертикальной трубы сообщено с выходным патрубком, а к нижней части корпуса присоединен бункер для сбора пыли.

Данные конструкции достаточно эффективны, особенно по улавливанию крупнодисперсной пыли, но всегда остается проблема эффективного улавливания также и мелкодисперсной пыли. Создание конструкции, в которой эффективно улавливалась мелкодисперсная фракция пыли, является непростой и актуальной задачей.

В предлагаемом изобретении решается задача повышения эффективности улавливания мелкодисперсной фракции пыли.

Заявляемый пылеуловитель содержит корпус, внутри которого установлена обечайка, по меньшей мере, часть обечайки выполнена перфорированной.

Щелевое сопло ввода загрязненного газа введено внутрь корпуса и присоединено в верхней части обечайки тангенциально к ее внутренней поверхности, при этом щелевое сопло направлено под углом к плоскости горизонтального сечения обечайки с ориентацией в сторону ее нижней части.

К нижней части корпуса присоединен бункер для сбора пыли.

В верхней части корпуса выполнен выход очищенного газа.

Пространство между корпусом и обечайкой предназначено для подъема очищенного газа и по объему больше, чем пространство внутри обечайки.

Входной поток загрязненного газа поступает через щелевое сопло и «прилипает» к внутренней поверхности обечайки. Далее поток распространяется вдоль этой внутренней поверхности вниз по спирали. При прохождении загрязненного потока газа частицы загрязнений трутся о стенки обечайки, теряют механическую энергию и оседают вниз, собираясь в бункере для сбора пыли. Мелкодисперсная пыль, двигаясь вниз, также попадает в бункер. Газ проникает через перфорацию обечайки и выходит через выход очищенного газа, расположенный в верхней части корпуса. Очищение потока газа от пыли происходит также за счет того, что объем внутри обечайки, где движется запыленный поток меньше, чем объем между обечайкой и корпусом, где поднимается очищенный воздух. Поэтому скорость потока внутри обечайки выше, чем скорость поднимающегося к выходу очищенного воздуха, что препятствует проявлению эффекта «засасывания» пылевых частичек в объем между обечайкой и корпусом в отверстия перфорации.

Внутри обечайки может быть дополнительно установлен цилиндрический отражатель, который позволяет регулировать объем внутри обечайки, не изменяя ее диаметра и создавая необходимое соотношение объемов внутри обечайки и за ней. Кроме того, цилиндрический отражатель прижимает поток к стенке обечайки, улучшая условия торможения частичек пыли.

Дополнительно объем упомянутого бункера может быть изолирован от объема между внутренней поверхностью корпуса и наружной поверхностью обечайки, например, шайбой. Установка такой изоляции препятствует проникновению пыли из бункера в объем между обечайкой и корпусом, где поднимается очищенный газ.

Для более эффективной очистки запыленного потока внутри обечайки на внутренней поверхности обечайки могут быть выполнены карманы, ближайшая, в направлении входящего потока газа, стенка каждого из карманов выполнена в виде уступа.

На пути плоского вертикального потока газа на поверхности обечайки встречаются уступы. За каждым уступом возникает зона пониженного давления, благодаря чему плоский основной вертикальный поток согласно эффекту Коанда отклоняется к стенке обечайки, как бы "прилипает" к ней. За каждым уступом, в зоне пониженного давления, возникает вихревой циркуляционный поток. Благодаря такой конструкции поток запыленного газа все время располагается у внутренней стенки обечайки, совершая спиралевидное движение, опускаясь вниз. Формированию потока, опускающегося вниз обечайки, способствует расположение под углом к плоскости горизонтального сечения корпуса щелевого сопла, с ориентацией в сторону нижней части корпуса. При этом очищенный воздух проходит через отверстия перфорации в обечайки и с малой скоростью поднимается вверх.

Щелевое сопло может быть ориентировано под углом к плоскости горизонтального сечения обечайки в диапазоне углов 10-20°.

Такая конструкция пылеуловителя позволяет улавливать крупно и средне дисперсные частички пыли, но особенно эффективна для мелкодисперсных частичек пыли. Чем больше разность в объеме внутри обечайки и объеме между корпусом и обечайкой, тем ниже скорость подъема очищенного газа внутри последнего пространства и тем эффективнее очистка мелкодисперсной фракции.

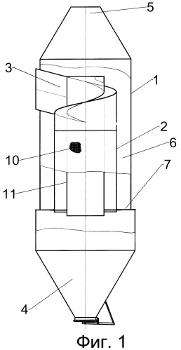
Изобретение поясняется чертежами. На фиг.1 приведен общий вид пылеуловителя, на фиг.2 - сечение верхней части пылеуловителя, на фиг.3 - схема воздуха и пыли в пылеуловителе. На фиг.4 - сечение верхней части пылеуловителя для обечайки с карманами. На фиг.5 изображена только обечайка с присоединенным щелевым соплом.

Пылеуловитель (фиг.1-фиг.3) содержит корпус 1, внутри которого установлена обечайка 2. Часть или вся площадь обечайки 2 выполнена перфорированной 10. Щелевое сопло 3 ввода загрязненного газа введено внутрь корпуса 1 и присоединено в верхней части обечайки 2 тангенциально к ее внутренней поверхности и направлено под углом А к плоскости горизонтального сечения обечайки 2. К нижней части корпуса 1 присоединен бункер 4 для сбора пыли. В верхней части корпуса 1 выполнен выход 5 очищенного газа. Пространство 6 между корпусом 1 и обечайкой 2 предназначено для подъема очищенного газа и по объему больше, чем пространство внутри обечайки 2. Внутри обечайки 2 по ее оси установлен цилиндрический отражатель 11. Пространство бункера 4 изолировано от пространства 6 между внутренней поверхностью корпуса и наружной поверхностью обечайки шайбой 7.

Перфорация 10 обечайки 2 может быть выполнена различным образом, например отверстия могут быть расположены в нижней части обечайки или по всей ее поверхности. Форма и направление отверстий относительно поверхности также может быть различной. Суммарная площадь отверстий в обечайке по отношению ко всей площади перфорированной поверхности обечайки регулируется в зависимости от характера запыленности газового потока, и может, например, составлять около 50% площади перфорированной поверхности обечайки.

При подаче запыленного газа через щелевое сопло 3 с помощью нагнетающего вентилятора поток идет по касательной к внутренней поверхности обечайки 2, пылевые частицы тормозятся о внутреннюю поверхность и падают в бункер 4. Очищенный газ проникает через перфорацию 10 обечайки 2, поднимается в пространстве 6 и выходит через выход 5 очищенного газа. Скорость в объеме обечайки 2 и скорость газа, поднимающегося внутри пространства 6 между обечайкой и корпусом, может отличаться, например, в десять раз. Это позволяет в данной конструкции пылеуловителя очищать легкие фракции пыли, которые увлекаются потоком в бункер 4. Пыль из бункера не попадает в пространство 6, так как путь перекрыт шайбой 7.

На внутренней поверхности обечайки 2 в более эффективном варианте его выполнения (фиг.4) в обечайке 2 выполнены карманы 8, ближайшая, в направлении входящего потока газа, стенка каждого из карманов выполнена в виде уступа 9.

Загрязненный газ подается через щелевое сопло 2 внутрь обечайки 2 с помощью нагнетающего вентилятора. Поток газа закручивается внутри обечайки 2 в снижающуюся спираль, при этом в зоне уступов 9 создается разряжение. Вихревые потоки в карманах 8 способствуют снижению скорости пылевых частичек, которые по образующим карманов 8 попадают в бункер 4. В этом случае пыль более эффективно улавливается в карманах 8. Очищенный газ также уходит через отверстия перфорации 10 в пространство 6 и поднимается вверх.

1. Пылеуловитель, характеризующийся тем, что содержит корпус, внутри которого установлена обечайка, по меньшей мере, часть обечайки выполнена перфорированной, щелевое сопло ввода загрязненного газа введено внутрь корпуса и присоединено в верхней части обечайки тангенциально к ее внутренней поверхности, при этом щелевое сопло направлено под углом к плоскости горизонтального сечения обечайки с ориентацией в сторону ее нижней части, к нижней части корпуса присоединен бункер для сбора пыли, а в верхней части корпуса выполнен выход очищенного газа, пространство между корпусом и обечайкой предназначено для подъема очищенного газа и по объему больше, чем пространство внутри обечайки.

2. Пылеуловитель по п.1, отличающийся тем, что внутри обечайки дополнительно установлен цилиндрический отражатель.

3. Пылеуловитель по п.1, отличающийся тем, что объем упомянутого бункера изолирован от объема между внутренней поверхностью корпуса и наружной поверхностью обечайки, например, шайбой.

4. Пылеуловитель по п.1, отличающийся тем, что на внутренней поверхности обечайки выполнены карманы, ближайшая в направлении входящего потока газа стенка каждого из карманов выполнена в виде уступа.

5. Пылеуловитель по п.1, отличающийся тем, что упомянутое щелевое сопло ориентировано под углом к плоскости горизонтального сечения обечайки в диапазоне углов 10-20°.