Амортизатор транспортного средства

Иллюстрации

Показать все

Изобретение относится к автомобилестроению. Амортизатор содержит корпус, в котором установлена механическая передача, преобразующая возвратно-поступательное движение во вращательное. Механическая передача включает в себя вертикальный винт с шариковой гайкой и спиральную пружину, размещенную в подвижном кожухе. На крышке кожуха установлены два или более демпфирующих устройства, жестко связанных с головкой вертикального винта. Внешний конец спиральной пружины соединен с подвижным кожухом, а внутренний конец жестко прикреплен к внешнему кольцу, соединенному с шариковой гайкой, установленной в подвижном кожухе. Корпус снабжен фиксаторами для регулирования режимов амортизации. Достигается повышение надежности и долговечности работы, повышение эффективности и стабильности гашения колебаний, повышение плавности хода. 2 з.п. ф-лы, 2 ил.

Реферат

Изобретение относится к устройствам для смягчения ударов и гашения колебаний при движении автомобилей по неровной дороге с целью обеспечения их плавного хода и может найти применение в автомобилестроении.

Известны различные виды выпускаемых промышленностью амортизаторов, демпфирующих устройств и подвесок, применяемых в транспортных средствах различного типа - рессорные, пружинные, торсионные, пневматические, гидропневматические.

Известны различные амортизаторы и устройства для демпфирования и рекуперации энергии подвески (описание изобретения к авторскому свидетельству СССР №1049270 от 14.03.83 г., патент РФ №2110414 от 29.02.96 г. и др.), содержащие корпус с механическими передачами различного типа, преобразующие возвратно-поступательное движение во вращательное, с инерционными элементами. Их недостатками являются недостаточная плавность хода и невысокая эффективность гашения как низкочастотных, так и высокочастотных колебаний.

Наиболее близким к заявляемому является амортизатор по патенту РФ №2142586 от 25.05.98, содержащий две опоры и механическую передачу, преобразующую возвратно-поступательное движение во вращательное и выполненную в виде инерционного механизма. Передача включает корпус, в котором установлен вертикальный винт с шариковой гайкой, взаимодействующий с маховиком. Маховик выполнен в виде цилиндра, установленного внутри корпуса и взаимодействующего с винтом, установленным в нижней части корпуса с возможностью вращения посредством подпружиненного фрикционного диска. Амортизатор позволяет автоматически регулировать по величине и направлению осевую силу и тем самым повысить плавность хода при движении по любым дорогам. Недостатками амортизатора являются недостаточная долговечность и надежность работы его фрикционных элементов, их нагрев и невозможность изменять режимы амортизации в зависимости от состояния дорог для более эффективного гашения колебаний во всем спектре частот.

Заявляемый амортизатор транспортного средства, как и известные, содержит корпус, в котором установлена механическая передача, преобразующая возвратно-поступательное движение во вращательное, включающая в себя вертикальный винт с шариковой гайкой.

Задача, решаемая данным изобретение, заключалась в создании более надежного по конструкции амортизатора с регулированием режима амортизации.

Техническим результатом изобретения является повышение надежности и долговечности работы амортизатора, в конструкции которого исключено трение и нагрев его элементов, более эффективное и стабильное гашение колебаний во всем спектре частот, повышение плавности хода транспортного средства при движении по любым дорогам с автоматическим выбором и регулированием режима работы амортизатора.

Данный технический результат достигается тем, что механическая передача содержит спиральную пружину, размещенную в подвижном кожухе, на крышке которого установлены два или более демпфирующих устройства, связанных с головкой вертикального винта. Внешний конец спиральной пружины соединен с подвижным кожухом, а внутренний конец жестко прикреплен к внешнему кольцу, соединенному с шариковой гайкой, установленной в подвижном кожухе. Корпус снабжен фиксаторами для регулирования режимов амортизации.

Демпфирующие устройства могут быть выполнены в виде винтов с шариковыми гайками, установленными в неподвижных кожухах со спиральными пружинками, жестко соединенных с головкой вертикального винта.

Один из фиксаторов может быть установлен в отверстии горловины корпуса, а второй установлен на скобе, жестко закрепленной на горловине корпуса, при этом на подвижном кожухе и внешнем кольце по кругу выполнены гнезда для их соединения с фиксаторами.

Включение в механическую передачу спиральной пружины, размещенной в подвижном кожухе и соединенной с ним ее внешним концом, внутренним концом прикрепленной к внешнему кольцу, соединенному с шариковой гайкой, установленной в подвижном кожухе, обеспечивает рекуперацию энергии колебаний без выделения тепла, то есть без трения и нагрева, эффективное уменьшение низкочастотных колебаний и практически не усиливает высокочастотные, что повышает плавность хода машины. Такое конструктивное исполнение обеспечивает небольшие габаритные размеры амортизатора при создании инерционной силы, достаточной для эффективного гашения колебаний, что повышает надежность и долговечность работы амортизатора, а также автоматический выбор и регулирование режима работы амортизатора.

Закрепление на крышке подвижного кожуха демпфирующих устройств, жестко связанных с головкой вертикального винта, обеспечивает ограничение инерционных сил при высокочастотных колебаниях и восприятие нагрузки механической передачи при гашении скорости амортизации в различных режимах. Тем самым повышается как эффективность гашения колебаний во всем спектре частот, так и надежность и долговечность работы амортизатора.

Фиксаторы обеспечивают неподвижность того или иного конца спиральной пружины или обоих концов в зависимости от состояния дороги, скорости и маневрирования транспортного средства, то есть автоматически регулируют режим работы амортизатора.

Выполнение демпфирующих устройств в виде винтов с шариковыми гайками, установленными в неподвижных кожухах со спиральными пружинками, жестко соединенных со шляпкой вертикального винта, или в виде стоек, продетых в отверстия цилиндрической головки вертикального винта, обеспечивает беспрепятственное перемещение шариковых гаек при низкочастотных колебаниях, ограничение инерционных сил и восприятие нагрузки механической передачи при гашении скорости амортизации в различных режимах.

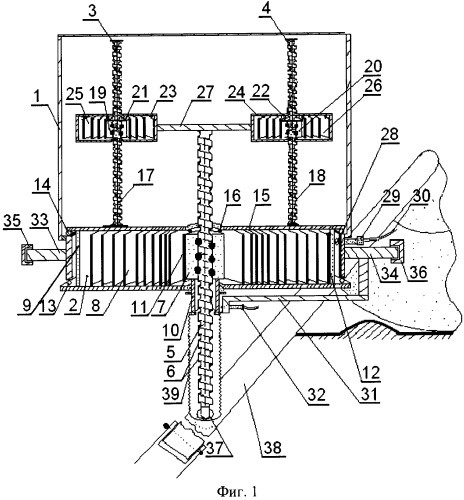
Заявляемое изобретение поясняется с помощью чертежей, где на фиг.1 представлен продольный разрез амортизатора с демпфирующими устройствами по п.2 изобретения, на фиг.2 - продольный разрез амортизатора с демпфирующими устройствами в виде стоек.

Амортизатор содержит (см. фиг.1) корпус 1 цилиндрической формы, в нижней части которого смонтирована механическая передача 2 (являющаяся разновидностью пружинной рессоры нового типа), а в верхней размещены демпфирующие устройства 3 и 4. Демпфирующих устройств может быть более двух. Механическая передача 2 включает в себя вертикальный винт 5 с винтовыми гребнями 6, во впадинах которых вращается шариковая гайка 7, и спиральную пружину 8, размещенную в подвижном кожухе 9. Шариковая гайка 7 установлена с возможностью вращения на внешнем кольце 10 внутри горизонтально расположенной спиральной пружины 8, внутренний конец 11 которой жестко соединен с шариковой гайкой 7 через внешнее кольцо 10, а внешний конец 12 жестко соединен с кожухом 9, установленным в корпусе 1 с возможностью его вращения на упорных подшипниках 13 и 14. Таким образом, при вращении шариковой гайки 7 пружина 8 закручивается или раскручивается, обеспечивая плавность хода машины. Внутренний конец 11 пружины 8 имеет большую упругость, чем внешний 12 за счет большей крутизны и меньшего плеча изгиба. Выбор типа спиральной пружины 8 для балансировки движения шариковой гайки 7 зависит от шага винта 5 - расстояния между винтовыми гребнями 6: чем оно меньше, тем слабее требуется пружина 8. Это дает возможность устанавливать спиральную пружину 8, более тонкую по толщине, что приводит к увеличению числа ее витков в заданном диаметре и дополнительной гибкости, повышающей ее предел прочности, то есть к увеличению надежности и долговечности. Для увеличения силы упругости пружины 8 можно также увеличить ее ширину.

Подвижный кожух 9 выполнен с крышкой 15, к которой с внутренней стороны жестко прикреплен радиально-упорный подшипник 16 для установки шариковой гайки 7. Для ее установки может быть смонтирован дополнительный подшипник (не показан), расположенный в нижней части кожуха 9. К внешней стороне крышки 15 жестко прикреплены демпфирующие устройства 3 и 4, представляющие собой два вертикальных винта 17 и 18 с шариковыми гайками 19 и 20, установленными в упорных подшипниках 21 и 22 кожухов 23 и 24 со спиральными пружинками 25 и 26, концы которых (не показано) соединены соответственно с шариковыми гайками 19 и 20 и с кожухами 23 и 24 (аналогично соединению концов 11 и 12 пружины 8 с гайкой 7 и кожухом 9). Кожухи 23 и 24 жестко прикреплены к головке 27 вертикального винта 5. Винты 17 и 18 имеют меньший шаг, чем винт 5, что не препятствует подъему винта 5. Спиральные пружинки 25 и 26 закручены так, чтобы их инерционной силы было достаточно для движения шариковых гаек 19 и 20 вверх с любого места их нахождения на винтах 17 и 18. Демпфирующие устройства 3 и 4 служат для плавного опускания винта 5 (гашения скорости его опускания) при раскручивании спиральной пружины 8, а также воспринимают нагрузку всей механической передачи 2 при гашении скорости амортизации в различных режимах работы амортизатора.

Нижняя часть корпуса 1 выполнена с горловиной, в боковой части которой выполнено отверстие 28 для установки фиксатора 29, тросовой или гидравлической передачей 30 соединенного с управлением машины (не показано). На подвижном кожухе 9 при этом по кругу выполнены гнезда или отверстия (не показано) под фиксатор 29. На горловине корпуса 1 закреплена скоба 31 с фиксатором 32, подведенная к внешнему кольцу 10, также имеющему расположенные по кругу гнезда или отверстия (не показано) под фиксатор 32. Фиксаторы 29 и 32 предназначены для соединения корпуса 1 с внешним кольцом 10 или с подвижным кожухом 9 при переключении режимов амортизации. Фиксаторы могут быть выполнены в виде шестеренок, имеющих постоянное зацепление с большими шестернями (не показано), опоясывающими подвижный кожух 9 и внешнее кольцо 10 в целях безударной фиксации режимов. Горловина корпуса 1 жестко соединена с балансирными пальцами 33 и 34, размещенными в люльках 35 и 36 рамы или нижней части корпуса автомобиля параллельно продольной оси автомобиля.

Вертикальный винт 5 шаровой поверхностью 37 шарнирно установлен на оси 38 колеса автомобиля. Нижняя часть винта 5 защищена от пыли и грязи гофрированным кожухом 39.

Демпфирующие устройства могут быть выполнены иного конструктивного исполнения (см. фиг.2). К крышке 15 подвижного кожуха 9 могут быть жестко прикреплены две или более стойки 40 и 41, продетые в отверстия 42 и 43, выполненные в головке 27 винта 5. Демпфирующие устройства могут быть выполнены в виде стоек 40 и 41, перемещающихся во втулках (не показаны), установленных в отверстиях 42 и 43 головки 27 вертикального винта 5, при этом головка 27 может быть подпружинена. Амортизатор работает следующим образом (см. фиг.1).

Амортизатор имеет 4 режима амортизации: средний, мягкий, усиленный и жесткий. Режимы переключаются автоматически в зависимости от состояния дороги, скорости и маневрирования. Рассмотрим работу амортизатора во всех режимах.

При среднем режиме амортизации передачей 30 включается фиксатор 29, который жестко связывает подвижный кожух 9 с корпусом 1. Фиксатор 32 при этом отключен. При наезде колеса автомашины, например, на кочку ось 38 поднимается под углом к раме или нижней части корпуса автомобиля. При этом винт 5, не имея свободы вращения, поднимается, гайка 7, вращаясь во впадинах винтовых гребней 6, жестко соединенная через внешнее кольцо 10 с внутренним концом пружины 11, закручивает спиральную пружину 8. Происходит гашение колебаний и нарастание сопротивления к дальнейшему подъему винта 5 инерционной силой закручивающейся пружины 8. Шариковые гайки 19 и 20, установленные в упорных подшипниках 21 и 22 кожухов 23 и 24 со спиральными пружинками 25 и 26, также поднимаются по винтам 17 и 18, не создавая при этом препятствия подъему винта 5. Затем, например, при съезде колеса автомашины с кочки, пружина 8 через шариковую гайку 7 начинает опускать винт 5, при этом демпфирующие устройства 3 и 4 воспринимают нагрузку от пружины 8 и гасят скорость опускания винта 5, которая зависит от разницы в шаге винта 5 и винтов 17 и 18, а также установленной силы пружинок 25 и 26.

При мягком режиме амортизации фиксатор 32 соединяет внешнее кольцо 10 со скобой 31, жестко прикрепленной к корпусу 1. Дорожный просвет в этом случае уменьшается (если нет автоматического проворачивания винтов на опускание нижней части корпуса автомобиля для сохранения прежней его высоты). Шариковая гайка 7 и внутренний конец 11 пружины 8 - неподвижны. Фиксатор 29 - отключен. Подвижен внешний конец 12 спиральной пружины 8, имеющей жесткую связь с винтом 5. Поднимаясь вместе с осью 38, винт 5 при застопоренной гайке 7 начинает вращаться. Подвижный кожух 9, жестко связанный внешним концом 12, закручивает пружину 8 в более мягком по сравнению с другими режимами варианте. Обеспечивается рекуперация энергии колебаний транспортного средства. При спуске винта 5 вниз происходит взаимодействие элементов амортизатора в обратном порядке по той же механической цепочке.

Усиленный режим - это одновременная работа двух концов 11 и 12 спиральной пружины 8 на закручивание и разрядку, то есть в противоположных направлениях вращения. Фиксаторы 29 и 32 при этом отключены. Винт 5 и гайка 7 вращаются свободно. Дорожный просвет в этом случае увеличивается (если нет автоматического проворачивания винтов на опускание нижней части корпуса автомобиля для сохранения прежней его высоты).

Жесткий режим - это полное отключение спиральной пружины 8 путем включения обоих фиксаторов 29 и 32, при этом винт 5 и гака 7 застопорены в определенном положении, что позволяет зафиксировать величину дорожного просвета автомобиля. В данном случае амортизатор не работает, и применяется такой режим в основном при поворотах на скоростных дорогах с целью практически полного сохранения высоты корпуса автомобиля над осями колес, воспринимающими нагрузку от действия центробежных сил, для устранения опрокидывающего момента.

Переключения концов 11 и 12 спиральной пружины 8, то есть автоматический выбор режимов амортизации, можно совместить в едином действии с переключением коробки скоростей. Например: 1-я передача - мягкий режим; 2, 3 - средний режим; 4-я - усиленный режим, а при повороте руля включается тот или иной режим амортизации в зависимости от скорости и других условий. Автоматический выбор режима амортизации для выбранной скорости движения обеспечивает лучшее управление автомобилем и более безопасное и комфортное движение.

Примеры выбора режимов амортизации при переключениях скоростей, поворотах руля и торможении

Пример 1. Автомобиль идет на первой скорости, руль прямо - включен мягкий режим на амортизаторах всех колес. При повороте руля на определенный заданный угол происходит включение среднего режима амортизаторов, установленных на полуоси колес, описывающих большую дугу поворота. При повороте руля для максимально возможного поворота происходит дальнейшее переключение амортизаторов со среднего в усиленный режим.

Пример 2. Автомобиль идет на второй или третьей скорости, руль прямо - применяется средний режим на амортизаторах всех колес. При повороте на амортизаторах колес с большей дугой поворота включается усиленный режим, а на амортизаторах колес с меньшей дугой поворота включается мягкий режим.

Пример 3. Автомобиль идет на четвертой скорости, руль прямо - включен усиленный режим на амортизаторах всех колес. При повороте происходит включение среднего режима на амортизаторах колес с меньшей дугой поворота и дальнейшее их переключение со среднего в мягкий режим при большем повороте руля.

Пример 4. При выходе из поворота, например, на четвертой скорости, амортизаторы на колесах с меньшей дугой отворота переключаются в средний режим, а при дальнейшем отвороте руля - включаются в усиленный (изначальный) режим. Возможны и другие варианты переключения режимов амортизации.

Пример 5. Торможение. Руль прямо, пятая скорость, усиленный режим амортизации на всех осях. При торможении амортизаторы колес заднего моста включаются в мягкий режим, способствуя проседанию задней части автомобиля и уменьшению ее подъема. Это дает усиление сцепления всех колес с дорогой, так как плоскость днища сохраняет параллельность дороге, и меньший подъем задней части автомобиля, что уменьшает вероятность возможного ее заноса.

Пример 6. Использование жесткого режима. Автомобиль идет на четвертой скорости, руль прямо, установлен усиленный режим работы всех амортизаторов. При повороте влево на определенный угол, например до 10-15°, амортизаторы правых колес переключаются в жесткий режим работы, а левых - в средний. При повороте руля на больший угол поворота - амортизаторы правых колес остаются в жестком режиме, а амортизаторы левых колес переключаются из среднего в мягкий режим, устраняя опрокидывающий момент от действия центробежных сил. При выходе из поворота переключения производятся автоматически в обратном порядке.

Выбор и порядок автоматических переключений режимов амортизации в зависимости от условий движения автомобиля устанавливаются после испытаний.

Преимущества заявляемого амортизатора:

- практически абсолютная безаварийность спиральных пружин в сложных условиях эксплуатации за весь срок службы автомобиля, так как в них не возникают напряжения кручения, амортизационный изгиб сведен до минимума и зависит от количества ее витков, число которых может быть n=5, 6, 7…;

- возможность выбора режима работы или его автоматической подстройки, связанной с переключением передач скорости, а также с поворотом руля;

- возможность взаимосвязи (не показано) двух амортизаторов моста автомобиля для манипулирования силой упругости между его колесами;

- возможность регулирования высоты посадки автомашины и полного устранения его крена при поворотах, сохранения высоты посадки при неравномерно распределенной весовой загрузке, а также возможность установки ее начальной высоты;

- высокая надежность демпферного устройства.

Заявляемый амортизатор надежен, долговечен, многофункционален, обеспечивает эффективное и стабильное гашение колебаний во всем спектре частот, повышение плавности хода транспортного средства при движении по любым дорогам.

1. Амортизатор транспортного средства, содержащий корпус, в котором установлена механическая передача, преобразующая возвратно-поступательное движение во вращательное, включающая в себя вертикальный винт с шариковой гайкой, отличающийся тем, что механическая передача содержит спиральную пружину, размещенную в подвижном кожухе, на крышке которого установлены два или более демпфирующих устройства, жестко связанных с головкой вертикального винта, внешний конец спиральной пружины соединен с подвижным кожухом, а внутренний конец жестко прикреплен к внешнему кольцу, соединенному с шариковой гайкой, установленной в подвижном кожухе, при этом корпус снабжен фиксаторами для регулирования режимов амортизации.

2. Амортизатор по п.1, отличающийся тем, что демпфирующие устройства представляют собой винты с шариковыми гайками, установленными в неподвижных кожухах со спиральными пружинками, жестко соединенные с головкой вертикального винта.

3. Амортизатор по п.1 или 2, отличающийся тем, что один из фиксаторов установлен в отверстии горловины корпуса, а второй установлен на скобе, жестко закрепленной на горловине корпуса, при этом на подвижном кожухе и внешнем кольце по кругу выполнены гнезда для их соединения с фиксаторами.