Устройство для гибки изделий из проволоки
Иллюстрации
Показать всеИзобретение относится к производству изделий гибкой и может быть использовано в автотранспортной, мебельной и других отраслях промышленности. Устройство содержит механизм зажима, установленные на основании направляющие штанги, смонтированные на них гибочные модули, имеющие закрепленные в корпусе гибочный ролик, опорный валик или ролик и вал с ведомой шестерней. В корпусе каждого гибочного модуля смонтирован поворотный пневмопривод, на валу которого закреплены кулачки, взаимодействующие с датчиками управления работой устройства. Устройство также снабжено приводной шестерней, зацепляющейся с упомянутой ведомой шестерней, регулятором углового поворота гибочного ролика и механизмами ориентации заготовок, смонтированными по обе стороны гибочных модулей. Расширяются технологические возможности, упрощается наладка и эксплуатация. 3 з.п. ф-лы, 5 ил.
Реферат
Изобретение относится к технике для изготовления широкой номенклатуры деталей гибкой из проволочных заготовок, которые имеют различные форму и размеры. Большая номенклатура таких изделий используется в автотранспортной промышленности. При их производстве, в большинстве случаев, используется труд незрячих исполнителей, а проблема обеспечения их рабочими местами является одной из важнейших социальных проблем в виду того, что эта категория тружеников выпала из-под патронажной опеки государства.
В настоящее время на автозаводах для этой цели используются сложные многопозиционные универсально-гибочные автоматы, но их технологические возможности реализуются на 20-30% с учетом затрат на их переналадку и высокой квалификации наладчиков (4, 5, 6).
Известно устройство для резки медной заготовки и загибки ушек по концам отрезанной заготовки, содержащее механизм подачи проволоки, механизм резки, барабан с направляющими пазами для удержания заготовки и выбрасывания готового изделия, зубчато-реечную передачу, взаимосвязанную с поворотной гибочной оправкой и кулисным приводом, а также кулачковый привод поворота барабана (1).
Это устройство имеет сложную конструкцию и ограниченные технологические возможности, так как оно предназначено только для загибки ушек, без возможности дальнейшего изгиба и только одной длины.
Известно другое, принятое за прототип устройство для резки мерной заготовки и загибки ушек по концам отрезаемой заготовки, включающее механизм подачи проволоки, отрезки мерной заготовки, смонтированные на штанге механизм центрального гиба заготовки и симметрично относительно него гибочные модули с гибочными головками, имеющими закрепленные в корпусе гибочный и опорный ролики и вал с ведомой шестерней, выполненные за одно целое (2).
Недостатком известного устройства является то, что при изменении длины гибки ветвей изделия, образуемых гибочным ползуном (штоком), требуется новый гибочный ползун (шток), что ограничивает его технологические возможности и повышает себестоимость изготовления. Эксплуатация устройства требует для работы на нем работников высокой квалификации.
В основу настоящего изобретения поставлена задача расширения технологических возможностей устройства, простоты в наладке и эксплуатации, на котором могли бы работать незрячие.
Поставленная задача решается тем, что устройство для гибки изделий из проволоки, содержащее механизм зажима, установленные на основании направляющие штанги, смонтированные на них гибочные модули, имеющие закрепленные в корпусе гибочный и опорный ролики и вал с ведомой шестерней, снабжено смонтированным в корпусе каждого гибочного модуля поворотным приводом, закрепленными на его валу кулачками, взаимодействующими с датчиками управления работой устройства, приводной шестерней, зацепляющейся с упомянутой ведомой шестерней, регулятором поворота гибочного ролика и механизмами ориентации, смонтированными по обе стороны гибочных модулей. В устройстве вал модуля выполнен в виде полого цилиндра и снабжен штоком, размещенным в его отверстии, одним концом соединенным с пневмоприводом его осевого перемещения, а на другом его конце установлен упомянутый опорный ролик; механизм зажима установлен на штангах между гибочными модулями и выполнен в виде кронштейна, со смонтированными на нем пневмоприводом зажима, призматическими неподвижной и подвижной губками, причем подвижная губка шарнирно установлена на оси и связана с пневмоприводом зажима; регулятор углового поворота гибочного ролика выполнен в виде рычага, закрепленного на валу поворотного пневмопривода и ограничительных упоров, размещенных на корпусе по обе стороны рычага.
Устройство поясняется чертежами.
На фиг.1 изображен общий вид устройства;
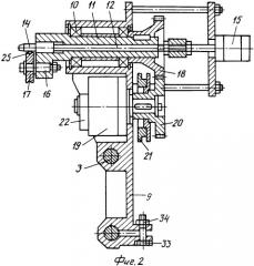
на фиг.2 - разрез по А-А модулей загибки ушков;
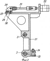
на фиг.3 - разрез по Б-Б механизма зажима;
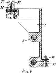
на фиг.4 - разрез по В-В механизма ориентации с ловителями;
на фиг.5 - разрез по Г-Г модуля загибки с роликами для изделий Г-, П- и С-образной форм.
Устройство включает основание 1, установленные на нем кронштейны 2, в которых закреплены направляющие штанги 3. На штангах смонтированы механизм зажима 4, по обе стороны его установлены оппозитно гибочные модули 5 и 6, за ними механизмы ориентации 7 и 8. В корпусе 9 каждого модуля 5 и 6 смонтирован с возможностью поворота в подшипниках 10 эксцентриковый вал 11, выполненный в виде полого цилиндра, в отверстии которого установлен шток 12, на одном его конце установлен опорный валик 14, а другой - соединен с пневмоприводом 15 его осевого перемещения. На торце вала 11 смонтирован эксцентрично на оси 16 гибочный ролик 17, на противоположном конце закреплена ведомая шестерня 18. Поворотный пневмопривод 19 через ведущую шестерню 20, закрепленную на его валу, зацепляется с ведомой шестерней 18, а кулачки 21 взаимодействуют с датчиками управления (на чертеже не показаны) работой устройства. Регулятор 22 углового поворота гибочного ролика 17 выполнен в виде рычага 23, закрепленного на валу пневмопривода 19, и ограничительных упоров 24, размещенных по обе стороны рычага 23. Упоры 24 смонтированы на торце пневмопривода 19 с возможностью угловой регулировочной перестановки. Заготовка 25 фиксируется упорами 26 при подгибке ушек.
Механизм зажима 4 заготовки 25 выполнен в виде кронштейна 27, на котором смонтированы неподвижная 28 и подвижная 29 губки, причем губка 29 шарнирно смонтирована на оси 30 и посредством тяги 31 связана с пневмоприводом 32.
Гибочные модули 5 и 6, механизмы зажима 4 и ориентации 7 и 8 смонтированы с возможностью регулировочного перемещения по штангам 3 и фиксируются зажимным элементом 33 и 34.
В зависимости от радиуса гибки, диаметра проволоки конструктивно вместо валика 14 устанавливаются ролики 41 (фиг.5) с соответствующими ручьевыми канавками.
После операции загибки ушка на мерной заготовке 25, если необходимо ее изогнуть по форме Г-; П- или С-образной, производят соответствующую переналадку путем перемещения модулей гибки 5 и 6 и механизмов 7 и 8 ориентации на технологический размер гибки.
Для точного попадания заготовки 25 в ручьевую канавку гибочных инструментов 14 и 17 механизмы 7 и 8 снабжены ловителями 35 и 36, образованными пластинами 37 и 38.
Со стороны рабочей зоны каждого гибочного модуля установлены регулируемые упоры 39 и 40, определяющие положение заготовки относительно гибочного инструмента.
Устройство работает следующим образом.
Мерная заготовка 25 при завивке ушка устанавливается на призму 28, упоры 39 и 40, ролики 17 и фиксируется упорами 26, включается пневмопривод 32 зажима заготовки. Пневмоприводом 15 выдвигается в левое крайнее положение опорный валик 14, включается поворотный пневмопривод 19 и через зубчатую передачу 20, 18 и эксцентриковый вал 11 получает вращение гибочный ролик 17, который огибает конец заготовки 25 вокруг опорного валика 14, образуя ушко. Угол поворота ролика 17 определяется положением упоров 24, в которые упирается рычаг 23, при этом кулачки 21 падают команду датчикам управления работой устройства пневмоприводами 15, 19 и 32 на возврат роликов 17, отключения зажима и втягивания штока 12.
В случае, если необходимо этот полуфабрикат изогнуть по одной из форм изделий группы «Б», то осуществляют переналадку устройства. Для этого ослабляют зажимные элементы 33 и 34, устанавливают на требуемый размер гибочные модули 5 и 6, механизмы ориентации 7 и 8, меняют валик 14 на ролик 41 требуемого диаметра, фиксируют зажимные элементы 33 и 34. Устройство готово для осуществления гибки изделий типа «Б». Заготовка также устанавливается на призму 28, упоры 39, 40, ролик 17 и в ловители 35 и 36.
Дается команда на включение устройства и работа осуществляется по циклу, описанному для загибки ушков.
Заявленное устройство изготовлено и работает на предприятии Батайского ПО «Электросвет ВОС». Устройство работает надежно, высокопроизводительно, простое в обслуживании, что позволило решить проблему обеспечения рабочими местами лиц с ограниченными возможностями по зрению.
Источники информации
1. А.С. СССР № 604612, В21F 1/00, 23.11.1976 (аналог).
2. А.С. СССР № 517371, В21F 1/00, 06.01.1975 (прототип).
3. А.С. СССР № 346003, В21F 27/14, 17.07.1969.
4. Л.Н.Давыдов. Станок для загибки ушков-зацепов у пружин растяжения крупных габаритов. Л, ЛДНТП, 1963, стр.5-9.
5. Н.А.Федоров и др. Универсально-гибочные автоматы. М., Машгиз, 1961, стр.5-19, 122-124, фиг.6, 7, 8, 9, 10, 106, 107.
6. Г.Н. и В.Г.Ровинские. Универсально гибочные автоматы с приводом от центральной шестерни. М., Машгиз, 1961.
1. Устройство для гибки изделий из проволоки, содержащее механизм зажима, установленные на основании направляющие штанги, смонтированные на них гибочные модули, имеющие закрепленные в корпусе гибочный ролик, опорный валик или ролик и вал с ведомой шестерней, отличающееся тем, что оно снабжено смонтированным в корпусе каждого гибочного модуля поворотным пневмоприводом, закрепленными на его валу кулачками, взаимодействующими с датчиками управления работой устройства, приводной шестерней, зацепляющейся с упомянутой ведомой шестерней, регулятором углового поворота гибочного ролика и механизмами ориентации заготовок, смонтированными по обе стороны гибочных модулей.
2. Устройство по п.1, отличающееся тем, что вал гибочного модуля выполнен в виде полого цилиндра и снабжен размещенным в его отверстии штоком, один конец которого соединен с пневмоприводом его осевого перемещения, а на другом его конце установлен упомянутый опорный валик или ролик.
3. Устройство по п.1, отличающееся тем, что механизм зажима установлен на штангах между гибочными модулями и выполнен в виде кронштейна со смонтированными на нем пневмоприводом зажима и призматическими неподвижной и подвижной губками, при этом подвижная губка шарнирно установлена на оси и связана с упомянутым пневмоприводом.
4. Устройство по п.1, отличающееся тем, что регулятор углового поворота гибочного ролика выполнен в виде рычага, закрепленного на валу поворотного пневмопривода, и ограничительных упоров, размещенных на корпусе по обе стороны рычага.



