Устройство для хранения, предназначенное для холодильника

Иллюстрации

Показать все

Холодильник с устройством для хранения, которое снабжено рамой, по меньшей мере, с двумя удлиненными в продольном направлении кронштейнами, которые отстоят друг от друга на фиксированное расстояние, и полкой, которая выполнена в виде коробки для охлаждаемых продуктов, которая выполнена с возможностью опоры на кронштейны и закреплена с опиранием в промежутке между кронштейнами. Кронштейны могут выборочно помимо выполненной в виде коробки полки для охлаждаемых продуктов удерживать также выполненную в виде листа полку для охлаждаемых продуктов. Использование данного изобретения позволяет легко и быстро устанавливать устройство для хранения в холодильнике. 9 з.п. ф-лы, 6 ил.

Реферат

Область техники

Настоящее изобретение относится к устройству, устанавливаемому в холодильном аппарате и предназначенному для хранения охлаждаемых продуктов.

Уровень техники

Подобные устройства могут монтироваться на корпусе холодильника, при этом они обычно имеют форму полок, которые подвешиваются к противолежащим стенкам полости холодильного аппарата и большей частью заполняют свободную площадь полости. Приспособления, предназначенные для установки на внутренней стороне двери холодильного аппарата, обычно имеют форму открытых сверху коробок, которые с помощью взаимно согласованных фиксирующих элементов на коробке и на внутренней стороне двери крепятся к внутренней стороне двери на желаемой высоте. Употребляются также приспособления в форме коробок с откидной крышкой, устанавливаемых на внутренней стороне двери.

Хотя многие такие приспособления можно демонтировать и по желанию пользователя устанавливать в холодильном аппарате на различной высоте, однако процесс демонтажа и монтажа обычно затруднителен, так что полное извлечение пользователем такого приспособления, чтобы достать хранящиеся в нем или на нем продукты, является нецелесообразным.

Раскрытие изобретения

Задача изобретения состоит в том, чтобы создать устройство для хранения, предназначенное для холодильного аппарата, которое можно было бы, хотя бы частично, извлекать из холодильного аппарата, чтобы достать его содержимое, а затем легко и быстро устанавливать на место в холодильном аппарате.

Эта задача решена устройством для хранения в холодильном аппарате, имеющим раму, по меньшей мере, с двумя удлиненными в продольном направлении кронштейнами, отстоящими друг от друга на фиксированном расстоянии, и полку для охлаждаемых продуктов, которая расположена, т.е. лежит, на кронштейнах и закрепляется с опиранием в промежутке между кронштейнами. Конструкция из двух частей позволяет при извлечении полки с охлаждаемыми продуктами или предметами (называемыми далее для краткости продуктами) оставлять раму на своем месте в холодильном аппарате, так что после использования полки вне холодильного аппарата, ее можно просто положить на кронштейны и закрепить. Благодаря закреплению в промежутке между кронштейнами полка не может соскользнуть и выпасть, что особенно важно, когда рама монтируется на двери холодильного аппарата.

Предпочтительно оба кронштейна изготавливаются совместно в виде единой детали, благодаря чему обеспечивается фиксированное расстояние между ними.

Предпочтительно рама охватывает промежуток между кронштейнами по всему периметру, т.е. кронштейны соединяются между собой с обоих концов. Этим обеспечивается высокая степень жесткости и устойчивости рамы.

Однако для удобства пользования полкой для продуктов может быть также целесообразно, чтобы каждый из кронштейнов имел общую крепежную часть для прикрепления к холодильному аппарату на одном своем конце, а другие концы кронштейнов были свободны.

Полка для продуктов может быть выполнена в виде коробки со стенками, окружающими ее снаружи, но может быть также и плоской без наружного ограждения.

Если полка представляет собой коробку, то с точки зрения устойчивости желательно, чтобы ее дно было опущено ниже кронштейнов, так чтобы центр тяжести полки и, в соответствующих случаях, ее содержимого располагался как можно ниже. В этом случае коробка сама закрепляется между кронштейнами.

Коробка может быть снабжена крышкой.

Если полка представляет собой покоящийся на кронштейнах лист, то желательно, чтобы на его нижней стороне имелся хотя бы выступ для надежной фиксации в промежутке между кронштейнами. Такой лист также может быть снабжен крышкой, причем в этом случае крышка должна иметь форму коробки с внутренней полостью.

Особенно желательно, чтобы такую коробчатую крышку саму можно было вставить в раму вместо листа.

При таком расположении прежний лист может играть роль крышки, иными словами, лист и крышка могут устанавливаться в раме в двух различных конфигурациях, либо листом вниз, либо крышкой вниз.

Кронштейны устройства для хранения продуктов предпочтительно устанавливаются в соответствующих случаях крепежной частью на внутренней стороне двери холодильного аппарата. Однако с таким же успехом можно устанавливать устройство и на внутренней стенке корпуса холодильного аппарата.

Краткий перечень фигур чертежей

Прочие признаки и преимущества изобретения вытекают из нижеследующего описания примеров реализации со ссылками на прилагаемые фигуры. На них изображены:

на фиг.1 - перспективное изображение рамы устройства для хранения продуктов согласно первому варианту реализации изобретения;

на фиг.2 - перспективное изображение второго варианта рамы;

на фиг.3 - рама по фигуре 1 с полкой для продуктов в виде листа;

на фиг.4 - рама по фигуре 1 с полкой для продуктов в виде коробки;

на фиг.5 - вид устройства для хранения продуктов по фиг.3, где полка для продуктов в виде листа накрыта как крышкой полкой для продуктов в виде коробки;

на фиг.6 - схематический разрез холодильного аппарата с изображением различных возможностей установки устройства для хранения продуктов.

Осуществление изобретения

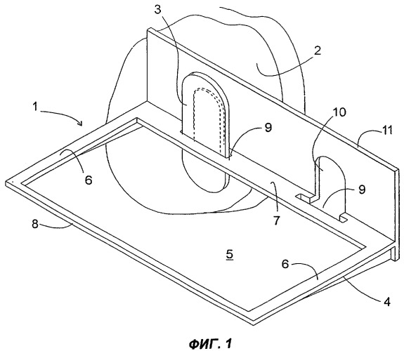
На фиг.1 представлено перспективное изображение рамы 1 предлагаемого в изобретении устройства для хранения продуктов с частью стенки 2 корпуса холодильного аппарата, в котором установлена рама 1. В стенке 2 через равные интервалы установлены утапливаемые в стенку крепежные выступы 3, один из которых показан в выдвинутом положении.

Рама 1 имеет форму уголкового профиля с горизонтальной полкой 4, в которой вырезано большое, в данном случае прямоугольное, отверстие 5, так что от полки 4 практически остаются окружающие отверстие 5 параллельные кронштейны 6, прилегающее к стенке 2 ребро 7 и дальнее от стенки ребро 8. В прилегающем к стенке ребре 7 вырезаны два Т-образных отверстия 9, которые вместе с отверстиями 10 в вертикальной полке 11 образуют вырезы для установки на крепежные выступы 3. С помощью двух входящих в эти вырезы крепежных выступов 3 (из которых показан только один) рама 1 прочно крепится на стенке 2.

В модификации рамы 1, изображенной на фиг.2, от дальнего от стенки 2 ребра 8 остались два направленные навстречу друг другу пальца 12, выступающие из свободных концов кронштейнов 6.

На фиг.3 изображена рама 1 по фиг.1 с исполняющим роль полки листом 13, опирающимся на кронштейны 6 и соединяющие их ребра 7, 8. Лист 13 изображен на чертеже прозрачным, чтобы показать два выступа 14, которые служат ножками листа 13, когда он не установлен в раме 1, а, например, поставлен на стол. Размеры и положение выступов 14 таково, что, располагаясь между кронштейнами 6 и ребрами 7, 8, они фиксируют лист 13 в горизонтальной плоскости.

Лист 13 с целью упрощения изображен на чертеже с плоской верхней стороной, однако он может быть также изогнутым или иметь фиксирующие выступы или ребра, удерживающие в неподвижном состоянии в горизонтальной плоскости надетую на лист 13 (не изображенную на чертеже) крышку.

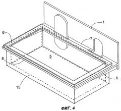
На фиг.4 изображена рама 1 по фиг.1 с полкой для хранения продуктов в виде коробки 15, имеющей дно и четыре стенки. Обходящий по периметру верхние кромки стенок поясок 16 опирается на кронштейны 6 и ребра 7, 8; размеры самой коробки 15 соответствуют расстоянию между кронштейнами 6, так что она фиксируется в горизонтальной плоскости, плотно входя в отверстие 5.

На фиг.5 изображена та же коробка 15, что и на фиг.4, но в перевернутом виде, где она служит крышкой листа 13 по фиг.3. Лист 13 и коробка 15 могут, таким образом, использоваться совместно, например, в качестве масленки, которую можно вместе с содержимым легко извлечь из установленной в холодильнике рамы 1 и поставить на обеденный стол, а после использования снова установить в фиксированное положение в раме 1.

Чтобы извлечь масленку, пользователь должен взять лист 13 за выступающие за кронштейны 6 и коробку 15 планки 17. Если планки 17 достаточно велики, достаточно взяться только за одну из них; если планки 17 слишком коротки, то для надежного захвата масленку нужно держать двумя руками. Рама 1 по фиг.2 позволяет, кроме того, вынуть масленку, например, взявшись за лист 13 снизу большим пальцем, а за коробку 15 сверху остальными пальцами одной руки, независимо от размера планок 17. Таким образом, такая конструкция рамы позволяет сделать планки 17 короткими и, тем самым, сэкономить место в холодильном аппарате.

На фиг.6 на схематическом разрезе холодильного аппарата представлены различные возможности установки предлагаемого изобретением устройства для хранения продуктов. Хотя типичным применением будет установка на выступах 3 двери 18 холодильного аппарата, однако не исключается установка на внутренней стенке корпуса 19, если на ней предусмотреть соответствующие крепежные выступы 3.

1. Холодильник с устройством для хранения, которое снабжено рамой (1), по меньшей мере, с двумя удлиненными в продольном направлении кронштейнами (6), отстоящими друг от друга на фиксированное расстояние, и выполненной в виде коробки полкой (15) для охлаждаемых продуктов, которая выполнена с возможностью опоры на кронштейны (6) и закрепления с опиранием в промежутке (5) между кронштейнами (6), отличающийся тем, что кронштейны (6) могут выборочно помимо выполненной в виде коробки полки (15) для охлаждаемых продуктов удерживать также выполненную в виде листа полку для охлаждаемых продуктов.

2. Устройство по п.1, отличающееся тем, что оба кронштейна (6) изготовлены совместно в виде единой детали.

3. Устройство по п.1 или 2, отличающееся тем, что рама (1) полностью окружает промежуток (5).

4. Устройство по п.1 или 2, отличающееся тем, что каждый из кронштейнов (6) имеет конец, связанный с общей частью (7, 11) для прикрепления к холодильному аппарату, и свободный конец (12).

5. Устройство по п.1 или 2, отличающееся тем, что полка выполнена в виде коробки (15) с внутренней полостью, которая опускается ниже кронштейнов (6), когда коробка (15) закреплена между кронштейнами (6).

6. Устройство по п.5, отличающееся тем, что коробка (15) имеет крышку (13).

7. Устройство по п.1, отличающееся тем, что полка для хранения продуктов представляет собой лежащий на кронштейнах (6) лист (13), с нижней стороны которого имеется, по меньшей мере, один выступ (14) для фиксации в промежутке (5).

8. Устройство по п.7, отличающееся тем, что лист (13) имеет коробчатую крышку (15).

9. Устройство по п.8, отличающееся тем, что коробчатая крышка (15) сама вставляется в раму (1) в качестве полки для хранения продуктов.

10. Устройство по п.1, отличающееся тем, что кронштейны (6) выполнены с возможностью монтажа на внутренней стороне двери (18) холодильного аппарата.