Дверная полка для холодильника

Иллюстрации

Показать все

Дверная полка для холодильника имеет, по меньшей мере, одно полностью закрываемое отделение для хранения охлажденных продуктов. Указанное отделение образовано выдвижной коробкой и контейнером, из которого выдвигается выдвижная коробка. Использование данного изобретения позволяет экономно использовать место в холодильнике. 3 з.п. ф-лы, 3 ил.

Реферат

Область техники

Настоящее изобретение относится к дверной полке для хранения охлажденных продуктов на внутренней стороне двери холодильника.

Уровень техники

Обычно такие дверные полки имеют форму открытой сверху коробки, либо прикрепленной к двери жестко, либо с возможностью перестановки по высоте на внутренней стороне двери по усмотрению пользователя. Дверные полки с полностью закрываемым отделением, часто именуемым отделением для масла, обычно жестко устанавливаются в верхней части внутренней стороны двери. Они имеют откидную дверцу, поворачивающуюся вокруг горизонтальной оси и образующую большую часть передней стороны отделения и, возможно, также часть его крышки. Эту дверцу можно откинуть вверх, чтобы получить доступ внутрь отделения. Такое отделение для масла можно устанавливать только у верхнего края внутренней стороны двери, так как в случае ее установки в другом месте над ней уже ничего нельзя будет поместить, что приведет к нерациональному использованию места.

Раскрытие изобретения

Задача изобретения состоит в том, чтобы создать дверную полку для холодильника, по меньшей мере, с одним полностью закрываемым отделением для хранения охлажденных продуктов, которую можно устанавливать на любой высоте на внутренней стороне двери холодильника и которая позволяет экономично использовать место на любой высоте.

Эта задача решается тем, что крышка отделения одновременно является дном открытой коробки, которую можно использовать как обычную дверную полку для хранения других охлажденных продуктов.

Отделение может состоять из контейнера с откидной передней крышкой или предпочтительно из выдвижной коробки и контейнера, из которого выдвигается эта выдвижная коробка. Такую выдвижную коробку можно также извлекать из холодильника для того, чтобы поставить ее вместе с содержимым на обеденный стол или работать с ней в кухне.

Контейнер со своей стороны может иметь заднюю стенку для увеличения жесткости коробки, но так как дверная полка, как правило, монтируется в непосредственной близости к внутренней стенке двери, такая задняя стенка не обязательна.

Контейнер и коробка, служащая крышкой, предпочтительно изготавливаются в виде цельной неразъемной детали, например, методом литья пластмассы под давлением.

Контейнер может быть, в частности, предназначен для размещения двух выдвижных коробок, которые могут быть различного размера. Это позволит пользователю независимо от того, с какой стороны установлена дверь, всегда помещать коробку, используемую чаще, на более удобной для доступа стороне контейнера.

Предпочтительно, по меньшей мере, выдвижная коробка, а возможно и рамка, в которой она установлена, выполняются из прозрачного материала с тем, чтобы пользователь мог видеть содержимое выдвижной коробки, не выдвигая ее.

Краткий перечень фигур чертежей

Прочие признаки и преимущества изобретения вытекают из нижеследующего описания примеров реализации со ссылками на прилагаемые фигуры.

На них представлены:

на Фиг.1 - перспективное изображение первого варианта предлагаемой изобретением дверной полки;

на Фиг.2 - частичное изображение обращенной к двери холодильника задней стороны дверной полки; и

на Фиг.3 - перспективное изображение второго варианта осуществления дверной полки.

Осуществление изобретения

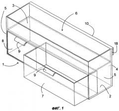
Изображенная на фиг.1 дверная полка состоит из прямоугольного контейнера 1 с дном 2, крышкой 3, задней стенкой 4, двумя боковыми стенками 5 и открытой передней стороны, а также из неразъемно соединенной с контейнером 1 открытой сверху коробки 6, задняя и боковые стенки которой представляют собой продолжение задней и боковых стенок 4, 5 контейнера 1.

В контейнере 1, открытом на чертеже спереди, то есть со стороны, противоположной стороне контейнера, обращенной к двери холодильника, на которой установлен контейнер, размещены две выдвижные коробки 7, 8 разного размера, большая из которых 7 изображена в частично выдвинутом состоянии. Выдвижные коробки 7, так же как и контейнер 1, представляют собой детали, изготовленные литьем под давлением из предпочтительно прозрачной пластмассы с тем, чтобы пользователь мог видеть содержимое выдвижных коробок 7, 8, не открывая их.

Выдвижные коробки 7, 8 имеют четыре стенки с боков и дно, причем к передней стенке каждой выдвижной коробки приформована выступающая планка 9 для удобства извлечения выдвижных коробок из контейнера 1.

Обе выдвижные коробки 7, 8 вставлены в общий цельный контейнер, так что пользователь может менять их местами по своему усмотрению.

К верхней кромке задней стенки 4 приформована крепежная планка 10 для монтажа дверной полки на внутренней стороне двери холодильника. Крепежная планка 10 состоит в основном из пластины, параллельной задней стенке 4 и отделенной от нее зазором 18. Эта пластина неразъемно соединена с задней стенкой 4 вдоль своей верхней кромки и, возможно, как показано на фиг.2, ребрами 11, спускающимися от верхней кромки вниз в зазоре 18. Открытые снизу вырезы 12 в пластине предназначены для насаживания на стержни 13 выдающихся из внутренней стороны двери крепежных выступов, на свободном конце которых со стороны, дальней от двери, расположены крепежные пластины 14. Эти пластины 14, сечение которых больше сечения стержней 13, входят в зазор 18, закрепляя таким образом контейнер 1 на задней стенке.

В модифицированном варианте, изображенном на фиг.3, выдвижные коробки 7, 8 заменены откидными створками 15, 16. Каждая створка 15, 16 предназначена для закрывания одного из двух отделений, отделенных друг от друга перегородкой 17, а их общая крышка 3 образует дно расположенной сверху коробки 6. Створки 15, 16 прикреплены здесь к соответствующим отделениям своей нижней кромкой, однако возможно также шарнирное соединение на уровне верхней кромки створок или на их боковых кромках.

1. Дверная полка для холодильника, по меньшей мере, с одним полностью закрываемым отделением для хранения охлажденных продуктов, причем крышка (3) отделения служит дном открытой коробки (6),отличающаяся тем, что указанное отделение образовано выдвижной коробкой (7, 8) и контейнером (1), из которого выдвигается выдвижная коробка (7, 8).

2. Дверная полка по п.1, отличающаяся тем, что контейнер (1) и коробка (6) образуют неразъемную деталь.

3. Дверная полка по п.2 или 3, отличающаяся тем, что в контейнере (1) помещаются две выдвижные коробки (7, 8) предпочтительно разного размера.

4. Дверная полка по одному из пп.2 или 3, отличающаяся тем, что выдвижная коробка (7, 8) выполнена из прозрачной пластмассы.