Устройство управления автомобильной коробкой передач и способ преобразования устройства управления с помощью тяг в устройство управления с помощью тросов

Иллюстрации

Показать все

Изобретения относятся к области транспортного машиностроения. Устройство (15) управления автомобильной коробкой передач установлено на корпусе (30) коробки передач (9) и содержит трос (16) выбора передачи и трос (17) включения передачи, передающие команды от рычага (1) переключения передач устройству (15). Устройство (15) содержит шток (11') выбора передач, угловой рычаг (23), соединенный с тросом (16) и выполненный с возможностью преобразования движения троса (16) выбора передачи в поступательное движение штока (11') выбора передач, который осуществляет выбор передачи посредством рычага (12'). Устройство (15) содержит рычаг (27) включения, преобразующий движения троса (17) включения передачи во вращательное движение штока (11') выбора передач, который включает выбранную передачу поворотом того же рычага (12'). Способ преобразования устройства управления коробкой передач с помощью тяги в устройство (15) управления коробкой передач с помощью тросов реализуется следующим образом: извлекают ранее установленное устройство, закрепляют на его месте устройство (15) посредством тех же крепежных средств, что использовались для закрепления ранее установленного устройства, и затем регулируют тросы (16) и (17). Достигается замена системы передачи с помощью тяг системой передачи с помощью тросов без внесения изменений в коробку передач. 2 н. и 2 з.п. ф-лы, 3 ил.

Реферат

Цель настоящего изобретения - устройство управления автомобильной коробкой передач и, в частности, способ преобразования устройства управления коробкой передач, первоначально разработанного для управления посредством тяг, в устройство, управляемое тросами двойного действия.

Широко известно, что движения рычага переключения передач, управляемого рукой водителя, передаются к коробке передач, где путем соединения и разъединения зубчатых колес внутри коробки устанавливаются различные передаточные отношения между двигателем и ведущими колесами.

Обычно поперечные движения рычага переключения передач, то есть движения поперек привода автомобиля, управляют выбором передач, тогда как продольные движения вышеупомянутого рычага, то есть в направлении привода автомобиля, управляют включением ранее выбранной передачи.

Команды выбора и включения передач, обусловленные рычагом переключения передач, могут передаваться к вышеупомянутой коробке передач посредством тяг, которые, как правило, представляют собой жесткие штанги, способные передавать силы и поступательные и вращательные движения, или же могут передаваться посредством гибких тросов толкающе-тянущего типа двойного действия, которые позволяют точно передавать растягивающие и сжимающие силы и движения. Вышеупомянутые тросы состоят из внешней оболочки и внутреннего троса, скользящего внутри оболочки.

Тяги, будучи жесткими, могут использовать свое вращение и перемещение для того, чтобы раздельно передавать команды выбора и включения передач. В том случае, если используются гибкие тросы двойного действия, необходимо два кабеля, один - для команды выбора, а другой - для команды включения.

Передачу команды включения с использованием тяг, которая является простой и широко использовалась в прошлом, труднее применять, если коробка передач расположена в удаленном от рычага переключения передач месте автомобиля, например, как в автомобилях с передним приводом или вообще во всех случаях, где в основном прямое соединение между рычагом и коробкой передач невозможно. В этих случаях команды выбора и включения передач передаются от рычага переключения передач к устройству управления коробкой передач посредством двух тросов двойного действия.

Устройство управления коробкой передач, которое расположено внутри самой коробки и соединено с ней, получает по тяге или тросам команды от рычага переключения передач и преобразует их в поступательное и вращательное движения штока выбора передач, расположенного внутри коробки передач. Вышеупомянутый шток посредством рычага, закрепленного на его конце, выбирает и включает передачи, чтобы устанавливать силовые передаточные отношения, которые были выбраны водителем посредством рычага переключения передач.

При разработке последующих моделей данного типа автомобиля иногда требуются изменения компоновки механических деталей автомобиля. В результате возможных перестановок механических компонентов осуществление прямой связи между рычагом переключения передач и коробкой передач, которая ранее позволяла использовать жесткую тягу, непосредственно соединяющую вышеупомянутый рычаг с устройством управления коробкой передач, может оказаться невозможным, если не установить на пути от рычага к коробке передач шарнирные узлы, которые дадут возможность передачи по этому пути движений между рычагом и вышеупомянутой коробкой передач.

Очевидно, что это последнее решение установить промежуточные шарниры на пути от рычага к коробке передач требует большего числа деталей и большего объема пространства, которое не всегда имеется, особенно в автомобилях меньшего размера. Кроме этих неудобств, в результате потери точности в устройстве ход движений выбора и включения передачи станет больше технически требуемого, вызывая ощущение меньшего комфорта у пользователя автомобиля.

В таких случаях, как приведенный выше, самым подходящим решением для передачи команд к коробке передач является замена системы передачи с помощью тяги системой передачи с помощью гибких тросов.

Однако замена тяговой системы на тросовую систему требует изменений в устройстве управления коробкой передач и часто в самой коробке передач, даже если коробка передач в новой модели такая же, как и в предыдущей модели. В этом случае необходимые доработки коробки потребуют от производителя дополнительных трудовых и денежных затрат.

Задача настоящего изобретения состоит в предложении устройства управления коробкой передач, позволяющего заменить систему передачи с помощью тяги системой передачи с помощью тросов, такой как представлена здесь, без необходимости каких-либо изменений в самой коробке передач.

Эта задача решается посредством нового управляющего устройства с использованием тросов, которое осуществляет преобразование движений, передаваемых вышеупомянутыми кабелями в поступательное и вращательное движения штока выбора передач, и находится снаружи коробки передач так, чтобы устанавливаться на место старого устройства с использованием тяги без изменений в самой коробке передач. Внутри коробки рабочая часть штока выбора передач и рычага такая же, как и у штока выбора передач предшествующей системы, и находится в таком же положении, осуществляя выбор и включение передач так же, как в предыдущей модели. Коробка скоростей, включая сторону, соединяющуюся с новым устройством, остается без изменений.

Следовательно, замена старой системы передачи с помощью тяги новой системой передачи с помощью тросов осуществляется простой заменой одного другим, даже используя такие же установочные отверстия на открытой стенке коробки, без изменений в коробке передач, таким образом существенно понижая затраты труда и стоимость новой модели.

Отличительные признаки, цель и преимущества системы, представленной в этом изобретении, очевидны из подробного описания прилагаемых фигур чертежей, на которых:

Фиг.1 - схематический вид обычной системы управления коробкой передач посредством тяги, показывающий общую схему работы этой системы;

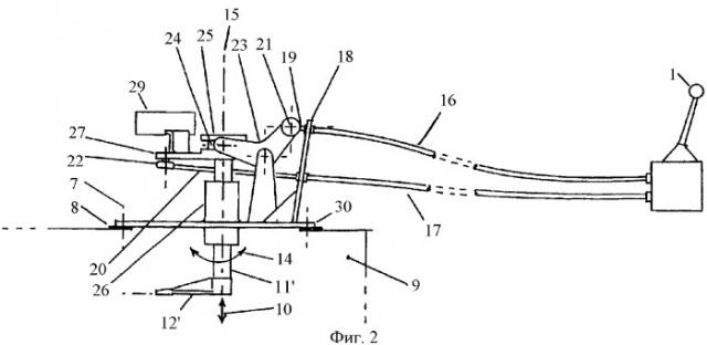
Фиг.2 - вид сбоку предлагаемой системы управления коробкой передач, в этом случае использующей тросовую передачу и устройство управления коробкой передач, которое является целью данного изобретения;

Фиг.3 - вид сверху того же самого устройства управления коробкой передач, что и на Фиг.2, завершающий иллюстрирование функционирования ее компонентов.

С отдельными ссылками на Фиг.1 показано, как команды, передаваемые водителем посредством рычага (1) переключения передач, управляют коробкой передач, когда используется передача с помощью тяги. Поперечное движение вышеупомянутого рычага (1) переключения передач, которое, как уже было показано ранее, представляет собой команду выбора, преобразуется во вращательное движение (2) тяги (3), которая посредством своего шарнирного наконечника (4) передает его к управляющему устройству (5), не показанному на чертеже, которое содержится внутри кожуха (6), прикрепленного крепежными средствами (7) к стороне (8) коробки (9) передач, лишь обозначенной на чертеже.

При получении через тягу (3) вышеупомянутой команды выбора передачи управляющее устройство (5) создает осевое движение (10) штока выбора передач (11) и рычага (12), закрепленного на его конце. Вышеупомянутый рычаг, смещаясь вертикально, выбирает пару зубчатых колес, одно из которых может сцепляться в зависимости от движения включения передачи, полученного от рычага переключения передач.

Когда водитель дает команду включения передачи, перемещая рычаг (1) переключения передач в продольном направлении, то есть в направлении привода автомобиля, которое на чертеже является направлением от рычага (1) переключения передач к коробке (9), вышеупомянутая команда включения влечет за собой поступательное перемещение (13) тяги (3), которая посредством шарнирного наконечника (4) и действия управляющего устройства (5) вызывает вращательное движение (14) штока (11) выбора передач, вызывая вращение рычага (12) в том или ином направлении. В зависимости от направления, такое вращательное движение соединяет зубчатые колеса так, чтобы ввести в зацепление одно из двух зубчатых колес, предварительно выбранных движением выбора передачи.

Новое управляющее устройство, как представлено здесь, для преобразования системы передачи с помощью тяги в систему передачи с помощью тросов показано на Фиг.2 и Фиг.3.

На этих Фигурах можно увидеть, что рычаг (1) переключения передач на этот раз передает свои команды к новому управляющему устройству (15) посредством двух тросов двойного действия, а именно троса (16) для управления выбором передачи и троса (17) для управления включением передачи.

Концевые соединения внешних оболочек обоих тросов (16) и (17) прикреплены к крайней стенке (18) нового управляющего устройства (15), а оба сердечника (19) и (20) тросов (16) и (17) продолжаются до соответствующих наконечников (21) выбора и (22) включения.

Наконечник (21) сердечника (19) троса (16) выбора передачи соединен с концом углового рычага (23), имеющего горизонтальную ось, который преобразует продольное движение троса в вертикальное движение нового штока выбора передач (11') и его рычага (12'), управляя выбором передачи так же, как предыдущее устройство управлялось с помощью тяги. Полукруглый канал (24) внутри головки (25) штока (11') выбора передач позволяет угловому рычагу (23) управлять вертикальным перемещением вышеупомянутого штока, каким бы ни было его угловое положение. Направляющая втулка (26) штока (11') выбора передач включает в себя пружину, не показанную на чертеже, которая всегда возвращает вышеупомянутый шток (11') в нейтральное положение при вертикальном движении выбора передачи.

Как только достигается требуемое вертикальное положение для выбора передачи, водитель перемещает рычаг (1) в продольном направлении для включения ранее выбранной передачи. Эта команда включения передается по тросу (17) и по сердечнику (20) этого троса подводится к наконечнику (22), который соединен с рычагом (27) включения для осуществления углового поворота (14) штока (11') выбора передач и рычага (12').

Инерционная масса (29), если она требуется, прикреплена к концу (30) рычага (27) включения для того, чтобы сделать движение включения передачи более плавным.

В отличие от предшествующего устройства (5), которое содержалось внутри кожуха (6) и, следовательно, внутри коробки передач (9), новое управляющее устройство (15) установлено на корпусе (30) и, следовательно, снаружи коробки (9) передач, как ясно показано на Фиг.2 и Фиг.3.

Как предшествующий корпус (6), так и новый корпус (30) имеют одинаковые крепежные средства (7) и одинаковые позиции для вышеупомянутых крепежных средств (7) на коробке (9) передач, делая возможным закрепление нового устройства (15) на той же имеющей отверстие стороне (8) вышеупомянутой коробки (9), с тем, чтобы замена старого управляющего устройства новым могла быть произведена без изменений в коробке (9) передач.

Способ преобразования управляющего устройства (5) с использованием тяг в новое управляющее устройство (15) с использованием тросов является чрезвычайно простым в результате того, что он требует только заменить одно устройство другим, даже без замены корпуса коробки передач, и присоединить тросы (16) и (17), как было описано ранее и показано на чертежах.

Подразумевается, что представленное решение может быть изменено и может существовать в различных вариантах осуществления до тех пор, пока оно не выходит за рамки цели изобретения, выраженной в прилагаемой формуле изобретения.

1. Устройство (15) управления автомобильной коробкой передач, установленное на корпусе (30) коробки (9) передач и содержащее трос (16) выбора передачи и трос (17) включения передачи, передающие команды от рычага (1) переключения передач устройству (15), кроме того, устройство (15) содержит шток (11') выбора передач, угловой рычаг (23), соединенный с тросом (16) и выполненный с возможностью преобразования движения троса (16) выбора передачи в поступательное движение штока (11') выбора передач, который осуществляет выбор передачи посредством рычага (12'), а также устройство (15) содержит рычаг (27) включения, преобразующий движения троса (17) включения передачи во вращательное движение штока (11') выбора передач, который включает выбранную передачу поворотом того же рычага (12').

2. Устройство (15) управления автомобильной коробкой передач по п.1, в котором устройство (15) закреплено на внешней стороне корпуса (30) коробки (9) передач с помощью крепежных средств (7).

3. Способ преобразования устройства (5) управления коробкой передач с помощью тяги в устройство (15) управления коробкой передач с помощью тросов, которое содержит трос (16) выбора передачи и трос (17) включения передачи, передающие команды от рычага (1) переключения передач устройству (15), кроме того, устройство (15) содержит шток (11') выбора передач, угловой рычаг (23), соединенный с тросом (16) и выполненный с возможностью преобразования движения троса (16) выбора передачи в поступательное движение штока (11') выбора передач, который осуществляет выбор передачи посредством рычага (12'), а также устройство (15) содержит рычаг (27) включения, преобразующий движения троса (17) включения передачи во вращательное движение штока (11') выбора передач, который включает выбранную передачу поворотом того же рычага (12'); при этом в способе извлекают ранее установленное устройство (5), закрепляют на его месте устройство (15) посредством тех же крепежных средств (7), что использовались для закрепления устройства (5), и затем регулируют тросы (16) и (17) для оптимизации их движения.

4. Способ по п.3, в котором часть штока (11') выбора передач, которая находится внутри коробки (9) передач рядом с рычагом (12') и осуществляет выбор и включение передач, располагают там же, где была расположена эта же часть штока (11) с рычагом (12) устройства (5).