Устройство для определения местоположения верхушки корня зуба

Иллюстрации

Показать все

Изобретение относится к медицине, а именно к стоматологии, и может быть использовано для определения местоположения верхушки корня зуба. Устройство содержит средство закрепления. Средство закрепления содержит средство удержания на подлежащем лечению или соседнем зубе. Средство закрепления в то же время содержит средство передачи сигнала между устройством для определения местоположения верхушки корня зуба и эндодонтическим инструментом, и средства передачи сигнала между указанным устройством и пациентом. Заявленное устройство позволяет устранить проблемы проводного соединения и обеспечивает врача полной свободой действий при определении местоположения верхушки корня зуба. 21 з.п. ф-лы, 5 ил.

Реферат

Настоящее изобретение относится к устройству для определения местоположения верхушки корня зуба.

Основная проблема, с которой сталкиваются в эндодонтии во время лечения корневого канала зуба, это возможность достичь точно, насколько это возможно, верхнего отверстия корня зуба без просверливания. Это объясняется необходимостью измерить длину корневых каналов. Для этой цели существует несколько способов.

Самый известный и имеющий наибольшее распространение способ - это тактильное обследование. Практикующий врач оценивает длину канала корня зуба по мере того, как он постепенно вводит свой пульпэкстрактор в канал. Этот способ, совершаемый вручную, не требует каких-либо специальных инструментов и полностью основан на умении врача.

Другой способ заключается в получении рентгенограммы зуба, требующего лечения. Путем анализа рентгенограммы врач может судить о конфигурации корневых каналов и определять местоположение отверстия верхушки корня зуба. Однако не всегда местоположение верхушки корня зуба, показанное на рентгенограмме, совпадает с анатомическим местоположением отверстия верхушки корня зуба, следовательно, существует опасность ошибок при интерпретации данных рентгенограммы.

Наконец, существует третий способ, который основан на электронных устройствах определения местоположения верхушки корня зуба. Применяемые в эндодонтии с конца шестидесятых годов, эти устройства основываются на принципе, согласно которому электрические характеристики корневого канала человека идентичны у разных людей. Такие электронные устройства определения местоположения верхушки корня зуба могут быть подразделены на три категории в соответствии с характером измеряемого электрического параметра.

Первая категория таких устройств работает на основе принципа измерения сопротивления. В 1962 году было установлено, что электрическое сопротивление корневого канала человека может достигать 6,5 kΩ. Таким образом, между первым электродом, соединенным с эндодонтическим пульпэкстрактором в тот момент, когда последний достигает анатомической верхушки корня зуба, и вторым электродом, соединенным со слизистой оболочкой полости рта, создается постоянное электрическое сопротивление 6,5 kΩ.

Вторая категория устройств для определения местоположения верхушки корня зуба работает по принципу измерения импеданса (полного сопротивления). Было установлено, что корневой канал создает импеданс, обусловленный наличием высокоминерализованного дентина по всему каналу, причем импеданс возрастает по всей длине корневого канала, достигая максимума в апикальном (верхушечном) сужении. Как только произойдет касание со связкой верхушки корня зуба, импеданс падает, что определяется с помощью электроники.

Третья категория устройств для определения местоположения верхушки корня зуба работает на основе принципа измерения частоты. Эти устройства измеряют импеданс дентина корневого канала путем использования двух различных частот и вычисляют результирующее соотношение импеданса. В коронарной части зуба импеданс, полученный в результате двух приложенных частот, существенно не изменяется, так что их отношение стремится к 1. В апикальной части зуба разница импеданса между двумя частотами возрастает, достигая максимального значения в цементо-дентиновом соединении. В этом месте отношение стремится к нулю.

Основано ли устройство для определения местоположения верхушки корня зуба на измерении сопротивления, импеданса или частоты, должно устанавливаться электрическое соединение между устройством и инструментом врача, с одной стороны, и между пациентом и указанным устройством, с другой стороны. На фиг.1 представлена схема соединения, на которой показана система для определения верхушки корня зуба, основанного на принципе измерения сопротивления. Обозначенная в целом позицией 1 система содержит устройство 2 для определения местоположения верхушки корня зуба, которое может работать в соответствии с любым из трех способов определения местоположения верхушки корня зуба (сопротивление, импеданс или частота) и которое соединено с эндодонтическим пульпэкстрактором 4 через электрод 6 и с зажимом 8 через электрод 10. Зажим 8 имеет форму хомутика, чтобы обеспечить возможность зацепиться, например, за губу 9 пациента. Это происходит без объявления, что эндодонтический пульпэкстрактор 4 может быть заменен контругловым наконечником, если врач выполняет машинную, а не ручную операцию. Следовательно, от устройства измерения сопротивления выходят два провода: один соединяет устройство с пульпэкстрактором или контругловым наконечником и другой соединяет устройство с пациентом. Наличие этих двух проводов может вызывать неудобство для врача, движения которого ограничены и который может зацепиться за один из проводов. Для того чтобы устранить эту проблему, было предложено снабжать контругловой наконечник средствами закрепления провода, который соединяет последний с устройством определения местоположения верхушки корня зуба. Однако в этом случае врач обязан приобретать контругловой наконечник только для эндодонтического применения, что является дорогим.

Задачей настоящего изобретения является устранение вышеуказанных недостатков за счет создания устройства для определения верхушки корня зуба, которое уменьшает трудности, вызванные наличием электрических соединительных проводов.

Поэтому настоящее изобретение относится к устройству для определения местоположения верхушки корня зуба, характеризующемуся тем, что включает деталь, удерживаемую на зубе, подлежащем лечению, или на соседнем зубе с помощью средств закрепления, которые включают средства для электрического соединения устройства определения местоположения верхушки корня зуба с эндодонтическим инструментом.

В соответствии с первым вариантом осуществления изобретения средства электрического соединения являются беспроводными.

В связи с этими особенностями настоящее изобретение предлагает устройство для определения местоположения верхушки зуба, которое полностью исключает любые провода при соединении эндодонтического инструмента с устройством для определения местоположения верхушки зуба, с одной стороны, и устройства определения местоположения верхушки зуба и пациентом, с другой стороны, так что врач имеет полную свободу движения, не опасаясь зацепиться за провод. Кроме того, применяются универсальные средства закрепления, способные использоваться с устройством для определения местоположения верхушки зуба любого типа независимо от принципа его работы. Средство закрепления согласно изобретению не требует применения определенного эндодонтического инструмента, что позволяет врачу добиться существенной экономии. Наконец, средство закрепления согласно изобретению является средством одноразового использования, что дает возможность избежать проблемы, связанной со стерилизацией стоматологического инструмента после его применения.

В соответствии со вторым вариантом осуществления изобретения средство закрепления содержит первое устройство для проводного электрического соединения между устройством для определения местоположения верхушки корня зуба и эндодонтическим инструментом и второе устройство для проводного соединения между устройством и пациентом.

В связи с этим настоящее изобретение предлагает такое средство закрепления, которое образует средства электрического соединения между устройством для определения местоположения верхушки корня зуба и эндодонтического инструмента, с одной стороны, и между устройством и пациентом, с другой стороны. Два соединительных провода, которые проходят между устройством для определения местоположения верхушки зуба и средством закрепления, могут быть объединены в отдельный корпус, что обеспечивает свободу действий врача, в частности, предохраняя врача от зацепления за провода.

Средство закрепления может удерживаться посредством затягивающего назубного бандажа. Это может быть деталь, специально сконструированная для удержания (фиксации) средства закрепления согласно изобретению. Однако предпочтительно применять затягивающий бандаж, который доступен каждому врачу и который широко используется при установке зубных пломб, что позволяет избежать увеличения деталей, необходимых для осуществления изобретения.

Также средство закрепления может удерживаться с помощью упруго деформируемой детали. Преимущество такой детали состоит в том, что она является самозатягивающейся, другими словами, она сама держит средство закрепления в зазоре около зуба за счет упругой деформации без необходимости операции завинчивания или затягивания. Таким образом, эта деталь упрощает и ускоряет процесс фиксирования средства закрепления.

В соответствии с дополнительной характеристикой изобретения средство закрепления содержит первую планку с зажимами для установки электрического контакта между пациентом и устройством для определения местоположения верхушки корня зуба и средства для установки электрического соединения между эндодонтическим инструментом и устройством определения местоположения верхушки корня зуба, причем планка с зажимами и средства соединения подсоединены к электрическому разъему, который связан со средством закрепления, на котором соединительные провода между устройством определения местоположения верхушки корня зуба и средством закрепления объединены.

В соответствии с первым вариантом средства электрического соединения между эндодонтическим инструментом и устройством для определения местоположения верхушки зуба имеют форму бандажа, который обеспечивает контакт за счет упругой деформации.

В соответствии со вторым вариантом средства электрического соединения между эндодонтическим инструментом и устройством для определения местоположения верхушки зуба выполнены в виде катушки индуктивности, которая охватывает инструмент, обеспечивая бесконтактное соединение.

Другие особенности и преимущества настоящего изобретения будут ясны из нижеследующего подробного описания примера реализации средства закрепления согласно изобретению, причем этот пример полностью представлен с помощью неограничивающего изобретение проиллюстрированного варианта со ссылкой на приложенные чертежи, на которых:

фиг.1 - известная блок-схема проводного соединения устройства для определения местоположения верхушки корня зуба в прототипе;

фиг.2А - вид в перспективе задней поверхности зуба со средством закрепления согласно изобретению, удерживающимся около зуба посредством стягивающей назубной планки;

фиг.2В - вид в перспективе передней поверхности зуба, показанного на фиг.2А;

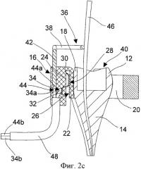
фиг.2С - поперечное сечение зуба и его средства закрепления, показанных на фиг.2А и 2В;

фиг.3А, 3В, 3С - виды, аналогичные изображенным на фиг.2А, 2В, 2С соответственно, при этом средства закрепления устанавливаются вокруг зуба посредством бандажа, способного к упругой деформации;

фиг.4А, 4В, 4С - виды, аналогичные изображенным на фиг.2А, 2В, 2С соответственно, в которых средства электрического соединения между эндодонтичеким инструментом и устройством для определения местоположения верхушки корня зуба выполнены в виде катушки индуктивности вокруг инструмента, обеспечивая бесконтактное соединение;

фиг.5 - вид в перспективе, представляющий беспроводное соединение между устройством для определения местоположения верхушки зуба и средством закрепления согласно изобретению.

Основная идея изобретения заключается в создании устройства для определения местоположения верхушки корня зуба, причем это устройство в широком смысле выполняется в форме средства закрепления, удерживаемого около зуба, нуждающегося в лечении, или около соседнего зуба с помощью соответствующих средств, и которое содержит средства соединения с устройством для определения местоположения верхушки зуба. В широком смысле соединение между устройством для определении местоположения верхушки корня зуба и средством закрепления является беспроводным соединением, например, с помощью радиочастотных волн, которое устраняет любые проблемы проводного соединения и обеспечивает врача полной свободой действий. В упрощенном варианте осуществления изобретения средство закрепления содержит проводные средства соединения между устройством для определения местоположения верхушки корня зуба и эндодонтическим инструментом, с одной стороны, и между устройством и пациентом, с другой стороны. При этом электрические соединительные провода могут быть объединены в отдельный жгут, что облегчает работу врача, поскольку провода больше не беспокоят его, и он получает большую свободу действий. Кроме того, средство закрепления согласно изобретению может применяться с любым типом устройства для определения местоположения верхушки корня зуба, работа которого основывается на любом из трех известных принципов определения, т.е. либо на принципе измерения сопротивления, принципе измерения импеданса, либо на принципе измерения частоты, и оно не требует приобретения специфических инструментов.

Фиг.2А-2С иллюстрируют первый вариант осуществления настоящего изобретения. Фиг.2А - это вид в перспективе стороны задней поверхности 12 зуба 14, подлежащего лечению. На этот зуб 14 устанавливается средство закрепления согласно изобретению, обозначенное в целом общим ссылочным номером 16. Как видно из рассмотрения фиг.2А и даже лучше фиг.2В, изображающей вид в перспективе стороны передней поверхности 18 зуба 14, средство закрепления 16 представляет собой деталь в форме параллелепипеда, размеры которого совместимы с размерами зуба 14 и удерживается около зуба 14 с помощью затягивающего бандажа 20. Это затягивающий бандаж может быть специально разработан для поддержания средства закрепления 16 согласно изобретению. Однако в соответствии с предпочтительным вариантом осуществления изобретения применяется типичный образец затягивающего бандажа 20, доступного каждому практикующему врачу и использующегося для вставления зубной пломбы. Затягивающий бандаж 20 размещается вокруг зуба 14, затем средство закрепления 16 зацепляется к бандажу 20 посредством средств зацепления 22 в виде маленького язычка, который вдвигается между бандажом 20 и зубом 14. В конечном итоге бандаж 20 затягивается снова, чтобы прочно держать средство закрепления 16 около зуба 14.

Язычок 22 зацепления расположен параллельно и на расстоянии от задней поверхности 24 средства закрепления 16, благодаря чему устанавливаются границы зазора 26, в который вставляется первая контактная планка 28 (см. фиг.2С). Эта контактная планка 28 обычно представляет собой Z-образную пружину, запрессованную в тело средства закрепления 16 и имеющую два контактных зажима 30 и 32, причем первый зажим 30 находится в контакте с затягивающим бандажом 20, тогда как второй зажим 32 находится в контакте с электрическим соединительным проводом 34. Первый конец 34а этого провода 34 запрессован в тело средства закрепления 16, в то время как второй конец 34b будет соединен с устройством 2 определения местоположения верхушки корня зуба, показанного на фиг.1. Так как затягивающий бандаж 20 сам находится в контакте с зубом 14, то, следовательно, электрическое соединение между пациентом и устройством определения местоположения верхушки зуба достигнуто.

Средство закрепления 16 содержит вторую контактную планку 36. Она представляет собой контактную скобу, содержащую одну, обычно U-образную, ветвь 38, которая расположена параллельно верхней поверхности 40 зуба и вертикально за счет ножки 42, свободный конец которой запрессован в тело средства закрепления 16. Ножка 42 контактного фланца 36 находится в контакте с электрическим соединительным проводом 44, первый конец которого 44а запрессован в средство закрепления 16, тогда как второй конец 44b соединен с устройством определения местоположения верхушки зуба. Во время лечения врач должен следить за тем, чтобы инструмент 46 был направлен к контактной планке 36 так, чтобы обеспечить электрический контакт между инструментом 46 и устройством определения местоположения верхушки корня зуба. Инструмент 46 может быть ручным инструментом или контругловым наконечником. Можно предусмотреть в устройстве определения местоположения верхушки зуба световой или звуковой сигнал, который извещает врача о наличии контакта инструмента 46 с планкой 36. Следует отметить, что два электрических соединительных провода 34 и 44 объединены в единый жгут 48, который существенно облегчает передвижение врача, предохраняя его от запутывания в проводе. Конечно, можно предусмотреть вариант, что концы 34а, 44а соединительных проводов 34, 44 снабжены штепсельными вилками, которые вставлялась бы в соответствующие штепсельные розетки, запрессованные в средство закрепления 16. Более того, планка 36 может вставляться в средство закрепления 16. В этом случае следует предусмотреть ориентирующий паз, чтобы ориентировать планку 36 соответствующим образом.

На фиг.3А и 3В представлен другой вариант выполнения средств удержания средство закрепления 16 около зуба 14. Согласно этому варианту средства удержания заключают в себе U-образную деталь 50, содержащую первую часть 50а, которая упирается торцом в заднюю поверхность 12 зуба 14 и соединяется посредством соединительной части 50b со второй частью 50с, которая упирается торцом в средство закрепления 16, удерживая последнее прижатым к передней поверхности 18 зуба 14 за счет действия упругой деформации. Преимущество этого варианта состоит в том, что не требуется никаких средств для прикрепления средства закрепления 16 к зубу 14. Элементы, идентичные тем, что описаны при ссылке на фиг.2А и 2С, обозначены на фиг.3А-3С теми же самыми ссылочными номерами и поэтому не будут описываться снова. Следует обратить внимание на наличие металлической соединительной детали 52, запрессованной в средство закрепления 16 и находящейся в контакте с концом 44а электрического соединительного провода, с одной стороны, и с зубом 14, с другой стороны, с целью обеспечения электрического соединения между пациентом и устройством определения местоположения верхушки корня зуба. Также надо отметить, что задняя поверхность 24 средства закрепления 16 изогнута так, чтобы лучше подогнать под форму зуба.

На фиг.4А-4С представлен другой вариант выполнения средств электрического соединения между энодонтическим инструментом 4 и устройством для определения местоположения верхушки корня зуба. Те элементы, которые идентичны описанным элементам со ссылкой на фиг.2А-2С, обозначены теми же самыми ссылочными номерами и не будут здесь описываться. В соответствии с этим вариантом выполнения средства электрического соединения содержат катушку индуктивности 54. Витки 54а катушки 54 располагаются вокруг зуба 14 в плоскости, параллельной верхней поверхности 40 зуба 14. Два конца 54b и 54с катушки 54 запрессованы в средство закрепления 16 и находятся в электрическом контакте с двумя электрическими соединительными проводами 53 и 55. Протекание электрического тока в витках 54а катушки 54 создает переменное магнитное поле, которое наводит ток в инструменте 4. Цепь замыкается через инструмент 4, который, входя в контакт с зубом 14, позволяет протекать току через электрический соединительный провод 34. Таким образом, имеется возможность индуцировать ток в инструменте 4 бесконтактным способом, что существенно облегчает работу врача.

Разумеется, настоящее изобретение не ограничивается описанными вариантами его осуществления, и различные очевидные изменения и варианты могут быть рассмотрены специалистами в зазорах объема изобретения, который определен формулой изобретения. В частности, можно полностью отказаться от проводного соединения между средством закрепления 16 и устройством 2 для определения местоположения верхушки корня зуба, как показано на фиг.5. В этом случае соединение устройства 2 со средством закрепления 16 является беспроводным, например, с помощью радиочастотных волн. Средство закрепления 16 обычно содержит по меньшей мере одно электронное измерительное устройство, содержащее контур 56, для измерения физического параметра, представляющего взаиморасположение эндодонтического инструмента 46 и верхушки корня зуба 14, причем этот измерительный контур 56 связан, в частности, с аналого-цифровым преобразователем для формирования цифрового измерительного сигнала. Средство закрепления содержит также приемопередающий контур 58 для обмена электромагнитными сигналами с устройством 2 для определения местоположения верхушки корня зуба. Последний должен быть незначительно видоизменен, чтобы распространять сигналы в направлении средства закрепления 16 и принимать сигналы, распространяемые средством закрепления 16, с целью получения визуальных и/или акустических данных, представляющих положение эндодонтического инструмента 46 относительно верхушки корня зуба 14. Такое изменение устройства 2 понятно для специалистов, и поэтому здесь подробно не описывается. Обработка сигнала, излучаемого средством закрепления 16, может происходить в устройстве 2 определения местоположения верхушки корня зуба. Измерительный контур 56 и приемопередающий контур 58 могут быть пассивного типа. Другими словами, они могут питаться током, индуцированном в катушке 60 сигналом запроса, распространяемым устройством 2 определения местоположения верхушки корня зуба. Разумеется, средство закрепления 16 имеет свой собственный источник энергии. Также может быть рассмотрен случай крепления средства закрепления 16 согласно изобретению на задней поверхности зуба 14, подлежащего лечению, или соседнего зуба. Также можно снабдить контактную планку 36 изоляционным покрытием 62 по всей ее длине за исключением того места, где происходит контакт с инструментом 46, во избежание короткого замыкания между зубом 13 и щекой пациента.

1. Устройство для определения местоположения верхушки корня зуба, содержащее средство закрепления, использующее средство удержания на подлежащем лечению или соседнем зубе, при этом средство закрепления в то же время содержит средства передачи сигнала между устройством для определения местоположения верхушки корня зуба и эндодонтическим инструментом, и средства передачи сигнала между указанным устройством и пациентом.

2. Устройство по п.1, в котором средства передачи сигнала являются беспроводными средствами передачи сигнала.

3. Устройство по п.2, в котором средство закрепления содержит, по меньшей мере, один контур для измерения физического параметра, связанного с взаимным расположением эндодонтичесого инструмента и верхушки корня зуба, подлежащего лечению, причем измерительный контур соединяется с приемопередающим контуром для обмена сигналами с устройством определения местоположения верхушки корня зуба.

4. Устройство по п.3, в котором измерительный контур и приемопередающий контур являются контурами, питающимися индуцированным током.

5. Устройство по п.3, в котором средство закрепления содержит свой собственный источник питания.

6. Устройство по п.1, в котором содержит первую группу устройств для соединения электрическим проводом устройства для определения местоположения верхушки корня зуба с эндодонтическим инструментом и вторую группу устройств для соединения электрическим проводом устройства с пациентом.

7. Устройство по п.1, в котором средство закрепления удерживается с помощью затягивающего бандажа.

8. Устройство по п.1, в котором средство закрепления удерживается с помощью упруго деформируемой детали.

9. Устройство по п.8, в котором удерживающая деталь содержит первую часть, которая упирается торцом в заднюю поверхность зуба и соединена с помощью соединительной части со второй частью, которая упирается торцом в средство закрепления для удержания последнего прижатым к передней поверхности зуба.

10. Устройство по п.9, в котором удерживающая деталь является U-образной деталью.

11. Устройство по п.6, в котором средство закрепления содержит первую контактную планку для обеспечения электрического соединения между пациентом и устройством для определения местоположения верхушки корня зуба и средства обеспечения электрического соединения между эндодонтическим инструментом и устройством, причем контактная планка и средства обеспечения электрического соединения подсоединяются к электрическим соединительным проводам, которыми соединяется устройство для определения местоположения верхушки корня зуба со средством закрепления.

12. Устройство по п.11, в котором средство закрепления удерживается с помощью затягивающего бандажа, а первая контактная планка контактирует с затягивающим бандажом.

13. Устройство по п.12, в котором средство закрепления содержит зазор, в который вставляется затягивающий бандаж, причем первая контактная планка вводится в зазор для осуществления контакта с затягивающим бандажом.

14. Устройство по п.11, в котором первая контактная планка входит в контакт с упруго деформируемой деталью через зуб, на котором фиксируется средство закрепления.

15. Устройство по п.14, в котором средство закрепления содержит металлическую соединительную деталь, которая осуществляет электрическое соединение между первой контактной планкой и зубом, на котором зафиксировано средство закрепления.

16. Устройство по п.11, в котором средства электрического соединения содержат вторую контактную планку.

17. Устройство по п.16, в котором вторая электрическая контактная планка является электрической контактной скобой, которая проходит по касательной к эндодонтическому инструменту.

18. Устройство по п.17, в котором электрическая контактная скоба частично покрыта изоляцией.

19. Устройство по п.11, в котором средства электрического соединения содержат катушку индуктивности, которая расположена вокруг эндодонтического инструмента.

20. Устройство по п.16, в котором вторая электрическая контактная планка и катушка индуктивности могут быть соединены со средством закрепления или запрессованы в него.

21. Устройство по п.1, в котором средство закрепления имеет изогнутую поверхность, подходящую к форме передней поверхности зуба, вокруг которого устанавливается указанное средство.

22. Устройство по п.1, в котором средство закрепления изготовлено из биологически совместимого материала.