Устройство и способ установки строительных элементов
Иллюстрации
Показать всеИзобретение относится к строительству, а именно к устройству и способу установки строительных элементов, в частности свай. Техническим результатом является сокращение количества копров на строительной площадке, возможность использовать для забивки асимметричных и не осесимметричных строительных элементов, развитие копрами разных максимальных энергий удара, корректирование ориентации строительного элемента во время забивки. Устройство содержит строительный элемент, причем два или более ударных копра для нанесения ударов по элементу расположены на элементе или оперативно соединены с ним. Устройство содержит систему управления для синхронизации ударов по элементу, при этом система выполнена с возможностью осуществления синхронизации ударов в пределах 10 миллисекунд. 3 н. и 13 з.п. ф-лы, 3 ил.
Реферат
Изобретение относится к устройству и способу установки строительных элементов, таких как сваи, в частности моносваи диаметром более 5 м и туннельные секции в грунтовой формации; устройство содержит упомянутый строительный элемент и ударный копер. Изобретение также относится к узлу, устанавливаемому на строительном элементе или оперативно соединенному с ним.
Устройства для установки строительных элементов в грунтовой формации общеизвестны. Например, в Европейской патентной заявке 0095801 раскрыт гидравлический свайный копер, имеющий корпус с ударным грузом, установленным в нем для осуществления возвратно-поступательного перемещения.
В документе US 3595324 раскрыт свайный копер, содержащий несколько молотов и общую опорную плиту с выравнивающими площадками между молотами и опорной плитой. Этот свайный копер также содержит средство синхронизации действия молотов, средство компенсирования последствий несинхронной работы молотов и/или их комбинации.
Задача изобретения заключается в создании усовершенствованного устройства, характеризуемого во вступительных абзацах.
Для этого устройство согласно изобретению отличается тем, что два или более ударных копра для выполнения ударов по элементу установлены на элементе или оперативно с ним связаны. Предпочтительно, чтобы каждый копер развивал максимальную энергию удара в пределах 90-3200 кДж, более предпочтительно, в пределах 90-900 кДж, наиболее предпочтительно, в пределах 150-750 кДж.
При использовании с этим изобретением такие крупные элементы, как моносваи для турбин ветроэлектроустановок, которые могут быть стальной трубой диаметром более 5 м, или даже туннельными секциями, можно установить при помощи нескольких относительно небольших ударных копров.
На крупных строительных площадках обычно имеется по меньшей мере один запасной копер. При использовании с этим изобретением достаточно будет иметь один или два относительно небольших запасных копра - в противоположность одному очень крупному запасному копру, в результате чего можно получить значительную экономию и обеспечить намного упрощенную работу.
Предпочтительно, чтобы каждый ударный копер имел отдельную опорную плиту для передачи энергии удара от соответствующего ударного копра элементу, и поэтому будет обеспечена возможность установки крупных элементов, без необходимости в наличии столь же крупной опорной плиты. Опорные плиты диаметром 5 м, например, или крупнее очень трудно изготовить и работать с ними. Причем, оказалось, что две или более меньших опорных плит обеспечивают более эффективную передачу энергии удара, чем одна более крупная опорная плита.
По меньшей мере для симметричных строительных элементов также предпочтительно, чтобы все ударные копры развивали одинаковую или по существу одинаковую максимальную энергию удара и/или были равномерно расставлены по периметру или кромке элемента.
Также предпочтительно, чтобы центральная ось по меньшей мере одного, предпочтительно каждого, ударного груза была совмещена с соответствующим местным центром массы поперечного сечения стенки элемента, накрываемого опорной плитой. Должным образом сцентрированные ударные грузы уменьшают изгибающие силы в элементе и снижают т.н. «расход срока службы», обусловленный последствиями этой изгибающей силы.
Несмотря на то что несинхронная забивка может быть целесообразной, напр., на строительных площадках, на которых сопротивление почвы низкое, или когда прилагаемое к свае усилие относительно небольшое, но обычно предпочтительно, чтобы устройство согласно настоящему изобретению имело систему управления для синхронизации наносимых по элементу ударов; предпочтительно - в пределах 10 мсек, более предпочтительно - в пределах 5 мсек, и наиболее предпочтительно - в пределах 2 мсек. При синхронизации ударов расход срока службы уменьшается в еще большей степени, и энергия ударов передается элементу эффективнее.
Изобретение также относится к узлу, устанавливаемому или оперативно соединяемому со строительным элементом, таким как свая, в частности моносвая диаметром более 5 м или туннельная секция, и содержащему два или более ударных копра, установленных на общей раме, которая предпочтительно регулируется под габариты этого элемента.
Изобретение также относится к способу установки строительного элемента, такого как свая или туннельная секция, в грунтовой формации, согласно которому:
- устанавливают элемент в нужное положение,
- на элементе соответственно монтируют или оперативно соединяют с ним два или более ударных копра;
- забивают элемент в грунтовую формацию одновременным действием двух или более ударных копров.
Предпочтительно, чтобы удары синхронизировались в пределах 10 мсек, предпочтительно - в пределах 5 мсек, более предпочтительно - в пределах 2 мсек.
Изобретение далее поясняется более подробно со ссылкой на прилагаемые чертежи, на которых показан предпочтительный пример устройства согласно настоящему изобретению.
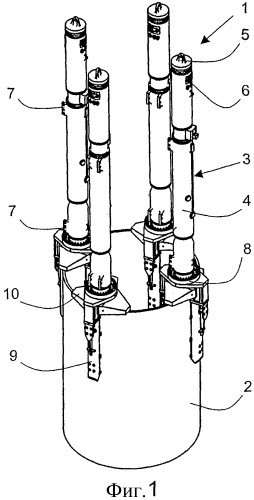
Фиг.1 - вид в перспективе устройства согласно изобретению, содержащего четыре гидравлических копра, смонтированных на моносвае.
Фиг.2 - схематически изображено средство синхронизации ударов, наносимых копрами.
Фиг.3 - схематически показано еще одно средство для синхронизации ударов, наносимых копрами.
Это предпочтительное устройство 1 включает в себя: фундаментный элемент, в данном случае - вертикальную т.н. моносваю 2 для турбины ветроэлектроустановки; эта свая 2 представляет собой стальную трубу диаметром 6 м; и четыре отдельных гидравлических свайных копра 3, равномерно расставленных по верхней кромке сваи 2, на отделенных друг от друга интервалом в 90°. Гидравлические свайные копры 3 известны из уровня техники и содержат корпус 4 с проушиной 5 на его верхнем конце, за которую копер 3 поднимают и перемещают краном; и имеют ударный груз, установленный в них для осуществления возвратно-поступательного движения. Прочие признаки этих копров представлены в Европейской патентной заявке 0095801. Предпочтительными копрами являются молоты моделей c S-90 по S-900 и с SC-110 по SC-250, выпускаемые бывш. компанией IHC Hydrohammer B.V. В этом частном случае применялся молот S-280.
Копры были отдельно смонтированы на свае 2. Но также возможно взаимное соединение копров рамой (не показана), которую регулируют под габариты сваи и которая имеет, напр., две телескопические поперечные балки. В этом случае узел копров и рамы можно смонтировать на свае, установленной в нужном положении; либо - узел, состоящий из копров, рамы и сваи, можно в его совокупности установить в нужном положение.
Копры 3 соединены гидравлическими соединителями 6 с двумя источниками гидравлического давления (не показаны), предпочтительно - с так называемыми блоками питания, например: два установленных на раме блока P-1600W бывш. IHC Hydrohammer B.V. Верхнее и нижнее крепления 7, составляющие одно целое с корпусом 4, могут использоваться для закрепления копров на направляющих или на упомянутой раме. Вместо этого также можно соединить все копры с одним источником давления, либо каждый копер можно соединить с отдельными источниками давления.
Нижний конец каждого копра 3 крепится фланцем 8 и болтами к U-образному захвату 9 для сваи, примыкающему к обеим сторонам стенки сваи 2 и к опорной плите 10, тип которой используется для забивки шпунтовых свай. Опорная плита 10 относительно длинная в направлении, касательном к верхней кромке сваи 2, для эффективной передачи энергии ударов копров 3 в сваю 2.
В работе: сваю 2 устанавливают в нужное положение по отношению к грунтовой формации, отдельные копры 3 монтируют на свае 2, и сваю 2 забивают в грунт ударами, синхронизированными блоком управления в пределах 5 мсек.
Синхронизацию можно обеспечить несколькими способами. Например, при помощи таких датчиков, как сигнализаторы присутствия (предпочтительные), датчики гидравлического давления или акселерометры, соответственно на каждом копре, один из них назначив «главным», и остальные копры - как ему «подчиненными»; при помощи вычисления или измерения момента удара для каждого копра, вычисления для каждого подчиненного копра разницы, обычно в миллисекундах, относительно момента удара главного копра; и при помощи регулирования времени осуществления ударов подчиненными копрами сообразно этим вычисленным разницам.
В первом и предпочтительном альтернативном варианте осуществления время падения и энергию от каждого ударного груза устанавливают для нескольких значений высоты их подъема. Исходя из этих данных, блок управления будет поднимать каждый из грузов на высоту, соответствующую заданной энергии удара и времени сброса грузов, чтобы удары наносились по существу одновременно.
Во втором альтернативном варианте осуществления согласно Фиг.2: все копры 3, каждый из которых имеет ударный вес 11 и которые упорядоченно относительно друг друга смонтированы внутри корпуса 12, регулируют как единый копер и соединяют при помощи регулирующих расход клапанов 13, 14 с гидравлической системой управления. Эта система содержит один или более источников 15 гидравлического давления, аккумулятор 16 высокого давления, соединенный через первый клапан 17 с линией 18 давления каждого копра 3; и аккумулятор 19 низкого давления, соединенный по второму клапану 20 с возвратной линией 21 каждого копра 3. Когда первый клапан 17 открыт, при этом рабочая жидкость под давлением распределяется по копрам 3 и ударные грузы 11 поднимаются. Клапаны 13 регулирования расхода обеспечивают по существу равное количество потоков рабочей жидкости в каждый копер 3 с по существу одинаковым расходом, тем самым синхронизируя ударные грузы 11. При закрытом первом клапане 17 и открытом втором клапане 20: ударные грузы 11 падают, и по существу одинаковое количество рабочей жидкости течет из каждого копра 3 и через клапаны 14 регулирования давления, также синхронизируя их.
В третьем альтернативном варианте осуществления, согласно Фиг.3: клапаны регулирования давления заменены синхронизирующими цилиндрами 22, гидравлически отделяющими гидравлическую систему управления от копров 3. Поршни 23 жестко соединены друг с другом, и все они находятся в одинаковом положении по отношению к соответствующим цилиндрам 22. При этом линии 18, 21 давления и возврата имеют обратные клапаны 24, 25. При открытом первом клапане 17 рабочая жидкость под давлением распределяется по цилиндрам 22, и все поршни 23 смещаются по существу на одинаковое расстояние. Вследствие этого рабочая жидкость проходит по линиям 18 давления и обратным клапанам 24 в каждый копер 3. Жестко соединенные друг с другом поршни обеспечивают по существу равное количество рабочей жидкости, поступающей в каждый копер 3, по существу с одинаковым расходом, тем самым синхронизируя ударные грузы 11. При закрытом первом клапане 17 и открытом втором клапане 20 ударные грузы 11 падают, и по существу одинаковое количество рабочей жидкости поступает от каждого копра 3, принудительно перемещая поршни 23 в наружном направлении, с одинаковой скоростью для всех них, также синхронизируя ударные грузы 11.
Если потребуются более точные измерения, например: если фундаментный элемент относительно хрупкий - как крупные полые бетонные (моно)сваи, или если характер грунтовой формации усложняет забивку, то такие датчики, как акселерометры и тензодатчики можно предусмотреть на самом фундаментном элементе. Получаемые этими датчиками данные можно использовать для синхронизации ударов, и для вычисления распределения поступающей на этот элемент энергии, и также для вычисления изгибающих сил в элементе, и для вычисления обусловливаемого этими изгибающими силами расхода срока службы.
Нужно отметить, что гидравлические копры особо целесообразны для использования в устройстве согласно данному изобретению, поскольку расход рабочей жидкости и синхронизация клапанов и поэтому соответственно частота и ход бабы молота (энергия удара) являются автономно регулируемыми и их можно применять для эффективной синхронизации и для уравновешивания ударов.
Если такие элементы, как туннельные секции, нужно забивать в грунтовую формацию с уклоном или горизонтально, то предпочтительно использовать копры, которые имеют пружину - предпочтительно газонепроницаемую камеру с газом под давлением, которая посредством текучей среды сообщается с частью бабы молота, предпочтительно с ее верхней поверхностью. При перемещении бабы молота в направлении сжатия газа, т.е. посредством источника жидкости под давлением, как в случае с гидравлическими копрами, бабу молота можно затем ускорить сжатым газом с ускорением в 2 g, например, даже если копер расположен наклонно или горизонтально. Помимо этого давление газа можно использовать как еще один параметр регулирования момента удара и поэтому для синхронизации копров, и/или энергию удара можно увеличить или уменьшить путем увеличения соответственно уменьшения давления газа. Подробности о копрах, имеющих т.н. крышку давления, можно также найти в Европейской патентной заявке 0095801.
Синхронизацию можно облегчить продлением длительности удара, применив опорную плиту с т.н. известным из уровня техники амортизатором. Предпочтительными материалами для этого амортизатора являются: пластмасса и дерево.
Из приведенных выше пояснений будет очевидно, что при помощи этого изобретения такие крупные элементы, как моносваи для турбин ветроэлектроустановки или даже туннельные секции, можно устанавливать при помощи нескольких относительно небольших копров.
Изобретение не ограничивается описанными выше вариантами осуществления изобретения, которые могут отличаться друг от друга в рамках объема формулы изобретения.
Например, устройство и способ согласно настоящему изобретению можно использовать для забивки асимметричных и неосесимметричных строительных элементов в грунтовую формацию. С помощью двух или более копров распределение энергии ударов можно точно отрегулировать сообразно требованиям асимметричного или неосесимметричного элемента как с точки зрения формы, так и с точки зрения массы, напр., если элемент имеет одну или более относительно толстых частей.
Помимо этого, вместо использования ударных копров, все из которых имеют одну и ту же максимальную энергию, также возможно использовать копры, развивающие разную максимальную энергию удара, и, например, обеспечить одинаковые наносимые ими удары. Также нужно отметить, что во время забивки элемента в грунтовую формацию ориентацию элемента можно корректировать неодинаковыми ударами.
1. Устройство (1) для установки строительных элементов, таких как сваи, в частности, моносваи (2) диаметром свыше 5 м и туннельные секции, в грунтовой формации, содержащее строительный элемент (2), отличающееся тем, что два или более ударных копра (3) для нанесения ударов по элементу (2) расположены на элементе (2) или оперативно соединены с ним, причем устройство содержит систему управления для синхронизации ударов по элементу (2), при этом система выполнена с возможностью осуществления синхронизации ударов в пределах 10 мс.
2. Устройство (1) по п.1, отличающееся тем, что каждый ударный копер (3) развивает максимальную энергию удара в пределах от 90 до 3200 кДж, более предпочтительно в пределах 90-900 кДж и наиболее предпочтительно в пределах 150-750 кДж.
3. Устройство (1) по п.1 или 2, отличающееся тем, что каждый ударный копер (3) имеет отдельную опорную плиту (9) для передачи энергии удара от соответствующего ударного копра (3) элементу (2).
4. Устройство (1) по п.3, отличающееся тем, что, по меньшей мере, одна из опорных плит (9) имеет амортизатор для увеличения длительности удара соответствующего ударного копра (3).
5. Устройство (1) по любому из пп.1, 2 или 4, отличающееся тем, что все ударные копры (3) развивают одинаковую или по существу одинаковую максимальную энергию удара, и/или равномерно размещены по окружности или кромке элемента (2).
6. Устройство (1) по п.3, отличающееся тем, что все ударные копры (3) развивают одинаковую или, по существу, одинаковую максимальную энергию удара, и/или равномерно размещены по окружности или кромке элемента (2).
7. Устройство (1) по п.1, отличающееся тем, что система выполнена с возможностью осуществления синхронизации ударов в пределах 5 мс, предпочтительно в пределах 2 мс.
8. Устройство (1) по п.7, отличающееся тем, что система управления назначает один из копров «главным», и остальные свайные копры, как ему «подчиненные», вычисляет или измеряет момент удара для каждого свайного копра, вычисляет для каждого подчиненного копра разницу, обычно в миллисекундах, относительно момента удара главного свайного копра, и регулирует время осуществления ударов подчиненными свайными копрами сообразно этим вычисленным разницам.
9. Устройство (1) по п.1, отличающееся тем, что объем энергии и частота ударов, по меньшей мере, одного из ударных копров (3) являются регулируемыми автономно друг от друга.
10. Устройство (1) по п.1, отличающееся тем, что, по меньшей мере, один и предпочтительно все ударные копры (3) является(ются) гидравлическим(и) ударным(и) копром(ами).
11. Устройство (1) по п.10, отличающееся тем, что, по меньшей мере, два из ударных копров (3) являются гидравлическими ударными копрами, а система для синхронизации ударов включает в себя синхронизируемые гидравлические регулирующие цилиндры (22) или электродвигатели.
12. Устройство (1) по п.11, отличающееся тем, что цилиндры содержат поршни (23), жестко соединенные между собой.
13. Узел, монтируемый на строительном элементе или оперативно соединенный со строительным элементом, таким как свая, в частности, моносвая (2) диаметром свыше 5 м или туннельная секция; и содержащий два или более ударных копров (3), расположенных на общей раме, причем узел соединен с системой управления для синхронизации ударов по элементу (2), выполненный с возможностью осуществления синхронизации ударов в пределах 10 мс.
14. Узел по п.13, в котором рама выполнена регулируемой под габариты элемента (2).
15. Способ установки строительного элемента, такого как моносвая (2) диаметром более 5 м или туннельная секция, в грунтовую формацию, согласно которому:устанавливают элемент (2) в нужное положение;на элементе монтируют или оперативно соединяют с ним два или более ударных копра (3);забивают элемент (2) в грунтовую формацию одновременным действием двух или более ударных копров (3), при этом удары синхронизируют в пределах 10 мс посредством системы управления для синхронизации ударов по элементу (2).
16. Способ по п.15, согласно которому удары синхронизируют в пределах 5 мс, предпочтительно в пределах 2 мс.


