Дисковый проходной керамический конденсатор постоянной емкости
Иллюстрации
Показать всеИзобретение относится к керамическим фильтровым конденсаторам дискоидальной формы, в частности к организации внутренних электродов в пространстве многослойного проходного конденсатора, и может быть использовано в радиоэлектронной промышленности в качестве емкостных элементов помехоподавляющих фильтров. Техническим результатом заявляемого изобретения является повышение электрической емкости конденсатора при сохранении высокой электрической прочности, повышение надежности в его работе, в том числе в составе помехоподавляющих фильтров. Согласно изобретению разнополярные внутренние электроды (соединенные с общими внешними электродами) попарно расположены на одной стороне множественных керамических слоев и выполнены с параллельным и радиальным разнесением относительно отверстия в теле конденсатора, а на другой стороне тех же самых множественных керамических слоев расположены «плавающие» электроды, не соединенные ни с одним общим внешним электродом, которые частично перекрывают разнополярные электроды, при котором обеспечивается равенство площадей перекрытия и, как следствие, равенство двух соединенных последовательно емкостей, образованных за счет этого перекрытия. 5 ил., 1 табл.
Реферат
Настоящее изобретение относится к керамическим фильтровым конденсаторам дискоидальной формы, в частности к организации внутренних электродов в пространстве многослойного проходного конденсатора, и может быть использовано в радиоэлектронной промышленности в качестве емкостных элементов помехоподавляющих фильтров.
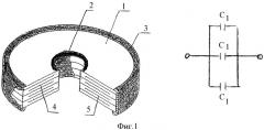
Проходной керамический конденсатор обычно имеет форму диска с минимум одним отверстием для того, чтобы пропустить провод, по которому распространяются подлежащие фильтрации электрические сигналы. Отверстие и внешний край дискового тела конденсатора (ободок) имеют металлические облицовки, которые являются общими внешними электродами конденсатора для обеспечения электрического контакта с проводом, пропущенным в это отверстие и для заземления. В типичном случае множественные внутренние металлические пластины первого и второго электродов располагаются на чередующихся керамических слоях и частично перекрываются, за счет чего создается электрическая емкость конденсатора (фиг.1).
Такая конструкция с перекрывающимися областями электродных пластин до недавнего времени считалась основой конструкции керамических многослойных конденсаторов всех типов, включая и проходные фильтровые конденсаторы.
Примером такой конструкции могут служить проходные керамические конденсаторы, описанные в патентах США: №6987660, заявл. 27.02.2003, опубл. 30.03.2005; №6765779, заявл. 28.02.2002, опубл. 20.07.2004; в Международных заявках: №3073449, заявл. 20.02.2002, опубл. 04.09.2003; №2005114685, заявл. 10.05.2004, опубл. 01.12.2005; в заявке ЕПВ №1308971, заявл. 15.10.2001, опубл. 07.05.2003.
Все патенты имеют МПК - Н01G 4/35.
Общим недостатком конструкции с перекрывающимися электродами является недостаточная электрическая прочность конденсаторов. Дело в том, что когда электроды такого конденсатора оказываются под воздействием высокого напряжения, в областях частично перекрывающихся металлических пластин возникают каналы пробоя через керамику в направлении друг к другу и/или к областям с противоположной полярностью на внешней поверхности конденсатора, где расположены общие внешние электроды (металлическая облицовка отверстия и металлический ободок). Это вызывает снижение электрической прочности, что ограничивает максимальные значения рабочего напряжения и снижает надежность. Поэтому необходимо отделить области металлических пластин двух электродов со знакопеременной полярностью как друг от друга, так и от областей с противоположной полярностью на внешней стороне конденсатора с помощью слоя керамики.
Поскольку емкость между параллельными перекрывающимися областями пластин зависит от расстояния между ними, а толщина пластины не может быть очень высокой в многослойном конденсаторе, в котором только керамический слой адекватной толщины может обеспечить высокое пробивное напряжение, раньше считалось, что области металлических пластин знакопеременной полярности необходимо располагать параллельно относительно друг друга и с частичным перекрыванием вдоль оси дискоидального керамического тела и отверстия в этом теле. В этом случае создается емкость, которая рассчитывается по формуле (1) для обычных керамических конденсаторов с параллельными пластинами:
C=KA/d,
где С - емкость, Ф;
K - диэлектрическая постоянная, Ф·м;
А - площадь перекрытия, м2;
d - расстояние между пластинами, м.
Наиболее близким к заявляемому изобретению техническим решением, взятым в качестве прототипа, является проходной керамический конденсатор по патенту США №6545854 (заявл. 25.05.2001, опубл. 08.04.2003, кл. Н01G 4/35).
Конструкция конденсатора-прототипа отличается полным отсутствием какого-либо перекрытия электродных пластин (фиг.2). Такая конструкция позволяет значительно улучшить однородность электрического поля и повысить напряжение пробоя.
В предпочтительном варианте воплощения конденсатор-прототип представляет собой дискоидальное диэлектрическое тело с главной осью, минимум одним отверстием, которое выполнено параллельно главной оси, через которое можно пропустить электрический проводник. Поверхность отверстия и внешний край поверхности тела конденсатора (ободок) имеют металлические облицовки, которые обеспечивают электрический контакт с проводом, пропущенным в отверстие и для заземления.
Металлическая облицовка отверстия и металлический ободок являются общими внешними электродами дискового конденсатора.
Дискоидальное тело конденсатора сформировано из множественных керамических слоев и некоторого количества проводящих пластин, размещенных на керамических слоях и сгруппированных следующим образом:
- первая совокупность проводящих пластин первого электрода расположена на одной стороне множественных керамических слоев с параллельным разнесением перпендикулярно к оси тела и электрически соединена с металлической облицовкой отверстия (25х, фиг.2);
- вторая совокупность проводящих пластин второго электрода расположена таким же образом с параллельным разнесением внутри тела конденсатора перпендикулярно к оси тела на той же самой стороне множественных керамических слоев и электрически соединена с землей на металлическом ободке (24х, фиг.2).
Кроме того, с целью увеличения электрической прочности в патенте США №6545854 было предложено отделить проводящие пластины первого и второго электродов друг от друга с радиальным смещением относительно воображаемой осевой линии отверстия в теле конденсатора, т.е. первая совокупность проводящих пластин не перекрывается со второй совокупностью проводящих пластин ни по одной из воображаемых осей параллельных осевой линии отверстия. Такое неперекрывание означает, что ни одна воображаемая ось параллельная осевой линии отверстия не проходит через обе (первую и вторую) группы электродов.
При этом первая и вторая группа электродов могут размещаться на одних и тех же или на разных керамических слоях.
В качестве прототипа нами взят случай, когда первая и вторая группа электродов размещены на одних и тех же керамических слоях (фиг.2).
Основным недостатком конструкции-прототипа является низкая электрическая емкость конденсатора, т.к. в соответствии с формулой (1) площадь перекрытия электродных пластин равняется нулю. В этом случае емкость создается только за счет краевых электрических полей, которые образуются при электрическом контакте металлической облицовки отверстия с проводником, проходящим через отверстие и при электрическом контакте металлического ободка с землей.
Конденсаторы такой конструкции в настоящее время часто применяются во вживляемых кардиостимуляторах и дефибрилляторах, где используется высокое напряжение порядка 750 В и электрическая прочность конденсаторов имеет решающее значение.
Техническим результатом заявляемого изобретения является повышение электрической емкости конденсатора при сохранении высокой электрической прочности по сравнению с прототипом, увеличение надежности в его работе, в том числе в составе помехоподавляющих фильтров.
Указанный технический результат достигается тем, что заявляемый конденсатор дополнительно содержит третью совокупность проводящих пластин третьего «плавающего» электрода, расположенную на другой (противоположной) стороне тех же самых множественных керамических слоев и не соединенную ни с одним общим внешним электродом, при этом проводящие пластины «плавающего» электрода частично перекрывают проводящие пластины как первого, так и второго электродов таким образом, при котором обеспечивается равенство площадей перекрытия и, как следствие, равенство двух соединенных последовательно емкостей, образованных за счет этого перекрытия.
Заявляемая совокупность указанных признаков является новой, а заявляемое техническое решение соответствует критерию «новизна».
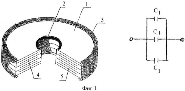
Рассмотрим подробнее конструкцию заявляемого проходного фильтрового конденсатора, которая представлена на фиг.3.
Патентуемая конструкция проходного керамического конденсатора, так же как у прототипа, представляет собой дискоидальное тело (1), собранное из множественных керамических слоев с отверстием. В отверстие обычно пропускается провод, по которому распространяются подлежащие фильтрации электрические сигналы.
На поверхность отверстия нанесена металлическая облицовка (2), которая является общим внешним электродом конденсатора и обеспечивает электрический контакт с проводом, пропущенным в это отверстие.
Внешний край поверхности дискоидального тела конденсатора - ободок (3) также имеет металлическую облицовку, которая является вторым общим внешним электродом конденсатора и обеспечивает электрическое заземление.
Так же как у прототипа в заявленном конденсаторе имеются две группы внутренних металлизированных зон (проводящих пластин).
Первая группа внутренних металлизированных зон (проводящих пластин) (4), каждая из которых имеет форму диска меньшей площади с небольшим отверстием, сосредоточена (расположена) вокруг отверстия в теле конденсатора и находится в контакте с металлической облицовкой (2) этого отверстия, причем каждая такая проводящая пластина располагается на одной стороне множественных керамических слоев; совокупность этих проводящих пластин выполняет функцию первого электрода конденсатора.
Вторая группа внутренних металлизированных зон (проводящих пластин) (5), каждая из которых имеет форму диска относительно большей площади с отверстием большего диаметра, также сосредоточена вокруг отверстия в теле конденсатора и расположена на тех же самых керамических слоях. На внешней торцевой поверхности конденсатора эта группа проводящих пластин вступает в электрический контакт с металлическим ободком (3) и является вторым электродом конденсатора.
В заявляемом конденсаторе, так же как у прототипа, группа первых металлизированных зон (проводящих пластин) (4), в совокупности формирующих первый электрод, и группа вторых металлизированных зон (проводящих пластин) (5), в совокупности формирующих второй электрод, выполнены с параллельным разнесением перпендикулярно к оси тела конденсатора и отделены одна от другой с радиальным смещением относительно воображаемой осевой линии отверстия в теле конденсатора, т.е. первая совокупность проводящих пластин первого электрода не перекрывается со второй совокупностью проводящих пластин второго электрода ни по одной воображаемой оси параллельной осевой линии отверстия.
Главным отличием заявляемого технического решения является наличие третьей группы внутренних металлизированных зон (проводящих пластин) (6), каждая из которых имеет форму диска, площадь которого расположена вокруг отверстия, диаметр которого больше диаметра отверстия в теле конденсатора, а наружный диаметр диска меньше наружного диаметра конденсатора. Каждая такая металлизированная зона (проводящая пластина) располагается на другой (противоположной) стороне тех же самых керамических слоев (на одной стороне которых попарно расположены проводящие пластины первого и второго электродов). Совокупность этих проводящих пластин выполняет функцию третьего «плавающего» электрода, который частично перекрывает проводящие пластины как первого, так и второго электродов. При этом «плавающий»электрод не соединен ни с одним общим внешним электродом конденсатора (ни с облицовкой отверстия (2), ни с металлическим ободком (3).
В результате такого перекрытия можно увеличить емкость заявляемого конденсатора (в соответствии с формулой 1) по сравнению с прототипом, у которого перекрытие электродных пластин вообще отсутствует, в несколько раз.
Общая емкость заявляемого конденсатора образуется параллельно-последовательным соединением емкостей C2, формирующихся между разнополярными электродами (4), (5), расположенными в одной плоскости и «плавающими» электродами (6) (см. фиг.4). Так как в этом случае мы имеем по две параллельно соединенные емкости С2, которые соединены последовательно, то в такой конструкции конденсатора создается более равномерное электрическое поле и его электрическая прочность увеличивается. Кроме того, толщина диэлектрика может быть уменьшена в 2 раза по сравнению с конденсаторами обычной конструкции (фиг.1).
Главным условием для достижения равномерной напряженности электрического поля является равенство значений емкостей C2. Это обеспечивается равенством площадей перекрытия, создающих емкости C2, т.е. площадь, образующаяся в результате перекрытия «плавающими» электродами (6) проводящих пластин первого электрода (4), должна быть равна площади, образующейся в результате перекрытия «плавающими» электродами (6) проводящих пластин второго электрода (5).
Указанные признаки в совокупности обеспечивают «изобретательский уровень».
В качестве доказательства промышленной применимости на фиг.4 представлен отдельный модуль заявляемого конденсатора, состоящий из одного «плавающего» электрода (6) и двух пар «нормальных» электродов (4), (5), выполненных с параллельным и радиальным разнесением.
Геометрические размеры проводящих пластин (4), (5), (6), имеющих форму дисков, выбираются таким образом, чтобы соблюдалось равенство площадей перекрытия S1=S2, которые рассчитываются по формуле площади кольца:
где D1 - больший (наружный) диаметр проводящих пластин «плавающего» электрода;
D2 - меньший (внутренний) диаметр проводящих пластин «плавающего» электрода;
D3 - меньший (внутренний) диаметр проводящих пластин второго электрода;
D4 - больший (наружный) диаметр проводящих пластин первого электрода.
Приведем конкретные примеры реализации заявляемой конструкции проходного керамического конденсатора.
Пример 1
Изготовленный конденсатор заявляемой конструкции имел следующие размеры:
Наружный диаметр конденсатора D=9,8 мм;
Размеры (диаметры) электродных пластин D1=9,3 мм; D2=3,2 мм; D3=7,62 мм; D4=6,22 мм.
Площадь перекрытия S1=(9,32-7,622)=22,3 мм2,
Площадь перекрытия S2=(6,222-3,22)=22,3 мм2.
Толщина керамической пленки 0,08 мм.
Изготовленный конденсатор состоит из 12 модулей, емкость каждого модуля - 80,8 пФ. Номинальная емкость конденсатора - 1000 пФ, номинальное напряжение - 750 В.
Напряжение пробоя на постоянном токе более 7,5 кВ, что больше, чем в 10 раз превышает номинальное напряжение.
Пример 2
Наружный диаметр изготовленного конденсатора - 12 мм.
Размеры электродных пластин, при которых выполняется условие равенства площадей перекрытия (S1=S2):D1=11 мм; D2=3,5 мм; D3=9,1 мм; D4=7,1 мм.
Площади перекрытия:
Толщина керамической пленки 0,11 мм.
Изготовленный конденсатор состоит из 7 модулей, емкость каждого модуля 84,58 пФ. Номинальная емкость конденсатора - 580, номинальное напряжение - 1000 В.
Напряжение пробоя на постоянном токе более 7 кВ, что больше, чем в 7 раз превышает номинальное напряжение.
Геометрические размеры (диаметры) электродных пластин (4), (5), (6) и толщина диэлектрика могут быть другими и подбираются в зависимости от номинального напряжения и внешнего диаметра конденсатора.
Необходимым условием для достижения технического результата заявляемого изобретения является соблюдение указанного выше соотношения геометрических размеров (диаметров) электродных пластин: D1 2-D3 2=D4 2-D2 2, при котором S1=S2. Только в случае равенства площадей перекрытия обеспечивается равенство двух соединенных последовательно емкостей, образованных за счет этого перекрытия, и обеспечивается равенство распределения электрического потенциала на этих емкостях.
Для доказательства технического результата заявляемого изобретения и для сравнительной оценки параметров напряжения пробоя и электрической емкости наряду с конденсаторами заявляемой конструкции (группа I) были изготовлены конденсаторы, имеющие конструкцию, как у прототипа (группа II).
Конденсаторы обеих групп были изготовлены из одного керамического материала СН-30 (патент РФ №2035778) и имели одинаковые размеры:
| наружный диаметр | - 10 мм; |
| внутренний диаметр | - 2,5 мм; |
| толщина диэлектрических слоев | - 0,14 мм; |
| количество диэлектрических слоев | - 4; |
| толщина конденсатора | - 1,6 мм. |
Испытания проводились на 4 образцах в каждой группе. Результаты испытаний приведены в табл.1.
| Табл.1 | ||||
| № образцов | Параметры | |||
| Емкость, пФ | Напряжение пробоя, кВ | |||
| группа II | группа I | группа II | группа I | |
| 1 | 9,53 | 113,5 | >4,5 | >4,2 |
| 2 | 9,47 | 112,8 | >4,2 | >4,3 |
| 3 | 9,44 | 113,7 | >4,4 | >4,1 |
| 4 | 9,51 | 114,1 | >4,1 | >4,4 |
При указанных в таблице значениях напряжения происходил электрический разряд (перекрытие) по поверхности конденсаторов. Фактическая электрическая прочность конденсаторов по внутренним слоям диэлектрика превышала эти значения.
Как показывают испытания, при равных размерах конденсаторов обеих групп фактическое значение емкости конденсаторов заявляемой конструкции в 12 раз превышает значение емкости конденсаторов, изготовленных по прототипу (фиг.2, патент США №6545854). Электрическая прочность конденсаторов обеих групп находится примерно на одном уровне и превышает 4,1 кВ.
Полученные данные свидетельствуют, что заявляемый конденсатор за счет оптимальных размеров и более удачного расположения внутренних электродов обладает, с одной стороны, высокой электрической прочностью, а с другой стороны, имеет электрическую емкость, более чем в 10 раз превышающую емкость конденсатора-прототипа.
Заявляемый проходной керамический конденсатор предназначен для фильтрации высокочастотных помех и предотвращения распространения электромагнитных помех из внешней среды в электрическую аппаратуру.
Конденсаторы, включенные параллельно входному сигналу, обеспечивают низкое сопротивление для высокочастотных помех. Когда по проводу, пропущенному через отверстие в дисковом проходном конденсаторе, протекает ток, высокочастотные помехи «закорачиваются» на металлический ободок конденсатора, который в аппаратуре соединен с «землей».
ОАО «НИИ «Гириконд» освоил выпуск заявляемой конструкции дискового проходного конденсатора. Имеющаяся научная и технологическая база института в области керамических материалов и конденсаторов обеспечивает высокий технический уровень заявляемых конденсаторов.
Прилагаемые чертежи:
Фиг.1 - традиционная конструкция (вид в разрезе) и электрическая схема дискового проходного керамического конденсатора.
Фиг.2 - конструкция предпочтительного варианта воплощения дискового проходного керамического конденсатора-прототипа по патенту США №6545854.
Фиг.3 - патентуемая конструкция (вид в разрезе) и электрическая схема дискового проходного керамического конденсатора.
Фиг.4 - единичный модуль патентуемой конструкции дискового проходного керамического конденсатора (поперечный разрез), показывающий расположение внутренних электродов.
Дисковый проходной керамический конденсатор, включающий монолитное тело, составленное из множественных слоев керамического диэлектрического материала с отверстием и имеющее металлические облицовки отверстия и внешнего края поверхности тела (ободка), которые являются общими внешними электродами конденсатора; первую совокупность проводящих пластин первого электрода, заключенных в теле конденсатора и расположенных на одной стороне множественных керамических слоев в разных параллельных плоскостях на расстоянии друг от друга перпендикулярно к оси конденсатора, и электрически соединенных с металлической облицовкой отверстия; вторую совокупность проводящих пластин второго электрода, заключенных в теле конденсатора и также расположенных в разных параллельных плоскостях на расстоянии друг от друга перпендикулярно к оси тела конденсатора на той же самой стороне множественных керамических слоев (попарно с первым электродом), и электрически соединенных с металлическим ободком тела конденсатора, при этом первая совокупность проводящих пластин первого электрода не перекрывается со второй совокупностью проводящих пластин второго электрода ни по одной воображаемой осевой линии параллельной оси отверстия, отличающийся тем, что он дополнительно содержит третью совокупность проводящих пластин третьего, «плавающего» электрода, расположенную на другой стороне тех же самых множественных керамических слоев и не соединенную ни с одним общим внешним электродом (ни с металлической облицовкой отверстия, ни с металлическим ободком), при этом проводящие пластины «плавающего» электрода частично перекрывают проводящие пластины как первого так и второго электродов таким образом, при котором обеспечивается равенство площадей перекрытия и, как следствие, равенство двух соединенных последовательно емкостей, образованных за счет этого перекрытия.



