Холодильный аппарат с устройством для слива воды

Иллюстрации

Показать все

Холодильный аппарат содержит теплоизолированный корпус, который окружает внутреннее пространство и включает жесткую внешнюю стенку, жесткую внутреннюю стенку и заключенный между этими стенками слой изоляционного материала, устройство слива воды, которое проходит через две стенки и слой изоляционного материала. Устройство слива воды содержит трубопровод, который проходит через отверстие, по меньшей мере, одной из стенок. Край отверстия входит в кольцевой паз трубопровода таким образом, что край отверстия удерживается без зазора между лежащими друг напротив друга кромками паза. Приемная область трубопровода проходит сквозь отверстие во внутренней стенке в направлении с наклоном наружу. Внутренняя стенка является вертикальной стенкой, а паз проходит в плоскости, которая пересекает ось трубопровода на высоте паза под непрямым углом. Отверстие имеет эллиптическую форму с вертикально ориентированной продольной осью. Использование данного изобретения позволяет исключить возможность попадания влаги из трубопровода в слой пенного вещества. 8 з.п. ф-лы, 5 ил.

Реферат

Область техники

Изобретение относится к холодильному аппарату с трубопроводом для слива воды, причем через трубопровод может вытекать влага, которая собирается при эксплуатации холодильного аппарата на холодной поверхности в его внутреннем пространстве.

Уровень техники

Такой трубопровод проходит сквозь слой изоляционного материала аппарата и должен быть изолирован от него, с одной стороны, чтобы во время монтажа аппарата предотвратить попадание изоляционного материала внутрь трубопровода и во внутреннее пространство аппарата, с другой стороны, чтобы исключить попадание воды из трубопровода в изоляционный материал и, тем самым, исключить снижение теплоизоляции.

Известное из DE 19755292 А1 решение состоит в том, что сливной трубопровод выполнен на внутреннем резервуаре в форме цельного сливного штуцера, который проходит через слой изоляционного материала и внешний резервуар холодильного аппарата. Этот цельный штуцер должен проходить через слой изоляционного материала по кратчайшему пути и, таким образом, штуцер сможет образовывать тепловой мостик между внутренним пространством и окружающим пространством холодильного аппарата. Это несет с собой опасность, состоящую в том, что на участке сливного штуцера, выступающем за наружную обшивку, осаждается конденсат, который, в случае, когда штуцер не герметично примыкает в наружной обшивке, может просочиться в изоляционный материал.

Чтобы избежать образования такого теплового мостика, желательно не проводить сливной трубопровод по наикратчайшему пути через слой изоляционного материала. Более длинный сливной трубопровод требует, однако, использования отделенной от внутреннего резервуара трубы, которая должна быть герметично подключена к нему. Из DE 9309600 U1 известен холодильный аппарат, в котором к выполненному на внутреннем резервуаре сливному штуцеру снаружи, на стороне слоя изоляционного материала, приклеен расширенный концевой участок сливной трубы.

Воронка имеет расположенный внутри сливного штуцера приемный конус и подсоединенный к нему участок трубы, который пересекает отверстие сливного штуцера и входит в подключенную к нему снаружи сливную трубу. С помощью воронки стекающая талая вода удерживается на расстоянии от клеевого соединения между сливным штуцером и трубой. Во внутреннем пространстве холодильного аппарата находится приемный ящик с отводящим штуцером, который входит в конус воронки, и, таким образом, воронка принимает вытекающую из ящика воду и направляет ее в сливную трубу. Тот факт, что приемный конус воронки в каждой точке должен быть наклонен внутрь, чтобы иметь возможность выводить втекающую воду, вынуждает к тому, чтобы расположить воронку и сливную трубу со значительным уклоном и в соответствии с ним наклонно вырезать в сливном штуцере отверстие, к которому подключается сливная труба.

Раскрытие изобретения

Задача настоящего изобретения состоит в том, чтобы создать в холодильном аппарате с теплоизолированным корпусом, окружающим внутреннее пространство и содержащим жесткую внешнюю стенку, жесткую внутреннюю стенку и заключенный между этими стенками слой изоляционного материала, устройство слива конденсата, при этом устройство слива воды преимущественно проходит через две стенки и слой изоляционного материала и может быть герметично смонтировано по меньшей мере на одной из стенок путем небольших затрат и за минимальное время и с минимальным количеством деталей.

Задача решается за счет того, что устройство слива воды содержит трубопровод, который проходит сквозь отверстие по меньшей мере одной из стенок, причем край отверстия входит в кольцевой паз трубопровода.

Предпочтительно край отверстия зажат между лежащими друг напротив друга боковыми стенками паза или по меньшей мере держится между ними без зазора, чтобы достичь надежной герметичности.

Чтобы облегчить сборку, паз на одной стороне ограничен ребром, поперечное сечение которого постепенно сужается на его обращенной от паза стороне, и, таким образом, трубопровод может быть введен с этой стороны ребра в отверстие стенки и при этом может быть поступательно сплющен до тех пор, пока ребро не пересечет отверстие.

Ребро предпочтительно полое. Это обстоятельство во-первых, облегчает радиальное сплющивание ребра при монтаже трубопровода, а во-вторых, за счет эластичной деформации стенки полого ребра, обращенной к краю отверстия, легко возможно держать стенку зажатой в пазу, несмотря на допуски габаритных размеров.

Чтобы сделать небольшой длину того участка трубопровода, который должен быть проведен через отверстие, чтобы зафиксировать трубопровод в отверстии, ребро предпочтительно расположено между пазом и концом трубопровода, ближним к пазу.

Трубопровод проходит сквозь отверстие предпочтительно в направлении, имеющем наклон наружу, и, таким образом, вода, которая вошла в трубопровод, течет в нем также самостоятельно.

Чтобы зафиксировать трубопровод в таком наклонном положении, особенно в вертикальной стенке, паз целесообразно проходит в плоскости, которая пересекает ось трубопровода на высоте паза под непрямым углом.

Чтобы установить положение трубопровода на стене, отверстие в стенке целесообразно будет выполнять эллиптической формы.

Чтобы гарантировать то, что вода из внутреннего пространства надежно попадает в сливной трубопровод, во внутреннем пространстве предпочтительно расположен приемный резервуар для воды с входящим в трубопровод сливным штуцером.

Длина проходящего в слое изоляционного материала участка трубопровода составляет предпочтительно по меньшей мере величину, равную двойной толщине слоя изоляционного материала, чтобы предотвратить образование трубопроводом теплового мостика.

Предпочтительно трубопровод образован гофрированным рукавом, особенно из гибкой пластмассы. Такой гофрированный рукав может удобным образом последовательно монтироваться во внутренней и внешней стенке корпуса холодильного аппарата, прежде чем пространство между ними будет заполнено изоляционным материалом.

Гибкость трубопровода предпочтительно вблизи паза выше, чем в удаленном от паза среднем участке трубопровода, чтобы предотвратить его примерно меандрообразное прохождение между внутренней и внешней стенкой.

Краткое описание чертежей

Другие признаки и преимущества изобретения следуют из дальнейшего описания вариантов реализации со ссылкой на прилагаемые чертежи. На них показано следующее.

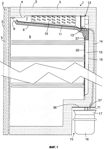
Фиг.1: схематичный разрез холодильного аппарата по настоящему изобретению.

Фиг.2: вид сверху используемого в холодильном аппарате трубопровода.

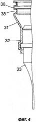
Фиг.3 и фиг.4: увеличенные фрагменты трубопровода по фиг.2.

Фиг.5: разрез трубопровода, пересекающего внутреннюю стенку холодильного аппарата.

Осуществление изобретения

Фиг.1 показывает схематичный вертикальный разрез холодильного аппарата по настоящему изобретению. Холодильный аппарат имеет корпус 1 и дверь 2, которые традиционным образом образованы за счет жесткой внешней стенки 3 , и выполненной из пластмассы методом глубокой вытяжки внутренней стенки, которая в случае корпуса 1 обозначена как внутренний резервуар 4, а также за счет заключенного между ними изолирующего слоя 5 из вспененного материала. За счет также теплоизолированной разделительной стенки 6 внутреннее пространство внутреннего резервуара 4 разделено на испарительную камеру 7 и камеру 8 хранения. Проем 9 для впуска воздуха, через который воздух попадает из камеры 8 хранения в испарительную камеру 7, выполнен на обращенном к двери 2 крае разделительной стенки 6. Испаритель 10 расположен в испарительной камере 7 в приемном резервуаре 11. Приемный резервуар 11 имеет на задней стенке не показанное на фигуре отверстие, на котором расположен вентилятор. На фигуре виден только корпус 12, который окружает вентилятор. Вентилятор нагнетает воздух из испарительной камеры 7 в воздушный канал 19, который проходит вдоль задней стенки 18 внутреннего резервуара 4 и отделен от камеры 8 хранения с помощью перекрытия 20, имеющего проемы.

Конденсированная вода, которая стекает с испарителя 10 при его нагревании, улавливается приемным резервуаром 11 и попадает через сливной штуцер 13 к трубопроводу 14, который проходит внутри задней стенки 18 вниз до ниши 15 в нижней задней области корпуса 1, причем в нише 15 расположены компрессор 16 и не показанный на фигуре конденсатор. На компрессоре 16 смонтирована чаша 17 испарителя, в которую входит трубопровод 14.

Фиг.2 показывает отдельно трубопровод 14. Фиг.3 и 4 представляют собой разрезы впускной или выпускной области трубопровода 14, а на фиг.5 представлен разрез, который показывает трубопровод 14, закрепленный на внутреннем резервуаре 4. Трубопровод 14 представляет собой цельный гофрированный рукав, выполненный из пластмассы средней степени гибкости, например полипропилена. Рядом с впускным концом 21 трубопровода 14 выполнены два косо ориентированных к оси трубы ребра 22, 23, которые ограничивают собой паз 24. С обеих сторон от ребер 22, 23 выполнены два цилиндрических участка 25, 26, причем, как это лучше видно на увеличенном изображении на фиг.3, соседний с впускным концом 21 цилиндрический участок 25 имеет чуть меньший диаметр, чем участок 26, а ребро 22 имеет конусную кромку 27, сужающуюся к цилиндрическому участку 25. Диаметр участка 25 рассчитан таким образом, что он может быть пропущен через отверстие 35 (см. фиг.5) во внутреннем резервуаре 4. Внешний диаметр ребра 22 больше, чем диаметр отверстия внутреннего резервуара, но коническая форма кромки 27 способствует тому, чтобы сплющить ребро 22 чуть внутрь и эластично расширить отверстие внутренней стенки 4, и, таким образом, ребро 22 может пересечь отверстие 35. Ширина паза 24 точно соответствует толщине стенки внутреннего резервуара 4 и, таким образом, после прохождения ребра 22 край отверстия 35 входит в паз 24 без зазора. Ширина паза 24 может быть выполнена также чуть меньше, чем толщина стенки внутреннего резервуара 4. В этом случае может потребоваться немного растянуть ребра 22, 23, чтобы расширить паз 24 и зафиксировать на нем внутренний резервуар 4, но тогда внутренний резервуар 4 будет зажат между обращенными друг к другу кромками паза 24 и особенно надежно герметизирован.

С цилиндрическим участком 26 соединен участок 28, который имеет меньшую толщину стенок, чем участки 25, 26 и который выполнен из коротких гофрированных сегментов и за счет этого относительно легко гнется. Средний участок 29 образован из широких сегментов и, соответственно этому, более жесткий. С ним соединен короткосегментный гибкий участок 30, а с участком 30 через конус 31 - цилиндрический участок 32. Паз между последним сегментом участка 30 и конусом 31 обозначен поз.38. Конус 31 и цилиндрический участок 32 имеют большую толщину стенок, чем участки 28, 29, 30 и, тем самым, более жесткие на изгиб, чем они. Как видно на увеличенном изображении фиг.4, в расширении цилиндрического участка зафиксирован клапан 33, задачей которого является пропускать наружу конденсат, но подавлять обратный поток воздуха через трубопровод 14 внутрь холодильного аппарата.

Фиг.5 показывает в продольном разрезе область трубопровода 14 в верхней части по ходу потока. Внутренний резервуар 4 зафиксирован в пазу 24, и по причине наклонного расположения паза 24 трубопровод 14 проходит с наклоном через внутреннюю стенку. Чтобы гарантировать, что во время монтажа сливной трубопровод не поворачивается в отверстии 35 вокруг своей оси, это отверстие 35 имеет слегка эллиптическое поперечное сечение с вертикально ориентированной продольной осью. Эллиптическая форма отверстия 35 способствует тому, что круглый в поперечном сечении трубопровод 14 может без деформации пересечь стенку 4 только в показанном на фигуре наклонном положении или в зеркальном положении, поднимающемся по направлению к стороне корпуса. Каждый поворот трубопровода 14 вокруг перпендикуляра к поверхности стенки 4 приводит к эластичной деформации поперечного сечения трубопровода 14. Таким образом, трубопровод 14 стабильно сохраняет показанное на фигуре наклонное положение. Сливной штуцер 13 приемного резервуара 11 входит в трубопровод 14 и, таким образом, нет опасности того, что вода потечет обратно из трубопровода 14 в испарительную камеру 7.

Конец трубопровода 14 по потоку закреплен в отверстии 37 траверсы 36, которая проходит между двумя боковыми стенками через нишу 15 и образует часть внешней стенки 3, таким же образом, как и конец против потока во внутреннем резервуаре 4. Края отверстия 37 зафиксированы в пазу 38, находящемся в непосредственном соседстве с конусом 31 (см. фиг.4).

Так как трубопровод 14 проходит цельно из испарительной камеры 7 в нишу 15, отсутствует опасность того, что влага попадет из трубопровода 14 в слой 5 пенного вещества. За счет фиксации пазов 24, 38 на внутреннем резервуаре 4 или на траверсе 36 гарантируется герметичное пенное соединение, которое предотвращает появление как течи в изолировочной пене во время монтажа, так и проникновение влаги в слой 5 пенного вещества во время эксплуатации аппарата.

1. Холодильный аппарат, содержащий теплоизолированный корпус (1, 2), окружающий внутреннее пространство (7, 8) и включающий в себя жесткую внешнюю стенку (3), жесткую внутреннюю стенку (4) и заключенный между этими стенками слой (5) изоляционного материала, а также содержащий устройство слива воды, которое проходит через две стенки (3, 4) и слой (5) изоляционного материала, причем устройство слива воды содержит трубопровод (14), который проходит через отверстие (35, 37), по меньшей мере, одной из стенок (3, 4), отличающийся тем, что край отверстия (35, 37) входит в кольцевой паз (24, 38) трубопровода (14) таким образом, что край отверстия (35) удерживается без зазора между лежащими напротив друг друга кромками паза (24), причем приемная область трубопровода (14) проходит сквозь отверстие (35) во внутренней стенке (4) в направлении с наклоном наружу, внутренняя стенка (4) является вертикальной стенкой, а паз (24) проходит в плоскости, которая пересекает ось трубопровода (14) на высоте паза (24) под непрямым углом, при этом отверстие (35) имеет эллиптическую форму с вертикально ориентированной продольной осью.

2. Холодильный аппарат по п.1, отличающийся тем, что паз (24) ограничен на одной стороне за счет ребра (22), поперечное сечение которого постепенно сужается на его стороне, обращенной от паза (24).

3. Холодильный аппарат по п.2, отличающийся тем, что ребро (22) полое.

4. Холодильный аппарат по одному из п.2 или 3, отличающийся тем, что ребро (22) расположено между пазом (24) и ближним к пазу (24) концом (21) трубопровода (14).

5. Холодильный аппарат по п.1, отличающийся тем, что во внутреннем пространстве (7) расположен приемный резервуар (11) с входящим в трубопровод (14) сливным штуцером (3).

6. Холодильный аппарат по п.1, отличающийся тем, что длина проходящего в слое (5) изоляционного материала участка (28, 29, 30) трубопровода (14) составляет, по меньшей мере, величину, равную двойной толщине слоя (5) изоляционного материала.

7. Холодильный аппарат по п.1, отличающийся тем, что трубопровод (14) образован гофрированным рукавом.

8. Холодильный аппарат по п.1, отличающийся тем, что гибкость трубопровода (14) на участке (28), соседнем с пазом (24), выше чем в удаленном от паза (24) среднем участке (29) трубопровода (14).