Устройство хоккейной клюшки с множественной трубчатой структурой
Иллюстрации
Показать всеИзобретение относится к выполнению спортивной клюшки. Спортивная клюшка содержит рукоятку, которую держит игрок, и ударный конец, приспособленный для контакта и продвижения предмета. Рукоятка выполнена из по меньшей мере двух полых трубок (23, 25). Трубки (23, 25) выполнены из композитного материала. Первые части трубок образуют наружную стенку рукоятки (22) и ограничивают внутреннюю часть рукоятки. Они скреплены одна с другой вдоль большей части длины рукоятки с образованием внутренней армирующей стенки (28). Вторые части трубок отделены друг от друга по меньшей мере в одном месте в аксиальном направлении с образованием по меньшей мере одного проема (58). Вторые части обращены друг к другу в указанных местах в аксиальном направлении с образованием по меньшей мере одной поверхности по меньшей мере одного проема. Техническим результатом изобретения является увеличение прочности и жесткости, улучшение аэродинамических свойств. 10 з.п. ф-лы, 12 ил.
Реферат
Предпосылки к созданию изобретения
Изобретение относится к композитной структуре для хоккейной клюшки.
Устройства хоккейных клюшек традиционно делают из древесины. Древесина является удобным и традиционно применяемым материалом, но имеет ограниченные возможности по прочности и весу. Деревянная клюшка является цельной и может быть выполнена из многослойного материала с целью повышения прочности.
Последние разработки улучшили хоккейные клюшки, позволив делать их из металла, такого как алюминий. Такие клюшки обычно делают из одного куска экструдированной алюминиевой трубки, к которой может быть прикреплен крюк и рукоятка. Трубчатая конструкция обеспечивает более низкий вес, а также легкость крепления крюка и рукоятки.
Более недавние разработки улучшили характеристики хоккейной клюшки за счет использования композитных материалов, таких как армированные волокном смолы, например углеродное волокно в эпоксидной смоле. Эти клюшки имеют трубчатую форму для того, чтобы максимизировать прочность и минимизировать вес.
Композитные материалы являются привлекательной альтернативой древесине, поскольку существует широкий выбор видов волокон и видов смол, комбинация которых может создать множество вариантов, пригодных для замены древесины. Эти композитные слоистые материалы обладают более высокой жесткостью, прочностью и менее подвержены воздействию окружающей среды по сравнению с древесиной.
Одним из первых патентов, описывающих композитные материалы, применяемые для хоккейных клюшек, является патент США №4086115, выданный Свиту, в котором описана трубчатая хоккейная клюшка, изготовленная с использованием волокон стекловолокна в полиэфирной смоле, полученных с помощью процесса обратной нагрузки.
В патентах США №№5419553 и 5303916, выданных Роджерсу, описана усовершенствованная хоккейная клюшка, изготовленная из композитных материалов, также полученная с помощью процесса обратной нагрузки, с добавлением особой ориентации волокна с целью повышения жесткости и прочности клюшки.
Процесс обратной нагрузки используется также для создания хоккейной клюшки из двух трубок с внутренней стенкой между ними. В патентах США №№5549947, 5688571, 5888601, 6129962, выданных Куигли и др., описана непрерывная производственная операция по производству хоккейных клюшек с непрерывным армированием волокном. Ограничения при изготовлении хоккейных клюшек с использованием процесса обратной нагрузки заключаются в невозможности изменить размещение волокна по длине конструкции и невозможности варьирования поперечного сечения по длине.
В патентах США №5636836, выданном Кэрроллу, №5746955, выданном Калаппу, №5865696, выданном Калаппу, и №6241633, выданном Конрою, описаны трубчатые системы хоккейных клюшек, изготовленные из армированных волокном смоляных материалов с особой ориентацией волокна, предназначенной для получения нужных рабочих характеристик.
Сохраняется потребность в усовершенствованной системе хоккейных клюшек. В этом отношении настоящее изобретение в значительной степени удовлетворяет этой потребности.
Сущность изобретения
Настоящее изобретение относится к хоккейной клюшке, имеющей в целом трубчатую структуру, где единственная трубка заменена несколькими непрерывными трубками, предпочтительно парой трубок, сплавленных вместе обращенными друг к другу поверхностями с образованием внутренней армирующей стенки, а также отверстий, или «каналов» между трубками для достижения определенных преимуществ в рабочих характеристиках.
В частности, основой конструкции является замена единственной трубчатой части двойной трубчатой конструкцией при сохранении той же или сходной геометрический наружной формы, характерной для первоначальной конструкции с единственной круглой трубкой. Это позволяет получить структуру с внутренней стенкой между трубками, которая обладает улучшенными прочностью и жесткостью. Кроме того, трубки могут быть разделены в разных местах для образования отверстий или каналов между трубками, которые действуют как противостоящие арки, обеспечивающие дополнительную прочность, жесткость, удобство и аэродинамические преимущества.
Устройство хоккейной клюшки согласно настоящему изобретению значительно отличается от обычного принципа и конструкций, применявшихся до сих пор, и за счет этого получается устройство, предназначенное в первую очередь для достижения улучшенной аэродинамики, прочности и внешнего вида.
Настоящее изобретение разработано для получения сочетания нестандартной жесткости, более высокой прочности, малого веса, большего удобства, улучшенной аэродинамики и улучшенного внешнего вида, превышающих существующий уровень.
Исходя из вышеупомянутых общих характеристик, присущих известным видам хоккейных клюшек известных конструкций и конфигураций, применяемым в настоящее время, настоящее изобретение предлагает усовершенствованное устройство хоккейной клюшки.
В соответствии с изобретением заявлена спортивная клюшка, содержащая:
рукоятку, которую держит игрок, и ударный конец, приспособленный для контакта и продвижения предмета;
при этом рукоятка выполнена из по меньшей мере двух полых трубок, причем указанные трубки выполнены из композитного материала; при этом первые части трубок образуют наружную стенку рукоятки и ограничивают внутреннюю часть рукоятки и скреплены одна с другой вдоль большей части длины рукоятки, образуя таким образом внутреннюю армирующую стенку, отличающаяся тем, что вторые части трубок отделены друг от друга по меньшей мере в одном месте в аксиальном направлении, чтобы образовать по меньшей мере один проем, при этом указанные вторые части обращены друг к другу в указанных местах в аксиальном направлении, образуя таким образом по меньшей мере одну поверхность по меньшей мере одного проема.
Предпочтительно, клюшка является цельной хоккейной клюшкой.
Предпочтительно, клюшка состоит из двух частей хоккейной клюшки, и в которой ударный конец включает в себя крюк, отделяющийся от рукоятки.
Предпочтительно, канал включает в себя множество проемов со множеством внутренних стенок, по одной стенке в каждом проеме, причем стенки параллельны друг другу.
Предпочтительно, ударный конец клюшки содержит хоккейный крюк, и внутренняя укрепляющая стенка ориентирована в общем перпендикулярно крюку.
Предпочтительно, рукоятка содержит больше двух трубок.
Предпочтительно, рукоятка содержит четыре трубки, образующие две внутренние укрепляющие стенки, по меньшей мере в целом перпендикулярные друг другу.
Предпочтительно, клюшка выполнена из металла.
В соответствии с другим вариантом исполнения, клюшка выполнена из композитного материала.
Предпочтительно, полые трубки содержат композитный материал на протяжении указанных вторых участков, при этом указанные вторые участки скреплены друг с другом и образуют по меньшей мере один проем.
Предпочтительно, клюшка представляет собой клюшку для хоккея на льду, клюшку для хоккея на роликах, клюшку для хоккея на траве, клюшку для лакросса или клюшку для игры в поло.
Здесь очерчены таким образом, возможно довольно широко, более важные признаки изобретения, для того чтобы лучше понимать следующее далее подробное описание и чтобы можно было лучше оценить данный вклад в эту область техники. Существуют, конечно, дополнительные признаки изобретения, которые будут описаны далее и которые образуют сущность заявленных претензий.
В этом отношении, до объяснения по меньшей мере одного варианта реализации в деталях следует понять, что изобретение не ограничивается в своем применении деталями конструкции и компоновкой деталей, изложенными в последующем описании или проиллюстрированными на чертежах. Изобретение позволяет получить другие варианты реализации на практике и может выполняться различными путями. Кроме того, следует понимать, что применяемые здесь фразеология и терминология предназначены для целей описания и не должны рассматриваться как имеющие ограничительное значение.
Таким образом, специалистам в данной области должно быть понятно, что принцип, на котором основано это описание, может легко использоваться как основа проектирования других конструкций, способов и систем с целью достижения нескольких целей настоящего изобретения. Важно, поэтому, чтобы пункты формулы изобретения рассматривались как включающие такие эквивалентные конструкции в такой мере, в какой они не отступают от существа и объема настоящего изобретения.
Настоящее изобретение предлагает новое и усовершенствованное устройство хоккейной клюшки, которая может быть легко и эффективно изготовлена.
Настоящее изобретение предлагает новое и усовершенствованное устройство хоккейной клюшки, которая имеет долговечную и надежную конструкцию.
Настоящее изобретение предлагает новое и усовершенствованное устройство хоккейной клюшки, которая может быть изготовлена при низких затратах как на материалы, так и на рабочую силу.
Настоящее изобретение предлагает также устройство хоккейной клюшки, которая может обладать особыми зонами жесткости в различных направлениях и местах вдоль рукоятки.
Настоящее изобретение предлагает усовершенствованное устройство хоккейной клюшки, обладающей более высокой прочностью и усталостной прочностью.
Настоящее изобретение предлагает усовершенствованное устройство хоккейной клюшки с улучшенными характеристиками амортизации и гашения вибрации.
Настоящее изобретение предлагает усовершенствованное устройство хоккейной клюшки, которая обладает улучшенной аэродинамикой.
Настоящее изобретение предлагает усовершенствованное устройство хоккейной клюшки, обладающей уникальным внешним видом и улучшенными эстетическими свойствами.
И, наконец, настоящее изобретение предлагает новое и усовершенствованное устройство хоккейной клюшки, выполненной с конструкцией из нескольких трубок, где трубки, сплавленные между собой по длине, отделены друг от друга в определенных местах, образуя отверстия, которые служат двойными противоположными дугами для создания улучшенного средства регулирования жесткости, упругости, прочности, удобства и аэродинамики.
Для лучшего понимания изобретения и его преимуществ следует обратиться к прилагаемым чертежам и описанию, согласно которому они иллюстрируют предпочтительные варианты реализации изобретения.
Краткое описание чертежей
На фиг.1 показан вид спереди в вертикальной проекции устройства хоккейной клюшки, тела и крюка, изготовленных согласно принципам настоящего изобретения;
на фиг.2 показан вид спереди устройства хоккейной клюшки, показанной на фиг.1, с разделением на детали;
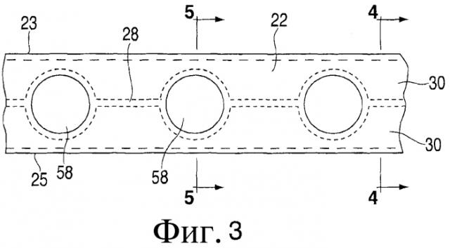
на фиг.3 показан в увеличенном масштабе вид спереди в вертикальной проекции устройства хоккейной клюшки, показанной на фиг.1, более подробно иллюстрирующий отверстия;
на фиг.4 и 5 показан вид в поперечном разрезе, выполненном по линиям 4-4 и 5-5 на фиг.3;
на фиг.6 показан вид в изометрии части тела, показывающий различные использованные слоистые материалы;
на фиг.7 показан вид спереди в вертикальной проекции устройства хоккейной клюшки, тела и крюка, изготовленных согласно другому варианту реализации настоящего изобретения;
на фиг.8 показан вид с торца нижней части клюшки согласно варианту реализации изобретения после извлечения из пресс-формы;
на фиг.9 показан вид в поперечном разрезе рукоятки, выполненной из четырех трубок, в соответствии с местом расположения, показанным на фиг.4;
на фиг.10 показан вид рукоятки с фиг.9 в соответствии с местом расположения, показанным на фиг.5;
на фиг.11 показан вид рукоятки с фиг.9 в соответствии с местом расположения, показанным на фиг.5, демонстрирующий альтернативный вариант реализации;
на фиг.12 показан продольный разрез трубки на участке с отверстиями, демонстрирующий альтернативную конструкцию.
На различных фигурах одинаковыми числовыми позициями обозначены одни и те же детали.
Подробное описание изобретения
Как показано более подробно на фиг.1-6, предметом настоящего изобретения является устройство хоккейной клюшки 10. Устройство отличается геометрическими признаками тела, нацеленными на улучшение гибкости, прочности и других игровых характеристик системы. Устройство содержит рукоятку 12 и ударный конец 34, т.е. крюк. Как продемонстрировано на фиг.6, рукоятка клюшки 12 изготовлена из множества слоев выровненных углеродных нитей 14 и 36, которые удерживаются вместе эпоксидным связующим 16. Волокна в различных слоях параллельны друг другу, однако различные слои предпочтительно имеют варьирующуюся ориентацию волокна.
Рукоятка клюшки 12 имеет протяженную и в целом полую прямоугольную конфигурацию с верхним концом 18, нижним концом 20, передней поверхностью 22, нижней поверхностью 24 и парой боковых поверхностей 26. Как показано на фиг.3-4, рукоятка клюшки имеет центральную стенку 28, идущую вертикально и в общем параллельно боковым поверхностям, образуя две прилегающие друг к другу трубки 30 с полыми внутренними частями по протяженности конца рукоятки клюшки. Клюшка имеет заглубленный проем 32 в своем нижнем конце 20.
Ударный конец 34 клюшки предпочтительно также изготавливают из множества слоев выровненных углеродных нитей 14 и 36, которые удерживаются вместе эпоксидным связующим 38, как показано в общем на фиг.6 (однако слои крюка могут иметь иную ориентацию волокон, чем рукоятка).
Ударный конец 34 клюшки имеет в общем прямоугольную конфигурацию при небольшой толщине, с первой поверхностью 40, второй поверхностью 42, верхней кромкой 44, нижней кромкой 46, ближним концом 48 и дальним концом 50. Ближний конец имеет изгиб 52 под углом от 45 градусов до 80 градусов, и предпочтительно 65 градусов, измеренным между боковыми поверхностями конца рукоятки клюшки и верхней кромкой и нижней кромкой. Нижний конец 20 конца рукоятки клюшки имеет выходящее из него охватываемое крепление 54, причем крепление 54 приспособлено для ввода в проем в нижнем конце рукоятки клюшки.
Адгезив 56 скрепляет рукоятку клюшки с ударным концом клюшки между соединительным стержнем и проемом в конце рукоятки клюшки.
Конец рукоятки клюшки и ударный конец клюшки скомпонованы вместе, образуя тело, имеющее в целом линейную форму.
В рукоятке клюшки, предпочтительно рядом с нижним концом 20, выполнено множество овальных проемов 58. Проемы тянутся между передней поверхностью и задней поверхностью. Каждый проем предпочтительно имеет овальную форму, причем длинная ось овала находится на одной линии с вертикальной осью тела. Каждый проем включает в себя внутреннюю стенку, ограничивающую соответствующее отверстие. Проемы разделяют прилегающие друг к другу части трубок тела, образуя отверстия с увеличенной площадью поверхности.
В приведенном в качестве примера варианте реализации, показанном на фиг.3-5, рукоятка формуется из двух трубок 23 и 25 в ходе технологического процесса, дополнительно описанного ниже. Участки двух трубок 23, 25 образуют наружную стенку рукоятки 12. Кроме того, другие участки трубок скрепляются вместе, образуя внутреннюю стенку 28. Однако в местах расположения отверстий 28 обращенные друг к другу поверхности 59 двух трубок 23, 25 отделяются одна от другой, образуя таким образом отверстия 58.
В варианте реализации, показанном на фиг.1-5, внутренняя стенка 28 и отверстия 58 ориентированы в том направлении, в котором размахивают хоккейной клюшкой. С другой стороны, внутренняя стенка 28 и отверстия 58 могут быть ориентированы перпендикулярно этому направлению.
Кроме того, рукоятка может быть выполнена из более чем двух трубок. Например, рукоятка может быть выполнена из четырех трубок, как показано на фиг.9. Как видно, четыре трубки 61, 62, 63, 64 образуют внутренние армирующие стенки, которые тянутся как в направлении размаха, так и перпендикулярно этому направлению. Использование четырех трубок обеспечивает выбор при формировании проемов 58а как в направлении размахивания, как показано на фиг.10, путем отделения трубок 61 и 62 от трубок 63, 64, или перпендикулярно этому направлению (путем отделения трубок 61 и 64 от трубок 62 и 63). При желании, как показано на фиг.11, возможно формирование четырех проемов 64а-3, путем отделения всех трубок друг от друга.
Альтернативный вариант реализации изобретения проиллюстрирован на фиг.7. Таким вариантом реализации является цельная хоккейная клюшка с рукояткой 12 клюшки и ударным концом 34 клюшки, изготовленная со сквозными проемами 58. В этом альтернативном варианте реализации хоккейную клюшку предпочтительно изготавливают из металла, предпочтительно алюминия. Понятно, что такой вариант реализации может также быть выполнен из композита. Аналогичным образом вариант реализации из двух частей, показанный как композитный на фиг.1-5, также может быть выполнен из металла.
Как описано ниже, хоккейную клюшку выполняют из двух или более трубок, которые формуют вместе. Вдоль большей части длины рукоятки 12 участки трубок свариваются во время формовки между собой, образуя общую стенку 28 (или стенки в случае применения более чем двух трубок). Однако, в определенных местах обращенные друг к другу поверхности 59 трубок оставляют во время формовки разделенными для образования отверстий 58. Как показано на фиг.5, с каждой стороны отверстий 58 трубки соединяются между собой. Образованные таким образом отверстия 58 обозначаются здесь как «каналы». Каналы образуются без сверления каких-либо отверстий или повреждения армирующих волокон.
Полученная структура, как обнаружено, по ряду причин обладает улучшенными рабочими характеристиками. Каналы имеют форму двойных противоположных дуг, которые позволяют конструкции изгибаться, деформируя каналы, и возвращаться в прежнее состояние при большей упругости. Каналы обеспечивают также более высокую гибкость по сравнению с той, которая может обычно достигаться при использовании отдельной трубчатой конструкции. Внутренняя стенка между внутренними трубками повышает также способность к сопротивлению сжимающим критическим нагрузкам. Конструкция обладает также улучшенной комфортностью за счет поглощения ударов и вибрации благодаря деформации каналов. И, наконец, каналы могут улучшить аэродинамику, позволяя воздуху проходить сквозь тело с целью уменьшения сопротивления ветра и улучшения маневренности.
Процессы получения одноосно ориентированного волокнистого пластика не пригодны для использования с настоящим изобретением из-за геометрических изменений конструкции тела по длине тела. Обычная композитная хоккейная клюшка имеет постоянное поперечное сечение и имеет сплошную стенку. В настоящем изобретении во многих местах по длине тела формуют проемы, что требует специальной техники формовки.
Каждая трубка предпочтительно изготавливается из длинного, армированного волокном материала типа препрега. Традиционные легкие композитные конструкции изготавливают путем приготовления промежуточного материала, известного как препрег, который будет использоваться для формовки конечной конструкции.
Препрег формуют путем погружения волокон, таких как углерод, стекло и прочие, в смолу. Обычно это делают на машине для предварительной пропитки, которая наносит не отвержденную смолу на волокна, так что они все смачиваются. Смола находится на «стадии В», что означает, что для завершения образования перекрестных связей и затвердевания и вулканизации смолы требуются только тепло и давление. Предпочтительными являются термоотверждающиеся смолы типа эпоксида, поскольку они предлагаются в жидкой форме при комнатной температуре, что облегчает процесс погружения.
Реактопласт образуется в ходе химической реакции двух компонентов, образующих материал при необратимом процессе. Обычно два компонента применяются в жидкой форме и после смешивания в течение некоторого времени остаются в жидкой форме до начала процесса образования перекрестных связей. Именно во время этой «стадии В» происходит процесс препрега, при котором смола покрывает волокна. Обычными термоотверждающимися материалами являются эпоксид, полиэфир, винил, фенол, полиимид и др.
Листы препрега нарезают и укладывают в определенной последовательности, обращая внимание на ориентацию волокон в каждом слое, как показано в общем на фиг.6. Обычно желательно иметь симметричную последовательность, означающую, что в конечном слоистом материале одинаковая ориентация волокна наблюдается выше и ниже осевой линии слоистого материала на одинаковом расстоянии от нее. Каждый слой будет иметь особую ориентацию волокна в зависимости от требующихся рабочих характеристик.
Каждый слой препрега содержит эпоксидную смолу в сочетании с однонаправленными параллельными волокнами из класса волокон, включающего углеродные нити, стекловолокно, арамидные волокна и борные волокна, но не ограничивающегося ими.
Препрег нарезают на полосы под различными углами и укладывают на стол. Затем полосы укладывают друг на друга чередующимся образом, так что волокна в каждом слое отличаются от соседних слоев. Например, один слой может быть под углом +30 градусов, а другой слой - под углом -30 градусов. Если требуется повышенное сопротивление изгибу, может использоваться меньший угол, такой как 20 градусов. Если требуется повышенное сопротивление скручиванию, может использоваться больший угол, такой как 45 градусов. Кроме того, для достижения максимального сопротивления изгибу возможно использование 0 градусов, а 90 градусов могут использоваться для сопротивления ударным воздействиям и для поддержания геометрической конструкционной формы трубки.
Этот пакет, который содержит различные полосы препрега, свертывают затем в трубку. После этого в трубку вставляют полимерный баллон с тонкими стенками. Этот баллон будет использоваться для раздувания трубки изнутри при ее размещении в пресс-форме.
Изготавливают другую подобную трубку. Затем две трубки укладывают в пресс-форму, образующую форму хоккейной клюшки. Две трубки помещают рядом таким образом, что общая стенка между стенками является короткой размерностью имеющего прямоугольную форму поперечного сечения тела. Если пресс-форма и трубки длиннее конечного нужного размера хоккейной клюшки, после формовки на рукоятке 12 может быть выполнена заключительная операция резки на длины.
К внутренней полости баллона на каждом конце каждой трубки применены воздушные штуцеры. Затем пресс-форму закрывают поверх трубок и помещают в нагретый плиточный пресс. В случае применения эпоксидных смол температура обычно составляет около 350 градусов F. Во время нагрева пресс-формы в трубках создается внутреннее давление, которое сжимает материал препрега и вызывает отверждение эпоксидной смолы. После отверждения пресс-форму размыкают и извлекают изделие.
Если требуются проемы или щели между трубками, пресс-форма должна иметь приспособления для этого. Пресс-форма будет иметь шпильки, помещенные в форме между двумя трубками, предназначенные для того, чтобы удерживать трубки разделенными и таким образом формировать эти отверстия. Шпильки могут быть установлены с использованием боковых пластин в пресс-форме. Производственный процесс должен заключаться в укладке сначала трубки в нижнюю часть пресс-формы. Затем поверх трубки помещают боковые пластины со шпильками. После этого поверх шпилек помещают вторую трубку. В заключение устанавливают верхнюю часть пресс-формы и пресс-форму закрывают. При желании вокруг каждой шпильки перед ее помещением в пресс-форму может быть обернут дополнительный армирующий элемент.
При нагревании пресс-формы и приложении давления воздуха материал препрега размягчается и облегает каждую шпильку. После отверждения пресс-форму открывают в последовательности, обратной укладке. Снимают верхнюю часть пресс-формы, затем снимают боковые пластины. Особую осторожность следует проявлять при удалении боковых пластин и шпилек для того, чтобы гарантировать, что все шпильки будут выбиты линейно. После извлечения шпилек из изделия изделие можно извлечь из нижней части пресс-формы.
Применяемым композитным материалом предпочтительно является эпоксидная смола, армированная углеродным волокном, поскольку целью является достижение армирования при наименьшем возможном весе. Возможно использование других волокон, таких как стекловолокно, арамид, бор и другие. Возможно применение других термореактивных смол, таких как полиэфир и сложный виниловый эфир. Возможно также использование термопластических смол, таких как нейлон, акрилбензолсульфонат, полибутилен терефталат и другие.
Полученная структура отличается от любых других когда-либо выпускавшихся хоккейных клюшек. Во-первых, внутренняя стенка добавляет прочности, поскольку помогает не допустить разрушения трубки при изгибе. Полые трубки подвержены разрушению при изгибе, будучи слишком сильно согнутыми. Это объясняется тем, что при сгибании часть трубки подвергается сжимающим усилиям, а тонкая стенка трубки будет изгибаться. При наличии внутренней стенки значительно повышается прочность на изгиб, поскольку не допускается изгибание стенки трубки.
Устройство хоккейной клюшки согласно настоящему изобретению становится исключительным при формовке проемов в конструкции. Нет необходимости изменять наружные размеры тела при формовке отверстий. Поэтому тело становится гораздо более аэродинамическим благодаря значительному уменьшению фронтальной площади. Это является большим преимуществом устройства хоккейной клюшки. Хоккейная клюшка имеет большую длину и может затруднять развитие больших скоростей при размахе. Например, по сравнению с клюшкой для гольфа, которая имеет примерно такую же длину, устройство хоккейной клюшки имеет примерно в четыре-шесть раз большую фронтальную площадь, будучи значительно менее аэродинамической.
Наличие аэродинамических отверстий в хоккейной рукоятке может значительно уменьшить аэродинамическое сопротивление. Размеры каждого отверстия и величина промежутков между ними могут варьироваться в зависимости от нужных рабочих характеристик. Ориентация, или ось отверстий совпадает по направленности с направлением размаха телом, максимизируя таким образом аэродинамический выигрыш.
Размеры каждого отверстия и величина промежутков между ними могут влиять нужным образом на жесткость тела. При желании эти отверстия могут направить точку перегиба тела к нижней части тела. Считают, что устройство хоккейной клюшки с низко расположенной точкой перегиба способствует повышению скорости броска.
Неожиданной выгодой наличия отверстий в теле является то, что они фактически повышают долговечность и прочность тела. Это объясняется тем, что они действуют как арки, очень эффективно распределяя напряжение и нагрузку. Это объясняется тем, что во время обычного хоккейного броска крюк хоккейной клюшки с большой силой касается льда, что вызывает изгибание тела «вне плоскости». Формованные проемы в теле допускают больший изгиб в этом направлении, что может улучшить усталостную прочность тела.
Модификация конструкции используется для того, чтобы скрепить хоккейную рукоятку согласно настоящему изобретению с типичным крюком. Типичный хоккейный крюк имеет крепление 54, которое входит в нижний конец 20 рукоятки 12. Крепление 54 не войдет, если внутренняя стенка 28 тянется до самого нижнего конца 20. Поэтому необходимо изменить внутреннее строение в области нижнего конца 20, чтобы помещать туда крепление 54. Это можно выполнить несколькими путями.
Один вариант предполагает наличие трубок препрега двух различных длин. трубка должна иметь полную длину тела, а другая должна начинаться в точке, находящейся на некотором расстоянии от одного конца и продолжаться на полную длину до другого конца. Участок соединения, где более короткая трубка соединяется с более длинной трубкой, обычно потребует дополнительного укрепления, что не является проблемой с армированными волокном композитами.
Вторым вариантом является изготовление хоккейного тела согласно настоящему изобретению с использованием трех трубок. Две трубки должны иметь одинаковую конструкцию и длину. Обе будут несколько короче полной длины тела. Затем на одном конце поверх обеих трубок помещают третью трубку. Баллоны в обеих внутренних трубках продолжаются далее заднего конца третьей трубки. При надувании баллоны будут сжимать каждую из более длинных трубок, так же как обернутую с ними третью трубку, создавая объединенную конструкцию. И здесь, как и в первом варианте, в этой области соединения может потребоваться дополнительное укрепление.
Третьим вариантом является использование соединения, или гильзы в качестве третьей детали для крепления хоккейного тела согласно настоящему изобретению к крюку. В этом случае концевой участок тела должен быть выполнен в форме, одинаковой с аналогичным участком крюка. Затем на участке крюка и участке тела может быть установлена трубчатая гильза небольшой длины, скрепляющая их на месте.
Четвертый вариант проиллюстрирован на фиг.8. Как здесь показано, между трубками 23, 25 в продольном направлении вставляют образующий гнездо элемент 31. Образующий гнездо элемент 31 тянется между трубками 23, 25 на расстояние, имеющее по меньшей мере такую же длину, как крепление 54. После формовки элемент 31 извлекают из гнезда 32. Хотя элемент 31 показан имеющим в общем прямоугольное поперечное сечение, возможно использование любого поперечного сечения при условии, что оно соответствует поперечному сечению крепления 54.
Пятый вариант показан на фиг.12, на которой показан продольный разрез тела в области каналов. В данном случае одна длинная трубка 65 начинается в верхнем конце рукоятки, продолжается до нижнего конца, а после последнего канала изменяет направление на противоположное и возвращается обратно к верхнему концу с другой стороны каналов. Это ведет к образованию трубки в форме «заколки», где U-образный участок заколки образует внутреннюю стенку 66, создавая поверхность раздела между участком с каналами 67 и нижним, принимающим крюк участком 68. Принимающий крюк участок 68 образуется отдельной трубкой 69, которая имеет внутреннюю геометрическую форму, допускающую размещение крепления 54.
Внутренняя стенка 70, образованная на участке рукоятки, может варьироваться по длине за пределами участка с каналами. Например, внутренняя стенка 70 может оканчиваться вскоре после первого канала 71, оставляя единственную трубку для оставшейся части тела.
Можно также сконструировать средство крепления крюка с использованием двух охватываемых выступов, каждый из которых должен быть помещен в каждый из трубчатых участков тела хоккейной клюшки.
Хоккейная клюшка согласно настоящему изобретению может быть сформирована в форме цельного изделия с прикрепленным крюком, позволяя получить всю хоккейную клюшку целиком. В этом случае отсутствует соединение между телом и крюком. Тело делают из более длинных трубок препрега, которые соединяют с конструкцией крюка перед формовкой. Каждая клюшка со всеми компонентами (тело и крюк) формуется совместно в ходе одной операции. Можно также иметь предварительно подвергнутый отверждению крюк, который помещают затем в форму для скрепления с телом препрега при его отверждении. Можно также иметь предварительно подвергнутые отверждению (или формованные) тело и крюк и поместить их в пресс-форму с обернутыми вокруг стыка или поверхности раздела между телом и крюком усилениями препрега для получения одного цельного изделия.
Изделие согласно настоящему изобретению может также быть выполнено из 4 трубок, причем каждая трубка занимает четверть поперечного сечения хоккейного тела. Эта конструкция обеспечивает гибкость за счет создания каналов в двух направлениях: на одной линии с направлением перемещения крюка - для улучшения аэродинамических свойств и перпендикулярно направлению перемещения крюка - для улучшения гибкости. При такой конструкции можно также помещать каналы с двумя ориентациями в одном месте для придания телу внешнего вида фермы.
Другим вариантом является использование экструдированной трубки из алюминия (или другого металла) для тела неполной длины, которую затем присоединяют к двухтрубчатому телу с проемами. В частности, алюминиевая трубка должна начинаться с конца рукоятки, а затем соединяться с трубкой из углеродного волокна где-то по длине тела в зависимости от того, сколько требуется отверстий. Это ведет к получению дешевой альтернативы по сравнению с конструкцией, целиком выполненной из углеродного волокна.
Устройство хоккейной клюшки согласно настоящему изобретению не ограничивается устройствами клюшек для хоккея на льду. Они могут быть применены в клюшках для хоккея на траве. В действительности аэродинамические преимущества имеют больший потенциал в хоккее на траве, поскольку фронтальная ширина устройств клюшек для хоккея на траве гораздо больше, чем у тел клюшек для хоккея на льду.
Устройство хоккейной клюшки может также быть применено к клюшкам для лакросса. Клюшки для лакросса имеют очень большую длину и поэтому обладают значительной фронтальной площадью, и улучшение аэродинамических свойств, которое дают каналы, будет способствовать их усовершенствованию.
Что касается способа применения и действия настоящего изобретения, то оно должно быть очевидно из приведенного описания. Соответственно далее не предлагается дальнейшего обсуждения, относящегося к способу применения и действию настоящего изобретения.
Что касается приведенного описания, то должно быть понятно, что оптимальные соотношения размеров деталей изобретения, включая варианты размеров, материалов, профиля, формы, функции и способа применения, сборки и использования, кажется совершенно ясными и очевидными специалисту в данной области, и все эти соотношения, равнозначные проиллюстрированным на чертежах и описанным в описании изобретения, должны охватываться настоящим изобретением.
Поэтому все изложенное рассматривается только как иллюстрация принципов изобретения. Далее, поскольку специалистам в данной области техники понятна возможность многочисленных изменений и модификаций, нежелательно ограничивать изобретение показанными и описанными конкретной конструкцией и способом применения и, соответственно, можно обратиться ко всем подходящим модификациям и эквивалентам, попадающим в рамки изобретения.
1. Спортивная клюшка, содержащаярукоятку, которую держит игрок, и ударный конец, приспособленный для контакта и продвижения предмета;при этом рукоятка выполнена из по меньшей мере двух полых трубок, причем указанные трубки выполнены из композитного материала, при этом первые части трубок образуют наружную стенку рукоятки и ограничивают внутреннюю часть рукоятки и скреплены одна с другой вдоль большей части длины рукоятки, образуя таким образом внутреннюю армирующую стенку, отличающееся тем, что вторые части трубок отделены друг от друга по меньшей мере в одном месте в аксиальном направлении, чтобы образовать по меньшей мере один проем, при этом указанные вторые части обращены друг к другу в указанных местах в аксиальном направлении, образуя таким образом по меньшей мере одну поверхность по меньшей мере одного проема.
2. Клюшка по п.1, которая является цельной хоккейной клюшкой.
3. Клюшка по п.1, которая состоит из двух частей хоккейной клюшки и в которой ударный конец включает в себя крюк, отделяющийся от рукоятки.
4. Клюшка по п.1, в которой канал включает в себя множество проемов со множеством внутренних стенок, по одной стенке в каждом проеме, причем стенки параллельны друг другу.
5. Клюшка по п.1, в которой ударный конец содержит хоккейный крюк и в которой внутренняя укрепляющая стенка ориентирована в общем перпендикулярно крюку.
6. Клюшка по п.1, в которой рукоятка содержит больше двух трубок.
7. Клюшка по п.1, в которой рукоятка содержит четыре трубки, образующие две внутренние укрепляющие стенки, по меньшей мере в целом перпендикулярные друг другу.
8. Клюшка по п.1, которая выполнена из мета



