Система и способ для стравливания давления после технического обслуживания скважины
Иллюстрации
Показать всеГруппа изобретений относится к обслуживанию скважин, находящихся под избыточным давлением, обусловленным мероприятиями по улучшению продуктивности. Техническим результатом группы изобретений является повышение эффективности способа и надежности работы устройства. Сущность изобретения: устройство содержит насосно-компрессорную трубу, размещенную в стволе скважины, передвижную вакуумную установку для удаления текучей среды из ствола скважины при очистке ствола скважины, следующей за обработкой скважины. Имеется трубопровод для перемещения текучей среды из насосно-компрессорной трубы в стволе скважины в передвижную вакуумную установку и устройство для стравливания давления. Это устройство соединено с трубопроводом для перемещения текучей среды и содержит выпуск, открытый в атмосферу, для сбрасывания давления. Имеется задвижка, установленная между выпуском и трубопроводом для перемещения текучей среды, и сепаратор, способный предотвратить потери жидкости во время стравливания давления из трубопровода для перемещения текучей среды. 3 н. и 11 з.п. ф-лы, 3 ил.
Реферат
ПРЕДШЕСТВУЮЩИЙ УРОВЕНЬ ТЕХНИКИ ИЗОБРЕТЕНИЯ
При техническом обслуживании скважин проводятся разнообразные обработки скважин для улучшения продуктивности. Например, проводятся гидроразрывы пласта, при которых текучая среда гидроразрыва закачивается под давлением внутрь скважины. После завершения обработки скважины текучая среда из скважины удаляется. Однако текучая среда все еще может находиться под существенным давлением, которое должно снижаться. В некоторых практических применениях для снижения давления в скважине могут использоваться факельные амбары или установки. При других внешних условиях и практических применениях факельных амбаров или установок в наличии не бывает.
В последнем варианте, обычно, передвижная вакуумная установка соединяется со стальной арматурой высокого давления, например наземными линиями трубопроводов обработки, и запертому давлению в скважине предоставляется возможность медленно снижаться. При этом передвижная вакуумная установка и вакуумные шланги не обеспечивают оптимального управления снижением этого избыточного давления.
Известна система для стравливания давления в скважине, содержащая насосно-компрессорную трубу, размещенную в стволе скважины, передвижную установку для удаления текучей среды из ствола скважины при очистке ствола скважины, следующей за обработкой скважины, трубопровод для перемещения текучей среды из насосно-компрессорной трубы в стволе скважины в передвижную вакуумную установку и устройство для стравливания давления, соединенное с трубопроводом для перемещения текучей среды и содержащее выпуск, открытый в атмосферу, для сбрасывания давления (см. патент РФ 2225943, 20.03.2004).
Известен способ стравливания давления в скважине, содержащий следующие стадии: соединение передвижной установки со скважиной через устройство для стравливания давления, удаление избыточного давления из скважины через устройство для стравливания давления, соединенное в одну линию с путем потока текучей среды из скважины к передвижной вакуумной установке, извлечение текучей среды из скважины в передвижную вакуумную установку без воздействия избыточного давления на указанную установку (см. патент РФ 2225943, 20.03.2004).
Известна система для стравливания давления в скважине, содержащая скважину с задвижкой на устьевой арматуре, трубопровод для перемещения текучей среды, размещенный на наземной площадке и сообщенный с задвижкой на устьевой арматуре, манифольд, соединенный с трубопроводом для перемещения текучей среды, и устройство для стравливания давления, соединенное с манифольдом для сбрасывания избыточного давления из трубопровода для перемещения текучей среды перед очисткой текучей среды с помощью передвижной установки (см. патент РФ 2225943, 20.03.2004).
Известные способы и системы не обеспечивают эффективного стравливания давления в скважине и оптимального управления его снижением.
Целью настоящего изобретения является устранение недостатков известных способ и систем стравливания давления в скважине.
СУЩНОСТЬ ИЗОБРЕТЕНИЯ
Согласно изобретению создана система для стравливания давления в скважине, содержащая насосно-компрессорную трубу, размещенную в стволе скважины, передвижную вакуумную установку для удаления текучей среды из ствола скважины при очистке ствола скважины, следующей за обработкой скважины, трубопровод для перемещения текучей среды из насосно-компрессорной трубы в стволе скважины в передвижную вакуумную установку и устройство для стравливания давления, соединенное с трубопроводом для перемещения текучей среды и содержащее выпуск, открытый в атмосферу, для сбрасывания давления, и задвижку, установленную между выпуском и трубопроводом для перемещения текучей среды, и сепаратор, способный предотвратить потери жидкости во время стравливания давления из трубопровода для перемещения текучей среды.
Устройство для стравливания давления может содержать трубу, имеющую выпуск и защитный экран, окружающий участок трубы, содержащий выпуск.
Устройство для стравливания давления может содержать соединитель, соединяющий внутренний объем сепаратора с герметизирующим сосудом.
Сепаратор может содержать наклонное дно, ориентированное для подачи жидкости под действием силы тяжести на соединитель.
Защитный экран может быть размещен в сепараторе, и сепаратор имеет открытый верх.
Согласно изобретению создан способ стравливания давления в скважине, содержащий следующие стадии:
соединение передвижной вакуумной установки со скважиной через устройство для стравливания давления;
удаление избыточного давления из скважины через устройство для стравливания давления, соединенное в одну линию с путем потока текучей среды из скважины к передвижной вакуумной установке, содержащее открывание задвижки устройства для стравливания давления в скважине, направление текучей среды через задвижку, в трубу, имеющую выпуск, и направление текучей среды из выпуска на защитный экран в сепараторе, открытом в атмосферу;
извлечение текучей среды из скважины в передвижную вакуумную установку без воздействия избыточного давления на указанную установку.
Способ может дополнительно содержать закачивание текучей среды в скважину для проведения операции обработки скважины перед извлечением текучей среды из скважины с помощью передвижной вакуумной установки.
Присоединение передвижной вакуумной установки к скважине может содержать создание вакуума данной установкой.
Способ может дополнительно содержать удержание любой жидкости, проходящей через устройство для стравливания давления.
Извлечение текучей среды из скважины может содержать перемещение всасывающего шланга передвижной вакуумной установки в положение очистки для удаления текучей среды из скважины.
В другом варианте система для стравливания давления в скважине содержит скважину с задвижкой на устьевой арматуре, трубопровод для перемещения текучей среды, размещенный на наземной площадке и сообщенный с задвижкой на устьевой арматуре, манифольд, соединенный с трубопроводом для перемещения текучей среды, и устройство для стравливания давления, соединенное с манифольдом для сбрасывания избыточного давления из трубопровода для перемещения текучей среды перед очисткой текучей среды с помощью передвижной вакуумной установки и содержащее трубу, имеющую выпуск, открытый в атмосферу, защитный экран, окружающий участок указанной трубы, сепаратор, способный удерживать жидкость, вытесненную из выпуска, и соединитель, соединяющий внутренний объем сепаратора с герметизирующим сосудом.
Система может дополнительно содержать передвижную вакуумную установку, соединенную с устройством для стравливания давления при сбрасывании избыточного давления.
Герметизирующий сосуд может быть передвижной вакуумной установкой.
Защитный экран может быть установлен в сепаратор, и сепаратор имеет открытый верх.
КРАТКОЕ ОПИСАНИЕ ЧЕРТЕЖЕЙ
Некоторые варианты осуществления изобретения описаны ниже со ссылками на прилагаемые чертежи, на которых изображено следующее:
Фиг.1 изображает блок-схему способа нарушения изоляции между стволом скважины высокого давления и/или путем потока текучей среды и передвижной вакуумной установкой низкого давления согласно варианту осуществления настоящего изобретения;
Фиг.2 изображает схему системы, использующей устройство для стравливания давления, согласно варианту осуществления настоящего изобретения;
Фиг.3 изображает в увеличенном масштабе устройство для стравливания давления согласно варианту осуществления настоящего изобретения.
ПОДРОБНОЕ ОПИСАНИЕ ИЗОБРЕТЕНИЯ
В следующем подробном описании приводятся многочисленные детали для обеспечения понимания настоящего изобретения. Однако специалистам в данной области техники понятно, что настоящее изобретение может практически применяться без этих деталей, и возможны многочисленные вариации и модификации описанных вариантов осуществления изобретения.
Настоящее изобретение относится к системе и способу нарушения изоляции между арматурой высокого давления, то есть наземными трубопроводами обработки скважины и передвижной вакуумной установкой низкого давления при удалении текучей среды обработки скважины из ствола скважины. Следуя технологическому процессу обработки скважины, такому как процесс гидроразрыва пласта, текучие среды обработки скважины остаются в наземных трубопроводах оборудования обработки и должны удаляться. Во многих операциях обработки скважин, однако, обрабатывающая текучая среда подается в скважину под значительным давлением, которое может сохраняться. Настоящая система и способ обеспечивают стравливание этого остающегося давления в атмосферу через устройство для стравливания давления. Одновременно, указанное устройство может использоваться для удержания любой жидкости, вытесняемой при стравливании избыточного давления в атмосферу. Удерживаемая жидкость удаляется в надлежащий герметизирующий сосуд, такой как передвижную вакуумную установку. После высвобождения избыточного давления передвижная вакуумная установка может использоваться для удаления обрабатывающей текучей среды из наземных линий трубопроводов обработки. Например, передвижная вакуумная установка может соединяться с манифольдом, размещенным на пути потока текучей среды из скважины в передвижную вакуумную установку.
Один подход для нарушения изоляции между скважиной и передвижной вакуумной установкой со стравливанием избыточного давления показан на схеме технологического процесса фиг.1. На стадии 20 создается путь потока текучей среды от скважины к передвижной вакуумной установке или другому герметизирующему сосуду. Путь потока может создаваться наземным трубопроводом, соединенным с насосно-компрессорной трубой высокого давления внутри ствола скважины. Насосно-компрессорная труба высокого давления внутри ствола скважины может быть гибкой насосно-компрессорной трубой, колонной насосно-компрессорной трубы из звеньев, обсадной колонной или другим типом трубы, установленной внутри ствола скважины и использующейся для проведения потока текучей среды для данной операции подземного ремонта скважины.
Способ также содержит соединение устройства для стравливания давления с путем потока на стадии 22. Как рассматривается более подробно ниже, устройство для стравливания давления в скважине может соединяться в линию с путем потока соединением указанного устройства с наземным трубопроводом с помощью подходящего манифольда. Использование манифольда является одним способом обеспечения избирательного сбора жидкости передвижной вакуумной установкой при стравливании давления и удалении остающейся текучей среды из ствола скважины и/или пути потока, следующего за процессом стравливания давления. Как показано на стадии 24, любое избыточное давление внутри наземных линий трубопроводов обработки может стравливаться регулируемым образом через устройство для стравливания давления.
Одновременно, устройство для стравливания давления может использоваться для полного удерживания любой жидкости, выходящей в процессе стравливания, как показано на стадии 26. Например, результатом спуска избыточного давления из наземных линий трубопроводов обработки может быть выпуск газа и жидкости через наземный трубопровод и в устройство для стравливания давления. Жидкость, вытесняемая под высоким давлением, часто имеет значительную скорость и энергию, которая рассеивается устройством для стравливания давления, при этом жидкость удерживается этим устройством после рассеивания энергии.
Удерживаемая жидкость может удаляться из устройства для стравливания давления и подаваться в подходящий герметизирующий сосуд на стадии 28. Герметизирующий сосуд может быть передвижной вакуумной установкой, используемой для удаления жидкости из ствола скважины. Например, передвижная вакуумная установка может соединяться с устройством для стравливания давления, и вакуум может применяться для удаления жидкости, вытесненной в устройство для стравливания давления в скважине во время процесса стравливания.
После стравливания избыточного давления из наземных линий трубопроводов обработки передвижная вакуумная установка подсоединяется таким способом, который обеспечивает очистку скважины и/или наземных линий трубопроводов обработки от текучей среды, как показано на стадии 30. В одном варианте устройство для стравливания давления отсекается от наземного трубопровода и он используется для направления потока текучей среды в передвижную вакуумную установку. Хотя этот технологический процесс может выполняться различными путями, один способ включает в себя отсекание устройства для стравливания давления задвижкой и перемещение вакуумного шланга от устройства для стравливания давления к надлежащему входному отверстию манифольда. Передвижная вакуумная установка может затем использоваться для приложения вакуума с помощью вакуумного шланга и удаления текучей среды из ствола скважины и/или наземного трубопровода.
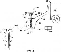
На фиг.2 показан один вариант системы 32 технического обслуживания скважины. В этом варианте осуществления техническое обслуживание скважины 34 выполняется посредством закачивания текучей среды для обработки скважины в ствол 36 скважины. Текучая среда закачивается в ствол скважины подходящим насосом 38, который может быть установлен на наземной площадке для доставки текучей среды через трубопровод 40 и задвижку 41 устья скважины в направлении, указанном стрелкой 42. Например, текучая среда может быть текучей средой гидроразрыва пласта, закачиваемой в ствол скважины через насосно-компрессорную трубу 44 для гидроразрыва окружающего пласта 45. Насосно-компрессорная труба 44 может содержать ремонтную колонну, используемую для доставки текучей среды для гидроразрыва пласта в необходимую зону внутри ствола 36 скважины.
При этом может выполняться ряд других скважинных операций, и другие текучие среды могут закачиваться на забой скважины для обеспечения проведения конкретных скважинных операций. Давление указанной текучей среды может замеряться одним или несколькими датчиками 46 давления.
После выполнения гидроразрыва пласта или другой скважинной операции, текучая среда удаляется в передвижную вакуумную установку 48. При этом перед тем как подвергнуть установку 48 воздействию потенциального давления текучей среды, использованной в стволе 36 скважины, избыточное давление стравливается. Как показано стрелками 50, создается путь потока между задвижкой 41 устьевой арматуры скважины, которая обычно закрыта для изолирования насосно-компрессорной трубы 44, и установкой 48. В этом варианте может использоваться трубопровод 40, по меньшей мере, частично, для создания пути 50 потока, с перемещением текучей среды в направлении, противоположном потоку текучей среды через трубопровод 40 во время гидроразрыва пласта или других скважинных операций.
Устройство 52 для стравливания давления сообщается с путем 50 потока. Например, устройство 52 может соединяться с трубопроводом 40 посредством манифольда 54. Однако другие типы трубопроводов и соединительных устройств могут использоваться для соединения устройства 52 с путем 50 потока. Устройство 52 способно стравливать избыточное давление внутри трубопровода 40, насосно-компрессорной трубы 44 и ствола 36 скважины с помощью выпуска избыточного давления в атмосферу, при этом удерживая любую жидкость, которая перемещается в устройство 52 в процессе стравливания давления. Хотя это не предназначено для обычного снижения давления в стволе скважины, это можно выполнять с помощью оборудования настоящего изобретения. Жидкость, которая перемещается в устройство 52, может удаляться в подходящий герметизирующий сосуд 56. В показанном варианте герметизирующим сосудом 56 является передвижная вакуумная установка 48, соединенная с устройством 52 для стравливания давления, например вакуумным шлангом 58. После завершения операции стравливания давления вакуумный шланг 58 может быть вновь соединен с надлежащим местом, например манифольдом 54, для продолжения удаления текучей среды из трубопровода 40 и, если необходимо, из насосно-компрессорной трубы 44 и ствола 36 скважины. Переустановленный вакуумный шланг 58 показан пунктирной линией на фиг.2.
На фиг.3 показано увеличенное изображение устройства 52 для стравливания давления согласно варианту осуществления изобретения. В этом варианте устройство 52 содержит соединительную зону 60, посредством которой могут соединяться устройство 52 и манифольд 54. Поток текучей среды в устройство 52 во время стравливания давления из трубы 40 и, потенциально, насосно-компрессорной трубы 44 и ствола 36 скважины может управляться посредством одного или нескольких выпускных клапанов 61, которые управляют давлением в трубопроводе 62, имеющем выпуск 64. В показанном варианте выпуск 64 содержит одно или несколько отверстий, образованных в боковой стене трубы 62. Трубопровод 62 заканчивается крышкой 66, которая перекрывает дополнительный поток по трубопроводу 62 для направления потока текучей среды и спуска давления через выпуск 64.
Энергия и скорость текучей среды, выходящей через выпуск 64, рассеиваются блокирующим элементом 68. В показанном варианте блокирующий элемент 68 содержит защитный экран 70, установленный вокруг зоны трубы 62, имеющей отверстия выпуска 64. Соответственно текучая среда высокого давления, выходящая из выпуска 64, направляется на внутреннюю поверхность защитного экрана 70, который рассеивает энергию и снижает скорость текучей среды. Любая жидкость, выходящая из выпуска 64 под значительным давлением, блокируется защитным экраном 70 и просто падает на дно сепаратора 72. В показанном варианте сепаратор 72 открыт в атмосферу посредством, например, открытого верха 74, который обеспечивает выпуск из трубы 40 и, потенциально, скважины 34 в атмосферу без потери или пролива какой-либо жидкости. Сепаратор 72 также может содержать наклонное дно 76, сориентированное для направления удерживаемой жидкости к соединителю 78. Соединитель 78 предназначен для соединения с трубопроводом для доставки собранной жидкости в герметизирующий сосуд. Например, соединитель 78 может быть спроектирован для соединения с вакуумным шлангом 58 для использования с передвижной вакуумной установкой 48 для приложения вакуума и удаления удержанной жидкости из сепаратора 72. Соответственно, путь 50 потока проходит в устройство 52 для стравливания давления, в котором любое избыточное давление стравливается в атмосферу, и затем проходит в установку 48.
Когда завершается обработка скважины и необходимо удалить обрабатывающую текучую среду из трубопроводов обработки (трубопровод 40), первоначально избыточное давление удаляется через устройство 52. В одном варианте осуществления изобретения установка 48 или другой герметизирующий сосуд соединяется с соединителем 78. Затем прикладывается вакуум с помощью, например, установки 48, которая создает всасывание через соединитель 78. Выпускной клапан 61 или клапаны затем медленно открываются для стравливания любого запертого давления/текучей среды в сепаратор 72. Текучая среда, выпущенная в сепаратор 72, обычно содержит смесь жидкости и газа.
Давление освобождается вверх через задвижку 61 по трубопроводу 62, пока не будет остановлено крышкой 66, которая направляет высвобождение давления через выпуск 64. Газ и/или жидкость высокого давления направляется наружу на блокирующий элемент 68, то есть защитный экран 70, который уменьшает скорость и, следовательно, рассеивает энергию текучей среды высокого давления. Текучая среда затем падает вниз с защитного экрана 70 на дно сепаратора 72. Газовая фаза выпускается в атмосферу, перемещаясь из сепаратора, через, например, открытый верх 74. Жидкая фаза затем падает на дно сепаратора 72 и направляется под действием силы тяжести на соединитель 78. Вакуум, приложенный к соединителю 78, с помощью вакуумного шланга 58 удаляет жидкость из внутреннего объема сепаратора 72 и направляет в герметизирующий сосуд 56.
После понижения давления и удаления жидкости из устройства 52, оставшаяся текучая среда может безопасно удаляться из трубопровода 40 и, если необходимо, из насосно-компрессорной трубы 44 и ствола 36 скважины. Согласно одному варианту осуществления изобретения вакуумный шланг 58 просто перемещается от соединителя 78 к надлежащему соединению на манифольде 54 под выпускными клапанами 61. Поскольку в наземных трубопроводах обработки больше не присутствует избыточное давление, текучая среда может удаляться с помощью установки 48. Если избыточное давление удалено из трубопровода 40 полностью, выпускные клапаны 61 могут возвращаться в закрытое положение. В других вариантах осуществления изобретения отдельные вакуумные шланги 58 могут соединяться с надлежащими задвижками или манифольдом для устранения необходимости перемещения единственного вакуумного шланга с соединителем 78 на манифольд 54. Дополнительно, могут использоваться другие типы манифольдов, трубопроводов, запорной арматуры и устройств для управления потоком текучей среды для ее удаления из устройства 52 для стравливания давления и из трубопровода 40 и ствола 36 скважины.
После удаления текучей среды устройство 52 и манифольд 54 могут перенастраиваться в конфигурацию закачки для обеспечения выполнения следующей операции обработки скважины. После завершения следующей операции обработки скважины устройство 52 может вновь использоваться для высвобождения избыточного давления перед проведением процесса удаления текучей среды. При использовании устройства 52 все давление удерживается в трубопроводах, то есть трубной обвязке, спроектированной для выдерживания высоких давлений, которые могут удерживаться после операций обработки скважины. Более того, устройство 52 полностью удерживает выпускаемые текучие среды для обеспечения охраны окружающей среды без увеличения затрат времени, связанного с данной операцией обработки скважины.
Система, показанная и описанная выше, может использоваться в различных операциях обработки и очистки скважин. Кроме того, устройство для стравливания давления может быть сконструировано с добавочными или альтернативными комплектующими деталями и с комплектующими деталями различных размеров в зависимости от внешней среды и специфического практического применения. Более того, разнообразные манифольды, источники вакуума и герметизирующие сосуды могут включаться в состав общей системы и способа.
Соответственно, хотя только несколько вариантов осуществления настоящего изобретения описаны выше, специалистам в области техники должно быть ясно, что могут выполняться различные видоизменения, возможные без существенного отхода от сути этого изобретения. Такие видоизменения предлагаются для включения в состав объема настоящего изобретения, как задано в прилагаемой формуле изобретения.
1. Система для стравливания давления в скважине, содержащая насосно-компрессорную трубу, размещенную в стволе скважины, передвижную вакуумную установку для удаления текучей среды из ствола скважины при очистке ствола скважины, следующей за обработкой скважины, трубопровод для перемещения текучей среды из насосно-компрессорной трубы в стволе скважины в передвижную вакуумную установку, и устройство для стравливания давления, соединенное с трубопроводом для перемещения текучей среды и содержащее выпуск, открытый в атмосферу, для сбрасывания давления, и задвижку, установленную между выпуском и трубопроводом для перемещения текучей среды, и сепаратор, способный предотвратить потери жидкости во время стравливания давления из трубопровода для перемещения текучей среды.
2. Система по п.1, в которой устройство для стравливания давления содержит трубу, имеющую выпуск и защитный экран, окружающий участок трубы, содержащий выпуск.
3. Система по п.1, в которой устройство для стравливания давления содержит соединитель, соединяющий внутренний объем сепаратора с герметизирующим сосудом.
4. Система по п.3, в которой сепаратор содержит наклонное дно, ориентированное для подачи жидкости под действием силы тяжести на соединитель.
5. Система по п.2, в которой защитный экран размещен в сепараторе, и сепаратор имеет открытый верх.
6. Способ стравливания давления в скважине, содержащий следующие стадии:соединение передвижной вакуумной установки со скважиной через устройство для стравливания давления;удаление избыточного давления из скважины через устройство для стравливания давления, соединенное в одну линию с путем потока текучей среды из скважины к передвижной вакуумной установке, содержащее открывание задвижки устройства для стравливания давления в скважине, направление текучей среды через задвижку в трубу, имеющую выпуск, и направление текучей среды из выпуска на защитный экран в сепараторе, открытом в атмосферу;извлечение текучей среды в передвижную вакуумную установку без воздействия избыточного давления на указанную установку.
7. Способ по п.6, дополнительно содержащий закачивание текучей среды в скважину для проведения операции обработки скважины перед извлечением текучей среды из скважины с помощью передвижной вакуумной установки.
8. Способ по п.6, в котором соединение передвижной вакуумной установки со скважиной содержит создание вакуума данной установкой.
9. Способ по п.6, дополнительно содержащий удержание любой жидкости, проходящей через устройство для стравливания давления.
10. Способ по п.6, в котором извлечение текучей среды из скважины содержит перемещение всасывающего шланга передвижной вакуумной установки в положение очистки для удаления текучей среды из скважины.
11. Система для стравливания давления в скважине, содержащая скважину с задвижкой на устьевой арматуре, трубопровод для перемещения текучей среды, размещенный на наземной площадке и сообщенный с задвижкой на устьевой арматуре, манифольд, соединенный с трубопроводом для перемещения текучей среды, и устройство для стравливания давления, соединенное с манифольдом для сбрасывания избыточного давления из трубопровода для перемещения текучей среды перед очисткой текучей среды с помощью передвижной вакуумной установки и содержащее трубу с выпуском, открытым в атмосферу, защитный экран, окружающий участок указанной трубы, сепаратор, способный удерживать текучую среду, вытесненную через выпуск, и соединитель, соединяющий внутренний объем сепаратора с герметизирующим сосудом.
12. Система по п.11, которая дополнительно содержит передвижную вакуумную установку, соединенную с устройством для стравливания давления при сбрасывании избыточного давления.
13. Способ по п.11, в которой герметизирующий сосуд является передвижной вакуумной установкой.
14. Система по п.11, в которой защитный экран установлен в сепаратор, и сепаратор имеет открытый верх.
 
                         
                            

