Система и способ бурения скважины с применением гибкой насосно-компрессорной трубы
Иллюстрации
Показать всеГруппа изобретений относится к буровым установкам с использованием гибких непрерывных труб. Техническим результатом является повышение надежности работы буровой установки. Система для бурения скважины содержит основание, мачту, инжектор гибкой трубы и наконечник пускателя, смонтированный на мачте с возможностью перемещения вдоль нее. При этом наконечник пускателя обеспечивает передачу вращательного движения для соединения и разъединения компонентов колонны и может быть использован для бурения составными трубами. Причем наконечник пускателя может быть использован для предотвращения нежелательного вращения буровой колонны в процессе бурения с использованием скважинного двигателя при помощи вращающегося патрона, способного блокироваться. Раскрыт также способ бурения с использованием предложенной системы. 2 н. и 17 з.п. ф-лы, 6 ил.
Реферат
Предшествующий уровень техники изобретения
Множество буровых установок используются для создания и подготовки скважин для добычи скважинных текучих сред или для других относящихся к скважинам процедур. Буровые установки предназначены для избирательного бурения с использованием гибкой насосно-компрессорной трубы или составных труб. В одном варианте установка включает в себя основание, мачту и инжектор гибкой насосно-компрессорной трубы для подачи гибкой насосно-компрессорной трубы в скважину и для извлечения гибкой насосно-компрессорной трубы из скважины. Установка также включает в себя верхний привод, установленный на мачте для выполнения множества связанных с бурением операций.
Верхний привод обеспечивает вращение бурильной штанги для монтажа буровой и инструментальной колонны. Верхний привод также поддерживает нагрузку вращающихся труб и обеспечивает герметичный механизм вертлюга для перекачки бурового раствора. Верхние приводы могут также использоваться для поддержки компонентов буровой колонны и для свинчивания соединений между компонентами буровой колонны. Однако верхние приводы являются относительно дорогими устройствами, которые имеют высокие требования к гидравлической энергии и представляют существенный риск для буровой операции в случае поломки верхнего привода. Потенциальная поломка верхнего привода является важным вопросом, поскольку верхние приводы обычно являются относительно сложными устройствами, от которых требуется обеспечение вращательного движения для различных задач.
Сущность изобретения
Согласно изобретению создана система для бурения скважины, содержащая основание, мачту, установленную на основании, инжектор гибкой насосно-компрессорной трубы, смонтированный на мачте и способный опускать гибкую насосно-компрессорную трубу в скважину и поднимать из скважины, и наконечник пускателя, установленный на мачте, способный передавать вращательное движение для соединения и разъединения компонентов колонны инструментов, не вращаемый при буровых операциях и противодействующий вращающему моменту, создаваемому при буровых операциях, и скважинный буровой двигатель, соединенный с буровым долотом для выполнения буровых операций независимо от наконечника пускателя.
Инжектор гибкой насосно-компрессорной трубы может перемещаться между рабочим и нерабочим положениями.
Система может дополнительно содержать барабан для гибкой насосно-компрессорной трубы, установленный на основании.
Система может дополнительно содержать гибкую насосно-компрессорную трубу, намотанную на указанный барабан.
Наконечник пускателя может содержать соединение с линией бурового раствора.
Наконечник пускателя может содержать вращающийся патрон, который может блокироваться при буровых операциях или содержать редуктор, вращаемый двигателем.
В системе основание может транспортироваться по общественной системе магистралей.
Мачта может быть подвижной между транспортировочным положением и вертикальным положением для доставки компонентов в скважину.
Наконечник пускателя может перемещаться вдоль мачты.
Инжектор гибкой насосно-компрессорной трубы может перемещаться между, по меньшей мере, двумя положениями.
Согласно изобретению создан способ выполнения буровой операции, содержащий следующие этапы:
установка мачты на основании прицепа;
подсоединение инжектора гибкой насосно-компрессорной трубы к мачте;
соединение наконечника пускателя с мачтой;
использование наконечника пускателя для соединения и разъединения компонентов колонны инструментов; и
обеспечение энергии для бурения, независимо от наконечника пускателя, с помощью скважинного бурового двигателя, подсоединенного к буровой колонне для вращения бурового долота в скважине, при этом наконечник пускателя противодействует вращающему моменту, создаваемому при буровых операциях.
Способ может дополнительно содержать установку барабана для гибкой насосно-компрессорной трубы на основание прицепа.
Способ может содержать выполнение буровой операции с помощью скважинного бурового двигателя.
Способ может дополнительно содержать предотвращение вращения наконечника пускателя с помощью противовращательных элементов во время бурения.
Способ может дополнительно содержать спуск гибкой насосно-компрессорную трубы в скважину с помощью барабана для гибкой насосно-компрессорной трубы и инжектора гибкой насосно-компрессорной трубы.
Способ может дополнительно содержать спуск мачты вниз на основание прицепа для транспортировки.
Способ может дополнительно содержать выполнение, по меньшей мере, одной операции с гибкой насосно-компрессорной трубой.
Краткое описание чертежей
Конкретные варианты осуществления изобретения будут описаны далее со ссылкой на прилагающиеся чертежи, на которых одинаковые ссылочные номера обозначают одинаковые элементы и на которых изображено следующее:
фиг.1 изображает боковой вид вышки для бурения и использования гибкой насосно-компрессорной трубы в соответствии с вариантом осуществления настоящего изобретения;
фиг.2 - вид, аналогичный виду на фиг.1, но показывающий вышку для бурения и использования гибкой насосно-компрессорной трубы в другой рабочей конфигурации, в соответствии с вариантом осуществления настоящего изобретения;
фиг.3 - вид, аналогичный виду на фиг.1, но показывающий вышку для бурения и использования гибкой насосно-компрессорной трубы в другой рабочей конфигурации, в соответствии с вариантом осуществления настоящего изобретения;
фиг.4 - увеличенный вид варианта осуществления наконечника пускателя, показанного на фиг.1, в соответствии с вариантом осуществления настоящего изобретения;
фиг.5 - схематический вид наконечника пускателя, используемого для подъема компонента колонны инструментов в положение для соединения с колонной инструментов, в соответствии с вариантом осуществления настоящего изобретения; и
фиг.6 - схематический вид наконечника пускателя, используемого для вращения и подсоединения компонента колонны инструментов со следующим компонентом колонны инструментов, в соответствии с вариантом осуществления настоящего изобретения.
Подробное описание
В следующем описании излагаются многочисленные подробности для обеспечения понимания настоящего изобретения. Однако специалистам в данной области техники следует понимать, что настоящее изобретение может быть использовано без этих подробностей и что возможно множество вариаций или модификаций относительно описанных вариантов осуществления.
Настоящее изобретение относится к системе и способу для буровых операций и операций с насосно-компрессорной трубой с одной вышкой. Комбинированная вышка для бурения и использования гибкой насосно-компрессорной трубы предназначена для исключения использования верхнего привода или силовой вертлюжной системы, уменьшая тем самым требования к гидравлике, факторы риска и факторы стоимости обычных узлов для бурения с помощью гибкой насосно-компрессорной трубы. В основном, система и способ используют вышку, имеющую основание с мачтой, прикрепленной к основанию. Барабан гибкой насосно-компрессорной трубы также установлен с возможностью вращаться на основании с помощью шпинделя, и инжектор гибкой насосно-компрессорной трубы установлен на мачте для облегчения операций с гибкой насосно-компрессорной трубой. Дополнительно подвижный наконечник пускателя установлен на мачте для облегчения соединения и отсоединения компонентов колонны инструментов, например компонентов забойного узла или других компонентов колонны инструментов. Наконечник пускателя не участвует в бурении, но использует меньший двигатель, такой как электрический двигатель или гидравлический двигатель, по размерам достаточный для передачи вращательного движения компонентам колонны инструментов, достаточного для соединения и отсоединения компонентов колонны инструментов. Энергия для бурения обеспечивается скважинным буровым двигателем, который опускается в скважину вместе с буровой колонной. Наконечник пускателя обычно не вращается во время бурения и может быть предназначен для противодействия вращающему моменту, создаваемому во время буровой операции.
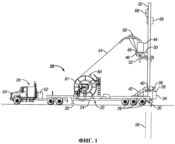
На фиг.1 проиллюстрирован вариант осуществления настоящего изобретения. В этом варианте осуществления гибкая насосно-компрессорная труба и буровая вышка 20 содержат основание 22. В качестве примера, основание 22 может быть выполнено в виде трейлера 24, такого как грузовой трейлер, поддерживаемый множеством колес 26. В этом варианте осуществления основание 22 предназначено для сцепления с моторизованным транспортом 28, например трактором, для создания тракторно-трейлерного транспортного средства, которое может переезжать от одной буровой площадки к другой. Во многих вариантах осуществления трейлер 24 и моторизованный транспорт 28 предназначены для перемещения по дорогам, что позволяет транспортировать насосно-компрессорную трубу и буровое оборудование по общественным скоростным магистралям. Следует отметить, однако, что основание 22 может быть сконструировано в других формах, включающих в себя самоходные формы, которые не зависят от отдельного трактора, для перемещения вышки для бурения и применения насосно-компрессорной трубы. Основание 22 также может содержать стабилизирующее оборудование, такое как множество опор 30 стабилизаторов, которые могут избирательно упираться в поверхность земли для выравнивания и стабилизации основания 22 во время буровых операций и операций с насосно-компрессорной трубой.
Вышка 20 для бурения и использования насосно-компрессорной трубы дополнительно содержит мачту 32, смонтированную на основании 22. В проиллюстрированном варианте осуществления мачта 32 смонтирована к структуре 34, имеющей платформу 36, на которой смонтирована структура 38 для поддержки компонентов, таких как роторный стол. Структура 38 для поддержки компонентов предназначена для соединения компонентов колонны инструментов, таких как трубы, с помощью соответствующих соединяющих механизмов (не показаны), например, клиновые захваты, как известно специалистам в данной области техники. Вся мачта 32 может быть подвижно смонтирована на подвижном элементе 40 для обеспечения спуска мачты в положение хранения для транспортировки на другую буровую площадку. Гидравлический цилиндр 42 может быть использован для перемещения мачты 32 между позицией хранения и верхним рабочим положением, как проиллюстрировано на фиг.1.
Инжектор 44 гибкой насосно-компрессорной трубы смонтирован на мачте 32 с помощью монтажной структуры 46. Монтажная структура 46 может быть предназначена для обеспечения платформы 48, на которой инжектор 44 гибкой насосно-компрессорной трубы смонтирован подвижно с помощью подающего механизма 50. Подающий механизм 50 может быть использован для перемещения инжектора 44 гибкой насосно-компрессорной трубы в и из выровненного положения с мачтой 32, например, в зависимости от типа выполняемой буровой операции или операции с гибкой насосно-компрессорной трубой. Инжектор 44 гибкой насосно-компрессорной трубы также может содержать смазывающее устройство 52, предназначенное для направления гибкой насосно-компрессорной трубы 54 из инжектора 44 гибкой насосно-компрессорной трубы, когда гибкая насосно-компрессорная труба размещается в скважине 56. Арка 58 инжектора может быть подсоединена к или расположена над верхней стороной инжектора 44 гибкой насосно-компрессорной трубы. Арка 58 инжектора является арочной структурой, которая облегчает изгибание гибкой насосно-компрессорной трубы 54 и перемещение гибкой насосно-компрессорной трубы 54 в инжектор 44.
Гибкая насосно-компрессорная труба и буровая вышка 20 могут дополнительно содержать барабан 60 для гибкой насосно-компрессорной трубы, смонтированный на основании 22. Как проиллюстрировано, гибкая насосно-компрессорная труба 54 намотана на барабан 60 доставки к инжектору 44 гибкой насосно-компрессорной трубы. Во время операций с гибкой насосно-компрессорной трубой барабан 60 избирательно вращается вокруг шпинделя 61 для доставки гибкой насосно-компрессорной трубы 54 в скважину 56 или для извлечения гибкой насосно-компрессорной трубы из скважины. Барабан 60 может вращаться с помощью обычного двигателя для барабана гибкой насосно-компрессорной трубы. В одном варианте осуществления энергия для вращения барабана 60 гибкой насосно-компрессорной трубы, для выдвигания и втягивания цилиндра 42 и для выполнения других различных требующих энергии операций на вышке 20 может подводиться гидравлически с помощью гидравлического источника 62 и источника 64 энергии для сжатия гидравлического флюида, например двигателя внутреннего сгорания и гидравлического насоса.
Наконечник 66 пускателя также смонтирован на мачте 32 для перемещения вдоль мачты 32. Например, наконечник 66 пускателя может быть опущен или поднят вдоль мачты 32 с помощью механизма 68, который может иметь множество форм в зависимости от конкретного применения. Например, механизм 68 может содержать спусковой механизм, спусковой механизм, интегрированный в мачту, лебедку или другие подходящие механизмы для механического подъема и опускания наконечника 66 пускателя. Как будет объяснено более подробно ниже, наконечник 66 пускателя может использоваться в сборке с компонентами колонны инструментов для поддержки загрузки труб, для обеспечения герметичного вертлюжного устройства для перекачки бурового раствора, для обеспечения подъемников на гидравлическом приводе для перемещения компонентов колонны инструментов и приложения нужного усилия к соединениям между компонентами колонны инструментов, например, компонентами буровой колонны. Наконечник 66 пускателя также может быть смонтирован на устройстве, таком как платформа 48 и подающий механизм 50, для обеспечения перемещения наконечника 66 пускателя над скважиной при необходимости.
Во время операции с гибкой насосно-компрессорной трубой, такой как спуск забойного узла в скважину 56, инжектор 44 гибкой насосно-компрессорной трубы перемещается в главное положение относительно мачты 32, как наилучшим образом показано на фиг.2. Инжектор 44 гибкой насосно-компрессорной трубы перемещается с помощью подающего механизма 50, который переводит инжектор из выровненного положения, как показано на фиг.1, в положение, выровненное с мачтой 32 и скважиной 56. В этом положении инжектор 44 гибкой насосно-компрессорной трубы может быть использован для перемещения гибкой насосно-компрессорной трубы 54 в положение для соединения с компонентами колонны инструментов, например компонентами забойного узла, которые опускаются в скважину. В некоторых приложениях гибкая насосно-компрессорная труба может быть использована в буровой операции. В этих приложениях инжектор гибкой насосно-компрессорной трубы совмещается с областью, в которой формируется скважина. При переключении с операции с гибкой насосно-компрессорной трубой на другую операцию, такую как операция бурения составной трубой, инжектор 44 гибкой насосно-компрессорной трубы может быть опять перемещен с помощью подающего механизма 52 в нерабочее положение. Следует отметить, что в некоторых приложениях монтажная структура 46 и инжектор 44 гибкой насосно-компрессорной трубы могут применяться для перемещения вдоль мачты 32.
На фиг.3 наконечник 66 пускателя показан в нижнем положении. Наконечник 66 пускателя может перемещаться вдоль мачты 32, при необходимости, для выполнения различных буровых операций и операций с гибкой насосно-компрессорной трубой. Например, наконечник 66 пускателя может быть использован в сборке с составными трубами для буровой операции. Однако наконечник 66 пускателя может быть использован для облегчения операции с гибкой насосно-компрессорной трубой. Например, наконечник 66 пускателя может быть использован для закрепления, подъема, позиционирования, соединения и вращения соединений между компонентами забойного узла, которые последовательно подсоединяются к гибкой насосно-компрессорной трубе 54 ниже инжектора 44 гибкой насосно-компрессорной трубы.
Вариант осуществления наконечника 66 пускателя проиллюстрирован на фиг.4. В этом варианте осуществления наконечник 66 пускателя подсоединен к механизму 68 передачи движения с помощью подходящей соединяющей структуры. Как показано, один вариант соединяющей структуры 70 содержит пару раздельных шкивов. Наконечник 66 пускателя также может содержать соединение 72 с линией бурового раствора, подсоединенное к вращающемуся вертлюгу 74, который может быть использован для поддержания давления во время перекачивания материала через соединение 72 линии бурового раствора. Вращающийся вертлюг 74 может или не может вращаться для поддержания давления во время вращения в зависимости от конкретного приложения, в котором используется наконечник 66 пускателя. Нижняя часть вращающегося вертлюга 74 содержит патрон 76, используемый для соединения компонентов колонны инструментов. Например, патрон 76 может быть использован для соединения компонентов бурового забойного узла.
Механическое устройство 78 используется для вращения патрона 76, позволяя тем самым формирование или «закручивание» соединения между компонентами колонны инструментов. Механическое устройство 78 также позволяет правильное приложение вращения к уже сформированному соединению. В качестве примера, механическое устройство 78 содержит редуктор 80, прикрепленный к патрону 76 и приводимый в движение двигателем 82. Двигатель 82 может быть электрическим двигателем или гидравлическим двигателем, который является относительно простым, с низким потреблением энергии, дешевым по сравнению со стандартным двигателем, который требуется для верхнего привода. Гораздо большая энергия, требующаяся для бурения, поставляется отдельным буровым двигателем 84, который опускается в скважину 56 с буровой колонной 86. Таким образом, скважинный буровой двигатель 84 обеспечивает энергию для вращения бурового долота 88 полностью независимо от двигателя 82, который значительно увеличивает надежность, упрощает конструкцию, и уменьшает стоимость наконечника 66 пускателя.
Наконечник 66 пускателя может также содержать шток 90, такой как буровой шток, который может быть использован для зацепления соединяемых или разъединяемых компонентов. Дополнительно гидравлический упор 92 может быть использован для предотвращения вращения компонентов колонны инструментов, таких как компоненты забойного узла, во время выполнения соединения и разъединения. Упорное устройство также может быть использовано для блокировки патрона 76 и предотвращения вращения патрона 76 во время буровых операций со скважинным двигателем 84. Для дополнительного предотвращения вращения компонентов наконечника пускателя во время буровых операций противовращательный механизм 93, такой как одна или более многогранных штанг, могут быть расположены между наконечником 66 пускателя и выравнивающей структурой, такой как мачта 32, для предотвращения нежелательного вращения из-за момента, передаваемого через буровую колонну 86 во время бурения.
Наконечник 66 пускателя также может содержать подъемники 94, которые могут быть использованы для удерживания компонентов колонны. Например, подъемники 94 могут быть использованы для удержания компонентов забойного узла во время операций сборки и разборки. В зависимости от приложения, подъемники 94 могут быть в виде механизированными подъемниками. Механизированные подъемники имеют возможность открываться и закрываться удаленно. Подъемники 94 могут также включать в себя гидравлические цилиндры 96, предназначенные для управления положением строп, поддерживающих подъемники 94. Это обеспечивает подъемникам больше возможностей для позиционирования для точного выравнивания компонентов колонны инструментов во время установки и извлечения.
Пример использования наконечника 66 пускателя и подъемников 94 для соединения компонентов показан на фиг.5 и фиг.6. Изначально наконечник 66 пускателя опускается книзу мачты 32 для осуществления захвата компонента 98 колонны инструментов, например компонента забойного узла, как показано на фиг.5. Наконечник 66 пускателя затем поднимается вдоль мачты 32, позволяя подъемникам 94 отклоняться по мере перемещения компонента 98 под действием силы тяжести для выравнивания со структурой 38 поддержки компонента, например ротационного стола. Как только наконечник 66 поднимется достаточно, чтобы компонент 98 был подвешен почти вертикально над структурой 38 поддержки компонента, компонент может быть опущен на место с помощью опускания наконечника 66 пускателя. Например, компонент 98 может быть опущен в устье 100 через структуру 38 для поддержки компонента для соединения с последующим компонентом. Если компонент 102 уже был подвешен в структуре 38 для поддержки компонента, то наконечник 66 пускателя используется для перемещения компонента 98 вниз для зацепления с компонентом 102, как это показано стрелкой 104 на фиг.6. После зацепления компонентов 102 и 98 колонны инструментов наконечник 66 пускателя может быть опущен для соединения патрона 76 с компонентом 98. Как обсуждалось выше, двигатель 82 используется затем для вращения патрона 76 и соединения компонентов 98 и 102. Двигатель 82 также может быть использован для приложения нужного усилия к соединению. Компоненты и сборки компонентов в гибкой насосно-компрессорной трубе и буровой вышке 20 позволяют использовать вышку в большом разнообразии буровых операций и операций с гибкой насосно-компрессорной трубой, включающих в себя буровые операции с гибкой насосно-компрессорной трубой. Дополнительно единственный наконечник 66 пускателя обеспечивает большую функциональность в поддерживании, соединении и отсоединении скважинных компонентов, наряду с низким риском, высокой надежностью и относительно низкой стоимостью устройства. Следует отметить, однако, что различные компоненты могут быть добавлены в вышку 20 или могут заменить проиллюстрированные компоненты. Дополнительно наконечник 66 пускателя может быть использован для большого многообразия приложений, включающих в себя сборку и разборку забойных узлов, сборку и разборку составных труб, и во множестве других приложений. Также инжектор 44 гибкой насосно-компрессорной трубы и барабан 60 гибкой насосно-компрессорной трубы могут быть использованы для множества типов операций с гибкой насосно-компрессорной трубой.
Несмотря на то что только несколько вариантов осуществления настоящего изобретения были подробно описаны выше, специалисты в данной области техники легко оценят, что множество модификаций являются возможными без существенного выхода за рамки изложения настоящего изобретения. Такие модификации должны быть включены в объем настоящего изобретения, как это определяется формулой изобретения.
1. Система для бурения скважины, содержащая основание, мачту, установленную на основании, инжектор гибкой насосно-компрессорной трубы, смонтированный на мачте и способный опускать гибкую насосно-компрессорную трубу в скважину и поднимать из скважины, и наконечник пускателя, установленный на мачте, способный передавать вращательное движение для соединения и разъединения компонентов колонны инструментов, не вращаемый при буровых операциях и противодействующий вращающему моменту, создаваемому при буровых операциях, и скважинный буровой двигатель, соединенный с буровым долотом для выполнения буровых операций независимо от наконечника пускателя.
2. Система по п.1, в которой инжектор гибкой насосно-компрессорной трубы способен перемещаться между рабочим и нерабочим положениями.
3. Система по п.1, дополнительно содержащая барабан для гибкой насосно-компрессорной трубы, установленный на основании.
4. Система по п.3, дополнительно содержащая гибкую насосно-компрессорную трубу, намотанную на указанный барабан.
5. Система по п.1, в которой наконечник пускателя содержит соединение с линией бурового раствора.
6. Система по п.1, в которой наконечник пускателя содержит вращающийся патрон.
7. Система по п.6, в которой патрон способен блокироваться при буровых операциях.
8. Система по п.6, в которой патрон содержит редуктор, вращаемый двигателем.
9. Система по п.1, в которой основание способно транспортироваться по общественной системе магистралей.
10. Система по п.1, в которой мачта является подвижной между транспортировочным положением и вертикальным положением для доставки компонентов в скважину.
11. Система по п.1, в которой наконечник пускателя способен перемещаться вдоль мачты.
12. Система по п.1, в которой инжектор гибкой насосно-компрессорной трубы способен перемещаться между, по меньшей мере, двумя положениями.
13. Способ выполнения буровой операции, содержащий следующие этапы: установка мачты на основании прицепа; подсоединение инжектора гибкой насосно-компрессорной трубы к мачте; соединение наконечника пускателя с мачтой; использование наконечника пускателя для соединения и разъединения компонентов колонны инструментов и обеспечение энергии для бурения независимо от наконечника пускателя с помощью скважинного бурового двигателя, подсоединенного к буровой колонне для вращения бурового долота в скважине, при этом наконечник пускателя противодействует вращающему моменту, создаваемому при буровых операциях.
14. Способ по п.13, дополнительно содержащий установку барабана для гибкой насосно-компрессорной трубы на основание прицепа.
15. Способ по п.14, содержащий выполнение буровой операции с помощью скважинного бурового двигателя.
16. Способ по п.15, дополнительно содержащий предотвращение вращения наконечника пускателя с помощью противовращательных элементов во время бурения.
17. Способ по п.16, дополнительно содержащий спуск гибкой насосно-компрессорной трубы в скважину с помощью барабана для гибкой насосно-компрессорной трубы и инжектора гибкой насосно-компрессорной трубы.
18. Способ по п.16, дополнительно содержащий спуск мачты вниз на основание прицепа для транспортировки.
19. Способ по п.17, дополнительно содержащий выполнение, по меньшей мере, одной операции с гибкой насосно-компрессорной трубой.
 
                         
                            


