Газовый камин (варианты)

Иллюстрации

Показать все

Газовый камин имеет основание и раму (2, 3) корпуса, камеру (9) сгорания газа, по меньшей мере, одну трубу (23) дымохода, предназначенную для выпуска топочных газов, выходящих из камеры (9) сгорания, по меньшей мере, один входной канал (21) для подачи внешнего поддерживающего горение воздуха, ведущий в камеру (9) сгорания, контур (16, 17а, 17b, 18, 26, 29, 32) вентиляции и нагрева, выполненный с возможностью втягивания воздуха окружающей среды и нагрева и подачи его, по меньшей мере, частично в помещение, в котором установлен камин (1), и, по меньшей мере, один вентилятор (30) с приводом от двигателя, выполненный с возможностью работы в указанном контуре (16, 17а, 17b, 18, 26, 29, 32) вентиляции и нагрева. Газовый камин дополнительно содержит, по меньшей мере, одно устройство (33) глушителя, установленное в контуре (16, 17а, 17b, 18, 26, 29, 32) вентиляции и нагрева. Охарактеризован второй вариант газового камина. Технический результат: повышение эффективности обогрева помещения. 2 н. и 4 з.п. ф-лы, 3 ил.

Реферат

Область техники, к которой относится изобретение

Настоящее изобретение относится к улучшенному газовому камину, в частности, предназначенному для обогрева жилого помещения.

Уровень техники

В данной области техники было предложено множество газовых каминов, обычно работающих на газообразном метане или, позже, на снг (gpl, сжиженный нефтяной газ).

Обычные газовые камины, как правило, содержат закрытую спереди камеру сгорания или открытый спереди очаг, входное отверстие для подачи поддерживающего горение воздуха, вытяжной канал для топочных газов и воздушный контур, выполненный с возможностью втягивания из помещения нагреваемого воздуха и выпуска горячего воздуха в том месте, где расположен газовый камин.

Такие камины имеют множество серьезных недостатков. Фактически воздух в помещении втягивается в месте, где расположен камин, обычно через отверстия или каналы, сформированные в нижней части камина, нагревается, главным образом, в результате конвективного теплообмена через металлические стенки камеры сгорания или очага и затем выходит обратно в помещение через одно или больше выпускных отверстий для горячего воздуха, сформированных в верхней передней части камина.

Горячий воздух, выходящий в верхней передней части камина, часто представляет неудобство для людей, стоящих перед камином, так как на них попадает поток горячего воздуха. В любом случае такая система камина является неподходящей для быстрого нагрева воздуха в помещении ниже уровня подачи горячего воздуха, где как раз желательно обеспечить быстрый нагрев, поскольку поток горячего воздуха, очевидно, проявляет тенденцию подниматься вверх к потолку помещения, приводя, таким образом, к генерированию нежелательного градиента тепла, по меньшей мере, на начальном этапе обогрева помещения, между воздухом, расположенным возле потолка, и воздухом, находящимся ниже уровня выходного отверстия или отверстий воздуха, что создает неравномерный нагрев помещения.

Обычный камин этого типа раскрыт в патенте США 6050259.

Втягивание воздуха из помещения и отвод его назад после нагрева в то же самое помещение при работе обеспечивается с помощью вентилятора с приводом от двигателя, обычно электродвигателя, который выполнен с возможностью втягивания относительно холодного воздуха из помещения и принудительной подачи нагретого воздуха в то же помещение через одно или несколько выходных отверстий.

Чтобы получить хорошую эффективность обогрева с помощью камина, обычно требуется, помимо обеспечения эффективного теплообмена между топочными газами и втягиваемым из помещения воздухом, поддерживать относительно интенсивный поток воздуха из помещения через камин.

Для получения такого желательного результата в последние годы все чаще используют мощные вентиляторы, что приводит к значительному повышению уровня шума, вызванного большими объемами воздуха, перекачиваемого через вентилятор и вентиляционные камеры и входные и выходные каналы.

Сущность изобретения

Основная задача настоящего изобретения состоит в создании газового камина, который позволяет устранить или, по меньшей мере, существенно уменьшить указанные выше недостатки. Другая задача настоящего изобретение состоит в создании газового камина, имеющего оптимальную эффективность, очень высокий выход и автономность и пригодного для быстрого и равномерного нагрева помещения, в котором он установлен.

Еще одна задача настоящего изобретения состоит в создании газового камина, который может быть изготовлен с малой себестоимостью и может быть легко установлен.

Эти и другие задачи, которые будут более понятны ниже, решаются с помощью газового камина в соответствии с настоящим изобретением, содержащего основание и раму корпуса, камеру сгорания газа, по меньшей мере, одну трубу дымохода, предназначенную для выпуска топочных газов, выходящих из камеры сгорания, по меньшей мере, один входной канал для подачи внешнего поддерживающего горение воздуха, ведущий в камеру сгорания, контур вентиляции и контур нагрева, выполненный с возможностью втягивания воздуха окружающей среды и нагрева, и подачи его, по меньшей мере, частично, в помещение, в котором установлен камин, и, по меньшей мере, один вентилятор с приводом от двигателя, выполненный с возможностью работы в контуре вентиляции и нагрева, отличающийся тем, что, по меньшей мере, одно устройство глушителя установлено в контуре вентиляции и нагрева.

Предпочтительно устройство глушителя расположено после вентилятора с приводом от двигателя.

Предпочтительно указанный вентилятор с приводом от двигателя расположен после контура вентиляции и нагрева, в соответствии с чем воздух из помещения втягивают через одно или несколько входных отверстий, предусмотренных, по меньшей мере, в одной верхней части камина, над камерой сгорания, и подают в горячем состоянии в помещение через, по меньшей мере, одно выходное отверстие, предусмотренное, по меньшей мере, в одной нижней части, расположенной ниже камеры сгорания.

Чтобы повысить эффективность теплообмена между относительно горячими топочными газами и внешним поддерживающим горение воздухом, а также относительно холодным воздухом помещения, внешний подаваемый поддерживающий горение воздух подогревают путем теплообмена с топочными газами, выпускаемыми в одну или каждую трубу дымохода, и передачи части его тепла, полученного в результате подогрева, нагреваемому воздуху из помещения.

Предпочтительно подогрев внешнего поддерживающего горение воздуха выполняют путем расположения одной или каждой трубы дымохода внутри соответствующего канала подачи внешнего поддерживающего горение воздуха, так чтобы между ними был сформирован промежуток, через который может протекать внешний поддерживающий горение воздух, обеспечивая, таким образом, теплообмен в противотоке между топочными газами и внешним поддерживающим горение воздухом.

Предпочтительно газовый камин имеет кожух, выполненный с возможностью разграничения пространства над камерой сгорания для предпочтительного перемещения воздуха из помещения.

Предпочтительно контур вентиляции и нагрева содержит, по меньшей мере, одно устройство увлажнителя горячего воздуха, подаваемого в помещение.

Краткое описание чертежей

Другие аспекты и преимущества газового камина в соответствии с настоящим изобретением будут лучше представлены в следующем подробном описании со ссылкой на прилагаемые чертежи, на которых:

на фиг.1 показан вид спереди газового камина в соответствии с настоящим изобретением;

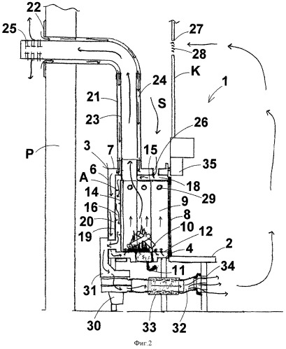
на фиг.2 показан вид сбоку в разрезе по вертикальной линии камина на фиг.1 с установленным кожухом; и

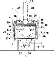
на фиг.3 представлен вид спереди в разрезе по вертикальной линии камина на фиг.2.

Как показано на перечисленных выше чертежах, газовый камин в соответствии с настоящим изобретением, в общем, обозначенный ссылочной позицией 1, содержит основание и раму корпуса, включая основу 2, предпочтительно покрытую элементами облицовки, выполненными, например, из мрамора или керамики, от которой, по существу, продолжается параллелепипед корпуса 3, имеющего прямоугольную форму в виде в плане. Корпус 3 ограничивает закрытое внутреннее пространство и содержит нижнюю или донную стенку 4, две боковых стенки 5а, 5b, заднюю стенку 6, верхнюю стенку или перекрытие 7, а также переднюю дверь 8, предпочтительно изготовленную из стекла или более предпочтительно из керамического стекла, чтобы обеспечить хорошую теплонепроницаемую компоновку.

Внутреннее пространство корпуса 3 подразделено на множество смежных камер, как описано ниже.

На самом внутреннем участке расположена камера 9 сгорания, в которой установлена газовая горелка 10, в которую можно подавать горючий газ через канал 11 питания, сообщенный по текучей среде с соответствующим источником горючего газа (не показан в чертежах), например газопроводом, для подачи метана или снг, резервуаром подачи или даже газовым баллоном с другим соответствующим сжиженным газообразным топливом, как известно в области техники. Камера 9 сгорания выполнена герметичной из металла, предпочтительно чугуна, который обеспечивает, таким образом, эффективный теплообмен между внутренними и внешними участками камеры сгорания. Если требуется, камера сгорания может быть изнутри покрыта огнеупорным материалом. Более конкретно, камера 9 сгорания ограничена нижней или донной стенкой 12, двумя боковыми стенками 13а и 13b, задней стенкой 14, верхней стенкой или перекрытием 15 и передней дверкой 8.

Снаружи от камеры 9 сгорания расположены одна или несколько камер вентиляции, предпочтительно задняя камера 16 вентиляции, две боковых камеры 17а и 17b вентиляции, предпочтительно непосредственно соединенные с задней камерой 16, и верхняя камера 18 вентиляции, разграниченные с помощью одной или нескольких металлических перегородок 19, которые расположены так, что они продолжаются вокруг камеры 9 сгорания, на определенном расстоянии от нее.

Предпочтительно стенки камер 16, 17а и 17b вентиляции могут быть выполнены с ребрами, повышающими эффективность теплообмена между горячими топочными газами и нагреваемым воздухом.

Между задней стенкой 6 и боковыми стенками 5а и 5b корпуса 3 и металлическими перегородками 19 расположены одна или несколько камер 20 для внешнего поддерживающего горение воздуха, которые, продолжаясь до нижнего участка корпуса, расположенного ниже камеры 9 сгорания между донной стенкой 12 последней и донной стенкой 4 корпуса 3, подведены к горелке 10, тогда как на верхнем их участке эти камеры сообщены по текучей среде с металлическим входным каналом 21 для внешнего поддерживающего горение воздуха.

Канал 21 имеет входное отверстие 22 для внешнего поддерживающего горение воздуха, выведенное за пределы обогреваемого помещения, в котором установлен газовый камин 1 (фиг.2), и предпочтительно продолжается через стену Р здания.

Камера 9 сгорания на ее перекрытии 15 сообщена по текучей среде с металлической трубой 23 дымохода, установленной для выпуска топочных газов и предпочтительно продолжающейся внутри входного канала 21 для внешнего поддерживающего горение воздуха, одновременно разграничивая, таким образом, промежуток 24, предназначенный для разграничения потока поддерживающего горение воздуха, при этом обеспечивается теплообмен в противотоке этого потока с относительно горячими топочными газами, исходящими из камеры 9 сгорания. Как известно в области техники, труба 23 дымохода заканчивается выпускным диффузором 25, который расположен за пределами входного отверстия 22 для поддерживающего горение воздуха.

Верхняя камера вентиляции 18 сообщена с задней и боковыми камерами 16, 17а и 17b вентиляции соответственно и множеством верхних отверстий 26, только одно из которых показано на фиг.2, над которыми в случае, если газовый камин оборудован кожухом K, предпочтительно предусмотрено пространство S, предназначенное для подвода воздуха из помещения, который втягивают через одно или несколько входных отверстий 27, сформированных в кожухе K и предпочтительно закрытых сеткой 28, перед подачей воздуха в контур вентиляции и нагрева через отверстия 26.

Контур вентиляции и нагрева для воздуха из помещения также содержит, помимо камер 16, 17а, 17b и 18 вентиляции, вентилятор 30 с приводом от двигателя, предпочтительно клапан с электромагнитным управлением, работающий при относительно большом потоке, сторона всасывания которого сообщена по текучей среде с нижним коллектором 31, который, в свою очередь, сообщен с камерами 16, 17а, 17b и 18 вентиляции, тогда как его сторона подачи соединена с трубой 32 подачи горячего воздуха помещения, расположенной в основе 2 ниже камеры 9 сгорания.

В трубе 32 подачи установлено устройство 33 глушителя любого соответствующего типа, выполненное с возможностью устранения или существенного снижения уровня шума, производимого в принудительно подаваемом воздушном потоке трубы 32 подачи. После устройства 33 глушителя расположено выходное отверстие 34, предназначенное для подачи нагретого воздуха помещения в обогреваемое пространство, а также, в случае необходимости, одно или несколько входных отверстий для труб (не показаны на чертежах) для подачи горячего воздуха помещения в помещения, смежные с пространством, в котором установлен газовый камин 1.

Спереди газового камина 1 предпочтительно над камерой 9 сгорания может быть установлено устройство 35 увлажнения, которое содержит резервуар с водой, которая испаряется вследствие теплообмена с горячими топочными газами, исходящими из камеры сгорания, а также теплообмена с воздухом помещения, поступающим в пространство S, в случае газового камина, оборудованного кожухом K, уменьшая, таким образом, сухость нагретого воздуха, подаваемого в помещение, в котором расположен газовый камин 1, делая, таким образом, воздух более приятным.

Относительно холодный внешний поддерживающий горение воздух поступает в камин через одно или несколько стенных или потолочных входных отверстий 23, протекает через входной канал 21 для поддерживающего горение воздуха и поступает в камеру 20 для поддерживающего горение воздуха, откуда он протекает ниже камеры 9 сгорания перед входом в нее снизу для окисления газа, подаваемого в горелку 10 через трубу 11 подачи газа.

В результате реакции сгорания в камере 9 сгорания генерируются относительно горячие топочные газы, которые выходят из камеры сгорания по дымоходу 23, через который их, таким образом, выпускают и рассеивают в окружающей среде через диффузор 25.

Предпочтительно, поскольку труба 23 дымохода продолжается внутри входного канала 21 для внешнего поддерживающего горение воздуха, как указано выше, происходит конвективный теплообмен в противотоке приточного воздуха с горячими топочными газами, что приводит к последовательному подогреву поддерживающего горение воздуха, протекающего через промежуток 24, и, следовательно, охлаждению выходящих топочных газов.

И, наоборот, подогреваемый воздух помещения поступает в контур вентиляции и нагрева газового камина 1 через верхние отверстия 26 или, если газовый камин 1 оборудован кожухом K, через сформированные в кожухе К входные отверстия 27, на которых установлена сетка 28. Благодаря вентилятору 30 с приводом от двигателя воздух помещения, который поступает в контур вентиляции и нагрева, принудительно протекает через камеры 16, 17а и 17b вентиляции, расположенные между камерой 9 сгорания и камерой для поддерживающего горение воздуха или камерами 20. В камерах 16, 17а, 17b вентиляции воздух нагревается вследствие двойного теплообмена, то есть со стенками 13а, 13b и 14 соответственно камеры 9 сгорания, которые обдувают горячие топочные газы, и перегородками 19, обдуваемыми поддерживающим горение воздухом, предварительно нагретым в результате теплообмена с горячими топочными газами, выпускаемыми через трубу 23 дымохода.

Выходное отверстие 30 вентилятора соединено с устройством 33 глушителя для устранения любых монотонных шумов, генерируемых в потоке горячего воздуха, подаваемого в одну или несколько труб подачи горячего воздуха, через которые нагретый воздух подают через отверстия 34 в помещение, в котором установлен газовый камин 1, или также частично подают через соответствующие трубы в смежные помещения.

В описанном выше изобретении можно выполнить множество изменений и вариаций в пределах объема, определенного в соответствии с формулой изобретения.

Таким образом, например, в контуре вентиляции и нагрева боковые камеры 17а и 17b вентиляции могут быть сообщены друг с другом через один или несколько трубчатых элементов 29, продолжающихся от одной камеры до другой через камеру 9 сгорания на ее верхней стенке или перекрытии 15. Кроме того, камеры 16, 17а, 17b вентиляции могут быть расположены вне камеры 20 для поддерживающего горение воздуха вместо их установки между внешней камерой 20 для поддерживающего горение воздуха и камерой 20 сгорания.

Кроме того, хотя в описанном выше варианте выполнения труба 23 дымохода, предназначенная для выпуска топочных газов, и входной канал 21 для поддерживающего горение воздуха расположены так, что между ними образован промежуток 24 для протекания по нему и подогрева поддерживающего горение воздуха, настоящее изобретение также относится с компоновке, содержащей прямую подачу поддерживающего горение воздуха из окружающей среды, то есть через входной канал 21 поддерживающего горения воздуха, который соединяет камеру 9 сгорания с внешней средой без подогрева входного поддерживающего горение воздуха вдоль дымохода.

Конечно, устройство 33 глушителя также может быть установлено перед клапаном 30 с электромагнитным управлением, в результате чего оно будет работать как на его входной, так и на выходной стороне.

1. Газовый камин, содержащий основание и раму (2, 3) корпуса, камеру (9) сгорания газа, по меньшей мере, одну трубу (23) дымохода, предназначенную для выпуска топочных газов, выходящих из камеры (9) сгорания, по меньшей мере, один входной канал (21) для подачи внешнего поддерживающего горение воздуха, ведущий в камеру для поддерживающего горение воздуха, соединенную по потоку с камерой (9) сгорания, контур (16, 17а, 17b, 18, 26, 29, 32) вентиляции и нагрева, выполненный с возможностью втягивания воздуха окружающей среды и нагрева, и подачи его, по меньшей мере, частично, в помещение, в котором установлен камин (1), и, по меньшей мере, один вентилятор (30) с приводом от двигателя, выполненный с возможностью работы в контуре (16, 17а, 17b, 18, 26, 29, 32) вентиляции и нагрева, отличающийся тем, что, по меньшей мере, одно устройство (33) глушителя установлено в контуре (16, 17а, 17b, 18, 26, 29, 32) вентиляции и нагрева и, по меньшей мере, одно устройство (33) глушителя расположено перед или после соответствующего вентилятора (30) с приводом от двигателя, причем одна или каждая труба (23) дымохода и соответствующий входной (21) канал для внешнего поддерживающего горение воздуха расположены один внутри другого, ограничивая, таким образом, промежуток (24), через который происходит теплообмен в противотоке поддерживающего горение воздуха с потоком топочных газов в трубе (23) дымохода, при этом контур вентиляции и нагрева содержит, по меньшей мере, одну камеру (16, 17а), поддерживающего горение воздуха и камерой (9) сгорания, причем сторона всасывания вентилятора (30) с приводом от двигателя сообщена по текучей среде с, по меньшей мере, одной камерой (16, 17а, 17b) вентиляции, и его сторона подачи сообщена по текучей среде с, по меньшей мере, одним каналом (32) подачи горячего воздуха в помещение.

2. Газовый камин по п.1, отличающийся тем, что содержит, по меньшей мере, одно устройство (35) увлажнения для горячего воздуха, подаваемого в помещение.

3. Газовый камин по п.1, отличающийся тем, что, по меньшей мере, одна камера (16, 17а, 17b) вентиляции, находящаяся в теплообмене с, по меньшей мере, одной камерой (20) для поддерживающего горение воздуха и камерой (9) сгорания имеет множество ребер (А).

4. Газовый камин, содержащий основание и раму (2, 3) корпуса, камеру (9) сгорания газа, по меньшей мере, одну трубу (23) дымохода, предназначенную для выпуска топочных газов, выходящих из камеры (9) сгорания, по меньшей мере, один входной канал (21) для подачи внешнего поддерживающего горение воздуха, ведущий в камеру для поддерживающего горение воздуха, соединенную по потоку с камерой (9) сгорания, контур (16, 17а, 17b, 18, 26, 29, 32) вентиляции и нагрева, выполненный с возможностью втягивания воздуха окружающей среды и нагрева, и подачи его, по меньшей мере, частично, в помещение, в котором установлен камин (1), и, по меньшей мере, один вентилятор (30) с приводом от двигателя, выполненный с возможностью работы в контуре (16, 17а, 17b, 18, 26, 29, 32) вентиляции и нагрева, отличающийся тем, что, по меньшей мере, одно устройство (33) глушителя установлено в контуре (16, 17а, 17b, 18, 26, 29, 32) вентиляции и нагрева и, по меньшей мере, одно устройство (33) глушителя расположено перед или после соответствующего вентилятора (30) с приводом от двигателя, причем одна или каждая труба (23) дымохода и соответствующий входной (21) канал для внешнего поддерживающего горение воздуха расположены один внутри другого, ограничивая, таким образом, промежуток (24), через который происходит теплообмен в противотоке поддерживающего горение воздуха с потоком топочных газов в трубе (23) дымохода, при этом контур вентиляции и нагрева содержит, по меньшей мере, одну камеру (16, 17а, 17b, 18, 29) вентиляции, расположенную с теплообменом, по меньшей мере, частично между, по меньшей мере, одной камерой (20) для поддерживающего горение воздуха и камерой (9) сгорания, причем упомянутый газовый камин содержит кожух (К), ограничивающий верхнее пространство (S) для воздуха помещения, нагреваемого и передаваемого в контур (16, 17а, 17b, 18, 26, 29, 32) вентиляции и нагрева.

5. Газовый камин по п.4, отличающийся тем, что содержит, по меньшей мере, одно устройство (35) увлажнения для горячего воздуха, подаваемого в помещение.

6. Газовый камин по п.4, отличающийся тем, что, по меньшей мере, одна камера (16, 17а, 17b) вентиляции, находящаяся в теплообмене с, по меньшей мере, одной камерой (20) для поддерживающего горение воздуха и камерой (9) сгорания имеет множество ребер (А).