Способ создания адаптированного удара при заглублении инструмента в породу и ударный механизм двс с форсируемой энергией и мощностью

Иллюстрации

Показать все

Изобретение относится к машинам ударного действия для разрушения, дробления горных пород, покрытий, их уплотнения и других процессов, связанных с ударными технологиями. Главная отличительная особенность предлагаемого способа в том, что ударная масса, поднятая на рабочую высоту взвода, аккумулирует первую производную от перемещения по времени, которая сразу превращается в динамическую составляющую энергии разгона. Это осуществляется под действием силового, независимого от энергетического приводного потока, импульса, величина которого с углублением инструмента может автоматически увеличиваться в широком диапазоне, значение которого устанавливает машинист. Другая особенность в том, что этот диапазон дополнительно расширен применением аккумулятора положения коромысла. Ударный механизм ДВС с форсируемой энергией и мощностью содержит корпус, внутри которого размещен приводной кривошип, кинематически связанный со снарядом, состоящим из инструмента, ползуна, шатуна, геометрические размеры которых определены по единому алгоритму через эксцентриситет кривошипа, и двух аккумуляторов энергии - механического пружинного и пневматического. Отличительные особенности конструкции в том, что корпус жестко установлен относительно рукояти на его торцевый фланец - опорный, за счет чего система управления осуществлена при изготовлении разностью размеров между максимальным ходом инструмента и высотой его подъема при взводе; а инструмент имеет ступенчатую форму с двумя соосными центрирующими поверхностями, установленными в двух буксах; направляющие корпуса выполнены в виде уголков, внутренние поверхности которых снабжены приваренными накладками и ребром треугольного сечения в выемке, причем полки уголков снабжены продольными вертикальными прорезями с установленными в них Т-образными фланцами, с антифрикционными полосами, при помощи прокладок, нажимной колодки, зафиксированной при помощи болтов с продольными шайбами; нижний торец болванки - сферический, выполненный радиусом, равным длине от середины расстояния между буксами до торца хвостовика инструмента в поджатом состоянии. Изобретение обеспечивает сохранение постоянства удельного давления на поверхности инструмента при его движении в породе, снижение энергоемкости приводного двигателя, усиление надежности механизма и снижение стоимости изготовления и эксплуатации. 2 н. и 4 з.п. ф-лы, 7 ил.

Реферат

Изобретение относится к машинам ударного действия. Способ и механизмы, созданные на его основе, могут применяться для разрушения, дробления и уплотнения различных материалов горной, строительно-дорожной, металлургической и машиностроительной отраслей промышленности. Привод механизма осуществляется двигателем внутреннего сгорания через гидравлическую систему управления и основное его применение - на мобильных машинах типа экскаваторов. Он позволяет автоматически оперативно изменять энергию единичного удара и его мощность по мере заглубления в породу. При этом развиваемые энергия и мощность могут в несколько раз превышать энергию и мощность приводного двигателя.

Имеются способы изменения энергии и адаптации ее к процессу внедрения в объект обработки для энергетических потоков, различных по природе происхождения.

1. Аналогом предлагаемого способа является изменение энергии удара снаряда за счет изменения высоты его разгона с помощью механических лебедок /1, стр.238/. Диапазон изменения энергии удара составляет нескольких сотен кДж, энергия полностью передается объекту обработки, но частота их нанесения незначительная, грузовой канат и лебедка испытывают большую реактивную нагрузку в момент отрыва (начало разгона) снаряда, а оперативность адаптации при заглублении низкая. В предлагаемом способе с увеличением частоты автоматически возрастает энергия единичного удара, при этом в момент разгона реактивные силы полностью отсутствуют.

2. Конструкции кузнечных и свайных молотов с пневматическим энергоносителем /1, стр.239/ допускают возможность оперативного изменения энергии и частоты ударов в широком диапазоне, реактивные силы в точке удара отсутствуют, но они имеют малую энергию удара - до четырех кДж в кузнечных молотах и до 30 кДж - в свайных. В предлагаемом способе передаваемая энергия удара может составлять несколько сотен кДж.

3. Аналогом предлагаемого способа является способ адаптации энергии удара при заглублении свай разных масс, осуществляемый взрывом топлива определенной порции, которая определяется массой заглубляемой сваи /1, стр.242/. Достоинства способа взрывного энергоносителя в большой энергии удара, высоком коэффициенте передачи энергии свае, простоте формирования потока и в возможности всесезонного применения. Недостаток этого способа в том, что управление дозировкой топлива очень трудно обеспечить, большие потери (до 50-60%) энергии при разгоне, малая частота ударов и большие габариты, резко снижающие универсальность применения и маневренность при работе молота. Предлагаемый нами способ не имеет перечисленных недостатков.

4. Аналогом предлагаемых способа и механизма является способ многоступенчатого взвода, разгона, удара снаряда и установка ударного действия для его реализации при разрушении горных пород /2/, в котором скорость снаряда дополнительно увеличивается оптимизацией инерционной силы, создаваемой массой внутренней болванки при изготовлении и величиной ее зазора внутри снаряда, который должен быть равным половине хода снаряда, снабженного подпружиненным инструментом. Недостаток способа и установки состоит в громоздкой системе управления, требующей дополнительную опору рукояти. В предлагаемых способе и механизме применен только конечный выключатель, управляемый датчиком положения на нижнем торце корпуса, а заглубление инструмента происходит за счет изменения его высоты при установке механизма на нижний торец корпуса.

5. Аналогом предлагаемого способа является коробка передач автомобиля /3/, служащая для изменения крутящего момента на рабочем органе. Общее с заявляемым способом - адаптация силового потока двигателя к изменению сопротивления на рабочем органе. Однако это изменение сопротивления осуществлено механической передачей, обладающей значительной массой, требующей большего пространства при установке трансмиссии и не обеспечивающей мгновенного автоматического изменения крутящего момента при повышении нагрузки на рабочем органе. В заявляемом способе механическая трансмиссия выполнена с постоянным передаточным числом и рассчитана только на один пружинный аккумулятор энергии, а вторым аккумулятором осуществлено бесступенчатое регулирование приводного потока.

6. Аналог по а.с. №823566 «Ударный узел» /4/ содержит одинаковые с заявляемым изобретением детали: болванку (ударник), корпус, буксу, цилиндрический инструмент с тангенциальной лыской, который центрируется в буксе, жестко установленной в корпусе. Отличительная особенность в том, что сферический вогнутый конец болванки выполнен с радиусом, равным расстоянию от середины буксы до торца инструмента, радиус которого намного меньше радиуса болванки. Такая конструкция разгружает буксу от поперечных нагрузок при «косом ударе». Отличие предлагаемой конструкции в том, что инструмент имеет ступенчатую форму с двумя соосными центрирующими поверхностями, установленными в двух буксах, жестко запрессованных в нижнем цилиндрическом торце с ребрами бойка (снаряда) и в колпаке, снабженном продольными направляющими, соединенными болтами с ребрами.

7. Известен способ создания ударных импульсов при ударе инструмента в породу, заложенного в конструкции /5/, принятый за прототип, в котором ведущее звено снаряда, выполненного в виде шатунно-ползунного механизма, совершает качательное движение за счет приводного кривошипного вала в пределах 2π при угле раскрытия φ=π за один его оборот. Привод кривошипного вала осуществлен энергетическим вращающимся гидравлическим потоком насоса, который создается вращающимся энергопотоком ДВС базовой машины. Этим же гидравлическим потоком создаются линейные потоки для системы управления поступательным движением поршней гидродвигателей, связанных с различными узлами базовой машины, в том числе и с корпусом механизма, выполненным подвижным относительно опорного шипа рукояти и имеющим возможность линейного перемещения при каждом ударе в момент разгона на величину, равную необходимому заглублению снаряда в породу. При этом разгон снаряда при каждом ударе осуществлен в строго фиксированной мертвой точке коромысла при φ=90° за счет косого среза кривошипа под углом 15° к линии ориентации коромысла кривошипа. Этот способ в сравнении с аналогами имеет следующие преимущества:

1. Механически создаются значительно большие усилия ударных импульсов, чем усилия от взрыва в ДВС за счет того, что длина приводного кривошипа на порядок превышает эксцентриситет коленчатого вала.

2. Стабильно, просто и надежно регулируется величина энергетического потока силового импульса пружины, механически разгоняющего ведущее звено, коромысло механизма.

3. Простота конструкции, отсутствие узлов и деталей, требующих прецизионной обработки или работающих под давлением и требующих уплотнений, благодаря полному разделению приводного и разгоняющего ударную массу энергетических потоков. Но, вместе с тем, он не лишен следующих недостатков:

1. При заглублении инструмента механизма в породу его контактная наружная поверхность увеличивается, и удельное давление на единицу площади уменьшается, так как величина ударной энергии остается практически постоянной при каждом ударе. Скорость заглубления постепенно снижается и прекращается.

2. Способ прототипа создает фиксированную точку отсчета момента перехода коромысла от взвода к разгону в строго вертикальном положении при φ=90° при угле его ориентации относительно кривошипа α=45°. Усилие приводного энергетического потока для взвода ударной массы при φ=0° имеет максимальное значение, а при φ=90° оно равно нулю. А усилие сжатия пружины в этом же диапазоне качания изменяется от минимального значения при φ=0° до максимального при φ=90°. Увеличение усилия сжатия пружины аккумулятора увеличивает удельное давление на поверхности кривошипа и обоймы коромысла именно в этот момент, повышая энергетический поток приводного двигателя. В конструкции механизма имеются потенциальные возможности для снижения приводного энергетического потока в этот момент, но они не использованы.

3. Конструкция пружинного аккумулятора ограничивает дальнейшего увеличения его энергию, так как увеличиваются размеры и масса механизма, а величина деформации остается такая же, равная дуге качания коромысла.

4. Система управления механизма сложная, так как содержит много деталей, требует физических напряжений машиниста, из-за чего снижается надежность механизма в целом.

1. Способ создания адаптированного удара при заглублении инструмента в породу в ударном механизме, включающем корпус, приводной вал с кривошипом, снаряд, состоящий из инструмента, ползуна, шатуна, коромысла и обоймы, пружинного аккумулятора энергии, связывающего коромысло с корпусом, при этом линия ориентации вращающегося под действием гидравлического потока двигателя, приводимого ДВС, кривошипа относительно коромысла, образует с горизонтом угол α=45° и сжимает пружину, создавая энергетический поток аккумулятора энергии, величина которого определяет энергию единичного удара снаряда, с целью сохранения постоянства удельного давления на поверхности инструмента при его движении в породе, энергию единичного удара изменяют согласно алгоритму, изложенному в NO HAW №1: «автоматическим изменением энергетического потока (частоты вращения коленчатого вала) приводного двигателя базовой машины в зависимости от изменения энергии аккумулятора коромысла, которую формируют двумя потоками, первым - постоянным, соответствующим балансной энергии единичного удара, которая всегда создается при минимальной частоте вращения коленчатого вала ДВС, и вторым - переменным, за счет увеличения которого автоматически возрастает частота вращения коленчатого вала ДВС в пределах до максимального паспортного значения, причем при каждом удваивании энергии аккумулятора частота вала ДВС должна быть кратно увеличена в пределах 20-22%».

2. С целью снижения энергоемкости приводного двигателя в момент перехода от взвода к разгону, в верхней мертвой точке коромысла, первый энергетический поток аккумулятора коромысла создают согласно алгоритму, изложенному в NO HAW №2: «при фиксированном повороте на угол Δα в пределах до 15° по часовой стрелке контура ориентации, имеющего вид прямоугольного равнобедренного треугольника с гипотенузой «с», являющейся линией ориентации коромысла относительно кривошипа и имеющей размер тройного его эксцентриситета с=3е, а вершина катетов, размером а=2,126е, является неподвижным центром этого поворота, позволяющим снизить усилие ДВС при подъеме коромысла в верхнее положение за счет использования составляющих от усилия первого аккумулятора и от силы тяжести снаряда, то есть за счет использования аккумулятора положения коромысла».

3. Ударный механизм с форсируемой энергией и мощностью удара при заглублении инструмента в породу для реализации этого способа по п.1, включающий корпус, в котором размещен приводной вал с закрепленным на нем кривошипом, кинематически связанным со снарядом, состоящим из ползуна, внутри которого установлена подпружиненная болванка над инструментом, шатуна, коромысла, обоймы, гидроцилиндра со штоком и пружиной, установленной в цилиндрическом корпусе, имеющим упоры для пружины, на цилиндрическом корпусе приварены две цапфы, с помощью которых он шарнирно соединен с корпусом, при этом верхний конец коромысла соединен с шатуном, связанным шарнирно с ползуном, а нижний конец имеет вилкообразную форму из двух параллельных щек, которые в нижней части через две оси шарнирно соединены с боковыми сторонами корпуса, а в середине вилки установлена ось, на которой шарнирно установлена обойма, а с наружной стороны коромысла установлены две щеки вилки, жестко соединенные со штоком, сжимающим пружину аккумулятора энергии с помощью упоров, при этом кривошип выполнен с выемкой в виде косого среза под углом 15° к линии ориентации кривошипа относительно коромысла, которая образует с горизонтом угол α=45°, а геометрические размеры кривошипа и коромысла определены через эксцентриситет кривошипа е и имеют следующие зависимости: хорда траектории качания средней оси коромысла (или рабочей деформации пружины) S=ΔХ=2е, опорное плечо коромысла I1=1,414e. Длина коромысла Iк=I1·u=1,414е·u, где u - заданная кратность коромысла, u=Iк/I1, радиус кривошипа Rкр=1,414е, длина шатуна Iш=1,414·Iк, с целью автоматического повышения энергии единичного удара, первый основной аккумулятор энергии коромысла дополнен вторым пневматическим, не связанным с основным и установленным согласно NO HAW №3: «шарнирно относительно корпуса по центру средней оси коромысла (обоймы) таким образом, чтобы ход его штока составлял половину хорды траектории качания средней оси коромысла, и снабженного тремя штуцерами для соединения: с ресивером тормозного цилиндра базовой машины или с баллоном сжатого инертного газа высокого давления через пневматический редуктор, установленный в кабине машиниста; с пневматическим цилиндром одностороннего действия, шток которого жестко соединен с пружинкой рычажной системы регулировки газа ДВС; с атмосферой, снабженного краном, установленным также в кабине машиниста».

4. С целью усиления надежности механизма за счет упрощения системы управления инструментом и его конструкции при его заглублении в породу корпус механизма жестко соединен с рукоятью базовой машины (по паспортной схеме крепления ковша и других навесных приспособлений), нижний фланец которого является опорным, а инструмент имеет ступенчатую форму с двумя соосными центрирующими поверхностями, установленными в двух буксах, жестко запрессованных в нижнем цилиндрическом торце с ребрами бойка (снаряда) и в колпаке, снабженном продольными направляющими, соединенными болтами с ребрами.

5. С целью снижения стоимости молота и создания условий его ремонтопригодности при эксплуатации направляющие корпуса механизма выполнены в виде уголков, внутренние поверхности которых снабжены приваренными накладками и ребром треугольного сечения в выемке, причем полки уголков снабжены продольными вертикальными прорезями с установленными в них Т-образными фланцами, с антифрикционным полосами, при помощи прокладок, нажимной колодки, зафиксированной при помощи болтов с продольными шайбами.

6. С целью ликвидации поперечных составляющих, возникающих при заглублении инструмента от «косых» ударов, нижний торец болванки сферический, выполненный радиусом, равным длине от середины расстояния между буксами до торца хвостовика инструмента в поджатом состоянии.

Далее мы хотели бы несколько подробнее и глубже раскрыть преимущества предлагаемого способа и механизма в целом, которые изложены в NO HAW №4: «В предлагаемой конструкции адаптация осуществлена путем значительного увеличения энергии единичного удара в период цикла одного заглубления инструмента в породу. Обычно в машинах ударного действия при увеличении одного из главных факторов удара - его частоты или энергии, другой уменьшается. В предлагаемом изобретении при увеличении частоты оборотов коленчатого вала приводного двигателя одновременно возрастают и энергия, и частота удара. Начальные базовые значения этих величин определяются балансной энергией единичного удара, которая равна энергии, затраченной приводом при взводе. Для этого режима рассчитана механическая трансмиссия, передаточное отношение которой всегда постоянно, и она реализует этот режим при минимальных энергетических затратах приводного двигателя, то есть при минимальных оборотах коленчатого вала. И предназначена эта трансмиссия только для пружинного аккумулятора. А форсирующие значения этих величин осуществляются при включении пневматического аккумулятора, трансмиссия которого не содержит механических узлов (типа коробок передач, вариаторов, редукторов и других узлов) и энергетические затраты для его зарядки реализуются увеличением расхода топлива ДВС, они непостоянны и должны быть мгновенно реализованы. Например, если для реализации балансной энергии 15 кДж требуется пружина аккумулятора с энергией 1,5 кДж, а для форсирования энергии удара в два раза, то есть до 30 кДж, требуется повысить энергию аккумулятора до 3 кДж. Поэтому требуется запас приводной мощности для реализации форсирования эффективности удара. Увеличение оборотов коленчатого вала двигателя осуществлено за счет большей подачи топлива в камеру сгорания двигателя по его стандартной схеме, только регулирование ее дозы производится автоматическим изменением рабочего давления во втором, пневматическом аккумуляторе в необходимые моменты форсирования энергии. Такая схема трансмиссии сокращает ее вес, повышает оперативность и эффективность управления, удешевляет изготовление и эксплуатацию, продлевает срок службы инструмента и деталей, непосредственно связанных с ударом. В этом одно из отличий нашего изобретения от аналогов и прототипа. Необходимо также отметить, что пневматический аккумулятор базовой машины только поддерживает начальное давление во втором рабочем аккумуляторе, поэтому его энергетические затраты незначительны. Машинист, в процессе ударного цикла, устанавливает только начальное давление в цилиндре второго аккумулятора и избавлен от необходимости регулировки величины подачи инструмента при каждом ударе.

Мы хотели бы несколько шире пояснить термин «контур ориентации коромысла относительно кривошипа» и его техническую суть. С его помощью обеспечивается постоянство мгновенного передаточного отношения при силовом замыкании между звеньями (кривошипом и коромыслом), которое происходит циклически продолжительностью в половину оборота за оборот. Он имеет вид, изображенный на фиг.3, в котором основной элемент - прямоугольный равнобедренный треугольник ΔШ1Ш7В всегда, при любых изменениях линии ориентации ОШ7, являющейся его гипотенузой Ш1Ш7, поворачивается вокруг неподвижного центра «В». Нарушение изменений положения звеньев приводит к неработоспособности всего механизма. Аналогом этого являются зубчатые передачи, обеспечивающие постоянство мгновенного передаточного отношения за счет нарезания зубьев колеса шестерни инструментом на основе исходного контура по ГОСТ 13755-81. /5, стр.159-161/. Несоблюдение требований стандарта может привести, например, к подрезанию ножки зуба, изменению межцентрового расстояния и другим дефектам, приводящим передачу в неработоспособное состояние. Разница только в том, что силовое «замыкание» и движение между звеньями в течение оборота происходит непрерывно последовательно за счет зацепления зубьев. Теоретически обоснованный поворот контура ориентации на угол Δα в пределах до 15° по часовой стрелке позволяет использовать дополнительные силы, действующие на шток пневматического цилиндра, в самом напряженном положении его поршня при наибольшем рабочем давлении. Эти силы создаются составляющими от силы тяжести снаряда и силы сжатия пружинного аккумулятора, которые наглядно изображены на Фиг.3. В данном случае используется аккумулятор положения ведущего звена - коромысла. Он позволяет снизить приводную энергию ДВС.

Хотелось отметить, что вопрос взаимодействия снаряда (бойка) с направляющим его корпусом имеет очень большое значение. В подавляющем большинстве отечественных и зарубежных конструкций посадка бойка прецизионная, осуществляемая индивидуальной притиркой их друг к другу. Из-за этого эти конструкции имеют высокую стоимость и не подлежат ремонту в процессе эксплуатации. В предлагаемой конструкции это взаимодействие осуществлено чрезвычайно просто, надежно и позволяет увеличить сроки службы молота в течение десятков лет.

Обобщая глубже, раскроем достоинства предложенного способа и механизма.

1. Сохранение постоянства удельного давления на поверхности инструмента при его движении в породе путем изменения энергопотока ДВС в зависимости от энергии аккумулятора коромысла.

2. Снижение энергоемкости приводного двигателя за счет применения аккумулятора положения.

3. Усиление надежности механизма и снижение стоимости изготовления и эксплуатации за счет упрощения системы управления инструментом и его конструкции, а также изменение конструкции направляющих и узла уплотнения их со снарядом.

Эти достоинства не имеют аналогов по техническим, экономическим признакам и приводят к достижению вышепоставленных целей и позволяют сделать вывод, что предложенное техническое решение соответствует критерию «Существенные отличия», которые в совокупности составляют его изобретательский уровень.

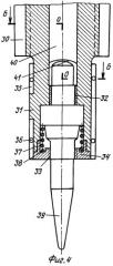
Предлагаемые нами способ и механизм поясняются следующими чертежами: фиг.1 - фронтальная проекция экскаватора с установленным ударным механизмом перед началом работы, фиг.2 - вид механизма по сечению А-А на фиг.1, фиг.3 - схема взвода коромысла прототипа и совмещенная с ней силовая схема предлагаемого механизма с взаимной связью всех узлов механизма, фиг.4 - нижняя часть снаряда с деталями крепления рабочего инструмента, фиг.5 - поперечный разрез по БООБ на фиг.4, на фиг.6 - фрагмент узла уплотнения направляющей корпуса, фиг.7 показывает верхние концы прокладок, регулирующих зазор между снарядом и корпусом.

Ударный механизм состоит из корпуса 1, соединенного при помощи пальцев 2 базовой машины с ее рукоятью 3, включающего две щеки 4, с жестко соединенными направляющими уголками 5, внутренние поверхности которых снабжены приваренными накладками 6 и ребром треугольного сечения 7 в выемке, причем полки уголков снабжены продольными вертикальными прорезями с установленными в них Т-образными фланцами 9, с антифрикционными полосами 10, при помощи прокладок 11, нажимной колодки 12, зафиксированной при помощи болтов 13 с шайбами 14. В верхней части корпуса установлен приводной кривошип 15, соединенный с помощью трансмиссии 16 с гидравлическим двигателем 17, связанным с насосом базовой машины трубопроводом 18, а также и опорный конец коромысла 19 с помощью пальцев 20, а в средней его части с помощью пальцев 21 шарнирно установлена обойма 22 с антифрикционной накладкой 23 и шток 24 пружинного аккумулятора энергии 25. С верхним концом коромысла с помощью пальца 26 соединен с шатуном 27, нижний конец которого шарнирно через палец 28 соединен с пустотелым ползуном 29, верхняя часть которого прямоугольной формы с V-образными продольными пазами 30, а нижняя часть - снаружи цилиндрической формы с монолитно соединенными ребрами 31, а внутренняя полость имеет ступенчатую форму, состоящую из трех концентрически расположенных проточек: нижняя с наибольшим посадочным диаметром и высотой, равной предварительному поджатию пружины, средняя с меньшим диаметром свободного размера, и верхняя проточка, в которой запрессована направляющая букса 32, внутренний посадочный диаметр которой обработан с одной установки с аналогичной, но меньшей по высоте буксой 33, запрессованной в колпаке 34, имеющем снаружи многоугольную форму и вертикальные направляющие 35 с отверстиями под болты 36, а с внутренней - цилиндрический бурт 37, наружный диаметр которого - посадочный. Внутри полости устанавливается пружина 38, инструмент 39, а с другой конца установлена болванка 40, имеющая сферический конец 41, соприкасающийся со сферическим концом инструмента 39. Снаружи корпуса 1 шарнирно с помощью пальцев 42 установлен пневматический цилиндр 43, шток 44 которого в исходном положении выходит за пределы цилиндра, а глухой торец которого снабжен: штуцером 45 для подвода сжатого воздуха от редуктора 46 через трубопровод 47; штуцером 48 для соединения с вентилем 49 для сброса давления через трубопровод 50; штуцер 51 для соединения через трубопроводом с цилиндром 53, изменение давления в котором изменяет усилие пружинки 54, воздействующей на педаль газа 55, находящейся в кабине 56 машиниста экскаватора. При этом сжатый воздух подается от ресивера 57 пневматической системы экскаватора (или от баллона высокого давления сжатого инертного газа) через трубопровод 58, под давлением не более 6 кгс/см2. Регулировка и контроль давления осуществляется по манометру 59.

Работает представленный механизм следующим образом. Экскаватор 57 подъезжает к месту работы и машинист с помощью гидравлических цилиндров стрелы и рукояти устанавливает рукоять 3 нормально к обрабатываемой поверхности горной породы на нижний торец корпуса 1, затем включает приводной двигатель 17, с помощью которого через трансмиссию 16 начинает вращаться кривошип 15. Он поднимает через обойму 22 коромысло 19, которое через шарнирный палец 26 поднимает шатун, шарнирно соединенный с пустотелым ползуном 29, перемещающимся в направляющих 5 корпуса 1. В верхней мертвой точке происходит разрыв кинематической связи привода и снаряда, который под действием энергии аккумулятора 25, двигаясь по направляющим 5, наносит инструментом первый основной удар по объекту обработки. При этом усилие удара передается ползуну через кольцевую поверхность ступенчатого бурта и через несколько десятитысячных долей секунды наносится второй удар болванкой 40 по торцевой поверхности инструмента 39, за счет которого инструмент получает дополнительное заглубление, сжимая пружину 38. По мере заглубления инструмента увеличивается площадь его контакта с породой и проникновение уменьшается. Машинист может с помощью редуктора 46 увеличить начальное давление в пневматическом цилиндре 43, установив его любое значение в пределах до 6 кг/см2. После установки начального значения давления шток поршня 44, перемещаясь под действием коромысла 19, сжимает воздух в цилиндре пропорционально степени сжатия, равной отношению объемов начального и конечного. Поэтому в верхней мертвой точке усилие толкания коромысла увеличится пропорционально степени сжатия и площади поперечного сечения цилиндра. Одновременно автоматически увеличивается давления в цилиндре 53 и повышается усилие на его штоке, который сжимает пружинку 54 педали 55 газа. Увеличивается энергия ударов и частота их нанесения. Удельная энергия на контактной поверхности инструмента возрастает, и он может проникать в породу на полную величину заглубления. После этого машинист переставляет рукоять 3 на новое место работы и процесс повторяется.

NO HAW изобретения «Способ создания адаптированного удара при заглублении инструмента в породу и ударный механизм ДВС с форсируемой энергией и мощностью»

NO HAW №1: автоматическим изменением энергетического потока (частоты вращения коленчатого вала) приводного двигателя базовой машины в зависимости от изменения энергии аккумулятора коромысла, которую формируют двумя потоками, первым - постоянным, соответствующим балансной энергии единичного удара, которая всегда создается при минимальной частоте вращения коленчатого вала ДВС, и вторым - переменным, за счет увеличения которого автоматически возрастает частота вращения коленчатого вала ДВС в пределах до максимального паспортного значения, причем при каждом удваивании энергии аккумулятора частота вала ДВС должна быть кратно увеличена в пределах 20-22%.

NO HAW №2: при фиксированном повороте на угол Δα в пределах до 15° по часовой стрелке контура ориентации, имеющего вид прямоугольного равнобедренного треугольника с гипотенузой «с», являющейся линией ориентации коромысла относительно кривошипа и имеющей размер тройного его эксцентриситета с=3е, вершина катетов, размером а=2,126е, является неподвижным центром этого поворота, позволяющим снизить усилие ДВС при подъеме коромысла в верхнее положение за счет использования составляющих от усилия первого аккумулятора и от силы тяжести снаряда, то есть за счет использования аккумулятора положения коромысла.

NO HAW №3: «шарнирно относительно корпуса по центру средней оси коромысла (обоймы) таким образом, чтобы ход его штока составлял половину хорды траектории качания средней оси коромысла, и снабженного тремя штуцерами для соединения: с ресивером тормозного цилиндра базовой машины или с баллоном сжатого инертного газа высокого давления через пневматический редуктор, установленный в кабине машиниста; с пневматическим цилиндром одностороннего действия, шток которого жестко соединен с пружинкой рычажной системы регулировки газа ДВС; с атмосферой, снабженным краном, установленным также в кабине машиниста».

NO HAW №4: «В предлагаемой конструкции адаптация осуществлена путем значительного увеличения энергии единичного удара в период цикла одного заглубления инструмента в породу. Обычно в машинах ударного действия при увеличении одного из главных факторов удара - его частоты или энергии, другой уменьшается. В предлагаемом изобретении при увеличении частоты оборотов коленчатого вала приводного двигателя одновременно возрастают и энергия, и частота удара. Начальные базовые значения этих величин определяются балансной энергией единичного удара, которая равна энергии, затраченной приводом при взводе. Для этого режима рассчитана механическая трансмиссия, передаточное отношение которой всегда постоянно, и она реализует этот режим при минимальных энергетических затратах приводного двигателя, то есть при минимальных оборотах коленчатого вала. И предназначена эта трансмиссия только для пружинного аккумулятора. А форсирующие значения этих величин осуществляются при включении пневматического аккумулятора, трансмиссия которого не содержит механических узлов (типа коробок передач, вариаторов, редукторов и других узлов) и энергетические затраты для его зарядки реализуются увеличением расхода топлива ДВС, они непостоянны и должны быть мгновенно реализованы. Например, если для реализации балансной энергии 15 кДж требуется пружина аккумулятора с энергией 1,5 кДж, а для форсирования энергии удара в два раза, то есть до 30 кДж, требуется повысить энергию аккумулятора до 3 кДж. Поэтому требуется запас приводной мощности для реализации форсирования эффективности удара. Увеличение оборотов коленчатого вала двигателя осуществлено за счет большей подачи топлива в камеру сгорания двигателя по его стандартной схеме, только регулирование ее дозы производится автоматическим изменением рабочего давления во втором, пневматическом аккумуляторе в необходимые моменты форсирования энергии. Такая схема трансмиссии сокращает ее вес, повышает оперативность и эффективность управления, удешевляет изготовление и эксплуатацию, продлевает срок службы инструмента и деталей, непосредственно связанных с ударом. В этом одно из отличий нашего изобретения от аналогов и прототипа. Необходимо также отметить, что пневматический аккумулятор базовой машины только поддерживает начальное давление во втором рабочем аккумуляторе, поэтому его энергетические затраты незначительны. Машинист, в процессе ударного цикла, устанавливает только начальное давление в цилиндре второго аккумулятора и избавлен от необходимости регулировки величины подачи инструмента при каждом ударе.

ЛИТЕРАТУРА

1. В.П.Сергеев. «Строительные машины и оборудование». М.: Высшая школа, 1987 г.

2. А.В.Мельников. «Способ многоступенчатого взвода, разгона, удара снаряда и установка ударного действия для его реализации при разрушении горных пород», патент на изобретение RU №2327527 С2, опубликован 27.05.2008 г., бюл. №15, по заявке №2006100241/03, 10.01.2006, начало отсчета срока действия патента 10.01.2006 г.

3. В.А.Родичев, Г.И.Родичева. «Тракторы и автомобили». М.: Высшая школа, 1982 г., 320 с.

4. В.А.Щербаков, Л.Л.Лысенко, М.А.Волков. «Ударный узел». Авторское свидетельство SU №823566 от 16.10.1975 г.

5. А.В.Мельников. «Ударный механизм». Патент RU №2343280 С2 опубликован 10.01.2009 г., бюл. №1, по заявке №2006139991/03, 13.11.2006, начало отсчета срока действия патента 13.11.2006 г., прототип.

1. Способ создания адаптированного удара при заглублении инструмента в породу в ударном механизме, включающем корпус, приводной вал с кривошипом, снаряд, состоящий из инструмента, ползуна, шатуна, коромысла и обоймы, пружинного аккумулятора энергии, связывающего коромысло с корпусом, при этом линия ориентации вращающегося под действием гидравлического потока двигателя, приводимого ДВС, кривошипа относительно коромысла образует с горизонтом угол α=45° и сжимает пружину, создавая энергетический поток аккумулятора энергии, величина которого определяет энергию единичного удара снаряда, отличающийся тем, что энергию единичного удара изменяют автоматическим регулированием энергетического потока (частотой вращения коленчатого вала) приводного двигателя базовой машины в зависимости от изменения энергии аккумулятора коромысла, которую формируют двумя потоками, первым - постоянным, соответствующим балансной энергии единичного удара, которая всегда создается при минимальной частоте вращения коленчатого вала ДВС, и вторым - переменным, за счет увеличения которого автоматически возрастает частота вращения коленчатого вала ДВС в пределах до максимального паспортного значения, причем при каждом удваивании энергии аккумулятора частота вала ДВС должна быть кратно увеличена в пределах 20-22%.

2. Способ по п.1, отличающийся тем, что энергетический поток аккумулятора коромысла создают при фиксированном повороте на угол Δα в пределах до 15° по часовой стрелке контура ориентации, имеющего вид прямоугольного равнобедренного треугольника с гипотенузой «с», являющейся линией ориентации коромысла относительно кривошипа и имеющей размер тройного его эксцентриситета с=3е, а вершина катетов размером а=2,126е является неподвижным центром этого поворота, позволяющим снизить усилие ДВС при подъеме коромысла в верхнее положение за счет использования составляющих от усилия первого аккумулятора и от силы тяжести снаряда, то есть за счет использования аккумулятора положения коромысла.

3. Ударный механизм с форсируемой энергией и мощностью удара при заглублении инструмента в породу для реализации этого способа по п.1, включающий корпус, в котором размещен приводной вал с закрепленным на нем кривошипом, кинематически связанным со снарядом, состоящим из ползуна, внутри которого установлена подпружиненная болванка над инструментом, шатуна, коромысла, обоймы, гидроцилиндра со штоком и пружиной, установленной в цилиндрическом корпусе, имеющем упоры для пружины, на цилиндрическом корпусе приварены две цапфы, с помощью которых он шарнирно соединен с корпусом, при этом верхний конец коромысла соединен с шатуном, связанным шарнирно с ползуном, а нижний конец имеет вилкообразную форму из двух параллельных щек, которые в нижней части через две оси шарнирно соединены с боковыми сторонами корпуса, а в середине вилки установлена ось, на которой шарнирно установлена обойма, а с наружной стороны коромысла установлены две щеки вилки, жестко соединенные со штоком, сжимающим пружину аккумулятора энергии с помощью упоров, при этом кривошип выполнен с выемкой в виде косого среза под углом 15° к линии ориентации кривошипа относительно коромысла, которая образует с горизонтом угол α=45°, а геометрические размеры кривошипа и коромысла определены через эксцентриситет кривошипа е и имеют следующие зависимости: хорда траектории качания средней оси коромысла (или рабочей деформации пружины) S=ΔX=2e, опорное плечо коромысла l1=1,414e, длина коромысла lк=l1·u=1,414е·u, где u - заданная кратность коромысла, u=lк/l1, радиус кривошипа Rкр.=1,414е, длина шатуна lш=1/414·lк, отличающийся тем, что первый основной аккумулятор энергии коромысла дополнен вторым, пневматическим, не связанным с основным и установленным шарнирно относительно корпуса по центру средней оси коромысла (обоймы) таким образом, чтобы ход его штока составлял половину хорды траектории качания средней оси коромысла, и снабженного тремя штуцерами для соединения: с ресивером тормозного цилиндра базовой машины или с баллоном сжатого инертного газа высокого давления через пневматический редуктор, установленный в кабине машиниста; с пневматическим цилиндром одностороннего действия, шток которого жестко соединен с пружинкой рычажной системы регулировки газа ДВС; с атмосферой, снабженного краном, установленным также в кабине машиниста.

4. Ударный механизм по п.3, отличающийся тем, что корпус механизма жестко соединен с рукоятью базовой маши