Бордюрная доска для лесов и способ изготовления бордюрной доски
Иллюстрации
Показать всеИзобретение относится к строительству, а именно к бордюрной доске для лесов для бокового ограничения проходных и/или рабочих поверхностей настилов лесов. Бордюрная доска для лесов для бокового ограничения проходных и/или рабочих поверхностей настилов лесов содержит продольно протяженный в длину досочный блок, который образован из полого профиля из стали, который на своих противоположных в продольном направлении торцевых концах закрыт с помощью концевого наконечника и который имеет выступающий в продольном направлении за свой соответствующий торцевой конец, состоящий из листовой стали накладной узел. Концевой наконечник содержит выступающую за торцевые концы полого профиля и перекрывающую его торцевые края, состоящую по существу из пластмассы закрывающую часть, а также соединенное с закрывающей частью крепежное тело, которое вставляется в полый профиль и неподвижно соединяется с ним и/или с накладным узлом с помощью крепежного средства. Накладной узел содержит вставленную в полый профиль крепежную часть, которая с помощью крепежного средства неподвижно соединена с полым профилем. Кроме того, изобретение относится к способу изготовления бордюрной доски. Технический результат: увеличение срока службы, снижение опасности пожара по сравнению с бордюрными досками из дерева, экономичность и простота в изготовлении. 4 н. и 48 з.п. ф-лы, 40 ил.
Реферат
Изобретение относится к бордюрной доске для лесов для бокового ограничения проходных и/или рабочих поверхностей настилов лесов или соответственно покрытий лесов, содержащей продольно протяженный досочный блок, который образован с или из полого профиля из стали, в частности из оцинкованного стального листа, который на своих противоположных в продольном направлении торцевых концах закрыт с помощью закрывающего средства и имеет выступающий в продольном направлении за свой соответствующий торцевой конец, состоящий из металла, предпочтительно из стали, в частности из листовой стали, накладной узел для создания соединения с лесами и/или с соседней бордюрной доской.
Бордюрные доски предусматриваются на краях настилов лесов для предотвращения бокового соскальзывания персонала и/или падения предметов. Они имеют досочное тело, которое до настоящего времени в большинстве случаев состоит из сплошного материала, а именно из дерева, пластмассы или алюминия. На их продольных торцевых концах закреплены с помощью заклепок или винтов накладки из стали или алюминия, предпочтительно из плоского материала, которые служат для создания соединения с лесами и/или с соседней бордюрной доской. Такие бордюрные доски известны, например, из DE 1960069 U, DE 3702127 A1, DE 3813513 A1, DE 20202659 A1 и DE 29506672 U1.
Из DE 29501982 U1 известна бордюрная доска из стали, которая состоит из штампованных стальных панелей со сквозными отверстиями или из катаных стальных панелей с гофрами, которые обрублены на своих концах и закрыты полосовой сталью (стальной полосой). К полосовой стали приварены U-образные удерживающие скобы, с помощью которых стальные бордюрные доски можно закреплять на вертикальных стойках лесов. С помощью таких стальных бордюрных досок достигается по сравнению с бордюрными досками из дерева или алюминия более длительный срок службы, поскольку они способны надежно выдерживать также возникающие в суровых практических условиях нагрузки, которые могут возникать, в частности, при транспортировке и при манипулировании бордюрными досками, в частности при бросании, падении и/или при возможном наступании на них в ходе монтажа или демонтажа.
Так же как в случае бордюрных досок из алюминия, при применении бордюрных досок из стали можно минимизировать опасность пожара по сравнению с бордюрными досками из дерева. Однако стальные бордюрные доски можно изготавливать намного экономичнее по сравнению с дорогими относительно материала и изготовления алюминиевыми бордюрными досками. С целью защиты их поверхности они обычно покрываются цинком.
Однако известные из уровня техники стальные бордюрные доски все еще сравнительно сложны в изготовлении, и ручное манипулирование ими связано со значительной опасностью ранения из-за острых заусенцев в краевой зоне.
Поэтому задачей изобретения является создание бордюрной доски для (строительных) лесов с досочным блоком из стали и способа изготовления бордюрной доски, с помощью которых предотвращаются указанные выше недостатки.
Эта задача решена с помощью бордюрной доски с признаками пункта 1 формулы изобретения и с помощью способа изготовления бордюрной доски в соответствии с пунктами 47, 50 и 51 формулы изобретения.
За счет того что полый профиль досочного блока на своих торцевых концах закрыт соответствующим концевым наконечником, который имеет выступающую за торцевые концы полого профиля и перекрывающую его торцевые края, предпочтительно состоящую по существу или предпочтительно полностью из пластмассы или соответственно алюминия закрывающую часть, можно минимизировать опасность ранения при манипулировании. За счет того что концевой наконечник имеет соединенное в виде одной части или нескольких частей с его закрывающей частью крепежное тело, которое вставляется в полый профиль досочного блока и неподвижно соединяется с ним и/или с накладным узлом с помощью крепежных средств, обеспечивается простой и экономичный монтаж, а также надежное соединение с досочным блоком. За счет того что накладной узел имеет вставленную в полый профиль, предпочтительно также в выемку, в частности в прорезь концевого наконечника, крепежную часть, которая с помощью крепежных средств неподвижно соединена с полым профилем, обеспечивается также особенно предпочтительный монтаж в соединении с экономичными технологиями соединения, а также надежное соединение образующих бордюрную доску частей с дополнительным уменьшением опасности ранения.
Особенно предпочтительно, когда крепежная часть накладного узла является выемкой, в частности прорезью, которая с прохождением через концевой наконечник вставляется в полый профиль. За счет этого можно дополнительно уменьшать опасность ранения при манипулировании.
В одной особенно предпочтительной модификации может быть предусмотрено, что ограничивающие выемку или прорезь части стенки концевого наконечника по существу по всему периметру или по всему периметру окружают крепежную часть накладного узла. За счет этого можно не только дополнительно уменьшать опасность ранения из-за острых зон торцевых краев, но также обеспечивать предпочтительные возможности монтажа и фиксации накладной части на концевом наконечнике.
В предпочтительной модификации может быть предусмотрено, что крепежное тело также предпочтительно по существу или предпочтительно полностью состоит из пластмассы или соответственно алюминия и предпочтительно соединено за одно целое с закрывающей частью. Это обеспечивает возможность особенно экономичного изготовления концевого наконечника.
Когда закрывающая часть, предпочтительно также крепежное тело, образовано или образованы по существу или полностью с помощью или из термопластичной пластмассы, то эти конструктивные элементы можно еще экономичней изготавливать, в частности, способом литья под давлением.
Хотя концевой наконечник и/или крепежное тело предпочтительно могут быть выполнены из уже надежно выдерживающей практические напряжения и нагрузки пластмассы, может быть также предусмотрено, что концевой наконечник и/или крепежное тело состоят по существу или полностью из наполненной наполнителями и/или армированной усилительными материалами, предпочтительно усилительными волокнами, в частности стекловолокном пластмассы.
В предпочтительной модификации может быть предусмотрено, что накладной узел и/или концевой наконечник соединены с образованием геометрического замыкания или соответственно с геометрическим замыканием с полым профилем. За счет этого обеспечивается особенно стабильное и надежное соединение подлежащих соединению конструктивных элементов, а следовательно, бордюрная доска, в особой степени отвечающая требованиям практики и нагрузки. В качестве альтернативного решения или дополнительно для этой цели может быть предусмотрено, что накладной узел и концевой наконечник соединены друг с другом с помощью соединения с геометрическим замыканием.
Указанные выше преимущества можно дополнительно улучшить, когда накладной узел и/или концевой наконечник закреплены на полом профиле досочного блока исключительно с помощью механических крепежных средств, без сварки.
Еще более стабильное и надежное соединение подлежащих соединению конструктивных элементов, а следовательно, еще больше отвечающая практическим требованиям и нагрузкам бордюрная доска, обеспечивается, когда накладной узел и/или концевой наконечник закреплены на полом профиле досочного блока с помощью заклепок, предпочтительно с помощью пустотелых заклепок. За счет этого можно создавать бордюрную доску с особенно высокой несущей способностью.
Предпочтительно накладной узел и/или концевой наконечник закреплены на полом профиле досочного блока с помощью максимально или соответственно точно двух заклепок, предпочтительно с помощью максимально или соответственно точно двух пустотелых заклепок.
В качестве альтернативного решения может быть предусмотрено, что накладная часть и/или концевой наконечник закреплены на полом профиле досочного блока без сварки и без отдельных механических крепежных средств, таких как заклепки или винты. За счет этого можно отказаться от отдельных соединительных материалов или крепежных элементов, вследствие чего обеспечивается возможность особенно экономичного изготовления.
Кроме того, в особенно предпочтительном варианте выполнения может быть предусмотрено, что соединение с геометрическим замыканием достигается с помощью вызывающего местную деформацию части стенки полого профиля процесса прессования.
Согласно одной особенно предпочтительной модификации может быть предусмотрено, что соединение с геометрическим замыканием осуществляется с помощью обжимания или соответственно вдавливания краевой зоны предусмотренного в части стенки полого профиля отверстия предпочтительно с помощью пресса в выемку, предпочтительно в сквозное отверстие, крепежной части накладного узла и/или крепежного тела концевого наконечника. Эти меры обеспечивают возможность особенно экономичного изготовления бордюрной доски при дополнительно улучшенной жесткости, а также при дополнительно уменьшенном весе.
В особенно предпочтительном варианте выполнения может быть предусмотрено, что крепежная часть накладного узла и/или крепежное тело концевого наконечника имеет, по меньшей мере, одну проходящую поперек части стенки полого профиля и открытую к этой части стенки выемку, предпочтительно сквозное отверстие, при этом край выемки или соответственно край отверстия охватывается сзади соединенным или соответственно выполненным за одно целое с частью стенки полого профиля и выступающим внутрь, предпочтительно обжатым краем отверстия полого профиля.
В другом предпочтительном варианте выполнения может быть предусмотрено, что накладной узел и концевой наконечник перед вставкой крепежной части и крепежного тела в полый профиль досочного блока соединены или соответственно соединяются друг с другом с геометрическим замыканием. За счет этого достигаются особые преимущества монтажа и изготовления.
Кроме того, может быть предусмотрено, что крепежное тело концевого наконечника выполнено с пружинно упругим защелкивающимся элементом, который в смонтированном состоянии защелкивается с образованием соединения с геометрическим замыканием в выемку, предпочтительно в сквозное отверстие, крепежной части накладного узла так, что крепежная часть смонтированного на концевом наконечнике накладного узла фиксируется в полом профиле против вытягивания в направлении, противоположном направлению вставки крепежного тела концевого наконечника. Таким образом, накладной узел и концевой наконечник можно предварительно монтировать особенно простым образом с образованием простого и надежного в обращении блока.
При этом может быть предусмотрено, что крепежная часть накладного узла во время ее насаживания или соответственно вставки на или соответственно в концевой наконечник вдавливает внутрь пружинно упругий защелкивающийся элемент крепежного тела концевого наконечника против пружинной силы защелкивающегося элемента, при этом в ходе дальнейшего насаживания или соответственно вставки крепежной части накладного узла защелкивающийся элемент крепежного тела концевого наконечника самостоятельно защелкивается в выемку крепежной части накладного узла.
Кроме того, может быть предусмотрено, что концевой наконечник имеет упор, в который может упираться крепежная часть накладного узла при насаживании или вставке на или в концевой наконечник, так что накладной узел в смонтированном состоянии находится в предварительно заданном положением упора положении относительно концевого наконечника.
При этом в предпочтительном варианте выполнения может быть предусмотрено, что упор и защелкивающийся элемент концевого наконечника расположены на расстоянии друг от друга, которое равно или несколько больше расстояния между согласованной с защелкивающимся элементом выемкой крепежной части накладного узла и соответствующей упору торцевой кромкой крепежной части накладного узла. Таким образом, получается после соединения друг с другом или соответственно вставки друг в друга накладного узла и концевого наконечника простой в обращении в ходе дальнейшего процесса изготовления и надежно соединенный при возникающих при этом нагрузках блок.
Кроме того, может быть предусмотрено, что выемка крепежной части накладного узла выполнена в виде проходящего в направлении вставки удлиненного отверстия и что защелкивающийся элемент имеет соответствующий внутреннему контуру удлиненного отверстия наружный контур. За счет этого дополнительно улучшается точное позиционирование подлежащих предварительному монтажу конструктивных элементов.
Кроме того, может быть предусмотрено, что крепежная часть накладного узла выполнена, по меньшей мере, с двумя расположенными на расстоянии друг от друга и предпочтительно параллельно друг другу крепежными плечами. За счет этого можно предпочтительно уменьшить вес накладного узла.
При этом может быть предусмотрено, что каждое крепежное плечо выполнено, по меньшей мере, с одной служащей для его крепления на полом профиле выемкой и, по меньшей мере, с одной служащей для его фиксации относительно концевого наконечника выемкой. Это обеспечивает возможность особенно надежной фиксации концевого наконечника относительно накладного узла, с одной стороны, и надежного и стабильного крепления накладного узла на полом профиле досочного блока, с другой стороны.
Кроме того, может быть предусмотрено, что крепежное тело концевого наконечника выполнено, по меньшей мере, с двумя расположенными на расстоянии друг от друга, предпочтительно также параллельно друг другу вставными телами, при этом предпочтительно число вставляемых тел соответствует числу крепежных плеч.
В предпочтительном варианте выполнения может быть предусмотрено, что концевой наконечник на своем противоположном полому профилю в продольном направлении конце выполнен со скосом под углом предпочтительно около 45°. Таким образом, в зависимости от выбранного угла можно непосредственно после соединения с первой бордюрной доской согласно изобретению присоединять на торцевой стороне другую бордюрную доску. Кроме того, можно таким образом особенно экономично нарезать досочный блок или соответственно полый профиль на необходимую длину в плоскости разреза, перпендикулярной его продольному направлению.
Кроме того, может быть предусмотрено, что перекрывающая торцевые стороны полого профиля часть закрывающей части образует упор, который можно приводить в упор с торцевыми краями полого профиля или который прилегает к ним. За счет такого упора можно задавать точное положение вставки концевого наконечника относительно его крепежного тела, так что всегда можно обеспечивать остающуюся одинаковой общую длину бордюрной доски в ходе ее изготовления.
Кроме того, может быть предусмотрено, что торцевые края полого профиля образуют расположенную перпендикулярно продольному направлению или перпендикулярную продольной оси полого профиля плоскость. Как уже указывалось выше, можно нарезать полый профиль на необходимую длину перпендикулярно его продольной оси, что обеспечивает особые преимущества при изготовлении бордюрной доски. Предусмотренные при необходимости соединительные скосы расположенных при необходимости под углом друг к другу бордюрных досок могут быть предусмотрены в этом случае также на выступающей из полого профиля части концевых наконечников, что означает в комбинации особые преимущества относительно стоимости.
Кроме того, может быть предусмотрено, что полый профиль выполнен, по меньшей мере, с одним, предпочтительно, по меньшей мере, с двумя, предпочтительно закрытыми в поперечном сечении лонжеронами (продольными балками). За счет этого можно значительно увеличивать прочность на изгиб, кручение и продольный изгиб.
При этом предпочтительно, когда, по меньшей мере, один лонжерон выполнен в виде краевого лонжерона. Независимо от указанных выше преимуществ можно дополнительно еще больше уменьшать опасность ранения при ручном манипулировании. Эти преимущества достигаются в особенности тогда, когда предусмотрены два лонжерона, выполненных в виде краевых балок (лонжеронов).
Кроме того, может быть предусмотрено, что лонжерон в разрезе перпендикулярно своей продольной оси имеет коробчатое и/или замкнутое, в частности трапециевидное, поперечное сечение.
Кроме того, может быть предусмотрено, что полый профиль изготовлен посредством отгибания и/или отбортовки заготовки из стального листа, в частности, в валковом профилегибочном стане. Это обеспечивает особенно экономичное изготовление бордюрной доски.
Дополнительно улучшенное соединение и особенно экономичное изготовление может достигаться за счет того, что оба продольных конца изготовленного из стального листа полого профиля не имеют отдельных механических крепежных средств, таких как заклепки или винты, а также соединены друг с другом с перекрытием или встык без помощи требующего отдельного соединительного материала способа сварки.
При этом может быть предусмотрено, что оба продольных конца стального листа могут быть соединены друг с другом или с лежащей напротив частью стенки полого профиля с помощью способа прессового соединения, например пуклевкой, клепкой, и/или чеканки с помощью роликовых дисков.
В качестве альтернативного решения или дополнительно может быть предусмотрено, что оба продольных конца стального листа соединены друг с другом или с лежащей напротив частью стенки полого профиля с помощью лазерной сварки.
С применением указанного выше способа соединения можно обеспечивать особенно экономичное серийное производство бордюрных досок в больших количествах.
Кроме того, может быть предусмотрено, что накладной узел имеет в выступающей за торцевые концы полого профиля зоне проходящую по существу перпендикулярно к его продольной оси и открытую к проходящим в продольном направлении узким продольным торцевым сторонам досочного блока прорезь. Основание прорези может быть расположено предпочтительно примерно на половине высоты досочного блока.
Кроме того, может быть предусмотрено, что досочный блок на своих обращенных друг от друга широких продольных сторонах снабжен проходящими по существу или по всей его длине, предпочтительно выполненными в виде гофров продольными ребрами, которые обеспечивают возможность штабелирования друг над другом множества бордюрных досок с образованием предотвращающего сдвиг бордюрных досок перпендикулярно их продольной длине соединения с геометрическим замыканием штабелированных друг над другом бордюрных досок. Такие продольные ребра могут также служить в качестве ребер для штабелирования. Кроме того, за счет таких продольных ребер может повышаться жесткость, а также шероховатость бордюрной доски.
При этом может быть целесообразно предусмотрено, что, по меньшей мере, одно первое продольное ребро из продольных ребер проходит поверх наружной ограничительной поверхности первой широкой продольной стороны из широких сторон досочного блока и что, по меньшей мере, одно второе продольное ребро из продольных ребер проходит ниже наружной ограничительной поверхности противоположной первой широкой продольной стороне второй широкой продольной стороны досочного блока. Такие продольные ребра являются особенно простыми и экономичными в изготовлении и обеспечивают возможность особенно простого и надежного штабелирования множества бордюрных досок при повышенной жесткости и шероховатости таких бордюрных досок.
Кроме того, может быть предусмотрено, что продольные ребра расположены в зоне, по меньшей мере, одного лонжерона, предпочтительно в зоне краевого лонжерона.
Кроме того, может быть предусмотрено, что продольные ребра имеют расстояние от соответствующих им узких продольных торцевых сторон досочного блока, которое обеспечивает возможность захвата досочного блока рукой со стороны одной из его узких продольных торцевых сторон так, что, по меньшей мере, одно из продольных ребер на первой широкой продольной стороне охватывается сзади, по меньшей мере, одним первым пальцем руки или же что, по меньшей мере, один первый палец руки может захватывать, по меньшей мере, одно из продольных ребер на первой широкой продольной стороне из широких продольных сторон досочного блока, в то время как одновременно другой палец, предпочтительно большой палец, той же руки захватывает противоположную первой широкой продольной стороне вторую широкую продольную сторону досочного блока. Это расстояние может предпочтительно составлять между 15 и 35 мм, предпочтительно в пределах между 20 и 30 мм, в частности примерно 24 мм.
Кроме того, может быть предусмотрено, что образованный из листовой стали накладной узел в своей выступающей за торцевой конец полого профиля зоне выгнут поперек продольного направления предпочтительно под углом, в частности, примерно 45º или примерно 90º. За счет этого можно минимизировать образующийся при бордюрных досках согласно уровню техники между продольным краем настила лесов и ограничительной стенкой бордюрной доски зазор или полностью исключать его, за счет того что ограничивающая по сторонам проходную и/или рабочую поверхность настила лесов наружная ограничительная поверхность досочного блока бордюрной доски находится заподлицо с продольными торцевыми краями настила лесов, или даже выступает над проходной и/или рабочей поверхностью настила лесов, или соответственно частично перекрывает ее. При изгибе примерно 90°, при котором часть стенки или соответственно плечо защелкивающей части накладного узла отогнуто примерно перпендикулярно крепежной части или соответственно его крепежному плечу, можно обеспечивать предпочтительную защиту от продольного сдвига бордюрной доски.
В предпочтительном варианте выполнения может быть предусмотрено, что накладной узел состоит, по меньшей мере, из два раза согнутого отогнутого стального листа. Такой стальной лист можно особенно просто и экономично изготавливать, он имеет небольшой вес и, тем не менее, отвечает предъявляемым к таким накладным узлам требованиям относительно функционирования и выполнения целей использования.
Изобретение относится также к лесам, которые имеют имеющие проходные и/или рабочие поверхности настилы или соответственно покрытия лесов и вертикальные стойки с первыми соединительными узлами для присоединения продольных ригелей, и/или поперечных ригелей, и/или диагоналей с помощью вторых соединительных узлов, а также, по меньшей мере, одну бордюрную доску, по меньшей мере, по одному из пунктов 1-43 формулы изобретения. За счет этого также решается указанная в начале задача изобретения.
В таких лесах может быть предпочтительно предусмотрено, что первый соединительный узел выполнен в виде окружающей вертикальную стойку и имеющей выемки розетки, в частности в виде диска с отверстиями, и что второй соединительный узел выполнен в виде насаживаемой на розетку соединительной головки, которая имеет, по меньшей мере, одно клиновидное отверстие для продевания служащего для заклинивания с розеткой соединительного клина.
Кроме того, может быть предусмотрено, что имеющая сходящиеся в виде клина вертикальные наружные ограничительные поверхности соединительная головка имеет верхнюю часть головки и нижнюю часть головки, между которыми предусмотрена открытая вперед прорезь для насаживания соединительной головки на розетку.
Изобретение относится также к способу изготовления имеющей, в частности, признаки, по меньшей мере, одного из пунктов 1-43 формулы изобретения бордюрной доски для лесов с целью бокового ограничения проходных и/или рабочих настилов лесов, содержащей продольно протяженный досочный блок, который выполнен с или из полого профиля из стали, в частности из оцинкованного стального листа, который на своих противоположных в продольном направлении торцевых концах закрыт с помощью закрывающего средства и который снабжен выступающим в продольном направлении за его соответствующий торцевой конец, состоящим из металла, предпочтительно из стали, в частности из листовой стали, накладным узлом для образования соединения с лесами и/или с соседней бордюрной доской, при этом полый профиль досочного блока на своих торцевых концах закрыт концевым наконечником, который имеет выступающую за торцевой конец полого профиля и перекрывающую его торцевые края, предпочтительно по существу или предпочтительно полностью состоящую из пластмассы закрывающую часть и который имеет соединенное в виде одной части или нескольких частей с закрывающей частью крепежное тело, которое вставляется в полый профиль и неподвижно соединяется с ним и/или с накладным узлом с помощью крепежных средств, и накладной узел имеет крепежную часть, которая предпочтительно в виде выемки, в частности прорези, с прохождением через закрывающую часть вставляется в полый профиль и которая с помощью крепежного средства неподвижно соединяется с полым профилем досочного блока.
Согласно первому варианту выполнения этого способа может быть предусмотрено, что накладную часть и/или концевой наконечник соединяют посредством вызывающего локальную деформацию части стенки полого профиля процесса прессования с образованием соединения с геометрическим замыканием с полым профилем.
При этом может быть предпочтительно предусмотрено, что соединение с геометрическим замыканием выполняется посредством обжимания или соответственно вдавливания края предусмотренного в части стенки полого профиля отверстия с помощью пуансона в выемку, предпочтительно в сквозное отверстие, крепежной части накладного узла и/или крепежного тела концевого наконечника.
В качестве альтернативного решения или дополнительно может быть предусмотрено, что соединение с геометрическим замыканием накладного узла с полым профилем и соединение с геометрическим замыканием концевого наконечника с полым профилем выполняют при предпочтительно одновременном воздействии нескольких пуансонов, которые воздействуют на противоположные продольные стороны полого профиля в противоположных направлениях.
Согласно второму варианту выполнения или согласно одной модификации указанного выше способа изготовления имеющей, в частности, признаки, по меньшей мере, одного из пунктов 1-43 бордюрной доски или дополнительно может быть предусмотрено, что накладной узел и/или концевой наконечник крепятся исключительно с помощью механических крепежных средств, без сварки, на полом профиле досочного блока.
Согласно третьему варианту выполнения или согласно одной модификации указанного выше способа изготовления имеющей, в частности, признаки, по меньшей мере, одного из пунктов 1-43 формулы изобретения бордюрной доски может быть предусмотрено, что накладной узел и/или концевой наконечник крепятся с помощью заклепок, предпочтительно с помощью пустотелых заклепок, на полом профиле досочного блока.
В предпочтительном варианте выполнения способа соответственно способов изготовления имеющей, в частности, признаки, по меньшей мере, одного из пунктов 1-43 формулы изобретения бордюрной доски могут быть предусмотрены следующие этапы монтажа:
- сначала неподвижно соединяют друг с другом накладной узел и концевой наконечник, при этом крепежное тело концевого наконечника и крепежная часть накладного узла образуют вставляемый узел,
- затем вставляют вставляемый узел в полый профиль,
- после этого неподвижно соединяют крепежную часть накладного узла, предпочтительно также крепежное тело концевого наконечника с полым профилем.
Другие признаки и преимущества изобретения следуют из приведенного ниже описания предпочтительных примеров выполнения изобретения со ссылками на прилагаемые чертежи, на которых изображено:
фиг.1 - бордюрная доска со стороны одной из ее широких продольных сторон с накладным узлом согласно первому варианту выполнения, вид сбоку;
фиг.2 - бордюрная доска со стороны одной из ее широких продольных сторон с накладным узлом согласно второму варианту выполнения, вид сбоку;
фиг.3 - бордюрная доска согласно фиг.1 со стороны ее другой широкой продольной стороны, вид сбоку;
фиг.4 - бордюрная доска согласно фиг.1 со стороны ее другой широкой продольной стороны, вид сбоку;
фиг.5 - бордюрная доска согласно фиг.1 со стороны показанной справа на фиг.1 узкой продольной стороны, вид сверху, причем соответствующий вид сверху бордюрной доски согласно фиг.2 является идентичным;
фиг.6 - концевой наконечник со стороны торцевой стороны его покрывной части в изометрической проекции;
фиг.7 - концевой наконечник согласно фиг.6 с задней стороны образованного с двумя расположенными на расстоянии друг от друга в поперечном направлении вставляемыми телами крепежного тела в изометрической проекции;
фиг.8 - концевой наконечник согласно фиг.6, вид сзади;
фиг.9 - концевой наконечник согласно фиг.6, вид сбоку;
фиг.10 - частичный разрез концевого наконечника согласно фиг.7, вид сбоку;
фиг.11 - продольный разрез концевого наконечника по линиям 11-11 на фиг.10;
фиг.12 - накладной узел согласно показанному на фиг.1 и 3 варианту выполнения с расположенной параллельно в данном случае плоскости листа крепежной частью, вид сверху;
фиг.13 - продольный разрез накладного узла согласно фиг.12;
фиг.14 - накладной узел согласно фиг.12 с имеющей круглое цилиндрическое отверстие для введения крюка переходной части стенки, которая в данном случае расположена параллельно плоскости листа, вид сверху;
фиг.15 - накладной узел согласно показанному на фиг.2 и 4 второму варианту выполнения, вид, как на фиг.12;
фиг.16 - продольный разрез, как на фиг.13, накладного узла согласно фиг.15;
фиг.17 - накладной узел согласно фиг.15, вид сверху, как на фиг.14;
фиг.18 - проходящий перпендикулярно продольной оси досочной доски поперечный разрез полого профиля с изображением его крепежных отверстий в состоянии перед монтажом и креплением с геометрическим замыканием концевого наконечника;
фиг.19 - часть досочного блока согласно фиг.18 со стороны показанной слева на фиг.18 широкой продольной стороны, вид сверху;
фиг.20 - часть досочного блока согласно фиг.18 со стороны показанной наверху на фиг.18 узкой продольной стороны, вид сбоку;
фиг.21 - часть досочного блока согласно фиг.18 со стороны показанной справа на фиг.18 широкой продольной стороны, вид сбоку;
фиг.22 - часть бордюрной доски согласно изобретению в зоне одного из торцевых концов полого профиля досочного блока с установленным в него вставляемым узлом, который содержит крепежное тело концевого наконечника и крепежную часть накладного узла, в состоянии перед выполнением соединения с геометрическим замыканием посредством обжимания краев предусмотренных в полом профиле крепежных отверстий с помощью схематично изображенного пуансона;
фиг.23 - бордюрная доска согласно фиг.22, однако в готовом собранном состоянии после обжимания краев крепежных отверстий полого профиля внутрь и с образованием соединения с геометрическим замыканием посредством захвата сзади краев предусмотренных в крепежной части накладного узла крепежных отверстий, а также краев предусмотренных в крепежном теле концевого наконечника крепежных отверстий;
фиг.24 - поперечный разрез бордюрной доски в перпендикулярной показанной на фиг.23 плоскости разреза по линии 24-24;
фиг.25 - часть бордюрной доски в показанной на фиг.3 зоне одного из концов в увеличенном масштабе;
фиг.26 - угловая зона лесов со смонтированной поперечной бордюрной доской, которая имеет накладной узел, согласно показанному на фиг.1 и 3 первому варианту выполнения;
фиг.27 - угловая зона согласно фиг.26 с дополнительно установленной продольной бордюрной доской, накладной блок которой также выполнен в соответствии с показанным на фиг.1 и 3 вариантом выполнения;
фиг.28 - накладной узел согласно третьему варианту выполнения, вид сверху;
фиг.29 - продольный разрез накладного узла согласно фиг.28;
фиг.30 - накладной узел согласно четвертому варианту выполнения, вид, как на фиг.28;
фиг.31 - продольный разрез накладного узла согласно фиг.30;
фиг.32 - поперечный разрез досочного блока с полым профилем согласно альтернативному варианту выполнения, который имеет предназначенные для размещения заклепок крепежные отверстия, вид, как на фиг.18;
фиг.33 - часть досочного блока, согласно фиг.32 со стороны показанной слева на фиг.32 широкой продольной стороны, вид сверху;
фиг.34 - часть досочного блока, согласно фиг.32 со стороны показанной наверху на фиг.32 узкой продольной стороны, вид сбоку;
фиг.35 - часть досочного блока, согласно фиг.32 со стороны показанной справа на фиг.32 узкой продольной стороны, вид сбоку;
фиг.36 - параллельный продольной оси показанного на фиг.32 полого профиля поперечный разрез досочного узла, однако в данном случае в готовом смонтированном состоянии, в котором как крепежная часть накладного узла, так и крепежное тело концевого наконечника закреплены с геометрическим замыканием на полом профиле с помощью, по меньшей мере, одной заклепки, в данном случае с помощью двух пустотелых заклепок, из которых одна пустотелая заклепка показана в поперечном разрезе и в соединенном состоянии;
фиг.37 - поперечный разрез бордюрной доски в перпендикулярной показанной на фиг.36 плоскости разреза по линии 37-37;
фиг.38 - часть бордюрной доски с полым профилем согласно показанному на фиг.32 37 альтернативному варианту выполнения, в котором крепежное тело концевого наконечника и крепежное плечо выполненного в соответствии с указанным на фиг.28 и 29 вариантом выполнения накладного узла закреплено на полом профиле с помощью пустотелых заклепок, вид как, на фиг.25;
фиг.39 - угловая зона лесов с смонтированной поперечной бордюрной доской, которая имеет выполненный в соответствии с показанным на фиг.28 и 29 вариантом выполнения накладной узел, который закреплен на полом профиле с помощью пустотелых заклепок, в изометрической проекции;
фиг.40 - угловая зона согласно фиг.39 с дополнительно установленной продольной бордюрной доской, накладной узел которой также выполнен в соответствии с показанным на фиг.28 и 29 вариантом выполнения и закреплен также с помощью пустотелых заклепок на полом профиле.
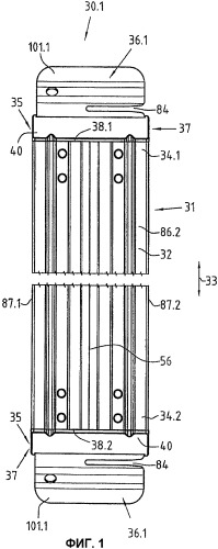
Показанные на чертежах бордюрные доски 30; 30.1; 30.1.1, 30.1.2; 30.2; 130.1.1, 130.1.2 служат для бокового ограничения проходных и/или рабочих поверхностей 16 настилов или соответственно покрытий 15 лесов (см. фиг.27 и 28, а также 39 и 40).
Каждая бордюрная доска 30; 30.1; 30.1.1, 30.1.2; 30.2; 130.1.1, 130.1.2 состоит из продольно протяженного досочного блока 31, который в данном случае выполнен из полого профиля 32; 132 предпочтительно из оцинкованного стального листа 29. Его виды в продольном направлении показаны, в частности, на фиг.1-5, 19-21 и 33-35, а его поперечные разрезы показаны на фиг.18 и 24, а также на фиг.32 и 37.
Полый профиль 32; 132 на своих противоположных в продольном направлении 33 торцевых концах 34.1, 34.2 закрыт с помощью выполненного в виде концевого наконечника 37; 137 закрывающего средства 35. Каждый досочный блок 31 имеет выступающий за его соответствующие торцевые концы 34.1, 34.2, состоящий в данном случае из листовой стали 70 накладной узел 36; 36.1, 36.2; 136, 136.1, 136.2, который предназначен для создания соединения с лесами 10 и/или с соседней бордюрной доской 30; 130.
Каждый концевой наконечник 37; 137 имеет выходящую за соответствующий торцевой конец 34.1, 34.2 полого профиля 32; 132 и перекрывающую его торцевые края 38.1, 38.2 и состоящую в основном из пластмассы закрывающую часть 40; 140. Кроме того, концевые наконечники 37; 137 имеют соединенное в данном случае за одно целое с закрывающей частью 40; 140 крепежное тело 41; 141, которое вставлено в полый профиль 32; 132 досочного блока 31 и в данном случае неподвижно соединено с ним, а также с накладным узлом 36; 36,1, 36.2; 136, 136.1, 136.2 с помощью крепежного средства 42. Кроме того, накладной узел 36; 36,1, 36.2; 136, 136.1, 136.2 имеет вставленную в полый профиль 32; 132 крепежную часть 39; 139, которая



