Электрогенератор гидроволновой штоковый сердечниковый
Иллюстрации
Показать всеИзобретение относится к области электротехники и гидроэнергетике, в частности к производству электроэнергии путем преобразования энергии вертикального волнения воды в электрическую энергию. Заявленное устройство представляет собой гидроволновой штоковый сердечниковый электрогенератор, который содержит плавающий корпус (1), выполненный удерживающим свое постоянное положение относительно вертикали при любом волнении воды, закрепленный к корпусу вертикальный стержень (2), размещенный на стержне с возможностью возвратно-поступательного движения вдоль стержня поплавок (3), закрепленный к поплавку вертикальный шток (4) с закрепленным внутри штока магнитом (5), установленный у верхнего конца вертикального стержня для исключения выхода поплавка за верхний предел стержня ограничитель (6), закрепленный к ограничителю сердечник (7), вокруг поперечного сечения которого выполнена обмотка (8). Технический результат - обеспечение эффективной генерации электроэнергии на волнах любой длины независимо от скорости вертикального движения волн, достигается высокая надежность работы устройства, так как в конструкции не используются сложные элементы, отсутствие вращающихся деталей и смазочных материалов предполагает улучшение экологических характеристик устройства, мобильный плавающий корпус позволяет транспортировать устройство по воде, устройство обладает штормоустойчивостью, так как горизонтальные волны свободно проходят сквозь каркасный корпус и обтекают поплавки устройства, значительно снижено количество материалов на изготовление устройства, что важно для экономической составляющей производства, кроме того, достигается удобство в обслуживании устройства, влияющее на снижение стоимости получаемой электроэнергии, в частности, при его использовании на объектах промышленного производства морского и прибрежного базирования. 20 з.п. ф-лы, 8 ил.
Реферат
Устройство относится к гидроэнергетике, в частности к производству электроэнергии путем преобразования энергии вертикального волнения воды в электрическую энергию.
Известен буйковый волновой генератор [1], содержащий магнитный сердечник, прикрепленный к нижней поверхности буя с возможностью вертикального возвратно-поступательного движения на волне. На магнитном сердечнике подвижно установлена обмоточная катушка, перемещение которой по магнитному сердечнику ограничено, а катушка удерживает фиксированное положение под водой посредством установленных вокруг нее плоских горизонтальных панелей, увеличивающих сопротивление воды при возвратно-поступательном движении сердечника.
Известна волновая энергетическая установка [2], содержащая двухсекционный каркас, вертикальные стойки которого, скрепленные верхним и нижним основаниями, являются направляющими размещенного в нижней секции каркаса поплавка, способного к возвратно-поступательному вертикальному перемещению, а в верхней секции которого расположен преобразователь энергии. Преобразователь энергии содержит один или объединение нескольких длинноходовых линейных электрических генераторов с генерирующими сердечниками на постоянных магнитах, оси которых выполнены из немагнитного материала с возможностью возвратно-поступательного перемещения внутри кольцевых индуктивных катушек, жестко связанных между собой общим флянцем, закрепленным на торце передаточного штока, жестко связанного с поплавком.
Известен поплавковый волновой генератор [3], содержащий плавающий корпус с прямолинейным вертикальным каналом, обмотку статора, выполненную на внутренней стенке вертикального канала, и сердечник с постоянным магнитом, размещенный внутри вертикального канала с возможностью вертикального возвратно-поступательного движения относительно обмотки статора. Данное техническое решение выбрано в качестве прототипа.
Существенным недостатком прототипа является то, что при низкой скорости вертикального движения волн энергия вертикального волнения воды не преобразуется в электрическую энергию, так как при медленном прохождении магнита внутри обмотки не возникает электрического тока. Кроме этого вода, проходящая через вертикальный канал, теряет начальную вертикальную скорость, амплитуда волны в вертикальном канале уменьшается, что отрицательно сказывается на производительности генерации электроэнергии. Поскольку горизонтальные волны не проходят сквозь корпус, устройство не обладает штормоустойчивостью. Также недостатком устройства является то, что движущимся под воздействием вертикального волнения воды элементом является плавающий неэкранированный магнит, что предполагает притяжение к узлу преобразования энергии магнитного сора. Для создания устройства требуется большое количество материалов, что увеличивает стоимость изготовления устройства и стоимость получаемой электроэнергии.
Задачами предлагаемого устройства являются реализация эффективной генерации электроэнергии на волнах любой длины независимо от скорости вертикального движения волн, увеличение производительности узла преобразования энергии, повышение штормоустойчивости и надежности работы устройства, соблюдение оптимальных экологических характеристик устройства, а также достижение мобильности, простоты изготовления, удобства в обслуживании и снижения стоимости получаемой электроэнергии.
Задачи решаются следующим образом. К плавающему корпусу, выполненному удерживающим свое постоянное положение относительно вертикали при любом волнении воды, закрепляется вертикальный стержень. На стержне размещается с возможностью возвратно-поступательного движения вдоль стержня поплавок с закрепленным к поплавку вертикальным штоком, внутри которого закреплен магнит. При этом у верхнего конца вертикального стержня для исключения выхода поплавка за верхний предел стержня устанавливается ограничитель, а к ограничителю закрепляется сердечник, вокруг поперечного сечения которого выполнена обмотка. Магнит должен быть закреплен внутри вертикального штока таким образом, что при перемещении поплавка вдоль вертикального стержня магнит совершает возвратно-поступательное движение относительно сердечника. Сердечник может быть выполнен имеющим W-образную форму и закреплен к ограничителю верхним краем в сторону вертикального штока. Сердечник может быть выполнен имеющим U-образную форму и закреплен к ограничителю верхним краем в сторону вертикального штока. Сердечник должен быть закреплен к ограничителю с минимальным зазором между сердечником и вертикальным штоком с возможностью исключения касания магнита с сердечником. К ограничителю вокруг горизонтального перечного сечения штока может быть закреплено два или более сердечника. Поплавок может быть выполнен имеющим закругленную форму и размещен на стержне с использованием вертикальных направляющих, исключающих поворот поплавка вокруг вертикальной оси. Стержень может быть размещен внутри вертикального сквозного отверстия, выполненного в поплавке. При этом сквозное отверстие поплавка и стержень могут иметь круглое поперечное сечение в горизонтальной плоскости. Вертикальный шток может иметь круглое поперечное сечение в горизонтальной плоскости. У нижнего конца вертикального стержня для исключения выхода поплавка за нижний предел стержня может быть установлен ограничитель. К ограничителю может быть прикреплен упругий элемент, предотвращающий жесткое касание поплавка с ограничителем. Массы корпуса и поплавка должны быть выбраны достаточными для преодоления сопротивления электрического поля, возникающего при возвратно-поступательном движении поплавка вдоль вертикального стержня и прохождении магнита вдоль сердечника. Корпус может быть выполнен в виде, по меньшей мере, трех плавающих тел, скрепленных между собой в одной плоскости. При этом к нижней части конструкции может быть прикреплен груз, выполненный с возможностью исключения переворачивания плоскости размещения плавающих тел корпуса при любом волнении воды. Корпус может быть выполнен в виде плавающего тела и груза, закрепленного к плавающему телу для удержания плавающего тела в постоянном вертикальном положении при любом волнении воды. При этом груз может быть выполнен в виде, по меньшей мере, трех вертикальных лопастей. В любой части конструкции может быть установлен узел преобразования электрической энергии. Из любой части конструкции может быть выведен кабель, соединенный с объектом преобразования, потребления или аккумулирования электрической энергии. К корпусу может быть закреплен, по меньшей мере, один вертикальный стержень, а на стержне размещен с возможностью возвратно-поступательного движения вдоль стержня, по меньшей мере, один поплавок с закрепленным к поплавку, по меньшей мере, одним вертикальным штоком, внутри которого закреплен, по меньшей мере, один магнит, при этом у верхнего конца вертикального стержня для исключения выхода поплавка за верхний предел стержня установлен ограничитель, а к ограничителю закреплен, по меньшей мере, один сердечник, вокруг поперечного сечения которого выполнена, по меньшей мере, одна обмотка. Поплавок может быть размещен на двух или более вертикальных стержнях с возможностью возвратно-поступательного движения вдоль стержней.
Предлагаемое устройство содержит плавающий корпус, выполненный удерживающим свое постоянное положение относительно вертикали при любом волнении воды, закрепленный к корпусу вертикальный стержень, размещенный на стержне с возможностью возвратно-поступательного движения вдоль стержня поплавок, закрепленный к поплавку вертикальный шток с закрепленным внутри штока магнитом, установленный у верхнего конца вертикального стержня для исключения выхода поплавка за верхний предел стержня ограничитель, закрепленный к ограничителю сердечник, выполненную вокруг поперечного сечения сердечника обмотку, причем магнит закреплен внутри вертикального штока таким образом, что при перемещении поплавка вдоль вертикального стержня магнит совершает возвратно-поступательное движение относительно сердечника.
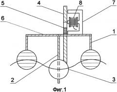
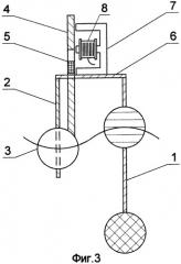
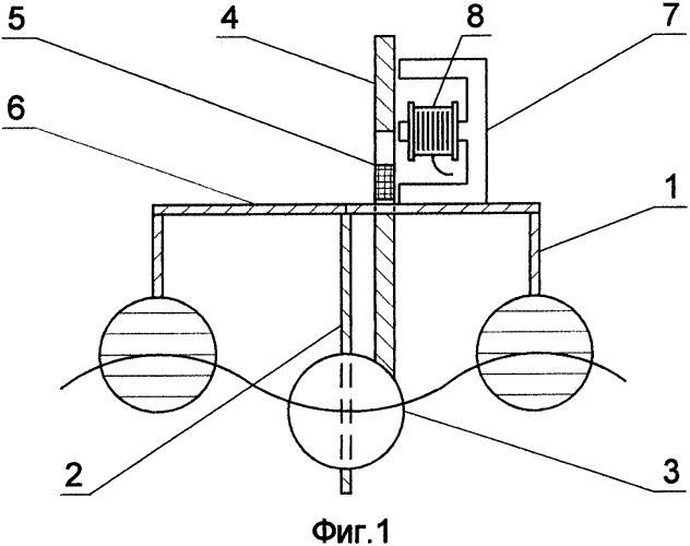
На фиг.1 представлен общий вид предлагаемого устройства. На фиг.1-8 показаны схемы устройства, содержащего плавающий корпус (1), вертикальный стержень (2), поплавок (3), вертикальный шток (4) с магнитом (5), ограничитель (6), сердечник (7) с обмоткой (8). На фиг.1-4 показаны схемы устройства, содержащего сердечник, выполненный имеющим W-образную форму. На фиг.5-8 показаны схемы устройства, содержащего сердечник, выполненный имеющим U-образную форму. На фиг.1, 2, 5, 6 показаны схемы устройства, корпус которого выполнен в виде четырех плавающих тел, скрепленных между собой в одной плоскости. На фиг.3, 4, 7, 8 показаны схемы устройства, корпус которого выполнен в виде плавающего тела и груза, закрепленного к плавающему телу. На фиг.1, 3, 5, 7 показан продольный разрез устройства, на фиг.2, 4, 6, 8 показан вид устройства сверху.
Устройство работает следующим образом. При наличии волн поплавок (3) приобретает различные ускорения вдоль вертикального стержня (2). При этом закрепленный к поплавку вертикальный шток (4) совершает возвратно-поступательное перемещение относительно установленного у верхнего конца вертикального стержня ограничителя (6). Закрепленный внутри штока магнит (5) совершает возвратно-поступательное движение относительно закрепленного к ограничителю сердечника (7). В результате в обмотке (8), выполненной вокруг поперечного сечения сердечника, возникает электрический ток, который подается на объект преобразования, потребления или аккумулирования электрической энергии.
По сравнению с известными техническими решениями эффект заключается в следующем. В конструкции не используются сложные элементы, такие как рычаг, насос и прочее, вследствие чего достигается высокая надежность работы устройства. Отсутствие вращающихся деталей и смазочных материалов предполагает улучшение экологических характеристик устройства. Мобильный плавающий корпус позволяет транспортировку устройства по воде.
В отличие от прототипа, предлагаемое устройство имеет ряд преимуществ. Достигается эффективная генерация электроэнергии на волнах любой длины независимо от скорости вертикального движения волн. Горизонтальные волны свободно проходят сквозь каркасный корпус и обтекают поплавки, что повышает штормоустойчивость устройства. Для изготовления устройства требуется значительно меньшее количество материалов, что важно для экономической составляющей производства. Вследствие использования сердечника с обмоткой достигается повышение эффективности работы каждого магнита. Расположение магнита выше уровня воды исключает возможность притяжения к узлу преобразования энергии магнитного сора. Достигается удобство в обслуживании устройства, влияющее на снижение стоимости получаемой электроэнергии.
Предлагаемое устройство позволяет обеспечить электроэнергией объекты промышленного производства морского и прибрежного базирования.
Источники информации
1. Патент на ИЗ US 2004061338, 2004 г.
2. Патент на ПМ RU 88744, 2009 г.
3. Патент на ПМ RU 69932, 2007 г.
1. Гидроволновой электрогенератор, содержащий плавающий корпус, выполненный удерживающим свое постоянное положение относительно вертикали при любом волнении воды, отличающийся тем, что к корпусу закреплен вертикальный стержень, а на стержне размещен с возможностью возвратно-поступательного движения вдоль стержня поплавок с закрепленным к поплавку вертикальным штоком, внутри которого закреплен магнит, при этом у верхнего конца вертикального стержня для исключения выхода поплавка за верхний предел стержня установлен ограничитель, а к ограничителю закреплен сердечник, вокруг поперечного сечения которого выполнена обмотка, причем магнит закреплен внутри вертикального штока таким образом, что при перемещении поплавка вдоль вертикального стержня магнит совершает возвратно-поступательное движение относительно сердечника.
2. Устройство по п.1, отличающееся тем, что сердечник выполнен имеющим W-образную форму и закреплен к ограничителю верхним краем в сторону вертикального штока.
3. Устройство по п.1, отличающееся тем, что сердечник выполнен имеющим U-образную форму и закреплен к ограничителю верхним краем в сторону вертикального штока.
4. Устройство по п.1, отличающееся тем, что сердечник закреплен к ограничителю с минимальным зазором между сердечником и вертикальным штоком с возможностью исключения касания магнита с сердечником.
5. Устройство по п.1, отличающееся тем, что к ограничителю вокруг горизонтального перечного сечения штока закреплено два или более сердечника.
6. Устройство по п.1, отличающееся тем, что поплавок выполнен имеющим закругленную форму.
7. Устройство по п.1, отличающееся тем, что поплавок размещен на стержне с использованием вертикальных направляющих, исключающих поворот поплавка вокруг вертикальной оси.
8. Устройство по п.1, отличающееся тем, что стержень размещен внутри вертикального сквозного отверстия, выполненного в поплавке.
9. Устройство по п.8, отличающееся тем, что сквозное отверстие поплавка и стержень имеют круглое поперечное сечение в горизонтальной плоскости.
10. Устройство по п.1, отличающееся тем, что вертикальный шток имеет круглое поперечное сечение в горизонтальной плоскости.
11. Устройство по п.1, отличающееся тем, что у нижнего конца вертикального стержня для исключения выхода поплавка за нижний предел стержня установлен ограничитель.
12. Устройство по п.1, отличающееся тем, что к ограничителю прикреплен упругий элемент, предотвращающий жесткое касание поплавка с ограничителем.
13. Устройство по п.1, отличающееся тем, что массы корпуса и поплавка выбраны достаточными для преодоления сопротивления электрического поля, возникающего при возвратно-поступательном движении поплавка вдоль вертикального стержня и прохождении магнита вдоль сердечника.
14. Устройство по п.1, отличающееся тем, что корпус выполнен в виде, по меньшей мере, трех плавающих тел, скрепленных между собой в одной плоскости.
15. Устройство по п.14, отличающееся тем, что к нижней части конструкции прикреплен груз, выполненный с возможностью исключения переворачивания плоскости размещения плавающих тел корпуса при любом волнении воды.
16. Устройство по п.1, отличающееся тем, что корпус выполнен в виде плавающего тела и груза, закрепленного к плавающему телу для удержания плавающего тела в постоянном вертикальном положении при любом волнении воды.
17. Устройство по п.16, отличающееся тем, что груз выполнен в виде, по меньшей мере, трех вертикальных лопастей.
18. Устройство по п.1, отличающееся тем, что в любой части конструкции установлен узел преобразования электрической энергии.
19. Устройство по п.1, отличающееся тем, что из любой части конструкции выведен кабель, соединенный с объектом преобразования, потребления или аккумулирования электрической энергии.
20. Устройство по п.1, отличающееся тем, что к корпусу закреплен, по меньшей мере, один вертикальный стержень, а на стержне размещен с возможностью возвратно-поступательного движения вдоль стержня, по меньшей мере, один поплавок с закрепленным к поплавку, по меньшей мере, одним вертикальным штоком, внутри которого закреплен, по меньшей мере, один магнит, при этом у верхнего конца вертикального стержня для исключения выхода поплавка за верхний предел стержня установлен ограничитель, а к ограничителю закреплен, по меньшей мере, один сердечник, вокруг поперечного сечения которого выполнена, по меньшей мере, одна обмотка.
21. Устройство по п.1, отличающееся тем, что поплавок размещен на двух или более вертикальных стержнях с возможностью возвратно-поступательного движения вдоль стержней.



