Устройство для инъекции высоковязкого материала

Иллюстрации

Показать все

Изобретение относится к области медицинской техники, а именно к области инъекции биомеханических материалов, более точно к устройству для инъекции высоковязкого материала в участок тела пациента. Устройство для инъекции вязкого материала в канюлю содержит контейнер, приспособление для оказания давления в жидкостном соединении с контейнером, разгрузочный клапан для выравнивания давления в устройстве и элемент, перемещающий материал. Контейнер является нерастяжимым и имеет выпускное отверстие, предназначенное для сообщения с канюлей для транспортировки в нее вязкого материала. Приспособление для оказания давления ограничивает путь потока жидкости, через который перемещается несжимаемая жидкость. Элемент, перемещающий материал, прерывает путь потока жидкости и образует участок для приема несжимаемой жидкости с одной своей стороны и участок для приема вязкого материала с противоположной стороны. Участок для приема несжимаемой жидкости сообщается с путем потока жидкости приспособления для оказания давления. Участок для приема вязкого материала сообщается с выпускным отверстием контейнера. Элемент, перемещающий материал, выполнен с возможностью перемещения под давлением несжимаемой жидкости, воздействующим на него, для вытеснения вязкого материала из участка для приема вязкого материала контейнера в канюлю. Устройство для инъекции вязкого материала содержит нерастяжимый корпус, элемент, перемещающий материал, приспособление для оказания давления и разгрузочный клапан для выравнивания давления в устройстве. Элемент, перемещающий материал, разделяет нерастяжимый корпус на первую полость, имеющую первый объем, предназначенную для приема несжимаемой жидкости, и вторую полость, имеющую второй объем, предназначенную для приема вязкого материала. Элемент, перемещающий материал, выполнен с возможностью перемещения для изменения первого и второго объемов обратно пропорционально. Приспособление для оказания давления для перемещения несжимаемой жидкости в первую полость перемещает элемент, перемещающий материал, для увеличения первого объема и уменьшения второго объема, таким образом, инжектируя вязкий материал из нерастяжимого корпуса. Контейнер для устройства для инъекции вязкого материала в ткань пациента содержит проксимальный конец, дистальный конец, на котором выполнено выпускное отверстие, предназначенное для сообщения с канюлей, гибкий и при этом нерастяжимый пакет, установленный в контейнере и предназначенный для приема вязкого материала. Пакет имеет отверстие, соединенное с дистальным концом контейнера и сообщающееся с его выпускным отверстием. Контейнер предназначен для приема несжимаемой жидкости под давлением, окружающей пакет, таким образом, сжимая пакет и вытесняя вязкий материал, содержащийся в нем, через выпускное отверстие контейнера. Устройство для инъекции вязкого материала в ткань пациента содержит нерастяжимый контейнер, приспособление для оказания давления в жидкостном соединении с нерастяжимым контейнером и элемент, перемещающий материал. Контейнер имеет проксимальный конец, в котором выполнено впускное отверстие, дистальный конец, в котором выполнено выпускное отверстие, предназначенное для сообщения с канюлей. Приспособление для оказания давления выполнено с возможностью создания повышения давления несжимаемой жидкости. Приспособление для оказания давления содержит корпус и силовой поршень. Корпус имеет вход для жидкости, выход для жидкости и путь потока жидкости, образованный между ними, по меньшей мере один обратный клапан в пути потока, регулирующий поток жидкости. Выход для жидкости находится в жидкостном соединении с контейнером. Силовой поршень соединен с корпусом в жидкостном соединении с путем потока. Силовой поршень выполнен с возможностью создания выигрыша в силе путем увеличения давления в пути потока жидкости при перемещении несжимаемой жидкости между первым и вторым положениями. Перемещение силового поршня ко второму положению создает всасывающую силу, проводящую несжимаемую жидкость через вход. Обратный клапан предотвращает обратный поток через выход и обратно в корпус. Перемещение силового поршня к первому положению создает давление, проводящее несжимаемую жидкость через обратный клапан из корпуса через выход и в нерастяжимый контейнер. Элемент, перемещающий материал, разделяет путь потока между нерастяжимым контейнером и приспособлением для оказания давления на участок для приема несжимаемой жидкости и участок для приема вязкого материала. Элемент, перемещающий материал, способен перемещаться под действием давления, оказываемого на него несжимаемой жидкостью внутри участка для приема несжимаемой жидкости, к выпускному отверстию нерастяжимого контейнера, таким образом, вытесняя вязкий материал из участка для приема вязкого материала в канюлю. Во втором варианте устройства для инъекции вязкого материала в канюлю элемент, перемещающий материал, включает в себя мембрану, способную эластично растягиваться под давлением несжимаемой жидкости, воздействующим на нее. Изобретение обеспечивает выигрыш по силе при инъекции вязкого материала. 5 н. и 44 з.п. ф-лы, 14 ил.

Реферат

ПРЕДПОСЫЛКИ ИЗОБРЕТЕНИЯ

Область, к которой относится изобретение

Изобретение относится к области инъекции биомеханических материалов, более точно к устройству для инъекции высоковязкого материала в участок тела пациента.

Описание предшествующего уровня техники

Остеопороз возникает из-за постепенной потери костных минералов наряду с постепенным структурным изменением губчатой кости (повышенная пористость, потеря горизонтальных опор и т.д.). Губчатая кость поэтому теряет плотность и прочность и становится более подверженной так называемым патологическим переломам. Зачастую возникают патологические переломы позвоночника, приводящие к хронической боли, постепенной деформации и, возможно, даже к неврологическим расстройствам и повреждениям.

Чрескожная пластика позвоночника является новой процедурой, используемой для упрочнения механически непрочного позвоночника, пораженного остеопорозом. При данной процедуре проводят инъекцию вязкого костного цемента в губчатую кость позвоночника. Цемент после затвердевания становится постоянным упрочнением тела позвонка и, как правило, значительно снижает боль, испытываемую пациентом. Также известна инъекция вязких материалов в другие ткани тела, например инъекция вязкого костного цемента для механического наращивания проксимальной бедренной ости, метафизарных участков вокруг колена или дистального отдела лучевой кости, или инъекция гелеобразных (по существу более мягких) материалов в межпозвоночный диск для замены пульпозного ядра.

Зачастую для доступа к позвоночнику используется подход проникновения через кожу сзади и транспедикулярный подход. Данный подход может быть как одно- так и бипедикулярным. Альтернативные хирургические подходы представляют собой заднелатеральный и межпоперечный, с прямым латеральным проникновением в корпус позвоночника.

Подкожная пластика позвоночника также может быть использована для упрочнения позвоночников, ослабленных из-за остеолитических позвоночных опухолей (гемангиома, метастатические позвоночные опухоли и т.д.).

Подкожная транспедикулярная пластика позвоночника, как правило, осуществляется при помощи иглы Jamshidi для биопсии кости 8 или 11 размера длиной примерно 15 см, состоящей из прямой канюли с Т-образной рукояткой и съемным троакаром. Троакар используется наряду с канюлей для прокалывания кожных слоев и трубчатой кости позвоночника с тем, чтобы кончик канюли мог быть расположен транспедикулярно в губчатой кости позвоночника. Троакар затем удаляется, и костный цемент поступает через канюлю, как правило, под флюороскопическим контролем в губчатую кость позвонка.

Для равномерного пропитывания позвонка и во избежание нежелательных утечек необходимо, чтобы костный цемент имел вязкость, предпочтительно, более 100 Па·с, возможно, даже более 300 Па·с. Инъекция низковязкого костного цемента может вызвать утечку цемента в окружающие кровеносные сосуды, что потенциально приводит к серьезным проблемам, таким как падение артериального давления и/или к закупорке легких, возможно, с летальным исходом. Немедленное прерывание процедуры при своевременном обнаружении проблемы может снизить вред, но не позволяет по существу его избежать. Поэтому желательно, чтобы хирурги работали с относительно высоковязкими костными цементами для действительного снижения, а возможно, даже для избежания потенциального риска возникновения таких проблем.

Обычно хирурги используют многочисленные шприцы малого объема (например, объемом от 1 до 3 куб. см), посредством которых хирург при помощи одной руки может создать давление, необходимое для инъекции относительно высоковязкого костного цемента. Однако даже при желаемой вязкости костного цемента при данном способе лечения все же существует повышенный риск утечки цемента, если хирург отвлечется от процедуры из-за постоянной необходимости замены шприцев. Прочие недостатки работы с небольшими шприцами заключаются в том, что эта процедура отнимает много времени, является неприятной и досрочное наполнение множества небольших шприцев цементом может вызвать закупорку иглы шприца.

В некоторых случаях при использовании высоковязкого цемента процедура может быть прекращена из-за того, что давление инъекции становится слишком большим для того, чтобы его можно было создать вручную. Максимальное давление, которое можно создать при помощи одной руки для стандартного шприца на 2 куб. см, грубо составляет порядка 1700 кПа. Использование высоковязкого цемента предполагает, что большая часть давления инъецирования, создаваемого хирургом, требуется для преодоления трения цемента в канюле. Требуемое давление инъекции может легко достигать 1900 кПа в случае канюли 8 размера длиной 15 см и 6900 кПа в случае канюли 11 размера длиной 15 см, что значительно превышает предел давления, которое хирург может создать вручную для инъекции цемента при помощи стандартного шприца.

Были разработаны способы и устройства для обеспечения достаточного давления для инъекции относительно вязких костных цементов и/или для обеспечения достаточных объемов цемента, но каждый из них имеет существенные недостатки.

Например, некоторые устройства включают в себя ручные рычажные насосы или ходовые винты, что делает их крупными и громоздкими. Несмотря на то что эти устройства способны создавать необходимые давления, они не подходят для установки непосредственно поверх канюли из-за существующих ограничений по весу. Также использование более крупных устройств представляет собой очень трудоемкий многоуровневый процесс, требующий трех или четырех блоков одновременно. Вертикальный размер подобных устройств делает их непрактичными в применении. Для решения вышеупомянутой проблемы некоторые устройства, создающие выигрыш по силе, присоединяются к канюле при помощи длинной трубки малого диаметра. К сожалению, трение цемента, протекающего через длинную трубку малого диаметра, относительно высоко, и следовательно, большая часть силы, выработанной устройствами, используется для преодоления трения. Более того, включение длинной подающей трубки достаточно большого диаметра для обеспечения потока цемента и намного большее давление, необходимое для преодоления дополнительного трения, существенно ограничивают тактильную обратную связь для хирурга. Данное ограничение в наибольшей степени вызвано увеличением протяженности системы, вызванным большими давлениями и более длинным трубопроводом (т.е. тактильная обратная связь менее прямая).

В публикации патентной заявки США 2005/0070915 А1, патентообладателем которого являются Mazzuca и др., описано устройство, включающее в себя подающую трубку, простирающуюся наружу из флюороскопического радиационного поля для безопасного управления перемещением костного цемента в тело пациента, в то же время принимая во внимание необходимые требования по давлению. В предпочтительном воплощении вязкий материал не перемещается при помощи подающей трубки, таким образом, заметно снижая трение в устройстве. Более того, указано, что подающая трубка является по природе нерастяжимой, однако в действительности раскрыто, что присутствует растяжимость, которая все же очень велика даже при значениях, указанных в описании. Изменение объема на 10% при рабочем давлении около 8274 кПа для трубки диаметром 2,5 мм и длиной 60 см приводит к увеличению объема цемента на 1/3 см3. Если давление в системе достигает 8274 кПа, растяжимость устройства может быть крайне опасной для пациента.

Соответственно существует необходимость в устройстве для инъекции вязкого материала, которое решает некоторые или все вышеуказанные проблемы.

Краткое описание изобретения

Следовательно, целью настоящего изобретения является создание устройства, обеспечивающего выигрыш по силе при инъекции вязкого материала.

Также целью настоящего изобретения является обеспечение устройства для инъекции высоковязкого материала через канюлю в участок тела пациента.

Следовательно, согласно одному объекту настоящего изобретения обеспечивается устройство для инъекции высоковязкого материала в канюлю, содержащее контейнер, являющийся нерастяжимым и имеющий выпускное отверстие, предназначенное для сообщения с канюлей для транспортировки через нее высоковязкого материала, приспособление для оказания давления в жидкостном соединении с контейнером, при этом приспособление для оказания давления ограничивает путь потока, по которому перемещается несжимаемая жидкость, и элемент, перемещающий материал, прерывающий путь потока жидкости и образующий участок для приема несжимаемой жидкости с одной стороны, и участок для приема высоковязкого материала с противоположной стороны, при этом участок для приема несжимаемой жидкости сообщается с путем потока жидкости приспособления для оказания давления, и участок для приема высоковязкого материала сообщается с выпускным отверстием контейнера, при этом элемент, перемещающий материал, может быть перемещен под действием давления несжимаемой жидкости, оказываемого на него, для вытеснения высоковязкого материала из участка для приема высоковязкого материала в контейнере в канюлю.

Согласно другому объекту настоящего изобретения обеспечивается устройство для инъекции высоковязкого материала, содержащее корпус, являющийся нерастяжимым, элемент, перемещающий материал, разделяющий нерастяжимый корпус на первую полость первого объема, предназначенную для приема несжимаемой жидкости, и вторую полость второго объема, предназначенную для приема высоковязкого материала, при этом элемент, перемещающий материал, может быть перемещен для изменения первого и второго объемов обратно пропорционально, и приспособление для оказания давления для перемещения несжимаемой жидкости в первую полость, которое смещает элемент, перемещающий материал, для увеличения первого объема и уменьшения второго объема, таким образом, вытесняя высоковязкий материал из нерастяжимого корпуса.

Согласно еще одному объекту настоящего изобретения обеспечивается контейнер для устройства для инъекции высоковязкого материал в ткани пациента, содержащий проксимальный конец, дистальный конец, образующий выпускное отверстие, сообщающееся с канюлей, гибкий, но нерастяжимый пакет, помещенный в контейнер и способный принимать высоковязкий материал, при этом пакет имеет отверстие, соединенное с дистальным концом контейнера и сообщающееся с его выпускным отверстием, при этом контейнер предназначен для приема несжимаемой жидкости под давлением, окружающей пакет, таким образом, сжимая пакет и вытесняя высоковязкий материал, находящийся в нем, через выпускное отверстие в контейнере.

Согласно еще одному объекту настоящего изобретения обеспечивается устройство для инъекции высоковязкого материала в ткань пациента, содержащее нерастяжимый контейнер, имеющий проксимальный конец, в котором выполнено впускное отверстие, дистальный конец, в котором выполнено выпускное отверстие, сообщающееся с канюлей, приспособление для оказания давления в жидкостном соединении с нерастяжимым контейнером, при этом приспособление для оказания давления способно создавать повышение давления несжимаемой жидкости. Приспособление для оказания давления содержит корпус, имеющий вход для жидкости, выход для жидкости, и путь потока жидкости, выполненный между ними, по меньшей мере один обратный клапан на пути потока, регулирующий поток жидкости, при этом выход для жидкости находится в жидкостном соединении с контейнером, и силовой поршень, соединенный с корпусом, в жидкостном соединении с путем потока, при этом силовой поршень создает выигрыш по силе путем увеличения давления в пути потока, когда несжимаемая жидкость перемещается между первым и вторым положениями, при этом при перемещении ко второму положению силовой поршень создает всасывающую силу, проводящую несжимаемую жидкость через вход, при этом обратный клапан предотвращает обратное течение через выход обратно в корпус, при перемещении силового поршня к первому положению создается давление, проводящее несжимаемую жидкость через обратный клапан из корпуса через выход в нерастяжимый контейнер. Устройство дополнительно содержит элемент, перемещающий материал, разделяющий путь потока жидкости между нерастяжимым контейнером и приспособлением для оказания давления на участок для приема несжимаемой жидкости и участок для приема высоковязкого материала, при этом элемент, перемещающий материал, может перемещаться под давлением, оказываемым на него несжимаемой жидкостью внутри участка для приема несжимаемой жидкости, по направлению к выпускному отверстию нерастяжимого контейнера, таким образом, вытесняя высоковязкий материал из участка для приема высоковязкого материала в канюлю.

Краткое описание чертежей

В дальнейшем будет сделана ссылка на прилагаемые чертежи, изображающие в виде примера предпочтительное воплощение изобретения, на которых:

фиг.1 изображает вид в перспективе устройства, содержащего контейнер и приспособление для оказания давления для инъекции вязкого материала в соответствии с первым отдельным воплощением настоящего изобретения;

фиг.2 изображает другой вид в перспективе устройства, показанного на фиг.1;

фиг.3 изображает разрез устройства по линии сечения 3-3 с фиг.2;

фиг.4 изображает разрез устройства по линии сечения 4-4 с фиг.2;

фиг.5а изображает вид в перспективе одного воплощения гибкого пакета устройства фиг.1;

фиг.5b изображает вид в перспективе другого воплощения гибкого пакета устройства фиг.1;

фиг.6 изображает разрез устройства в соответствии со вторым отдельным воплощением настоящего изобретения, показывающий контейнер, присоединенный к приспособлению для оказания давления при помощи выносной магистрали;

фиг.7 изображает разрез устройства в соответствии с третьим воплощением настоящего изобретения, показывающий предохранительный переключатель;

фиг.8 изображает разрез устройства в соответствии с четвертым воплощением настоящего изобретения, показывающий гибкую мембрану в расширенной конфигурации;

фиг.9 изображает разрез устройства в соответствии с пятым воплощением настоящего изобретения, показывающий двойную гибкую мембрану;

фиг.10 изображает разрез устройства в соответствии с шестым воплощением настоящего изобретения;

фиг.11 изображает вид в перспективе приспособления для оказания давления фиг.10;

фиг.12 изображает разрез устройства в соответствии с седьмым воплощением настоящего изобретения;

фиг.13 изображает разрез устройства в соответствии с восьмым воплощением настоящего изобретения, показывающий систему регулирования температуры;

фиг.14 изображает покомпонентный вид устройства в соответствии с девятым воплощением настоящего изобретения, показывающий устройство типа канюли.

Описание предпочтительных воплощений

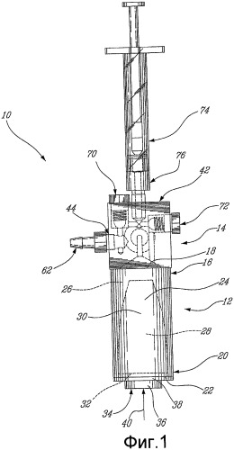
Фиг.1-4 изображают первое воплощение устройства, способного создавать выигрыш по силе для инъекции вязкого материала в ткани. В целом устройство, обозначенное ссылочной позицией 10, показано как содержащее нерастяжимый контейнер 12, присоединенный к приспособлению 14 для оказания давления. Контейнер 12 способен сообщаться с канюлей (не показана), расположенной в желаемом участке в теле пациента, обычно в поле излучения флюороскопа. Устройство 10 содержит два материала, вязкий материал, который необходимо ввести в тело пациента, и несжимаемую жидкость для воздействия на вязкий материал для обеспечения оператору выигрыша по силе.

Более подробно, выражение «вязкий материал» и/или высоковязкий материал, используемое здесь, обозначает материал, обладающий вязкостью, значительно большей, чем вязкость несжимаемой жидкости, составляющей, предпочтительно, по меньшей мере 100 Па·с. Вязкость вязкого материала может составлять от 100 до 500 Па·с, но потенциально может быть еще больше. Вязкий материал включает в себя среди прочих материалов полиметилметакрилатный (РММА) цемент, кальциево-фосфатный цемент, физические или химические гели (например, полиэтиленгликоль, поливиниловый спирт), а несжимаемая жидкость, предпочтительно, представляет собой стерильную, нетоксичную, несжимаемую, низковязкую жидкость, такую как дистиллированная вода или физиологический раствор. Следует отметить, что низкая вязкость несжимаемой жидкости важна как для снижения трения в устройстве 10, так и для облегчения деаэрации жидкости в ходе сборки инъекционного устройства, что будет описано далее.

Устройство 10 способно инъецировать вязкий материал в любую существующую полость или искусственно выполненную полость, при этом последняя может быть выполнена в ходе инъекции. Более точно, процедура инъекции осуществляется в целях либо наращивания ткани, либо замещения ткани. Наращивание ткани приводит к большей механической прочности и увеличению объема. Замещение ткани осуществляется из-за потери ткани вследствие физиологического или патологического процесса (например, старение, дегенерация, инфекция, травма) или из-за хирургического удаления.

Одним из возможных применений является инъекция относительно вязкого костного цемента в тело позвонка для наращивания (см. фиг.14), в то время как другим возможным применением является замещение ткани межпозвоночного диска, более точно пульпозного ядра, вязким гелем. Прочими применениями являются инъекции костного цемента для механического наращивания в другие кости пациента, такие как проксимальная бедренная кость, метафизарные области длинной кости вокруг колена, дистальный отдел лучевой кости и прочие.

Контейнер 12, предпочтительно, имеет цилиндрическую форму, на его проксимальном конце 16 выполнено впускное отверстие 18, и на его дистальном конце 20 выполнено выпускное отверстие 22. Контейнер 12 имеет элемент 24, перемещающий материал, ограничивающий первую полость 26, сообщающуюся с впускным отверстием 18, и вторую полость 28, сообщающуюся с выпускным отверстием 22. Первая полость 26 предназначена для приема несжимаемой жидкости, а вторая полость 28 предназначена для приема вязкого материала.

В одном конкретном воплощении элемент 24, перемещающий материал, представляет собой гибкий нерастяжимый пакет 30, который может быть включен в контейнер 12, как показано на фиг.1-4. Термин гибкий означает гибкий, перемещаемый и деформируемый, в то время как термин нерастяжимый означает прочный и нерастягивающийся. Таким образом, например, гибкий и нерастяжимый пакет изготовлен из неэластичного материала, который при полном заполнении демонстрирует резкий подъем давления, в то же время сохраняя специфическую заданную форму и размеры. Таким образом, вторая полость 28 представляет собой пространство, ограниченное пакетом 30, и первая полость 26 представляет собой пространство, окружающее пакет 30 в контейнере 12. Пакет 30 имеет отверстие 32, в котором закреплен насадок 34. Насадок 34 содержит цилиндрический корпус 36 и фланец 38 и имеет сквозной центральный канал 40 для сообщения с отверстием 32 пакета 30. Фланец 38 выполнен как одно целое с корпусом 36 и имеет наружный диаметр, по существу такой же, как наружный диаметр контейнера 12 цилиндрической формы. Насадок 34 предназначен для сопряжения с контейнером 12, когда в него помещен пакет 30. Более точно, насадок 34 навинчивается на дистальный конец 20 контейнера 12, так что фланец 38 опирается на выпускное отверстие 22.

На фиг.5а и 5b изображены два соответствующих воплощения пакета 30, прикрепленного к насадку 34. Одно из преимуществ того, что пакет 30 может быть отсоединен от контейнера 12, заключается в том, что вязкий материал (т.е. костный цемент) может быть предварительно смешан простым и чистым способом, позволяя избежать сложных манипуляций со всем устройством 10. Возможно, пакет может даже поставляться, уже будучи заполненным материалом или его компонентами, позволяя смешивать цемент непосредственно в пакете. Таким образом, в этом воплощении пакет 30 и насадок 34 отделяются от контейнера 12, предварительно заполняются или заполняются материалом на месте и затем повторно присоединяются к контейнеру, когда наступает время вводить материал в желаемый участок.

Выполнение пакета 30, изображенное на фиг.5а, предназначено для облегчения выдавливания вязкого материала путем избежания возможного застревания на среднем участке. Более того, пакет 30 с фиг.5а может обеспечивать более легкую деаэрацию несжимаемой жидкости внутри первой полости 26. Пакет, изображенный на фиг.5b, является одним из примеров многих возможных форм, которые могут быть использованы для данного применения.

Пакет 30 выполняет функцию элемента, перемещающего материал, четко разделяющего несжимаемую жидкость и вязкий материал, но без каких-либо подвижных механических частей, которые создавали бы трение с внутренними стенками контейнера 12. Пакет 30 очень податливый для обеспечения хирургу максимальной тактильной обратной связи и, таким образом, для улучшения способности хирурга точно контролировать поток цемента. Пакет 30 тонкостенный, но обладает надлежащей прочностью и, предпочтительно, изготовлен из полиуретана, или из силикона, или из нетоксичного биологически совместимого материала.

Контейнер 12 может быть изготовлен из поликарбоната. Конечно, существует множество других материалов, которые способны выдерживать давления, создаваемые внутри контейнера 12. Предпочтительно, контейнер 12 может подавать достаточный объем вязкого материала для полного ввода необходимого количества высоковязкого материала за один раз без необходимости в повторном заполнении. Например, в случае инъекции костного цемента в поясничный отдел контейнер 12 может подавать по меньшей мере требуемые 10 кубических сантиметров костного цемента за один раз.

На фиг.1-4 показано приспособление 14 для оказания давления устройства 10, смежное с проксимальным концом 16 контейнера 12, в жидкостном соединении с ним. По существу, приспособление 14 для оказания давления использует несжимаемую жидкость для повышения давления для создания выигрыша в силе для инъекции относительно высоковязкого материала. Приспособление 14 для оказания давления накачивает несжимаемую жидкость в контейнер 12, таким образом, вытесняя относительно высоковязкий материал через выпускное отверстие 22 в канюлю. Более точно, несжимаемая жидкость инжектируется в первую полость 26 контейнера 12 до тех пор, пока не создастся достаточное давление на элемент 24, перемещающий материал, вынуждающее его перемещаться. Таким образом, инжектирование несжимаемой жидкости вызывает увеличение объема первой полости 26 и уменьшение объема второй полости 28, таким образом, вытесняя содержимое второй полости 28 через выпускное отверстие 22.

На фиг.1-4 приспособление 14 для оказания давления и контейнер 12 объединены и образуют устройство 10. Следует понимать, что приспособление 14 для оказания давления и контейнер 12 могут быть выполнены как отдельные элементы, соединенные между собой для выполнения желаемой функции, или могут быть выполнены как одно целое, таким образом, формируя единый физический блок.

На фиг.6 изображено второе воплощение, где контейнер 12 и приспособление 14 для оказания давления могут быть соединены при помощи промежуточной магистрали, выполненной в виде трубки 41 с малым внутренним диаметром с низкой растяжимостью, диаметр которой составляет менее 1 мм, с толстыми стенками. Данное воплощение позволяет удалить приспособление для оказания давления из области излучения, в то же время сохраняя тактильную обратную связь с устройством. Контейнер 12, содержащий вязкий цемент, остается на как можно более близком расстоянии от места ввода. Поскольку растяжимость (в данном случае выносящей магистрали 41) приобретает большую важность для данного воплощения, важно, чтобы диаметр трубки 41 был как можно меньшим, с тем чтобы поверхностное трение, воздействующее на трубку, для любого заданного давления внутри трубки было минимальным и с тем чтобы толщина стенки относительно внутреннего диаметра трубки могла быть достаточно большой для минимизации растяжимости.

Как наилучшим образом показано на фиг.2 и 3, приспособление 14 для оказания давления содержит корпус 42, имеющий вход 44 для жидкости, выход 46 для жидкости, и путь 48 потока жидкости, образованный между ними. В первом воплощении, изображенном на фиг.1-4, корпус 42 изображен как квадратный, однако следует понимать, что корпус может принимать одну из множества других форм. В целях иллюстрации корпус 42 будет описан как имеющий верхнюю поверхность 50, донную поверхность 52 и четыре боковых поверхности 54, 56, 58 и 60 соответственно.

Более точно, вход 44 для жидкости расположен на боковой поверхности 54 и сообщается с соединителем 62 линии подачи жидкости. Соединитель 62 линии подачи представлен в данном примере как вставная соединительная деталь, предназначенная для подсоединения линии подачи из резервуара. Например, может быть использован резервуар для подачи самотеком, так что несжимаемая жидкость входит во вход 44 для жидкости с достаточным давлением напора, созданным при помощи высоты расположения резервуара. Такой резервуар, например мешок для хранения жидкостей, заполненный стерильным раствором, или жидким раствором, или водой, или любым физиологическим раствором, как правило, имеется в большинстве операционных. Альтернативно, данное давление несжимаемой жидкости может быть создано при помощи подходящих механических средств. В другом примере соединитель 62 линии подачи жидкости может представлять собой охватывающий зажим Люэра, позволяющий присоединить шприц, содержащий несжимаемую жидкость, для выполнения функции резервуара. Предпочтительно, в обоих вышеописанных примерах устройство 10 совместимо с уже существующими аппаратами, что упрощает его конструкцию.

Вновь ссылаясь на фиг.1-4, выход 46 для жидкости приспособления 14 для оказания давления расположен в донной поверхности 52 для сообщения с впускным отверстием 18 контейнера 12. Путь 48 потока ограничен тремя соединенными между собой, перпендикулярно сориентированными трубками 64, 66 и 68.

Устройство 14 для оказания давления дополнительно содержит первый и второй обратные клапаны 70 и 72 соответственно в пути 48 потока, регулирующие поток жидкости. Предпочтительно, трубка 64 проходит от входа 44 для жидкости до первого обратного клапана 70, трубка 66 проходит от первого обратного клапана 70 до второго обратного клапана 72, и трубка 68 проходит от второго обратного клапана 72 до выхода 46 для жидкости. Первый обратный клапан 70 выступает на верхней поверхности 50 корпуса 42, в то время как второй обратный клапан 72 выступает с его боковой стороны 58.

Первый и второй обратные клапаны 70, 72 представляют собой клапаны одностороннего действия, установленные для обеспечения потока жидкости в одном направлении. Более точно, первый обратный клапан 70 предотвращает поток жидкости обратно из входа 44 для жидкости, и подобным образом второй обратный клапан 72 предотвращает забор жидкости в путь 48 потока через выход 46 для жидкости.

Теперь со ссылкой на фиг.1 можно увидеть, что приспособление 14 для оказания давления дополнительно содержит силовой поршень 74, соединенный с корпусом 42, в жидкостном соединении с путем 48 потока между первым и вторым обратными клапанами 70, 72. Более подробно, приспособление 14 для оказания давления имеет герметичный соединитель 76, предназначенный для приема силового поршня 74 (фиг.1-4). Герметичный соединитель 76 находится в жидкостном соединении с трубкой 66 между первым и вторым обратными клапанам 70, 72 и отходит от верхней поверхности 50 корпуса 42. Герметичный соединитель 76 представляет собой охватывающую соединительную деталь типа зажима Люэра. В качестве силового поршня 74 может быть использован любой стандартный шприц, однако наибольший выигрыш в силе будет достигаться при помощи шприца наименьшего возможного диаметра, поскольку сила, требуемая для его накачивания, снижается или максимальное получаемое давление увеличивается. Приспособление 14 для оказания давления при использовании шприца объемом 1 кубический сантиметр показало достижение давления до 3792 кПа. Сила, прикладываемая к силовому поршню 74, приводит к давлению, которое передается без уменьшения через несжимаемую жидкость к дистальной диафрагме. Следует отметить, что в вышеуказанной системе давление, требуемое для инъекции вязкого материала, не зависит от геометрии контейнера 12. Однако следует отметить, что силовой поршень 74 может быть встроен в устройство 10 вместо выполнения в виде стандартного шприца.

Силовой поршень 74 способен перемещаться между первым и вторым положением, при этом первое положение соответствует максимальному сжатию, как показано на фиг.1, и второе положение соответствует наибольшему расширению. При перемещении ко второму положению силовой поршень 74 создает силу всасывания, вводящую несжимаемую жидкость через вход 44 для жидкости через первый обратный клапан 70. Тем временем второй обратный клапан 72 предотвращает обратный поток жидкости из первой полости 26 в корпус 42 через выход 46 для жидкости. При перемещении к первому положению силовой поршень создает давление, проводящее несжимаемую жидкость через второй обратный клапан 72 из корпуса 42 через выход 46 для жидкости, в то время как первый обратный клапан 70 предотвращает выпуск жидкости обратно из корпуса 42 через вход 44 для жидкости. После прекращения потока второй обратный клапан закрывается, таким образом, запирая жидкость в первой полости 26. Повторение этого процесса, т.е. накачивание силовым поршнем 74, позволяет оператору накачать большие объемы несжимаемой жидкости при одинаковых давлениях.

Следует отметить, что приспособление 14 для оказания давления может включать в себя возвратную пружину (не показано) для автоматической разгрузки силового поршня 74. Добавление возвратной пружины позволяет управлять устройством одной рукой. Освобождение второй руки хирурга обеспечивает возможность управления сразу двумя устройствами, таким образом, снижая время операции.

Более того, трос внутри оболочки (не показан), подобный велосипедному тросу, может быть присоединен к силовому поршню 74 для его удаленного приведения в действие. Это является преимуществом для хирургов, которые предпочитают не помещать свои руки в область облучения. Трос практически не обладает растяжимостью, или его растяжимость очень мала, и он сохраняет чувствительную обратную связь при инъекции устройством 10.

Дополнительно приспособление 14 для оказания давления, предпочтительно, включает в себя предохранительные элементы. Одним из возможных предохранительных элементов, которые могут быть выполнены в устройстве 10, является разгрузочный клапан 78 (см., например, фиг.4) для выравнивания давления внутри устройства 10, более точно внутри первой полости 26 контейнера 12, с атмосферным давлением. В частности, ссылаясь на фиг.2 и 4, разгрузочный клапан 78 показан в жидкостном соединении с контейнером 12, более точно с его первой полостью 26, в месте значительного повышения давления. Разгрузочный клапан 78 показан как выступающий с боковой поверхности 56 корпуса 42 и соединенный с трубкой 80, формирующей разгрузочный путь 82. Разгрузочный путь 82 не зависит от пути 48 потока жидкости, проходящего в корпусе 42. Трубка 80 простирается внутрь корпуса 42, так что она сообщается с впускным отверстием 18 контейнера 12 на одном конце и с разгрузочным клапаном 78 на другом конце, независимо от конфигурации соединенных трубок, описанной ранее.

Поэтому в ходе операции, включающей инъекцию вязкого материала в участок тела пациента при помощи устройства 10, хирург может быстро задействовать разгрузочный клапан 78 для обеспечения возможности немедленного и полного снятия давления на вязкий материал, так что поток прекращается в кратчайшее время. Альтернативно, разгрузочный клапан может быть по существу предохранительным. На фиг.7 изображено третье воплощение устройства 10, включающее в себя предохранительный переключатель, такой как "автоматический экстренный переключатель", который хирург должен удерживать закрытым для работы устройства 10 и отпускает для снятия давления. Более точно, предохранительный переключатель включает в себя участок 79 шпильки и пружину 81. Когда предохранительный переключатель нажат, объем несжимаемой жидкости накапливается в контейнере 12 и участок шпильки 79 блокирует возникновение обратного потока. После освобождения предохранительного клапана пружина 81 выталкивает участок шпильки 79 наружу, таким образом, выравнивая канал 83, выполненный в ней, с разгрузочной магистралью 82, тем самым позволяя несжимаемой жидкости вытекать из первой полости. 26 контейнера 12. Такой предохранительный переключатель обычно в данной области техники называют поршневым клапаном или литниковым клапаном.

Разгрузочный клапан является предохранительным и включает в себя поршневой клапан, способный перемещаться между нажатым положением и свободным положением, при этом в нажатом положении разгрузочный клапан позволяет давлению повышаться, и в свободном положении разгрузочный клапан снимает увеличение давления в участке для приема несжимаемой жидкости.

Более того, поскольку устройство 10 основано на принципе использования несжимаемой жидкости, желательно продуть или удалить воздух из устройства до ввода любой несжимаемой жидкости. Разгрузочный клапан 78 может помочь очистить устройство 10 от любого захваченного воздуха. Эффективным способом удаления оставшегося воздуха является приведение силового поршня 74 во второе положение и затем активация разгрузочного клапана 78 и одновременное нажатие на силовой поршень 74 для вытеснения воздуха и/или любой нежелательной жидкости из системы.

Другим предохранительным элементом, который может быть включен как часть устройства 10, является всасывающее отверстие (не показано). Подобно разгрузочному клапану 78, всасывающее отверстие может быть предусмотрено в корпусе 42 так, что оно независимо сообщается с первой полостью 26. Всасывающее отверстие позволяет создать давление разрежения при помощи подсоединения вакуума или при помощи шприца. Вакуум может помочь преодолеть растяжимость костного цемента из-за вовлечения воздуха в ходе процесса перемешивания. Захваченный воздух может быть сжат и, таким образом, накапливает энергию в сжатом цементе. Давление разрежения, создаваемое под действием всасывания, будет быстро снижать давление цемента. Дополнительно давление разрежения в устройстве 10 может потенциально всасывать вязкий материал, уже введенный в участок тела пациента, обратно в канюлю и в контейнер 12. Эта функция очень желательна для хирурга для уменьшения утечки цемента, возникающей в результате инъекции слишком большого количества цемента в участок тела пациента.

Другим предохранительным элементом, который может быть включен в устройство 10, является датчик давления (не показан). Датчик давления размещен вдоль пути 48 потока после второго обратного клапана 72. Как только давление в устройстве 10 становится достаточно большим для того, чтобы перемещать вязкий материал, давление начинает падать, таким образом, предпочтительно, чтобы хирург был снабжен этой информацией при помощи датчика давления. Дополнительно, когда известно давление, требуемое для вытеснения цемента из канюли, хирург может определить величину вязкости вязкого материала и определить идеальный момент для начала инъекции.

Теперь, ссылаясь на фиг.8, показано четвертое воплощение устройства 10. Подобные номера ссылок используются для обозначения подобных признаков. Данное воплощение отличается от первого представленного воплощения тем, что вместо гибкого нерастяжимого пакета, прикрепленного к насадку 34, элемент, перемещающий материал, выполнен как мягкая и растяжимая мембрана у входа 18 на проксимальном конце 16 контейнера 12. Мембрана 30' второго воплощения покрывает вход 18, когда давления нет, таким образом, первая и вторая полости 26, 28 контейнера 12 образуются, когда к мембране 30' приложено давление. В данном воплощении первая полость 26 выполнена как пространство, ограниченное расширенной мембраной 30', и вторая полость 28 выполнена как пространство, о