Электрический дозирующий вентиль хлоратора

Иллюстрации

Показать все

Изобретение относится к арматуростроению и предназначено в качестве запорного вентиля для открытия, закрытия и регулирования потока газообразного хлора в хлоропроводе хлоратора, используемого для обеззараживания воды газообразным хлором. Электрический дозирующий вентиль хлоратора состоит из корпуса вентиля, основания вентиля, седла вентиля, оси привода вентиля с затвором, патрубка для входа хлора, патрубка для выхода хлора, разъемной оси привода вентиля, электрического привода вентиля, затвора и блока коммутации для дистанционного управления расходом хлора. Разъемная ось привода состоит из собственно оси привода вентиля и оси затвора вентиля с конструктивным зазором между ними в узле разъемного соединения. Электрический привод вентиля расположен на верхнем конце оси привода вентиля. Затвор расположен на нижнем конце оси затвора вентиля, выполненной из серебра. Блок коммутации для дистанционного управления расходом хлора встроен в корпусе вентиля. Изобретение направлено на повышение безопасности работы с газообразным хлором и на повышение точности дозирования газообразного хлора при обеззараживании воды на водопроводных станциях. 3 ил.

Реферат

Изобретение относится к запорной арматуре, предназначенной для открытия, закрытия и регулирования потока газообразного хлора в хлоропроводе хлоратора, предназначенного для обеззараживания воды газообразным хлором, и может быть использовано в народном хозяйстве на водопроводных станциях для обеззараживания питьевых, промышленных и сточных вод.

Известно множество устройств запорной арматуры http://ru.wikipedia.org. К запорной арматуре относят краны, задвижки, вентили, клапаны. Запорная арматура этого устройства для открытия и закрытия потоков жидкостей или газов в трубопроводах, газопроводах, резервуарных патрубках, сливных и других распределительных устройствах. В зависимости от конструкции запирающего элемента и назначения запорная арматура подразделяется на огромное количество видов задвижек, кранов, клапанов, вентилей.

Задвижки этого устройства предназначены для эксплуатации в положении «открыто» или «закрыто» и не предназначены для регулирования потока среды.

Вентили (краны, запорные клапаны) - устройства, предназначенные для открытия, закрытия и регулирования потока среды. Управление запорной арматурой (вентилем, краном, запорным клапаном, задвижкой) осуществляется вручную (маховиком, барашком, штурвалом), с помощью электропривода, пневмопривода, гидропривода или электромеханического привода.

Из всего множества аналогов наиболее близким по технической сущности к заявляемому устройству является аналог «Вентиль электромеханический ВЭП» (info.promtex.ru. Компания Промтех. 2009). Вентиль предназначен для открытия, закрытия потока рабочей среды и регулирования ее расхода с помощью электромеханического привода с концевыми выключателями, ручным маховиком и электронным позиционером.

Недостатком данного устройства, а также всех известных аналогов является то, что они не предназначены для работы с газообразным хлором и не могут обеспечить безопасность работы с хлором, а также требуют для их управления присутствия человека в рабочей зоне.

Наиболее близким по технической сущности и достигаемому результату является регулирующий вентиль хлоратора (Патент РФ 1692627, B01F 3/04). Регулирующий вентиль предназначен для открытия, закрытия и регулирования потока газообразного хлора в хлоропроводе хлоратора, предназначенного для обеззараживания воды на водопроводных станциях. Регулирующий вентиль фиг.1 состоит из корпуса 1, затвора 2, оси привода вентиля 3, гнезда вентиля 4, основания вентиля 5, маховика 6, патрубка для входа хлора 7, патрубка для выхода хлора 8. Регулирование и управление потоком газообразного хлора осуществляется вручную с помощью маховика 6, насаженного на ось привода конусообразного штока.

Недостатком данного устройства является то, что открытие, закрытие, регулирование потока газообразного хлора осуществляется вручную. Ручной способ управления потоком газообразного хлора не может обеспечить надежной безопасности на рабочем месте, так как требует присутствия человека в опасной зоне. Отсутствие автоматической системы регулирования расхода газообразного хлора и управления процессом с токсической средой на расстоянии является существенным его недостатком. Данное устройство также из-за ручного способа управления расходом хлора не может обеспечить высокую точность дозирования и поддержания требуемой концентрации хлора в воде.

Техническим результатом изобретения является повышение безопасности работы с газообразным хлором и повышение точности дозирования газообразного хлора при обеззараживании воды на водопроводных станциях.

Технический результат достигается тем, что электрический дозирующий вентиль хлоратора, состоящий из корпуса вентиля, основания вентиля, седла вентиля, оси привода вентиля с затвором, патрубка для входа хлора, патрубка для выхода хлора, содержит ось привода вентиля разъемную, состоящую собственно из оси привода вентиля и оси затвора вентиля с конструктивным зазором между ними в узле разъемного соединения, электрический привод вентиля, расположенный на верхнем конце оси привода вентиля, и затвор на нижнем конце оси затвора вентиля, выполненной из серебра, и встроенный в корпус вентиля блок коммутации для дистанционного управления расходом хлора.

Технический результат повышения безопасности при работе с газообразным хлором достигается благодаря тому, что ручное управление движением затвора вентиля заменено на электрическое. Подведение электропитания позволило открывать, закрывать и регулировать вентилем расход газообразного хлора с помощью электропривода в автоматическом режиме и управлять технологическим процессом на расстоянии с блока дистанционного управления.

Технический результат повышения точности дозирования достигается тем, что ось привода вентиля в отличие от прототипа конструктивно выполнена отдельными деталями и состоит из оси привода вентиля и оси затвора вентиля с конструктивным зазором между ними в узле разъемного соединения. В прототипе при ручном приводе вентиля ось привода вентиля и ось затвора вентиля являются одной цельной деталью. На верхний конец оси привода вентиля надет маховик, а нижний конец оси служит затвором. При электрическом приводе вентиля, если ось выполнена одной деталью, очень сложно достичь соосности затвора и седла вентиля и тем самым обеспечить точное регулирование расхода газообразного хлора.

Более высокая точность дозирования гарантируется еще и тем, что ось привода вентиля и ось затвора вентиля соединены между собой с конструктивным зазором в узле разъемного соединения, что позволяет оси затвора вентиля совершать кроме движения в вертикальном направлении еще и покачивающие, плавающие движения. Благодаря этому компенсируется конструктивная несоосность затвора и седла вентиля и затвор мягко самоустанавливается в седле вентиля, более плотно перекрывает отверстие и, тем самым, точнее регулирует зазор между седлом и затвором вентиля и осуществляет более точное дозирование.

Замена ручного привода вентиля на электропривод позволила также встроить в устройство блок коммутации для регулирования расхода хлора в автоматическом режиме и управление технологическим процессом вести на расстоянии с блока дистанционного управления без присутствия человека в рабочей зоне и этим повысить безопасность работы с хлором.

Использование серебряной оси затвора вентиля предотвращает обрастание ее продуктами взаимодействия с газообразным хлором и облегчает ее движение, что также повышает точность дозирования. Серебро в атмосфере газообразного хлора покрывается тонкой химостойкой пассивной пленкой, которая надежно защищает ось от коррозии.

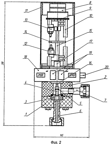
На фиг.2 изображен электрический дозирующий вентиль, общий вид.

Электрический дозирующий вентиль содержит корпус вентиля, состоящий из нижнего 1 и верхнего основания 2, седла вентиля 3, затвора вентиля 4, уплотнительного кольца 5, патрубка для входа хлора 6 и патрубка для выхода хлора 7; электропривод вентиля состоит из корпуса электропривода 8, электродвигателя 9, укрепленного на стержнях 10 и закрытого крышкой корпуса 11, нижнего 12 и верхнего 13 концевых выключателей, механического ограничителя 14, оси привода вентиля 15, соединенной в верхней части с электродвигателем 9, а в нижней - с осью затвора вентиля 16. Соединение оси привода вентиля 15 и оси затвора вентиля 16 является разъемным, т.е. они соединятся между собой в узле разъемного соединения 17. Ось привода вентиля 15 совершает вращательные движения и движения в вертикальном направлении, а ось затвора вентиля 16 совершает движения в вертикальном направлении и покачивающие, плавающие движения. Крышка корпуса электропривода 11 установлена на блоке коммутации 18 с помощью резьбового соединения. Блок коммутации 18 предназначен для автоматического включения и выключения электропривода 8 в процессе регулирования расхода хлора. Он имеет клавиши управления 19 на лицевой панели блока и гнезда 20 для ввода сигналов управления расходом хлора. Блок коммутации 18 закреплен на верхнем основании 2 корпуса вентиля крепежным соединением.

Узел разъемного соединения 17 (фиг.3) конструктивно обеспечивает соединение оси привода вентиля 15 с осью затвора 16 с помощью втулки 21, которая заблокирована от вращательного движения штифтом 22, входящим в вертикальную проточку 23, чем обеспечивается движение оси затвора вентиля только в вертикальном направлении. Ось привода вентиля 15 имеет соединение с электроприводом, чем обеспечивается ее вращательное и поступательное (вверх-вниз) движение. А наличие конструктивных зазоров между втулкой 21 и осью привода вентиля 15 создает люфт втулке 21 и обеспечивает покачивающие, плавающие движения оси затвора вентиля 16 относительно вертикали для обеспечения центрирования затвора 4 относительно седла 3.

Так как затвор 4 не вращается относительно гнезда вентиля 3, как это происходит в прототипе, то обеспечивается их плотная приработка в процессе эксплуатации. Надежность закрытия вентиля обеспечивается также уплотнительным кольцом 5 из хлоростойкой резины. Все детали, соприкасающиеся с хлором, выполнены из хлоростойких материалов, а ось затвора 16 выполнена из серебра.

Дозирование газообразного хлора при обеззараживании воды с помощью хлоратора электрическим дозирующим вентилем осуществляется следующим образом. Внешнее устройство (например, анализатор содержания хлора в воде) выдает на гнезда 20 блока коммутации 18 управляющие сигналы в зависимости от содержания хлора в воде. Электрический дозирующий вентиль в автоматическом режиме производит высокоточное дозирование газообразного хлора. Для этого электрический сигнал управления от гнезда 20 поступает на электродвигатель 9 и с помощью концевых выключателей 12 и 13 и механического ограничителя 14 происходит открытие, закрытие или изменение проходного сечения отверстия для входа хлора с помощью движущегося плавающего затвора 4.

Таким образом, предлагаемая конструкция электрического дозирующего вентиля газообразного хлора позволяет значительно повысить безопасность работы с газообразным хлором благодаря тому, что управление технологическим процессом можно вести дистанционно без присутствия человека в рабочей зоне. Также заявляемое устройство позволяет значительно повысить точность дозирования газообразного хлора при обеззараживании воды, что также повышает безопасность использования газообразного хлора. Точность дозирования газообразного хлора достигнута благодаря замене ручного дозирования на электропривод, позволившей вести управление расходом хлора в автоматическом режиме; благодаря использованию плавающего затвора, способного самоустанавливаться, и более точно регулировать проходное сечение, а также благодаря использованию серебряной оси затвора вентиля, предотвращающей обрастание оси затвора вентиля продуктами коррозии.

Электрический дозирующий вентиль хлоратора, состоящий из корпуса вентиля, основания вентиля, седла вентиля, оси привода вентиля с затвором, патрубка для входа хлора, патрубка для выхода хлора, отличающийся тем, что содержит ось привода вентиля разъемную, состоящую собственно из оси привода вентиля и оси затвора вентиля с конструктивным зазором между ними в узле разъемного соединения, электрический привод вентиля, расположенный на верхнем конце оси привода вентиля и затвор на нижнем конце оси затвора вентиля, выполненной из серебра, и встроенный в корпус вентиля блок коммутации для дистанционного управления расходом хлора.