Холодильный аппарат

Иллюстрации

Показать все

Холодильный аппарат с внешней и внутренней оболочками и расположенным между ними теплоизоляционным слоем имеет устройство для размещения модулей штекеров, которые предназначены для подсоединения электрических устройств холодильного аппарата в отверстии во внешней и/или внутренней оболочках холодильного аппарата. В отверстии предусмотрен адаптер, в котором с помощью фиксаторов с защелками закреплены модули штекеров для подсоединения электрических устройств. Модули штекеров являются унифицированными деталями, а адаптер в области, в которой монтируются модули штекеров, соответствует их стандартным размерам. Адаптер зафиксирован в отверстии во внешней оболочке и/или внутренней оболочке холодильного аппарата. Использование данного изобретения позволяет упростить монтаж модулей штекеров в холодильный аппарат. 7 з.п. ф-лы, 4 ил.

Реферат

Область техники

Изобретение относится к области холодильного аппарата согласно ограничительной части п.1 формулы изобретения.

Уровень техники

В холодильных аппаратах, например холодильниках и морозильных аппаратах, используется множество устройств, потребляющих электрический ток. К ним относятся, например, двигатели, устройства освещения и датчики. При этом ток разводится на несколько штекеров, к которым впоследствии могут подключаться потребители.

Эти штекеры обычно размещаются в отверстии во внутренней и/или внешней оболочке холодильного аппарата. Штекеры обычно покупаются как унифицированные детали и потому всегда имеют одинаковые размеры. В то же время толщина внешней оболочки холодильного аппарата в значительной мере зависит от типа холодильного аппарата и от условий производства. Поэтому в настоящее время часто возникают проблемы с точностью посадки унифицированных штекеров на различных типах холодильных аппаратов. Эти проблемы приводят к тому, что либо унифицированные штекеры, либо прорези во внешней оболочке холодильного аппарата требуют дополнительной затратной обработки.

После монтажа этих штекеров промежуточное пространство холодильных аппаратов, образующееся между внутренней и внешней оболочками, обычно заполняется пеной, так что вокруг полости для охлаждаемых продуктов формируется замкнутый изолирующий слой, по возможности цельный. Чтобы при этом воспрепятствовать проникновению пены в штекеры, каждый штекер должен быть защищен от пены клейкой лентой. Кроме того, необходимо предотвратить выдавливание пены между штекерами или штекерами и отверстием во внешней оболочке.

Сущность изобретения

Задачей изобретения является усовершенствование холодильного аппарата таким образом, чтобы избежать подобных проблем, и чтобы можно было без проблем монтировать унифицированные штекеры в холодильный аппарат. Кроме того, необходимо избежать затратного оклеивания каждого штекера клейкой лентой и, несмотря на это, предотвратить проникновение в него изолирующей пены.

Согласно изобретению данная задача решается при помощи холодильного аппарата с признаками, раскрытыми в пункте 1 формулы. Благодаря использованию адаптера может быть обеспечено соответствие для любого типа холодильного аппарата без необходимости использования при этом штекеров других типов или изменения унифицированных деталей. Адаптер выполнен таким образом, что в области, в которой монтируются штекеры, он соответствует их стандартным (унифицированным) размерам. В области, в которой адаптер монтируется в отверстии во внешней оболочке холодильного аппарата, адаптер соответствует холодильному аппарату.

Выгодным образом штекеры для подсоединения электрических устройств монтируются в адаптере с помощью фиксаторов с защелками. Монтаж штекеров в адаптере необязательно должен выполняться производителем холодильного аппарата, эту операцию можно передать непосредственно производителю штекеров. Таким образом, производитель холодильного аппарата может сократить расходы.

Собственно адаптер также крепится в отверстии во внешней оболочке холодильного аппарата с помощью фиксатора с защелками. Это позволяет избежать затратной юстировки отдельных штекеров по отношению друг к другу в не полностью стандартном по размерам отверстии холодильного аппарата.

Выгодным образом адаптер вводится в отверстие с внутренней стороны холодильного аппарата и фиксируется в отверстии. Таким образом, можно предотвратить выдавливание адаптера наружу при заполнении пеной промежуточного пространства. Благодаря монтажу с внутренней стороны пена еще плотнее фиксирует адаптер в отверстии. Во избежание выдавливания изолирующей пеной адаптера наружу через отверстие во внешней оболочке адаптер снабжается фланцем, упирающимся во внутреннюю сторону внешней оболочки. Фланец выполнен в виде кольцевого фланца, что обеспечивает плотное прилегание по всей длине бортика отверстия.

Адаптер делится на несколько областей. Это позволяет разместить в одном отверстии внешней оболочки несколько штекеров, которые должны монтироваться отдельно друг от друга.

Для подведения питающих кабелей к штекерам адаптер снабжается кабельным каналом. Этот кабельный канал соединен с фланцем, опирающимся на внутреннюю сторону внутренней и/или внешней оболочки, и проходит в промежуточное пространство между внутренней и внешней оболочками холодильного аппарата, заполняемое изолирующей пеной.

При создании изолирующего слоя путем заполнения пеной промежуточного пространства необходимо предотвратить проникновение пены в штекеры и повреждение их вследствие этого. Согласно изобретению уже предприняты меры, позволяющие избежать проникновения пены в кабельный канал адаптера. Для этого предусмотрена фасонная деталь из сжимаемого материала, соответствующая контуру канала. Эта фасонная деталь может, например, выполняться из вспененного материала, который в сжатом виде вводится в кабельный канал и за счет своей эластичности плотно прилегает к внутренним стенкам канала.

Чтобы можно было вывести питающие кабели штекера из адаптера, в фасонной детали, закрывающей кабельный канал, предусматривается разрез. Сжимаемый материал за счет своей эластичности и здесь очень плотно прилегает к кабелям, протянутым через разрез, обеспечивая достаточную герметичность по отношению к изолирующей пене.

Для фиксации уплотняющей фасонной детали на канале предусмотрен выступ в форме упора, расположенный перпендикулярно стенке канала перед отверстием канала, закрываемым фасонной деталью.

Краткое описание чертежей

Прочие подробности и преимущества изобретения следуют из зависимых пунктов формулы изобретения с описанием варианта исполнения, подробно поясняемого чертежами.

На чертежах изображено:

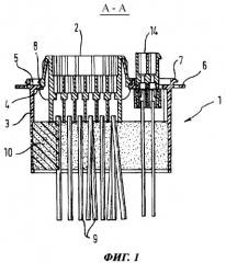
Фигура 1: адаптер со штекерами согласно изобретению в разрезе по линии АА на фигуре 2.

Фигура 2: вид спереди адаптера с установленными штекерами.

Фигура 3: перспективный вид адаптера спереди.

Фигура 4: перспективный вид адаптера сзади.

Осуществление изобретения

Адаптер 1 имеет переднюю панель 4 и кабельный канал 3. Адаптер 1 выгодным образом изготавливается из пластмассы литьем под давлением. Передняя панель 4 имеет такие размеры, что она образует кольцевой фланец 6 вокруг кабельного канала 3. Этим фланцем 6 адаптер 1 опирается на внутреннюю сторону внешней оболочки холодильного аппарата, не показанную на чертеже. Фиксатор 7 с защелками в данном варианте исполнения удерживает адаптер 1 в отверстии во внешней оболочке.

Фиксаторы 7 с защелками образуются выступами передней рамки 5, выполненными в форме крючков. Эта передняя рамка 5 в точности соответствует отверстию во внешней оболочке холодильного аппарата и служит для введения адаптера в это отверстие. Благодаря точному соответствию можно обеспечить точное позиционирование адаптера и практически полное отсутствие зазора между фиксатором 7 с защелками и внешней оболочкой.

Перемычка 11 делит адаптер 1 на две области. В левой области фиксируется модуль 2 штекера, в правой области - модуль 14 штекера. Модули штекеров монтируются на передней панели 4 также с помощью фиксаторов 8 с защелками. Поэтому выемки на передней панели 4 имеют стандартные размеры. Это позволяет в любом случае обеспечить надежную фиксацию унифицированных модулей 2 и 14 штекеров.

Питающие кабели 9 модулей 2 и 14 штекеров выводятся из адаптера 1 через кабельный канал 3. В кабельный канал 3 введена фасонная деталь 10, выполненная из сжимаемого материала. Эта уплотняющая деталь 10 имеет разрез 12, по которому протягиваются питающие кабели 9. Разрез 12 делит уплотняющую деталь 10 на две половины, которые остаются соединенными друг с другом только на одной стороне в области кромки. Таким образом, уплотняющая деталь 10 в целях монтажа может быть раскрыта, сложена с охватом питающих кабелей и по ним задвинута в канал 3. Предохранительный выступ 13 препятствует обратному выдавливанию уплотняющей детали 10 из кабельного канала 3. За счет своей эластичности уплотняющая деталь 10 очень плотно прилегает к внутренним стенкам кабельного канала 3 и к периметру питающих кабелей 9. Таким образом, можно создать надежную защиту от проникновения изолирующей пены в адаптер во время заполнения пеной и повреждения модулей 2 и 14 штекеров.

При монтаже адаптер 1, уже оснащенный модулями 2 и 14 штекеров, задвигается в отверстие внешней оболочки изнутри. При этом передняя рамка 5, в точности соответствующая форме отверстия, проходит через отверстие. Фиксаторы 7 с защелками вдавливаются внутрь до момента, когда они после прохождения отверстия смогут снова вернуться в исходное положение с внешней стороны внешней оболочки. В этом положении кольцевой фланец 6 плотно прилегает к внутренней стороне внешней оболочки. Таким образом, адаптер 1 надежно фиксируется в отверстии внешней оболочки.

При формировании изолирующего слоя пена изнутри давит на адаптер 1. Это усиливает давление фланца 6 на внутреннюю сторону внешней оболочки, но не приводит к изменению фиксированного положения адаптера 1.

1. Холодильный аппарат с внешней и внутренней оболочками и расположенным между ними теплоизоляционным слоем, а также с устройством для размещения модулей (2, 14) штекеров, предназначенных для подсоединения электрических устройств холодильного аппарата, в отверстии во внешней и/или внутренней оболочках холодильного аппарата, отличающийся тем, что в отверстии предусмотрен адаптер (1), в котором с помощью фиксаторов с защелками закреплены модули (2, 14) штекеров для подсоединения электрических устройств, причем модули (2, 14) штекеров являются унифицированными деталями, а адаптер в области, в которой монтируются модули штекеров, соответствует их стандартным размерам, причем адаптер (1) зафиксирован в отверстии во внешней оболочке и/или внутренней оболочке холодильного аппарата.

2. Холодильный аппарат по п.1, отличающийся тем, что адаптер (1) вставлен в отверстие во внешней оболочке и/или внутренней оболочке с внутренней стороны, обращенной к теплоизоляционному слою, и зафиксирован в этом отверстии.

3. Холодильный аппарат по п.1, отличающийся тем, что адаптер (1) содержит фланец (6), размещенный вокруг отверстия с внутренней стороны внешней оболочки и/или внутренней оболочки.

4. Холодильный аппарат по п.1, отличающийся тем, что адаптер (1) подразделен на несколько областей для монтажа различных модулей (2, 4) штекеров.

5. Холодильный аппарат по одному из пп.1-4, отличающийся тем, что адаптер (1) имеет расположенный перед упомянутыми областями кабельный канал (3), по которому питающие кабели (9) подводятся к модулям (2, 4) штекеров.

6. Холодильный аппарат по п.5, отличающийся тем, что отверстие кабельного канала (3) закрывается фасонной деталью (10), выполненной из сжимаемого материала, причем фасонная деталь (10) соответствует контуру канала.

7. Холодильный аппарат по п.6, отличающийся тем, что фасонная деталь (10) имеет разрез (12), по которому питающие кабели (9) для модулей (2, 14) штекеров выводятся из адаптера (1).

8. Холодильный аппарат по п.6, отличающийся тем, что адаптер (1) имеет выступ (13) в форме упора, расположенного перпендикулярно стенке канала перед отверстием канала, закрываемым фасонной деталью, причем выступ удерживает фасонную деталь (10) в ее положении.