Холодильный аппарат

Иллюстрации

Показать все

Холодильный аппарат с внутренним пространством, ограниченным внутренним кожухом, наружным кожухом и заполненным пеноматериалом зазором между внутренним и наружным кожухами. Холодильный аппарат содержит устройство для монтажа электрических компонентов и/или выключателей и/или индикаторов, которое образовано корпусом с отверстием для крепления на вырезе на наружному кожухе и передней заглушкой, которая закрывает вырез. Корпус одной стороной прилегает к внутренней поверхности наружного кожуха таким образом, что между корпусом и наружным кожухом возможен теплообмен. Использование данного изобретения позволяет отводить тепло от нагревающихся в корпусе электрических компонентов наружу без ущерба для изоляции между внутренним пространством холодильного аппарата и корпусом. 8 з.п. ф-лы, 2 ил.

Реферат

Область техники

Изобретение относится к холодильному аппарату по ограничительной части первого пункта формулы изобретения.

Уровень техники

У современных холодильно-морозильных шкафов элементы индикации и управления интегрированы в панель над дверью. Соответствующие электрические компоненты располагаются при этом в корпусе. Корпус закрывается передней заглушкой и вставляется через вырез в наружный кожух холодильника, в полость над внутренним пространством холодильника. Передняя заглушка крепится далее вместе с корпусом к наружному кожуху.

Необходимый изоляционный слой из пеноматериала, прежде всего, в целях снижения себестоимости наносится по периметру внутреннего пространства холодильника только после того, как смонтированы все компоненты. Таким образом, нет необходимости вырезать полости для монтируемых компонентов в пене после ее отвердевания.

Пеноматериал полностью охватывает корпус. То есть корпус изолируется в той же степени, что и внутреннее пространство холодильного аппарата. Из-за этого в корпусе может аккумулироваться тепло, длительное воздействие которого может повлечь за собой повреждение электрических компонентов.

Раскрытие изобретения

В основе данного изобретения лежит задача сконструировать холодильный аппарат, в котором тепло от нагревающихся в корпусе электрических компонентов могло бы отводиться наружу, причем без ущерба для изоляции между внутренним пространством холодильного аппарата и корпусом.

Согласно изобретению задача решается с помощью холодильного аппарата с признаками п.1 формулы изобретения. Из-за того, что корпус прилегает к внутренней стороне наружного кожуха, он покрывается изолирующей пеной не полностью. Одна сторона корпуса, через которую выделяемое тепло может отводиться к наружному кожуху, остается свободной. При впрыскивании изолирующей пены корпус достаточно сильно прижимается к наружному кожуху, что обуславливает хороший контакт между корпусом и наружным кожухом.

Предпочтительно прилегание верхней части корпуса к внутренней стороне верхней панели наружного кожуха. Так как выделяемое тепло аккумулируется в верхней части корпуса, здесь возникает и самая высокая температура и тем самым максимальный градиент по отношению к наружному кожуху. Благодаря этому можно обеспечить хорошую теплопередачу на наружный кожух.

Идеально, если верхняя панель изготовлена из металла. Эта мера дополнительно оптимизирует теплоотдачу, так как металл - отличный проводник тепла.

Вырез предусмотрен на лицевой панели наружного кожуха, соединяемой с верхней панелью. То есть положение корпуса в смонтированном состоянии рассчитано так, что исключается смещение лицевой панели и верхней панели, могущее привести к изменению позиции самого корпуса непосредственно под верхней панелью. Следовательно, это положение зависит только от точного позиционирования выреза на лицевой панели.

Идеально, если лицевая панель выполнена вместе с верхней панелью одной деталью и изготовлена из металла. Благодаря этому образующееся тепло может отводиться и через лицевую панель.

Передняя заглушка монтируется после заполнения пеной промежуточного пространства и связанной с этим фиксации корпуса. Передняя заглушка, которая закрывает отверстие в корпусе, прилегает к внешней стороне лицевой панели. Тепло, передаваемое на переднюю заглушку, может хорошо переноситься на лицевую панель, а с нее - выделяться в окружающее пространство. В корпусе предусмотрены отверстия, что позволяет привинчивать переднюю заглушку к нему через вырез. Таким образом, нет необходимости в высверливании дополнительных отверстий для болтов в наружном кожухе.

Предпочтительно электрические компоненты и/или выключатели и/или элементы индикации монтируются на передней заглушке. Таким образом, не все выделяемое тепло должно отводиться вверх, через верхнюю панель. Через контакт с передней заглушкой часть тепла переносится непосредственно на переднюю заглушку. Как уже разъяснялось выше, выделяемое тепло может отводиться оттуда столь же эффективно. При монтаже передней заглушки до того, как она вставлена, в корпус должны подсоединяться еще только провода при помощи штекеров.

Через кольцевой фланец тепловая энергия от стенок корпуса может переноситься непосредственно на лицевую панель, минуя переднюю заглушку. Контакт между кольцевым фланцем и лицевой панелью особенно интенсивный, так как изолирующая пена крепко прижимает корпус к последней. Таким образом, здесь также обеспечивается хороший теплообмен.

Согласно изобретению на кромке выреза в наружном кожухе имеются направленные внутрь крепежные пластины. В корпусе предусмотрены соответствующие отверстия так, что корпус можно установить на крепежные пластины и предотвратить его соскальзывание. При заполнении пеной промежуточного пространства это особенно важно. Несмотря на меняющуюся на данном этапе степень прижатия корпус должен оставаться зафиксированным в своем положении. После заполнения зазора пеной и ее твердения сзади корпус прижимается к наружному кожуху, а снизу - к верхней панели, что не позволяет ему ни выйти из крепежных пластин, ни подвергнуться воздействию опрокидывающего момента, который мог бы нарушить контакт между кольцевым фланцем и лицевой панелью. Таким образом, достигается абсолютно надежное крепление корпуса в зазоре без дополнительного крепежа, как, например, болтами и т.п.

Краткий перечень чертежей

Другие частные случаи и преимущества изобретения следуют из приводимых ниже пунктов формулы изобретения, в связи с описанием примера исполнения, который разъясняется далее на основании чертежей.

Чертежи изображают:

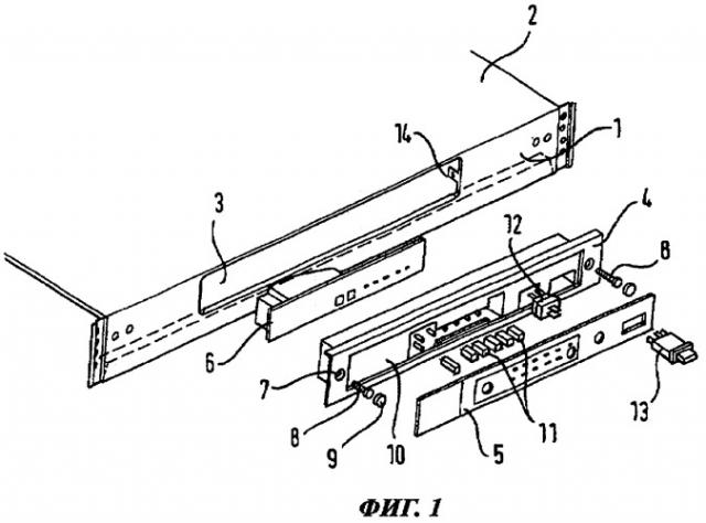
Фиг.1 - Покомпонентное изображение устройства согласно изобретению.

Фиг.2 - Вид снизу в промежуточное пространство до заполнения его пеной.

Осуществление изобретения

На Фиг.1 изображен состоящий из лицевой панели 1 и верхней панели 2 модуль наружного кожуха холодильного аппарата. На лицевой панели предусмотрен вырез 3. На боковых кромках выреза 3 находятся крепежные планки 14, на которые можно установить корпус 15.

Модуль 1, 2 наружного кожуха изготовлен из металла как единая деталь. Вырез 3 выполнен с учетом крепежных планок 14. Соответственно можно сформировать ребро между лицевой панелью 1 и крышкой 2, а крепежные планки 14 загнуть назад.

Электронный модуль 6 содержит электронное управление холодильным аппаратом и светодиодные индикаторы. Электронный модуль 6 монтируется на передней заглушке 4. Так же на передней заглушке 4, которая далее называется также панелью управления, в соответствии с выполняемой функцией монтируются и выключатели 12 и 13. В углубление 10 вставляется вкладыш 5 с надписями для индикаторов и выключателей и фиксируется, например, клеем. Для визуализации загорания светодиодных индикаторов на вкладыше 5 предусмотрены световоды 11, которые образуют оптическую связь между электронным модулем 6 и вкладышем 5.

Корпус 15 (Фиг.2) с внешней стороны снабжен кольцевым фланцем 19, которым он плоско прилегает к лицевой панели 1, когда он установлен на крепежные планки 14. В таком собранном состоянии корпус 15 прилегает верхней стороной к верхней панели 2 наружного кожуха.

На тыльной стороне корпуса 15 находится короб 16, через который выводятся провода электропитания. Этот короб образует единственное соединение между корпусом 15 и заполняемым после завершения монтажа изолирующей пеной зазором между внутренним и наружным кожухами холодильного аппарата. Фасонная деталь 17 из сжимаемого материала предотвращает попадание пены из короба 16 в корпус 15. Фасонную деталь 17 можно передвинуть над электропроводкой с помощью паза 20, а затем ввести в короб 16. Для хорошей укладки кабеля можно расширить паз 20 в середине фасонной детали 17 до размера отверстия. Предпочтительно выполнить фасонную деталь 17 из очень эластичного пеноматериала, который расширяется после введения в короб 16 и хорошо примыкает к внутренним стенкам короба 16. Так же плотно охватывается и электропроводка. Таким образом, надежно предотвращается проникновение пены.

При монтаже обычно сначала корпус 15 устанавливается на крепежные планки 14 модуля наружного кожуха 1, 2. Затем модуль 1, 2 вставляется в холодильный аппарат и соединяется с боковыми стенками наружного кожуха. Затем в закрытое промежуточное пространство, образованное внутренним и наружным кожухами, впрыскивается изолирующая пена. Последняя под высоким давлением распределяется по зазору и при этом крепко прижимает корпус 15 кольцевым фланцем 19 к внутренней стороне лицевой панели 1, а верхней стороной - к верхней панели 2. Корпус 15 будет фиксироваться пеной в том положении, в котором он установлен на крепежных планках 14 и верхней панели 2. Так как с возрастанием давления пены увеличивается и усилие, с которым кольцевой фланец 19 прижимается к кромке выреза 3, надежно предотвращается проникновение пены наружу через возможный зазор между кольцевым фланцем 19 и внутренней стороной лицевой панели 1. Но с возрастанием давления изолирующей пены также увеличивается и прижимное усилие, действующее на верхнюю панель 2. Такой контакт между верхней панелью 2 и верхней стороной корпуса 15 обеспечивает хороший теплообмен.

Затем на панель управления 4 наклеивается вкладыш 5 для надписей. Далее панель 4 управления оснащается выключателями 12 и 13, световодами 11 и электронным модулем 6. Уже имеющиеся в корпусе 15 провода электропитания подсоединяются штекерами к электронному модулю 6 и выключателям 12 и 13. Панель 4 управления крепится непосредственно к корпусу 15 болтами 8. Для этого на корпусе имеются отверстия 18. Эти отверстия 18 расположены в зоне выреза 3, что избавляет от необходимости предусмотреть дополнительные отверстия на лицевой панели 1. На панели 4 управления для болтов 8 предусмотрены отверстия 7 с раззенковкой, что обеспечивает соединение заподлицо головок болтов с поверхностью панели 4 управления. Болты 8 для оформления могут также дополнительно закрываться декоративными заглушками 9.

Следовательно, возникающие в корпусе тепловые потоки могут отводиться наружу различными путями.

a) Тепло выделяется в воздух внутри корпуса 15, а оттуда передается на стенки корпуса 15. Отсюда тепловая энергия переходит на крышку 2 и через кольцевой фланец 19 - на лицевую панель 1.

b) Тепло через непосредственный контакт электрических компонентов 6, 12, 13 переносится на панель 4 управления, откуда через лицевую панель 1 отводится непосредственно в окружающее пространство.

1. Холодильный аппарат с внутренним пространством, ограниченным внутренним кожухом, с наружным кожухом с лицевой панелью (1) и верхней панелью (2), и с промежуточным пространством между внутренним и наружным кожухами, которое заполнено изолирующей пеной, а также с устройством для монтажа электрических компонентов, и/или выключателей, и/или элементов индикации, которое имеет корпус (15) с отверстием для крепления на вырезе (3) в наружном кожухе и переднюю заглушку (4) для закрывания выреза (3), отличающийся тем, что корпус (15) одной стороной так прилегает к внутренней стороне наружного кожуха, что может происходить теплообмен между корпусом (15) и наружным кожухом.

2. Холодильный аппарат по п.1, отличающийся тем, что корпус (15) прилегает к верхней панели (2) наружного кожуха.

3. Холодильный аппарат по п.1 или 2, отличающийся тем, что верхняя панель (2) выполнена из металла.

4. Холодильный аппарат по п.1 или 2, отличающийся тем, что вырез (3) предусмотрен на лицевой панели (1) наружного кожуха, соединенной с верхней панелью (2).

5. Холодильный аппарат по п.4, отличающийся тем, что лицевая панель (1) наружного кожуха выполнена из металла.

6. Холодильный аппарат по одному из пп.1 и 2, 5, отличающийся тем, что передняя заглушка (4) прилегает к внешней стороне лицевой панели (1).

7. Холодильный аппарат по одному из пп.1 и 2, 5, отличающийся тем, что электрические компоненты (9), и/или выключатели (12, 13), и/или элементы индикации (9, 11) смонтированы на передней заглушке (4).

8. Холодильный аппарат по одному из пп.1 и 2, 5, отличающийся тем, что корпус (15) снабжен кольцевым фланцем (19) вокруг указанного отверстия, который прилегает к кромке выреза (3) на лицевой панели (1) наружного кожуха.

9. Холодильный аппарат по одному из пп.1 и 2, 5, отличающийся тем, что на лицевой панели (1) по кромке выреза (3) имеются обращенные внутрь крепежные пластины (14), на которые установлен корпус (15).