Холодильный аппарат

Иллюстрации

Показать все

Холодильный аппарат содержит внутреннюю полость, ограниченную внутренней оболочкой, внешнюю оболочку и промежуточное пространство, заключенное между внутренней и внешней оболочками и заполненное изолирующей пеной, средство для монтажа электрических компонентов, и/или переключателей, и/или индикаторов, которое имеет корпус с отверстием для монтажа на прорези внешней оболочки, переднюю панель для закрытия прорези. Корпус находится в промежуточном пространстве и удерживается на внутренней стороне внешней оболочки. Использование данного изобретения позволяет воспрепятствовать выдавливанию изолирующей пены. 9 з.п. ф-лы, 2 ил.

Реферат

Область техники

Изобретение относится к холодильным аппаратам согласно ограничительной части п.1 формулы изобретения.

Уровень техники

В современных холодильных и морозильных аппаратах индикаторы и элементы управления собраны на одной панели над дверцей. При этом соответствующие электрические компоненты размещены в корпусе. Этот корпус закрывается передней панелью и через прорезь во внешней оболочке холодильного аппарата вдвигается в пространство над внутренней полостью холодильного аппарата. Затем передняя панель вместе с корпусом крепится на внешней оболочке.

В целях снижения стоимости производства изолирующий слой наносится вокруг внутренней полости холодильного аппарата только после монтажа всех компонентов. Таким образом, не требуется дополнительно вырезать в отвердевшей пене ниши для устанавливаемых компонентов.

Было обнаружено, что изолирующая пена должна впрыскиваться под очень большим давлением, чтобы даже удаленные от места впрыскивания области гарантированно заполнялись пеной. Только таким образом можно обеспечить хороший изолирующий эффект. Однако высокое давление, имеющее место при заполнении пеной промежуточного пространства между внутренней и внешней оболочками, может привести к тому, что изолирующая пена будет выдавливаться через прорезь между внешней оболочкой и передней панелью, или даже выдавит наружу корпус. Кроме того, существует опасность проникновения пены между передней панелью и корпусом в корпус и повреждения расположенных там компонентов.

Сущность изобретения

Задачей изобретения является усовершенствование холодильного аппарата таким образом, чтобы можно было воспрепятствовать выдавливанию изолирующей пены, не повышая одновременно стоимость изготовления. Кроме того, необходимо воспрепятствовать проникновению пены в корпус и повреждению содержащихся там компонентов.

Согласно изобретению данная задача решается при помощи холодильного аппарата с признаками, раскрытыми в пункте 1 формулы. Технический результат достигается за счет того, что, так как корпус удерживается на внутренней стороне внешней оболочки, при повышении давления пены на корпус повышается и давление, прижимающее корпус к внутренней стороне внешней оболочки. Возможный зазор между корпусом и внутренней стороной внешней оболочки будет уменьшаться по мере увеличения давления пены. Тем самым увеличивается плотность соединения между корпусом и внешней оболочкой.

В целях обеспечения достаточной герметичности корпус снабжается кольцевым фланцем вокруг отверстия. Таким образом, вокруг прорези во внешней оболочке создается замкнутая контактная поверхность, к которой плоскостями прилегает корпус.

В соответствии с изобретением на краю прорези во внешней оболочке имеются обращенные вовнутрь лапки. В корпусе предусмотрены соответствующие отверстия, таким образом, корпус может надеваться на лапки, что препятствует его смещению в сторону. Это особенно важно при заполнении промежуточного пространства изолирующей пеной. Несмотря на растущее давление в этой фазе, корпус должен быть зафиксирован в заданном положении. После заполнения промежуточного пространства пеной и ее отвердения корпус прижимается сзади к внешней оболочке, и за счет этого более не может соскочить с лапок. Таким образом, достигается абсолютно надежное крепление корпуса в промежуточном пространстве без дополнительных средств крепежа, как то болты и т.п.

Чтобы из корпуса можно было вывести питающие кабели для электрических компонентов, переключателей и индикаторов, на задней ограничительной стенке предусмотрено отверстие для проводов. Это - единственное отверстие, открытое в корпусе в сторону внутреннего пространства. Таким образом, это единственное отверстие, через которое во время заполнения промежуточного пространства изолирующей пеной эта пена может попасть внутрь корпуса. Чтобы этого избежать, предусмотрена фасонная деталь из сжимаемого материала, которой закрывается отверстие для проводов. Фасонная деталь имеет шлиц, которым она может быть наложена на провода и задвинута в шахту. Благодаря эластичности сжимаемого материала фасонная деталь в точности соответствует форме внутренней стенки канала и проводов, что позволяет достичь надежного уплотнения.

Передняя панель монтируется после заполнения пеной промежуточного пространства и связанной с этим фиксации корпуса. Она прилегает к внешней стороне внешней оболочки. В соответствии с изобретением в корпусе предусмотрены отверстия, то есть передняя панель может быть привинчена через прорезь к корпусу. Таким образом, дополнительные отверстия для винтов во внешней оболочке не требуются.

Электрические компоненты, и/или переключатели, и/или индикаторы выгодным образом монтируются на передней панели. Перед монтажом передней панели необходимо еще соединить штекерами провода в корпусе.

В передней панели предусмотрено углубление, в которое можно поместить вкладку с маркировкой переключателей и индикаторов. Таким образом, передняя панель пригодна для множества различных типов холодильных аппаратов, необходимо лишь иметь соответствующие вкладки с соответствующей маркировкой.

Краткое описание чертежей

Прочие подробности и преимущества изобретения следуют из зависимых пунктов формулы изобретения с описанием варианта исполнения, подробно поясняемого чертежами.

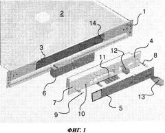
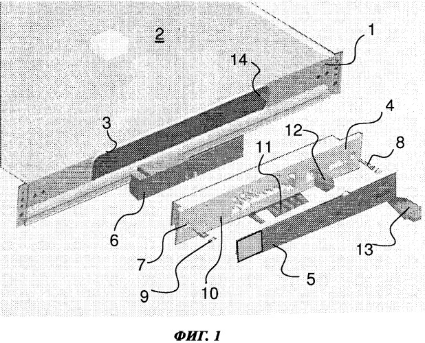
На фиг.1 изображено устройство согласно изобретению в разрезе, на фиг.2 - вид снизу в промежуточном пространстве перед заполнением пеной.

Осуществление изобретения

На фиг.1 изображен модуль внешней оболочки холодильного аппарата, состоящей из передней части 1 и крышки 2 внешней оболочки. В передней части 1 предусмотрена прорезь 3. На боковых кромках прорези имеются лапки 14, на которые может быть надет корпус 15.

Модуль 1, 2 внешней оболочки является цельным и изготавливается из металла. Прорезь 3 прорезается с учетом лапок 14. После этого формируется кромка между передней частью 1 и крышкой 2, а лапки 14 отгибаются вовнутрь.

Электронный модуль 6 содержит электронные средства управления холодильным аппаратом и индикаторы-светодиоды. Электронный модуль 6 монтируется на передней панели 4. Кроме того, на переднем щитке монтируются переключатели 12 и 13. В углубление 10 помещается вкладка 5 с маркировкой индикаторов и переключателей и фиксируется, например, клеем. Чтобы свечение индикаторов-светодиодов было видно на вкладке 5, предусмотрены световоды 11, образующие оптическое соединение между электронным модулем 6 и вкладкой 5.

Корпус 15 (фиг.2) на своей открытой стороне снабжен кольцевым фланцем 19, которым он прилегает к плоскости внутренней стороны передней части 1 после того, как он будет надет на лапки 14. В таком смонтированном состоянии корпус 15 своей верхней стороной прилегает к крышке 2 внешней оболочки.

На задней стороне корпуса 15 находится канал 16, через который из корпуса 15 выводятся провода. Этот канал 16 является единственным соединением между корпусом 15 и промежуточным пространством, заключенным между внутренней и внешней оболочками холодильного аппарата и заполняемым после монтажа изолирующей пеной. Фасонная деталь 17, выполненная из сжимаемого материала, не позволяет пене попасть в корпус 15 через канал 16. Шлиц 20 позволяет фасонной детали 17 двигаться между проводами и задвигаться в канал 16. Для размещения всех проводов шлиц 20 в середине фасонной детали 17 может быть дополнен отверстием. Выгодным образом фасонная деталь 17 выполнена из очень эластичного вспененного материала, который после введения в канал 16 расширяется и хорошо прилегает к внутренним стенкам канала 16. Кроме того, плотно охватываются провода. Таким образом, можно создать надежную защиту от проникновения пены.

При монтаже обычно сначала корпус 15 надевается на лапки 14 модуля внешней оболочки 1, 2. После этого модуль 1, 2 устанавливается на холодильный аппарат и соединяется с боковыми стенками внешней оболочки. В закрытое теперь промежуточное пространство, заключенное между внутренней и внешней оболочками холодильного аппарата, впрыскивается изолирующая пена. Она распространяется под высоким давлением по промежуточному пространству и прочно прижимает кольцевой фланец 19 корпуса 15 к внутренней стороне передней части 1. Таким образом, корпус 15 фиксируется в положении, в котором он удерживается лапками 14. Так как при возрастающем давлении пены возрастает и сила, с которой кольцевой фланец 19 прижимается к металлу вокруг прорези 3, создается надежная защита от выдавливания пены наружу из прорези 3 через возможный зазор между кольцевым фланцем 19 и внутренней стороной передней части 1.

Далее в переднюю панель 4 вклеивается вкладка 5 с маркировкой. Далее передняя панель 4 оснащается переключателями 12 и 13, световодами 11 и электронным модулем 6. Уже имеющиеся в корпусе 15 провода соединяются штекерами с электронным модулем 6 и переключателями 12 и 13. С помощью винтов 8 передняя панель 4 закрепляется непосредственно на корпусе 15. На корпусе для этого имеются отверстия 18 для винтов. Эти отверстия расположены в районе прорези 3, то есть в передней части 1 не требуются дополнительные отверстия. Отверстия 7 для винтов 8 в передней панели 4 раззенкованы, что позволяет вкрутить головки болтов заподлицо с поверхностью передней панели 4. В целях улучшения внешнего вида винты 8 могут дополнительно закрываться декоративными заглушками 9.

1. Холодильный аппарат с внутренней полостью, ограниченной внутренней оболочкой, с внешней оболочкой (1, 2) и промежуточным пространством, заключенным между внутренней и внешней оболочками и заполненным изолирующей пеной, со средством для монтажа электрических компонентов, и/или переключателей, и/или индикаторов, с корпусом (15) с отверстием для монтажа на прорези (3) внешней оболочки (1) и передней панелью (4) для закрытия прорези (3), отличающийся тем, что корпус (15) находится в промежуточном пространстве и удерживается на внутренней стороне внешней оболочки (1, 2).

2. Холодильный аппарат по п.1, отличающийся тем, что корпус (15) снабжен кольцевым фланцем (19), проходящим вокруг отверстия и прилегающим к краям прорези (3) внешней оболочки (1).

3. Холодильный аппарат по п.1 или 2, отличающийся тем, что внешняя оболочка (1) по краям прорези (3) имеет отогнутые вовнутрь лапки (14), на которые надевается корпус (15).

4. Холодильный аппарат по п.1 или 2, отличающийся тем, что корпус (15) имеет канал (16) для вывода проводов.

5. Холодильный аппарат по п.4, отличающийся тем, что канал (16) закрывается фасонной деталью (17), выполненной из сжимаемого материала.

6. Холодильный аппарат по п.5, отличающийся тем, что фасонная деталь (17) имеет шлиц (20), по которому выводятся провода.

7. Холодильный аппарат по п.1 или 2, отличающийся тем, что передняя панель (4) прилегает к внешней стороне внешней оболочки (1).

8. Холодильный аппарат по п.1 или 2, отличающийся тем, что корпус (15) и передняя панель (4) соединяются друг с другом винтами через прорезь (3) внешней оболочки (1).

9. Холодильный аппарат по п.1 или 2, отличающийся тем, что электрические компоненты (6), и/или переключатели (12, 13), и/или индикаторы (6, 11) монтируются на передней панели (4).

10. Холодильный аппарат по п.1 или 2, отличающийся тем, что передняя панель (4) имеет углубление (10) для вкладки (5), содержащей маркировку индикаторов и/или переключателей.