Накопитель средств формирования изображений и устройство формирования изображений
Иллюстрации
Показать всеИзобретение относится к накопителю средства формирования изображений и к устройству формирования изображений. Накопитель средства формирования изображений содержит емкость для хранения средства формирования изображений, открывающий/закрывающий элемент, элемент зацепления и элемент предотвращения расцепления. Причем элемент зацепления включает в себя зацепляющую часть, предусмотренную в емкости для хранения средства формирования изображений и зацепляемую часть, предусмотренную в открывающем и закрывающем элементе. Зацепляемая часть выполнена с возможностью зацепления с зацепляющей частью таким образом, что если положение, в котором зацепляющая часть и зацепляемая часть могут сцепляться между собой, снимается, элемент зацепления позволяет открыться открывающему и закрывающему элементу и не позволяет открывающему и закрывающему элементу открываться в положении, при котором зацепляющая часть и зацепляемая часть могут сцепляться между собой. Причем положение, при котором зацепляющая часть и зацепляемая часть могут сцепляться между собой, снимается в случае, если открывающий и закрывающий элемент движется в направлении, пересекающем направление ввода относительно емкости для хранения средства формирования изображений из положения, при котором зацепляющая часть и зацепляемая часть могут сцепляться между собой. Технический результат - возможность предотвращения открывания открывающего/закрывающего элемента в одном направлении относительно корпуса накопителя средства формирования изображения. 2 н. и 6 з.п. ф-лы, 23 ил.
Реферат
Область техники, к которой относится изобретение
Настоящее изобретение относится к накопителю средства формирования изображений и к устройству формирования изображений.
Предпосылки к созданию изобретения
В патенте JP Hei.10-142915 A (соответствующем патенту США № 5933691) описывается устройство пополнения запаса тонера, включающее в себя картридж с тонером и направляющую секцию. Картридж с тонером содержит тонер и имеет отверстие для сброса тонера в нижней части своей лицевой поверхности. Направляющая секция направляет тонер с картриджем в заданное установочное положение вдоль заданного направления ввода. Заслоночный элемент, который может скользить между закрытым положением, при котором заслоночный элемент закрывает отверстие для сброса тонера, и открытым положением, при котором заслоночный элемент открывает отверстие для сброса тонера, прикреплен к картриджу с тонером рядом с отверстием для сброса тонера. Направляющая секция снабжена воздействующей частью и возвращающей частью. При установке картриджа с тонером воздействующая часть захватывает первую определенную часть заслоночного элемента и перемещает заслоночный элемент из закрытого положения в открытое положение. При извлечении картриджа с тонером возвращающая часть захватывает вторую определенную часть и перемещает заслоночный элемент из открытого положения в закрытое положение.
В документе JP 2005-107141 описано устройство подачи тонера, которое включает в себя емкость для хранения тонера, которая крепится с возможностью отделения к основному корпусу устройства для пополнения запаса тонера в проявочном устройстве, подающем тонер на фотопроводящий барабан, помещенный в основном корпусе устройства. Емкость для хранения тонера имеет отверстие, заслоночный элемент и открывающий и закрывающий механизм. Отверстие выполнено в дне и предназначено для подачи тонера в проявочное устройство. Положение заслоночного элемента может изменяться относительно емкости для хранения тонера между закрытым положением, при котором заслоночный элемент закрывает отверстие, и открытым положением, при котором заслоночный элемент открывает отверстие. Открывающий и закрывающий механизм открывает и закрывает заслоночный элемент в ответ на выполнение операции по прикреплению или отделению емкости для хранения тонера к проявочному устройству или от него. Открывающий и закрывающий механизм включает в себя первую воздействующую часть со стороны заслоночного элемента, упругий рычаг, вторую воздействующую часть со стороны заслоночного элемента и направляющий элемент. Первая воздействующая часть со стороны заслоночного элемента помещается в заслоночном элементе для взаимодействия с первой воздействующей частью со стороны проявочного устройства, помещенной в проявочном устройстве, с блокированием таким образом взаимосвязанного передвижения с емкостью для хранения тонера и открыванием заслоночного элемента в то время, когда емкость для хранения тонера присоединяется к проявочному устройству. Упругий рычаг имеет на своем наконечнике направляемый выступ и выступает из заслоночного элемента в направлении присоединения, в котором емкость для хранения тонера присоединяется к проявочному устройству. Вторая воздействующая часть со стороны заслоночного элемента помещается на кончике упругого рычага для взаимодействия со второй воздействующей частью со стороны проявочного устройства, помещенной в проявочном устройстве, с блокированием таким образом взаимосвязанного передвижения с емкостью для хранения тонера и закрыванием заслоночного элемента в то время, когда емкость для хранения тонера отделяется от проявочного устройства. Направляющий элемент помещается в емкости для хранения тонера для того, чтобы направлять относительное движение к направляемому выступу в то время, когда емкость для хранения тонера присоединяется или отделяется от проявочного устройства. Направляющий элемент включает в себя петлевой проход, выполненный для того, чтобы позволить направляемому выступу проходить через проход в то время, когда емкость для хранения тонера присоединяется к проявочному устройству, и для прохождения через другой проход в то время, когда емкость для хранения тонера отделяется от проявочного устройства.
В документе JP 2005-134452 описано устройство пополнения запаса тонера, включающее в себя следующие компоненты: от (А01) до (А07). (А01) - картридж с тонером, который имеет элемент зацепления со стороны картриджа и содержит тонер; (А02) - основной корпус пополняющего устройства, к которому присоединяется или от которого отделяется картридж с тонером; (А03) - порт для пополнения запаса тонера, который выполнен в основном корпусе пополняющего устройства и который пополняет запасы тонера, хранящиеся в картридже с тонером; (А04) - заслонка порта для пополнения, которая перемещается в закрытое положение, при котором заслонка порта для пополнения закрывает порт для пополнения запаса тонера во время отделения картриджа с тонером и в открытое положение, при котором заслонка порта для пополнения открывает порт для пополнения запаса тонера во время присоединения картриджа с тонером; (А05) - элемент зацепления со стороны заслонки, выполненный как одно целое с заслонкой порта для пополнения; (А06) - заслонка порта для пополнения; и (А7) - элемент зацепления со стороны заслонки. Во время отделения картриджа с тонером элемент зацепления со стороны картриджа и элемент зацепления со стороны заслонки взаимодействуют между собой, и заслонка порта для пополнения перемещается из открытого положения в закрытое положение совместно с картриджем с тонером. Взаимодействие между элементом зацепления со стороны заслонки и элементом зацепления со стороны картриджа прекращается после того, как заслонка порта для пополнения переходит в закрытое положение одновременно с операцией отделения картриджа с тонером.
Сущность изобретения
Настоящее изобретение предлагает накопитель средства формирования изображений и устройство формирования изображений, которые оба могут предотвратить открывание открывающего и закрывающего элемента в случае наклона открывающего и закрывающего элемента в одном направлении относительно корпуса накопителя средства формирования изображений.
[1] Согласно особенности изобретения накопитель средства формирования изображений включает в себя емкость для хранения средства формирования изображений, открывающий и закрывающий элемент, элемент зацепления и элемент предотвращения расцепления. Емкость для хранения средства формирования изображений вводят в установочную часть, предусмотренную в основном корпусе устройства формирования изображений. Емкость для хранения средства формирования изображений содержит средство формирования изображений. Емкость для хранения средства формирования изображений выполнена с выпускным отверстием, предназначенным для выдачи хранящегося средства формирования изображений. Когда емкость для хранения средства формирования изображений вводят в установочную часть, открывающий и закрывающий элемент открывает выпускное отверстие совместно с перемещением емкости для хранения средства формирования изображений в направлении ввода, при котором емкость для хранения средства формирования изображений вводят в установочную часть. Когда емкость для хранения средства формирования изображений извлекают из установочной части, открывающий и закрывающий элемент закрывает выпускное отверстие совместно с перемещением емкости для хранения средства формирования изображений в направлении, противоположном направлению ввода. Элемент зацепления включает в себя зацепляющую часть и зацепляемую часть. Зацепляющая часть предусмотрена в емкости для хранения средства формирования изображений. Зацепляемая часть предусмотрена в открывающем и закрывающем элементе и выполнена с возможностью сцепления с зацепляющей частью. Если положение, в котором зацепляющая часть и зацепляемая часть могут сцепляться между собой, снимается, то элемент зацепления позволяет открыться открывающему и закрывающему элементу. Элемент зацепления не позволяет открывающему и закрывающему элементу открываться в положении, при котором зацепляющая часть и зацепляемая часть могут сцепляться между собой. Положение, при котором зацепляющая часть и зацепляемая часть могут сцепляться между собой, снимается в случае, если открывающий и закрывающий элемент движется в направлении, пересекающем направление ввода относительно емкости для хранения средства формирования изображений из положения, при котором зацепляющая часть и зацепляемая часть могут сцепляться между собой. Элемент предотвращения расцепления не допускает снятия положения, при котором зацепляющая часть и зацепляемая часть могут сцепляться между собой, из-за того, что передняя сторона открывающего и закрывающего элемента движется относительно емкости для хранения средства формирования изображений по направлению, в котором продвигается открывающий и закрывающий элемент для того, чтобы открыть выпускное отверстие, таким образом, чтобы отклониться от положения, в котором находятся зацепляющая часть и зацепляемая часть.
При конфигурации [1] может быть предложен накопитель средства формирования изображений, который может предотвратить открывание открывающей и закрывающей секции в случае наклона открывающего и закрывающего элемента в одном направлении относительно емкости для хранения средства формирования изображений.
[2] Накопитель средства формирования изображений по [1] может дополнительно включать в себя вспомогательный элемент предотвращения расцепления. Вспомогательный элемент предотвращения расцепления предотвращает снятие положения, при котором зацепляющая часть и зацепляемая часть могут взаимодействовать между собой, в случае, если передняя сторона открывающего и закрывающего элемента по направлению, в котором перемещается открывающий и закрывающий элемент для того, чтобы открыть выпускное отверстие, движется относительно емкости для хранения средства формирования изображений таким образом, чтобы отклониться в направлении к позиции, в которой находятся зацепляющая часть и зацепляемая часть.
При конфигурации [2] в дополнение к тому преимуществу, которое дает конфигурация [1], может быть предложен накопитель средства формирования изображений, который может предотвратить открывание открывающей и закрывающей секции в случае наклона открывающего и закрывающего элемента в другом направлении относительно емкости для хранения средства формирования изображений.
[3] В накопителе средства формирования изображений по любому из пунктов [1] и [2] элемент предотвращения расцепления может включать в себя воздействующую часть и подвергающуюся воздействию часть. Воздействующая часть помещается в открывающем и закрывающем элементе. Подвергающаяся воздействию часть предусмотрена в емкости для хранения средства формирования изображений. Подвергающаяся воздействию часть взаимодействует с воздействующей частью в случае, если передняя сторона открывающего и закрывающего элемента движется относительно емкости для хранения средства формирования изображений по направлению, в котором перемещается открывающий и закрывающий элемент для того, чтобы открыть выпускное отверстие, таким образом, чтобы отклониться в направлении, противоположном направлению зацепляющей части и зацепляемой части.
При конфигурации [3] в дополнение к тому преимуществу, которое дает любая из конфигураций [1] и [2], может быть предложен накопитель средства формирования изображений, который может предотвратить открывание открывающей и закрывающей секции, при простой конфигурации по сравнению со случаем, когда эта конфигурация не предлагается.
[4] В накопителе средства формирования изображений по пункту [3] воздействующая часть может включать в себя взаимодействующую выпуклую часть, которая выполнена в открывающем и закрывающем элементе, так, чтобы выступать в направлении емкости для хранения средства формирования изображений. Подвергающаяся воздействию часть может включать взаимодействующую вогнутую часть, которая выполнена в емкости для хранения средства формирования изображений, так что взаимодействующая выпуклая часть взаимодействует с взаимодействующей вогнутой частью.
При конфигурации [4] в дополнение к тому преимуществу, которое дает конфигурация [3], может быть предложен накопитель средства формирования изображений, который может предотвратить открывание открывающей и закрывающей секции, при простой конфигурации по сравнению со случаем, когда эта конфигурация не предлагается.
[5] В накопителе средства формирования изображений по пункту [3] воздействующая часть может включать в себя взаимодействующую вогнутую часть, которая выполнена в открывающем и закрывающем элементе, так, чтобы образовать выемку со стороны емкости для хранения средства формирования изображений. Подвергающаяся воздействию часть может включать взаимодействующую выпуклую часть, которая выполнена в емкости для хранения средства формирования изображений, так что взаимодействующая вогнутая часть взаимодействует с взаимодействующей выпуклой частью.
При конфигурации [5] в дополнение к тому преимуществу, которое дает конфигурация [3], может быть предложен накопитель средства формирования изображений, который может предотвратить открывание открывающей и закрывающей секции, при простой конфигурации по сравнению со случаем, когда эта конфигурация не предлагается.
[6] В накопителе средства формирования изображений по пункту [3] часть наружной поверхности открывающего и закрывающего элемента может использоваться как воздействующая часть. Подвергающаяся воздействию часть может включать в себя взаимодействующий выступ, выполненный в емкости для хранения формирующего изображение средства таким образом, чтобы взаимодействовать с частью наружной поверхности.
При конфигурации [6] в дополнение к тому преимуществу, которое дает конфигурация [3], может быть предложен накопитель средства формирования изображений, который может предотвратить открывание открывающей и закрывающей секции, при простой конфигурации по сравнению со случаем, когда эта конфигурация не предлагается.
[7] В накопителе средства формирования изображений по пункту [1] элемент зацепления и элемент предотвращения расцепления могут быть предусмотрены с одной стороны открывающего и закрывающего элемента в направлении, ортогональном направлению, в котором движется открывающий и закрывающий элемент для того, чтобы открыть выпускное отверстие. Выступающая часть может быть предусмотрена на другой стороне открывающего и закрывающего элемента в ортогональном направлении. Выступающая часть может быть выполнена таким образом, чтобы выступать с другой стороны в направлении одной стороны и выступать в направлении промежутка между элементом зацепления и элементом предотвращения расцепления, которые помещаются на одной стороне открывающего и закрывающего элемента.
При конфигурации [7] в дополнение к тому преимуществу, которое дает конфигурация [1], элемент зацепления или элемент предотвращения расцепления могут легко действовать по сравнению со случаем, когда эта конфигурация не предусмотрена.
[8] Согласно другому аспекту изобретения устройство формирования изображений включает в себя основной корпус устройства формирования изображений, накопитель средства формирования изображений и секцию формирования изображений. Основной корпус устройства формирования изображений снабжен установочной частью. Накопитель средства формирования изображений предусмотрен с возможностью отделения в установочной части. Секция формирования изображений предусмотрена в основном корпусе формирования изображений и формирует изображение с использованием средства формирования изображений, поступающего из накопителя средства формирования изображений. Накопитель средства формирования изображений включает в себя емкость для хранения средства формирования изображений, открывающий и закрывающий элемент, элемент зацепления и элемент предотвращения расцепления. Емкость для хранения средства формирования изображений вводят в установочную часть, предусмотренную в основном корпусе устройства формирования изображений. Емкость для хранения средства формирования изображений содержит средство формирования изображений. Емкость для хранения средства формирования изображений выполнена с выпускным отверстием, предназначенным для выдачи хранящегося средства формирования изображений. Когда емкость для хранения средства формирования изображений вводят в установочную часть, открывающий и закрывающий элемент открывает выпускное отверстие совместно с перемещением емкости для хранения средства формирования изображений в направлении ввода, при котором емкость для хранения средства формирования изображений вводят в установочную часть. Когда емкость для хранения средства формирования изображений извлекают из установочной части, открывающий и закрывающий элемент закрывает выпускное отверстие совместно с перемещением емкости для хранения средства формирования изображений в направлении, противоположном направлению ввода. Элемент зацепления включает в себя зацепляющую часть и зацепляемую часть. Зацепляющая часть предусмотрена в емкости для хранения средства формирования изображений. Зацепляемая часть предусмотрена в открывающем и закрывающем элементе и выполнена с возможностью сцепления с зацепляющей частью. Если положение, в котором зацепляющая часть и зацепляемая часть могут сцепляться между собой, снимается, то элемент зацепления позволяет открыться открывающему и закрывающему элементу. Элемент зацепления не позволяет открывающему и закрывающему элементу открываться в положении, при котором зацепляющая часть и зацепляемая часть могут сцепляться между собой. Положение, при котором зацепляющая часть и зацепляемая часть могут сцепляться между собой, снимается в случае, если открывающий и закрывающий элемент движется в направлении, пересекающем направление ввода относительно емкости для хранения средства формирования изображений из положения, при котором зацепляющая часть и зацепляемая часть могут сцепляться между собой. Элемент предотвращения расцепления не допускает снятия положения, при котором зацепляющая часть и зацепляемая часть могут сцепляться между собой, из-за того, что передняя сторона открывающего и закрывающего элемента движется относительно емкости для хранения средства формирования изображений по направлению, в котором перемещается открывающий и закрывающий элемент для того, чтобы открыть выпускное отверстие, таким образом, чтобы отклониться от положения, в котором находятся зацепляющая часть и зацепляемая часть.
При конфигурации [8] может быть предложен накопитель средства формирования изображений, который может предотвратить открывание открывающей и закрывающей секции в случае наклона открывающего и закрывающего элемента в одном направлении относительно емкости для хранения средства формирования изображений.
Краткое описание чертежей
Примеры вариантов реализации изобретения будут описаны ниже подробно на основании прилагаемых чертежей, на которых:
на фиг.1 показан вид сбоку, демонстрирующий устройство формирования изображений согласно первому примеру варианта реализации изобретения;
на фиг.2 показан вид в разрезе, выполненном по линии А-А на фиг.1, накопителя средства формирования изображений согласно первому примеру варианта реализации изобретения, помещенного в устройстве формирования изображений, показанном на фиг.1;
на фиг.3А и 3В схематически показано действие открывающего и закрывающего элемента, помещенного в накопителе средства формирования изображений, показанном на фиг.2, причем на фиг.3А показан вид в разрезе, который показывает положение, при котором открывающий и закрывающий элемент помещается в позицию, при которой открывающий и закрывающий элемент плотно закрывает выпускное отверстие, а на фиг.3В показан вид в разрезе, который показывает положение, при котором открывающий и закрывающий элемент помещается в позицию, при которой открывающий и закрывающий элемент открывает выпускное отверстие;
на фиг.4 показан перспективный вид, демонстрирующий емкость для хранения средства формирования изображений накопителя средства формирования изображений, показанного на фиг.2;
на фиг.5 показан перспективный вид с разделением на детали, демонстрирующий в разобранном состоянии емкость для хранения средства формирования изображений накопителя средства формирования изображений, показанного на фиг.2;
на фиг.6 показан вид в разрезе, выполненном по линии В-В на фиг.4, демонстрирующий часть емкости для хранения средства формирования изображений, показанного на фиг.4;
на фиг.7 показан вид снизу, демонстрирующий часть емкости для хранения средства формирования изображений, показанного на фиг.4, при наблюдении в направлении стрелки ”c”-C, показанной на фиг.4;
на фиг.8 показан первый перспективный вид, демонстрирующий открывающий и закрывающий элемент накопителя средства формирования изображений, показанного на фиг.2;
на фиг.9 показан второй перспективный вид, демонстрирующий открывающий и закрывающий элемент накопителя средства формирования изображений, показанного на фиг.2;
на фиг.10 показан вид в разрезе, демонстрирующий положение, при котором открывающий и закрывающий элемент накопителя средства формирования изображений, показанного на фиг.2, помещается в позицию, при которой открывающий и закрывающий элемент плотно закрывает выпускное отверстие при наблюдении в направлении стрелки ”c”-C, показанной на фиг.4;
на фиг.11А и 11В показан элемент зацепления 420, который помещен в накопителе средства формирования изображений, показанном на фиг.2, причем на фиг.11А показано положение, при котором зацепляющая часть и зацепляемая часть могут сцепляться между собой, а на фиг.11В показано положение, при котором зацепляющая часть и зацепляемая часть могут расцепляться между собой;
на фиг.12 показан первый чертеж, объясняющий назначение выступающей части, выполненной на открывающем и закрывающем элементе, показанном на фиг.8;
на фиг.13 показан второй чертеж, объясняющий назначение выступающей части, выполненной на открывающем и закрывающем элементе, показанном на фиг.8;
на фиг.14 показан третий чертеж, объясняющий назначение выступающей части, выполненной на открывающем и закрывающем элементе, показанном на фиг.8;
на фиг.15 показан вид в разрезе, выполненный по линии D-D на фиг.1, установочной части, помещенной в устройстве формирования изображений, показанном на фиг.1;
на фиг.16 показан перспективный вид вытяжного регулировочного элемента, помещенного в устройстве формирования изображений, показанном на фиг.1;
на фиг.17 показан чертеж, демонстрирующий часть установочной части, показанной на фиг.15, при наблюдении стрелки ”е”-Е, показанной на фиг.15;
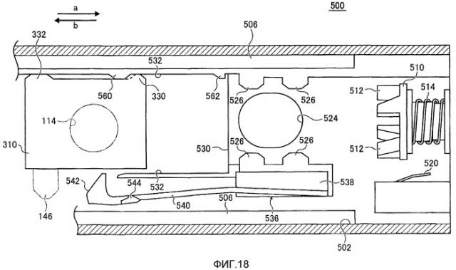
на фиг.18 показан вид в разрезе установочной части, демонстрирующий положение, при котором начинается ввод емкости для хранения проявителя в установочную часть, показанную на фиг.15, а открывающий и закрывающий элемент начинает входить во вторую регулирующую часть открывающего и закрывающего элемента;
на фиг.19 показан вид в разрезе установочной части, демонстрирующий положение, при котором емкость для хранения проявителя вводится в установочную часть, показанную на фиг.15, а открывающий и закрывающий элемент прилегает к первой регулирующей части открывающего и закрывающего элемента;
на фиг.20 показан вид в разрезе установочной части, демонстрирующий положение на половине пути извлечения емкости для хранения проявителя из установочной части;
на фиг.21 показан чертеж, демонстрирующий накопитель средства формирования изображений согласно первому сравнительному примеру;
на фиг.22 показан чертеж, демонстрирующий накопитель средства формирования изображений согласно второму сравнительному примеру;
на фиг.23 показан чертеж, демонстрирующий накопитель средства формирования изображений согласно второму примеру варианта реализации изобретения.
Подробное описание
Примеры вариантов реализации будут описаны подробно со ссылкой на прилагаемые чертежи.
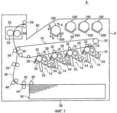
На фиг.1 показано устройство формирования изображений 6 согласно первому примеру варианта реализации изобретения. Устройство формирования изображений 6 имеет основной корпус устройства формирования изображений 8. Секция формирования изображений 10, устройство автоподачи листов бумаги 36 и (например, четыре) установочных части 500, в которые вставляют накопители средства формирования изображения 100, которые будут описаны позже, помещаются в основном корпусе 8 устройства формирования изображений. В основном корпусе 8 устройства формирования изображений образован путь подачи листов бумаги 46.
Секция формирования изображений 10 имеет (например, четыре) блока формирования изображений 14 и передаточный блок 16. Блоки формирования изображений 14 включают в себя по одному желтому, пурпурному, голубому и черному и размещаются параллельно. Каждый из блоков формирования изображений 14 включает в себя фотопроводящее тело 18, которое используется в качестве несущего изображение тела, зарядное устройство 20, которое имеет ролик и, например, заряжает фотопроводящее тело 18, экспозиционное устройство 22, которое имеет, например, светодиоды и образует скрытое изображение на светопроводящем теле 18, проявочное устройство 24, которое проявляет скрытое изображение на светопроводящем теле 18, сформированное экспозиционным устройством 22, с помощью проявителя, и чистящее устройство 26, которое счищает и удаляет проявитель, остающийся на фотопроводящем теле 18 после переноса.
Передаточный блок 16 имеет промежуточную передаточную ленту 28. Промежуточная передаточная лента 28 на фиг.1 вращается по часовой стрелке, опираясь на множество поддерживающих роликов 30. Первичные передаточные ролики 32 противостоят фотопроводящим телам 18, будучи разделены с ними промежуточной передаточной лентой 28. Вторичный передаточный ролик 34 расположен напротив одного из поддерживающих роликов 30, будучи разделен с ним промежуточной передаточной лентой 28.
Устройство автоподачи листов бумаги 36 помещается в нижней части основного корпуса 8 устройства формирования изображений и имеет стенд для подачи листов 38, на который укладывают листы, подпирающий валок 40, предназначенный для отбора листа из пакета, уложенного на стенде для подачи листов 38, и подающий ролик 42 и тормозящий ролик 44, предназначенные для передачи листов при отделении листов один от другого.
Путь подачи листов бумаги 46 выполнен в приблизительно вертикальном направлении рядом с одним концом основного корпуса 8 устройства формирования изображений (на чертеже - рядом с левым концом). В основном корпусе 8 устройства формирования изображений вдоль пути подачи листов бумаги 46 помещаются транспортный ролик 48, регистрационный ролик 50, вторичный передающий ролик 34, фиксирующее устройство 52 и отводящий ролик 54. Регистрационный ролик 50 временно останавливает подачу листа на пути подачи листов бумаги 46 и через заданный интервал транспортирует лист во вторичный передающий ролик 34. Фиксирующее устройство 56 имеет нагревательный ролик 56 и прижимной ролик 58 и фиксирует на листе проявочное изображение путем воздействия на него теплом и давлением.
На верху основного корпуса 8 устройства формирования изображений помещают разгрузочную секцию 60. Лист с зафиксированным на нем проявочным изображением выдается в разгрузочную секцию 60 отводящим роликом 54, и листы, выданные в разгрузочную секцию 60, накапливаются в ней.
Над промежуточной передаточной лентой 28 размещаются, например, четыре накопителя средства формирования изображений 100, которые содержат желтый, пурпурный, голубой и черный проявители. Желтый, пурпурный, голубой и черный проявители используются в качестве средств формирования изображений. Проявители, хранящиеся в накопителях средства формирования изображений 100, подаются в проявочное устройство 24 через устройство подачи проявителя (не показано).
Каждый из накопителей средства формирования изображений 100 может быть прикреплен к основному корпусу 8 устройства формирования изображений и отделен от него. Точнее, каждый из накопителей средства формирования изображений 100 вставляют в установочную часть 500 таким образом, что он проталкивается от передней стороны устройства формирования изображений 6 (передняя сторона на фиг.1) и назад (обратная сторона на фиг.1). Каждый накопитель средства формирования изображений 100, который вставлен в установочную часть 500, вытягивается от обратной стороны устройства формирования изображений 6 в направлении передней стороны устройства формирования изображений 6.
На фиг.2 схематически показан накопитель средства формирования изображений 100.
Как показано на фиг.2, накопитель средства формирования изображений 100 имеет емкость для хранения средства формирования изображений 110, который используется в качестве емкости для хранения средства формирования изображений, и открывающий и закрывающий элемент 310. Емкость для хранения средства формирования изображений 110 является деталью, вставленной непосредственно в установочную часть 500 (см. фиг.1) как часть накопителя средства формирования изображений 100. Емкость для хранения средства формирования изображений содержит проявитель Т. Внизу, например в нижней поверхности емкости для хранения средства формирования изображений 110, выполнено выпускное отверстие 114. Выпускное отверстие 114 используется для выдачи проявителя Т, содержащегося в емкости для хранения средства формирования изображений 110, и проявитель, выданный из выпускного отверстия 114, подается в проявочное устройство 24 (см. фиг.1). Выпускное отверстие 114, выполненное внизу, необязательно обращено прямо вниз по вертикали, но может быть обращено вниз под наклоном, подобно установочной части 500, показанной на фиг.1.
Открывающий и закрывающий элемент 310 размещается таким образом, чтобы иметь возможность перемещаться к емкости для хранения средства формирования изображений 110 и чтобы он мог быть помещен по меньшей мере в положении, при котором открывающий и закрывающий элемент 310 закрывает выпускное отверстие 114 на емкости для хранения средства формирования изображений 110, как показано на фиг.2.
На фиг.3А и 3В показана в общих чертах работа открывающего и закрывающего элемента 310. Открывающий и закрывающий элемент 310 может быть помещен в положение, в котором открывающий и закрывающий элемент 310 закрывает выпускное отверстие 114, как показано на фиг.2 и 3А, и может быть помещен в положение, при котором открывающий и закрывающий элемент 310 открывает выпускное отверстие 114, как показано на фиг.3В, то есть может перемещаться относительно емкости для хранения средства формирования изображений 110 по меньшей мере между закрытым положением и открытым положением. Когда открывающий и закрывающий элемент 310 располагается в положении, при котором открывающий и закрывающий элемент 310 открывает выпускное отверстие 114, проявитель, находящийся в емкости для хранения средства формирования изображений 110, выдается таким образом, чтобы падать через выпускное отверстие 114.
Стрелка «а», показанная на фиг.3А, указывает направление ввода, в котором накопитель средства формирования изображений 100 вводят в основной корпус 8 устройства формирования изображений. Перед тем, как накопитель средства формирования изображений 100 будет вставлен в основной корпус 8 устройства формирования изображений, открывающий и закрывающий элемент 310 помещают в положение, в котором открывающий и закрывающий элемент 310 закрывает выпускное отверстие 114. Когда емкость для хранения средства формирования изображений 110 продвигают из этого положения в основной корпус 8 устройства формирования изображений, открывающий и закрывающий элемент 310 взаимодействует с частью установочной части 500 в процессе, при котором движется накопитель средства формирования изображений 100, и только емкость для хранения средства формирования изображений 110 перемещается относительного основного корпуса 8 устройства формирования изображений в положение, в котором открывающий и закрывающий элемент 310 останавливается относительно основного корпуса 8 устройства формирования изображений. Таким образом, в то время, когда емкость для хранения средства формирования изображений 110 вводится в установочную часть 500, открывающий и закрывающий элемент 310 открывает выпускное отверстие 114 вместе с движением емкости для хранения средства формирования изображений 110 в направлении ввода.
Стрелка «b», показанная на фиг.3B, указывает направление извлечения, в котором накопитель средства формирования изображений 100 извлекают из основного корпуса 8 устройства формирования изображений. Открывающий и закрывающий элемент 310 помещают в положение, при котором открывающий и закрывающий элемент 310 открывает выпускное отверстие в ситуации, при которой накопитель средства формирования изображения 100 крепится к основному корпусу 8 устройства формирования изображений. Когда накопитель средства формирования изображений 100, который находится в такой ситуации, извлекается из основного корпуса 8 устройства формирования изображений, открывающий и закрывающий элемент взаимодействует с частью установочной части 500 в процессе, при котором движется накопитель средства формирования изображений 100, и только емкость для хранения средства формирования изображений 110 перемещается относительно основного корпуса 8 устройства формирования изображений в положение, в котором открывающий и закрывающий элемент 310 останавливается относительно основного корпуса 8 устройства формирования изображений. Таким образом, в то время, когда емкость для хранения средства формирования изображений 110 извлекается из установочной части 500, открывающий и закрывающий элемент 310 плотно закрывает выпускное отверстие 114 вместе с движением емкости для хранения средства формирования изображений 110 в направлении извлечения. Действие открывающего и закрывающего элемента 310, очерченное выше, будет описано далее подробно.
На фиг.4-7 показана емкость для хранения средства формирования изображений 110. На фиг.4 показан перспективный вид, демонстрирующий емкость для хранения средства формирования изображений 110. На фиг.5 показан перспективный вид с разделением на детали, демонстрирующий в разобранном состоянии емкость для хранения средства формирования изображений 110. На фиг.6 показан вид в разрезе, демонстрирующий часть емкости для хранения средства формирования изображений 110. На фиг.7 показан вид снизу, демонстрирующий часть емкости для хранения средства формирования изображений 110. На фиг.7 показан также открывающий и закрывающий элемент 310 вместе. Для удобства открывающий и закрывающий элемент 310 показан на фиг.7 в ситуации, когда его снимают с емкости для хранения средства формирования изображений 110.
Как показано на фиг.4-7, емкость для хранения средства формирования изображений 110 имеет трубчатый корпус 116, выполненный с выпускным отверстием 114, описанным ранее со ссылкой на фиг.2, телом крышки 160 и элементом для захвата 180. Трубчатый корпус 116 имеет приблизительно форму цилиндра. Открытым является передний конец трубчатого корпуса 116 в направлении ввода (направление, указанное стрелкой «а»), в котором накопитель средства формирования изображений 100 вводят в установочную часть 500 основного корпуса 8 устройства формирования изображений. Задняя сторона трубчатого корпуса 116 относительно направления ввода закрыта. Открытая часть переднего конца относительно направления ввода закрыта телом крышки 160, а проявитель содержится в полости, образуемой трубчатым корпусом 116 и телом крышки 160. В полости, образуемой трубчатым корпусом 116 и телом крышки 160, помещается перемешивающий элемент 126, предназначенный для перемешивания хран



