Способ работы петлевого накопителя с выравниванием натяжения

Иллюстрации

Показать все

Изобретение может использоваться в технологических процессах, предусматривающих накопление участка полосы. В петлевой накопитель на входе подается полоса. Полоса выдается из петлевого накопителя на выходе. С помощью расположенного на стороне входа устройства измерения измеряется имеющееся в полосе на входе накопителя входное натяжение. С помощью расположенного на стороне выхода устройства измерения измеряется имеющееся в полосе на выходе накопителя выходное натяжение. Входное натяжение и выходное натяжение подаются в управляющее устройство. Управляющее устройство программируется с помощью управляющей программы. Управляющая программа записана на носителе данных. Управляющее устройство определяет, по меньшей мере, для одного расположенного между входом накопителя и выходом накопителя приводного ролика сигнал управления в зависимости от входного натяжения и выходного натяжения. Сигнал управления подается, по меньшей мере, на один приводной ролик. Накопленная в петлевом накопителе полоса нагружается, по меньшей мере, одним приводным роликом в соответствии с управляющим сигналом. Обеспечивается возможность простого изменения натяжения накопленной полосы. 3 н. и 20 з.п. ф-лы, 5 ил.

Реферат

Данное изобретение относится к способу работы петлевого накопителя, с помощью которого обеспечивается возможность накопления участка полосы. Кроме того, оно относится к носителю данных с сохраняемой на носителе данных программой управления для выполнения такого способа работы. Наконец, изобретение относится к петлевому накопителю, с помощью которого обеспечивается возможность накопления участка полосы.

Петлевые накопители и способы работы петлевых накопителей в целом известны. Согласно уровню техники полосу подают в петлевой накопитель на входе накопителя. На выходе накопителя полоса выдается из петлевого накопителя. С помощью устройства измерения натяжения измеряют имеющееся в полосе натяжение. В качестве альтернативного решения, устройство измерения натяжения может быть расположено на входе накопителя или на выходе накопителя. Измеренное натяжение подается в управляющее устройство. На основании измеренного натяжения управляющее устройство регулирует состояние накопления петлевого накопителя.

Кроме того, петлевой накопитель может иметь приводимые во вращение ролики, которые расположены между входом накопителя и выходом накопителя. Управляющее устройство может определять для этих роликов управляющие сигналы и выдавать на приводные ролики. В этом случае накопленная в накопителе петель полоса нагружается приводными роликами в соответствии с управляющими сигналами.

Петлевые накопители для полос имеют, как правило, множество роликов, при этом полоса от ролика к ролику попеременно охватывает верхнюю сторону и нижнюю сторону роликов. Ролики установлены с возможностью перестановки по высоте относительно друг друга. За счет регулирования вертикального расстояния роликов друг от друга можно изменять длину накопленного петлевым накопителем участка полосы. Установка вертикального расстояния осуществляется обычно за счет регулирования моментов или скоростей в зависимости от заданной степени заполнения петлевого накопителя. Если между входом накопителя и выходом накопителя приводятся во вращение приводные ролики, то ролики регулируются по отдельности относительно момента и скорости в зависимости от входной скорости и/или выходной скорости, с которой полоса подается в накопитель петель, соответственно, выдается из него.

Когда момент, соответственно, скорость, с помощью которых устанавливается вертикальное расстояние роликов друг от друга, установлены неправильно, то эта неправильная установка оказывает влияние на натяжение участка полосы, который находится в петлевом накопителе. Такое влияние на натяжение может иметь отрицательные последствия для установленных после петлевого накопителя устройств. Согласно уровню техники для предотвращения колебаний натяжения измеряют натяжение, например, на стороне выхода и подают в управляющее устройство. Управляющее устройство исправляет установку вертикальной скорости в зависимости от измеряемого натяжения.

Из US 2004/118892 А1 известен способ регулирования напряжения тканого материала. В этом способе измеряют в двух местах материала соответствующее напряжение растяжения и подают в управляющее устройство. Управляющее устройство определяет для приводного ролика, который находится между обоими указанными местами, заданную скорость вращения, чтобы иметь на стороне выхода заданное натяжение. На основании натяжения на стороне входа управляют расположенным перед входом роликом, с которого сматывается тканый материал.

US 4915282 А имеет аналогичное содержание раскрытия.

Петлевой накопитель согласно уровню техники уже работает достаточно хорошо. Однако его работу можно улучшить.

В основу данного изобретения положена задача создания улучшенного способа работы петлевого накопителя и связанных с этим предметов (носитель данных с соответствующей программой управления, соответствующим образом выполненный петлевой накопитель).

Задача решена с помощью способа работы петлевого накопителя, который имеет признаки пункта 1 формулы изобретения. Кроме того, задача решена с помощью носителя данных с признаками пункта 12 и петлевого накопителя с признаками пункта 13 формулы изобретения.

Согласно изобретению полосу подают в петлевой накопитель на входе накопителя. Полоса выдается из петлевого накопителя на выходе накопителя. Измеряют как натяжение на стороне входа, так и натяжение на стороне выхода с помощью соответствующего устройства измерения натяжения и подают в управляющее устройство. Управляющее устройство определяет в зависимости от натяжения на стороне входа и натяжения на стороне выхода сигнал управления, по меньшей мере, для одного расположенного между входом накопителя и выходом накопителя приводного ролика и подает этот управляющий сигнал, по меньшей мере, на один приводной ролик. По меньшей мере, один приводной ролик нагружает накопленную в петлевом накопителе полосу в соответствии с управляющим сигналом. При этом управляющее устройство определяет управляющий сигнал так, что разница между натяжением на стороне входа и на стороне выхода изменяется в направлении заданной разницы натяжения.

За счет этого достигается заданный ход изменения натяжения в накопленной в петлевом накопителе полосе от входа накопителя к выходу накопителя. Кроме того, за счет этого обеспечивается относительно простое определение управляющего сигнала.

Предпочтительно, величина заданной разницы натяжения значительно меньше, чем натяжение на стороне входа и натяжение на стороне выхода. За счет этого достигается по существу равномерное натяжение полосы, пока она находится в петлевом накопителе. Предпочтительно, заданная разница натяжения имеет даже величину ноль.

Как правило, между входом накопителя и выходом накопителя имеются дополнительно, по меньшей мере, к одному приводному ролику неприводные ролики. Предпочтительно, число неприводных роликов больше числа приводных роликов. За счет этого можно удерживать минимальными расходы на технику управления, а также расходы на конструктивное выполнение.

Когда число приводных роликов составляет, по меньшей мере, три, то между каждыми двумя приводными роликами предпочтительно находится столько же неприводных роликов. За счет этого обеспечивается равномерная нагрузка на растяжение полосы. Кроме того, за счет этого облегчается определение управляющих сигналов.

Возможно, что петлевой накопитель имеет несколько расположенных последовательно друг за другом участков накопителя. В этом случае возможно, что для каждого участка накопителя задается собственный заданный коэффициент заполнения, и каждый участок накопителя работает так, что действительный коэффициент заполнения каждого участка накопителя приближается к заданному коэффициенту заполнения. За счет этого возможна гибкая работа петлевого накопителя.

Предпочтительно, в случае наличия нескольких расположенных последовательно друг за другом участков накопителя, по меньшей мере, в двух участках накопителя расположен, по меньшей мере, один приводной ролик. В этом случае управляющее устройство определяет для каждого приводного ролика в зависимости от натяжения на стороне входа и натяжения на стороне выхода соответствующий управляющий сигнал и подает на соответствующий приводной ролик. Накопленная в петлевом накопителе полоса нагружается каждым приводным роликом в соответствии с соответствующим управляющим сигналом. Несмотря на независимые друг от друга коэффициенты заполнения отдельных участков накопителя в этом случае управление приводными роликами выполняют так, что устанавливается желаемое натяжение полосы.

Другие преимущества и подробности следуют из приведенного ниже описания примеров выполнения со ссылками на прилагаемые чертежи, на которых схематично изображено:

фиг.1 - блок-схема накопителя петель, и

фиг.2-5 - графические схемы последовательности операций.

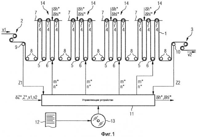
На фиг.1 схематично показана конструкция петлевого накопителя, с помощью которого обеспечивается возможность накопления участка полосы 1.

Петлевой накопитель имеет вход 2 накопителя, на котором в петлевой накопитель подается полоса 1. Подача осуществляется с входной скоростью v1. Вход 2 накопителя может быть выполнен, как показано на фиг.1, например, в виде S-образного ролика.

Кроме того, петлевой накопитель имеет выход 3 накопителя. Через выход 3 накопителя полоса 1 выдается из петлевого накопителя. Выдача происходит с выходной скоростью v2. Выход 3 накопителя может быть выполнен так же, как вход 2 накопителя, в виде S-образного ролика.

Между входом 2 накопителя и выходом 3 накопителя расположено множество верхних роликов 4 и нижних роликов 5, 6. Нижние ролики 5, 6 расположены, как правило, неподвижно. По меньшей мере, один из нижних роликов 5, 6, в данном случае обозначенные позицией 6 ролики, является приводным роликом.

Верхние ролики 4 расположены, как правило, на траверсах 7. Траверсы 7 установлены с возможностью поднимания и опускания. За счет поднимания, соответственно, опускания траверс 7 можно устанавливать действительный коэффициент заполнения петлевого накопителя (т.е. в конечном итоге длину накопленной в петлевом накопителе полосы 1).

Кроме того, петлевой накопитель имеет направляющие ролики 8. Направляющие ролики 8 выполнены с возможностью опрокидывания. С помощью направляющих роликов 8 можно оказывать влияние на боковой уход полосы 1, в частности в смысле предотвращения и/или устранения.

Кроме того, петлевой накопитель имеет расположенное на стороне входа устройство 9 измерения натяжения и расположенное на стороне выхода устройство 10 измерения натяжения. С помощью входного устройства 9 измерения натяжения можно измерять входное натяжение Z1, которое имеется в полосе 1 на входе 2 накопителя. С помощью выходного устройства 10 измерения натяжения можно измерять выходное натяжение Z2, которое имеется в полосе 1 на выходе 3 накопителя.

Наконец, петлевой накопитель имеет управляющее устройство 11. Управляющее устройство 11 программируется с помощью управляющей программы 12. Управляющая программа 12 записана на носителе 13 данных (например, CD-ROM 13) в читаемом исключительно машиной виде. С помощью носителя 13 данных управляющую программу 12 можно вводить в управляющее устройство 11 и тем самым программировать управляющее устройство 11.

На основании программирования с помощью управляющей программы 12 управляющее устройство 11 управляет петлевым накопителем в соответствии со способом работы, который поясняется ниже со ссылками на фиг.2. Дополнительно к этому делаются ссылки на фиг.1.

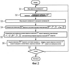
Как показано на фиг.2, управляющее устройство 11 на стадии S1 принимает заданную величину натяжения Z*. Например, не изображенный на фиг.1 оператор может вводить в управляющее устройство 11 заданное натяжение Z*. В качестве альтернативного решения, заданное натяжение Z* может быть задано управляющей программой 12. В качестве другого альтернативного решения, заданное натяжение Z* может определяться внешними условиями (например, рабочим состоянием расположенной после петлевого накопителя установки). В рамках данного изобретения не имеет значения, каким образом вводится заданное натяжение Z*.

На стадии 32 управляющее устройство 11 определяет изменение δF* заданного коэффициента заполнения петлевого накопителя. Как правило, управляющее устройство 11 определяет изменение δF* заданного коэффициента заполнения на основе временного такта, с которым оно работает, в соединении с входной скоростью v1 и выходной скоростью v2.

На стадии S3 управляющее устройство 11 принимает из устройств 9, 10 измерения натяжения измеренные устройствами 9, 10 величины натяжения Z1, Z2.

На стадии S4 управляющее устройство 11 определяет изменение δh* заданного состояния подъема для траверс 7. Оно определяет изменение δh* заданного состояния подъема в виде функции изменения δF* заданного коэффициента заполнения, заданного натяжения Z*, а также, по меньшей мере, одного из обоих натяжений Z1, Z2. Изменение δh* заданного состояния подъема может соответствовать, в частности, заданному значению момента или скорости. Стадия S4 будет подробно пояснена ниже применительно к фиг.3.

На стадии S5 управляющее устройство 11 определяет для каждого приводного нижнего ролика 6 заданное значение момента m* или заданное значение скорости вращения n*. Оно определяет заданные значения m*, n* в зависимости от положения соответствующего приводного нижнего ролика 6 в петлевом накопителе, входной скорости v1, выходной скорости v2, изменения δh* заданного состояния подъема, а также обоих натяжений Z1, Z2. Стадия S5 будет подробно пояснена ниже применительно к фиг.4.

На стадии S6 управляющее устройство 11 передает изменение δh* заданного состояния подъема на траверсы 7. Кроме того, оно выдает в рамках стадии S6 заданные значения m*, n* на приводные ролики 6. Заданные значения m*, n* соответствуют в данном изобретении управляющим сигналам.

Траверсы 7 соответственно переставляются на основании полученного изменения δh* заданного состояния подъема. Таким образом, действительный коэффициент заполнения петлевого накопителя согласовывается в соответствии с определенным изменением δF* заданного коэффициента заполнения. Действительный коэффициент заполнения петлевого накопителя, по меньшей мере, приближается к соответствующему заданному коэффициенту заполнения.

Таким же образом приводные ролики 6 нагружают накопленную в петлевом накопителе полосу 1 в соответствии с заданными значениями m*, n*.

На стадии S7 управляющее устройство 11 проверяет, необходимо ли завершать управление петлевым накопителем. Когда это так (например, при остановке петлевого накопителя), то способ согласно фиг.2 закончен. В другом случае управляющее устройство 11 возвращается на стадию S1 или на стадию S2.

Для осуществления стадии S4 на фиг.2 возможны различные пути. Так, например, стадию S4 можно выполнять в качестве замкнутого однозначного процесса определения. Как показано на фиг.3, предпочтительным является следующее выполнение.

На стадии S11 управляющее устройство 11 определяет сначала изменение δh* заданного состояния подъема в виде функции изменения δF* заданного коэффициента заполнения. Затем на стадии S12 управляющее устройство 11 определяет на основании входного натяжения Z1 и/или выходного натяжения Z2 эффективное натяжение Z. Например, управляющее устройство 11 может принимать в качестве эффективного натяжения Z одно из обоих натяжений Z1, Z2. В качестве альтернативного решения, управляющее устройство 11 может определять, например, среднее значение обоих натяжений Z1, Z2.

На стадии S13 управляющее устройство 11 проверяет, является ли эффективное натяжение Z больше заданного натяжения Z*. Если это так, то управляющее устройство 11 понижает на стадии S14 изменение δh* заданного состояния подъема на величину коррекции, которая зависит от разницы эффективного натяжения Z и заданного натяжения Z*.

Когда эффективное натяжение Z не превышает заданное натяжение Z*, то управляющее устройство 11 на стадии S15 проверяет, является ли эффективное натяжение Z меньше заданного натяжения Z*. Когда это так, то управляющее устройство 11 на стадии S16 увеличивает изменение δh* заданного состояния подъема на величину коррекции, которая зависит от разницы эффективного натяжения Z и заданного натяжения Z*.

На фиг.3 показано, что изменение δh* заданного состояния подъема по существу определяется изменением δF* заданного коэффициента заполнения. Однако оно зависит также, даже если в меньшей мере, от отклонения эффективного натяжения Z от заданного натяжения Z*.

Аналогичным образом, стадию S5 можно также осуществлять в виде однообразной стадии. Однако, как показано на фиг.4, предпочтительным является следующее выполнение.

На стадии S21 управляющее устройство 11 определяет заданные значения n* скорости вращения для приводных роликов 6 в виде функции входной скорости v1, выходной скорости v2 и изменения δh* заданного состояния подъема.

На стадии S22 управляющее устройство 11 определяет на основании выходного натяжения Z2 и входного натяжения Z1 разницу δZ натяжения.

На стадии S23 управляющее устройство 11 проверяет, является ли разница δZ натяжения больше заданной разницы δZ* натяжения. Если это так, то управляющее устройство 11 на стадии S24 увеличивает заданные величины n* скорости вращения для приводных роликов 6.

Когда разница δZ натяжения не превышает заданную разницу δZ* натяжения, то управляющее устройство 11 на стадии S25 проверяет, является ли разница δZ натяжения меньше заданной разницы δZ* натяжения. Если это так, то управляющее устройство 11 на стадии S26 уменьшает заданные значения n* скорости вращения для приводных роликов 6.

Как показано на фиг.4, заданные величины n* скорости вращения по существу определяются скоростями v1, v2 и изменением δh* заданного состояния подъема. Однако они зависят также, хотя и в меньшей степени, от натяжений Z1 и Z2. В частности, они зависят от того, является ли разница δZ натяжения больше или меньше заданной разницы δZ* натяжения. В обоих случаях заданные величины n* скорости вращения для приводных роликов 6 исправляются так, что разница δZ натяжения смещается в направлении заданной разницы δZ* натяжения.

Указанный выше применительно к фиг.4 способ реализуется аналогичным образом, когда вместо заданных величин n* скорости вращения необходимо определять заданные значения m* момента.

Заданная разница δZ* натяжения может в принципе иметь любое значение. Предпочтительно, величина заданной разницы δZ* натяжения значительно меньше входного натяжения Z1 и выходного натяжения Z2. В частности, заданная разница δZ* натяжения может равняться нулю.

Возможно, что все ролики 4, 5, 6 являются приводными. Как правило, по меньшей мере, верхние ролики 4 не являются приводными. Поэтому между входом 2 накопителя и выходом 3 накопителя дополнительно к приводным роликам 6 имеются неприводные ролики 4, 5.

Кроме того, возможно, что все нижние ролики 5, 6 являются приводными. Однако, как показано на фиг.1, лишь часть нижних роликов 5, 6 являются приводными, а именно обозначенные позицией 6 приводные нижние ролики. Поэтому в результате число неприводных роликов 4, 5 больше числа приводных роликов 6.

Когда не все ролики 4, 5, 6 являются приводными, то приводные ролики 6 обычно распределены произвольно между входом 2 накопителя и выходом 3 накопителя. Число приводных роликов 6 в принципе также является произвольным.

Как правило, число приводных роликов 6 больше двух. Таким образом, оно составляет, по меньшей мере, три. Согласно фиг.1 предусмотрено даже четыре приводных ролика 6. Как показано на фиг.1, между каждыми двумя приводными роликами 6 расположено одинаковое число неприводных роликов 4, 5. Это справедливо, предпочтительно, независимо от того, считаются ли, дополнительно к верхним роликам 4 и неприводным нижним роликам 5, направляющие ролики 8 неприводными роликами.

Возможно, что петлевой накопитель всегда работает единообразно. Например, петлевой накопитель может иметь лишь одну единственную траверсу 7. Однако и при выполнении согласно фиг.1, в котором имеется несколько траверс 7, возможна единообразная работа. В этом случае необходимо всегда одинаково управлять всеми траверсами 7.

Каждая траверса 7 задает участок 14 накопителя, при этом участки 14 накопителя расположены последовательно друг за другом. При соответствующем выполнении управляющего устройства 11 возможна работа участков 14 накопителя независимо друг от друга. Это поясняется ниже со ссылками на фиг.5.

Фиг.5 имеет то же принципиальное построение, что и фиг.2. Поэтому ниже поясняются лишь отличия от фиг.2.

На фиг.5 стадия S2 заменена на стадию S31. На стадии S31 управляющее устройство 11 определяет для каждого участка 14 накопителя собственное изменение δFi* заданного коэффициента заполнения (i является указателем для каждого участка 14 накопителя). Определение изменения δFi* заданного коэффициента заполнения само по себе известно. Например, отдельные участки 14 накопителя можно выключать, так что они работают постоянно с коэффициентом заполнения 50%.

Кроме того, как показано на фиг.5, стадия S4 заменена на стадию S32. На стадии S32 управляющее устройство 11 определяет отдельно для каждого участка 14 накопителя изменение δhi* заданного состояния подъема. В данном случае i также является указателем соответствующего участка 14 накопителя. В каждый участок 14 накопителя отдельно выдается соответствующее изменение δhi* заданного состояния подъема. Таким образом, каждый участок 14 накопителя работает так, что действительный коэффициент заполнения соответствующего участка 14 накопителя приближается к соответствующему заданному коэффициенту заполнения.

В противоположность этому, стадия S5 при выполнении согласно фиг.5 остается. Таким образом, управляющее устройство 11 определяет также при выполнении согласно фиг.5 для каждого приводного ролика 6 в зависимости от входного натяжения Z1 и выходного натяжения Z2 соответствующее заданное значение m*, n* момента, соответственно, скорости вращения и выдает его на соответствующий приводной ролик 6. Таким образом, накопленная в петлевом накопителе полоса нагружается каждым приводным роликом 6 в соответствии с заданным значением m*, n*. Это остается справедливым, хотя приводные ролики 6 распределены по участкам 14 накопителя, и для участков 14 накопителя задаются различные изменения δhi* заданного состояния подъема. Единственное отличие состоит в том, что в рамках стадии S32 при определении заданного значения n* скорости вращения для каждого приводного ролика учитывается изменение δhi* заданного состояния подъема участка 14 накопителя, в котором расположен соответствующий приводной ролик 6.

С помощью данного изобретения обеспечивается простым образом преимущественная по сравнению с уровнем техники работа петлевого накопителя. Поскольку в петлевых накопителях согласно уровню техники все еще измеряют выходное натяжение Z2, а в некоторых петлевых накопителях согласно уровню техники измеряют также входное натяжение, то переоборудование требует лишь согласования управляющей программы 12 управляющего устройства 11, при необходимости с добавлением устройства 9 измерения натяжения на стороне входа.

Приведенное выше описание служит исключительно для пояснения данного изобретения. В противоположность этому, объем защиты данного изобретения определяется исключительно прилагаемой формулой изобретения.

1. Способ работы петлевого накопителя, с помощью которого обеспечивается возможность накопления участка полосы (1),- при этом полоса (1) подается в петлевой накопитель на входе (2) накопителя и выдается из петлевого накопителя на выходе (3) накопителя,- при этом с помощью расположенного на стороне входа устройства (9) измерения натяжения измеряют имеющееся на входе (2) накопителя в полосе (1) натяжение (Z1) на стороне входа, и с помощью расположенного на стороне выхода устройства (10) измерения натяжения измеряют имеющееся на выходе (3) накопителя в полосе (1) натяжение (Z2) на стороне выхода,- при этом входное натяжение (Z1) и выходное натяжение (Z2) подают в управляющее устройство (11),- при этом управляющее устройство (11) определяет, по меньшей мере, для одного расположенного между входом (2) накопителя и выходом (3) накопителя приводного ролика (6), в зависимости от входного натяжения (Z1) и выходного натяжения (Z2), управляющий сигнал (m*, n*) и подает его, по меньшей мере, на один приводной ролик (6),- при этом накопленная в петлевом накопителе полоса (1) нагружается, по меньшей мере, одним приводным роликом (6) в соответствии с управляющим сигналом (m*, n*),- при этом управляющее устройство (11) определяет управляющий сигнал (m*, n*) так, что разница (δZ) между натяжением (Z1) на стороне входа и натяжением (Z2) на стороне выхода изменяется в направлении заданной разницы (δZ*) натяжения.

2. Способ работы по п.1, отличающийся тем, что величина заданной разницы (δZ*) натяжения значительно меньше входного натяжения (Z1) и выходного натяжения (Z2).

3. Способ работы по п.2, отличающийся тем, что заданная разница (δZ*) натяжения имеет значение ноль.

4. Способ работы по любому из пп.1, 2 или 3, отличающийся тем, что между входом (2) накопителя и выходом (3) накопителя имеются дополнительно, по меньшей мере, к одному приводному ролику (6) неприводные ролики (4, 5) и что число неприводных роликов (4, 5) больше числа приводных роликов (6).

5. Способ работы по п.4, отличающийся тем, что число приводных роликов (6) составляет, по меньшей мере, три и что между каждыми двумя приводными роликами (6) расположено столько же неприводных роликов (4, 5).

6. Способ работы по любому из пп.1, 2 или 3, отличающийся тем, что петлевой накопитель имеет несколько расположенных последовательно друг за другом участков (14) накопителя, что для каждого участка (14) накопителя задают собственный заданный коэффициент заполнения, и что каждый участок (14) накопителя работает так, что действительный коэффициент заполнения каждого участка накопителя (14) приближается к соответствующему заданному коэффициенту заполнения.

7. Способ работы по п.4, отличающийся тем, что петлевой накопитель имеет несколько расположенных последовательно друг за другом участков (14) накопителя, что для каждого участка (14) накопителя задают собственный заданный коэффициент заполнения, и что каждый участок (14) накопителя работает так, что действительный коэффициент заполнения каждого участка накопителя (14) приближается к соответствующему заданному коэффициенту заполнения.

8. Способ работы по п.5, отличающийся тем, что петлевой накопитель имеет несколько расположенных последовательно друг за другом участков (14) накопителя, что для каждого участка (14) накопителя задают собственный заданный коэффициент заполнения, и что каждый участок (14) накопителя работает так, что действительный коэффициент заполнения каждого участка накопителя (14) приближается к соответствующему заданному коэффициенту заполнения.

9. Способ работы по п.6, отличающийся тем, что, по меньшей мере, в двух участках (14) накопителя расположен, по меньшей мере, один приводной ролик (6), что управляющее устройство (11) определяет для каждого приводного ролика (6), в зависимости от натяжения (Z1) на стороне входа и натяжения (Z2) на стороне выхода, соответствующий управляющий сигнал (m*, n*) и подает на соответствующий приводной ролик (6), и что накопленная в петлевом накопителе полоса (1) нагружается каждым приводным роликом (6) в соответствии с соответствующим управляющим сигналом (m*, n*).

10. Способ работы по п.7, отличающийся тем, что, по меньшей мере, в двух участках (14) накопителя расположен, по меньшей мере, один приводной ролик (6), что управляющее устройство (11) определяет для каждого приводного ролика (6), в зависимости от натяжения (Z1) на стороне входа и натяжения (Z2) на стороне выхода, соответствующий управляющий сигнал (m*, n*) и подает на соответствующий приводной ролик (6), и что накопленная в петлевом накопителе полоса (1) нагружается каждым приводным роликом (6) в соответствии с соответствующим управляющим сигналом (m*, n*).

11. Способ работы по п.8, отличающийся тем, что, по меньшей мере, в двух участках (14) накопителя расположен, по меньшей мере, один приводной ролик (6), что управляющее устройство (11) определяет для каждого приводного ролика (6), в зависимости от натяжения (Z1) на стороне входа и натяжения (Z2) на стороне выхода, соответствующий управляющий сигнал (m*, n*) и подает на соответствующий приводной ролик (6), и что накопленная в петлевом накопителе полоса (1) нагружается каждым приводным роликом (6) в соответствии с соответствующим управляющим сигналом (m*, n*).

12. Носитель данных с хранящейся на носителе данных управляющей программой (12), при этом управляющая программа (12) приводит к тому, что управляющее устройство (11) принимает для петлевого накопителя натяжение (Z1) на стороне входа и натяжение (Z2) на стороне выхода, определяет, по меньшей мере, для одного приводного ролика (6), в зависимости от входного натяжения (Z1) и выходного натяжения (Z2), управляющий сигнал (m*, n*) и подает управляющий сигнал (m*, n*), по меньшей мере, на один приводной ролик (6), когда управляющая программа (12) выполняется управляющим устройством (11), при этом управляющее устройство (11) определяет управляющий сигнал (m*, n*) так, что разница (δZ) между натяжением (Z1) на стороне входа и натяжением (Z2) на стороне выхода изменяется в направлении заданной разницы (δZ*) натяжения.

13. Петлевой накопитель, с помощью которого обеспечивается возможность накопления участка полосы (1),- при этом петлевой накопитель имеет вход (2) накопителя, предназначенный для подачи полосы (1) в петлевой накопитель,- при этом петлевой накопитель имеет выход (3) накопителя, предназначенный для выдачи полосы (1) из петлевого накопителя,- при этом петлевой накопитель имеет, по меньшей мере, один расположенный между входом (2) накопителя и выходом (3) накопителя приводной ролик (6),- при этом петлевой накопитель имеет расположенное на стороне входа и расположенное на стороне выхода устройство (9, 10) измерения натяжения, с помощью которого можно измерять имеющееся на входе (2) накопителя в полосе (1) входное натяжение (Z1) и имеющееся на выходе (3) накопителя в полосе (1) выходное натяжение (Z2),- при этом петлевой накопитель имеет управляющее устройство (11), в которое подаются входное и выходное натяжения (Z1, Z2),- при этом накопленная в петлевом накопителе полоса (1) нагружается, по меньшей мере, одним приводным роликом (6) в соответствии с управляющим сигналом (m*, n*),- при этом управляющее устройство (11) выполнено так, что оно определяет, в зависимости от входного натяжения (Z1) и выходного натяжения (Z2), управляющий сигнал, по меньшей мере, для одного приводного ролика (6) и выдает его, по меньшей мере, на один приводной ролик (6),- при этом управляющее устройство (11) выполнено так, что оно определяет управляющий сигнал (m*, n*) так, что разница (δZ) между натяжением (Z1) на стороне входа и натяжением (Z2) на стороне выхода изменяется в направлении заданной разницы (δZ*) натяжения.

14. Петлевой накопитель по п.13, отличающийся тем, что управляющее устройство (11) выполнено так, что величина заданной разницы (δZ*) натяжения значительно меньше входного натяжения (Z1) и выходного натяжения (Z2).

15. Петлевой накопитель по п.14, отличающийся тем, что управляющее устройство (11) выполнено так, что заданная разница (δZ*) натяжения имеет значение ноль.

16. Петлевой накопитель по любому из пп.13, 14 или 15, отличающийся тем, что между входом (2) накопителя и выходом (3) накопителя имеются дополнительно, по меньшей мере, к одному приводному ролику (6) неприводные ролики (4, 5) и что число неприводных роликов (4, 5) больше числа приводных роликов (6).

17. Петлевой накопитель по п.16, отличающийся тем, что число приводных роликов (6) составляет, по меньшей мере, три и что между каждыми двумя приводными роликами (6) расположено столько же неприводных роликов (4, 5).

18. Петлевой накопитель по любому из пп.13, 14 или 15, отличающийся тем, что петлевой накопитель имеет несколько расположенных последовательно друг за другом участков (14) накопителя, что управляющее устройство (11) выполнено так, что для каждого участка (14) накопителя задается собственный заданный коэффициент заполнения, и что каждый участок (14) накопителя работает так, что действительный коэффициент заполнения каждого участка накопителя (14) приближается к соответствующему заданному коэффициенту заполнения.

19. Петлевой накопитель по п.16, отличающийся тем, что петлевой накопитель имеет несколько расположенных последовательно друг за другом участков (14) накопителя, что управляющее устройство (11) выполнено так, что для каждого участка (14) накопителя задается собственный заданный коэффициент заполнения, и что каждый участок (14) накопителя работает так, что действительный коэффициент заполнения каждого участка накопителя (14) приближается к соответствующему заданному коэффициенту заполнения.

20. Петлевой накопитель по п.17, отличающийся тем, что петлевой накопитель имеет несколько расположенных последовательно друг за другом участков (14) накопителя, что управляющее устройство (11) выполнено так, что для каждого участка (14) накопителя задается собственный заданный коэффициент заполнения, и что каждый участок (14) накопителя работает так, что действительный коэффициент заполнения каждого участка накопителя (14) приближается к соответствующему заданному коэффициенту заполнения.

21. Петлевой накопитель по п.18, отличающийся тем, что, по меньшей мере, в двух участках (14) накопителя расположен, по меньшей мере, один приводной ролик (6), что управляющее устройство (11) выполнено так, что оно определяет для каждого приводного ролика (6), в зависимости от натяжения (Z1) на стороне входа и натяжения (Z2) на стороне выхода, соответствующий управляющий сигнал (m*, n*) и подает на соответствующий приводной ролик (6), и что накопленная в петлевом накопителе полоса (1) нагружается каждым приводным роликом (6) в соответствии с соответствующим управляющим сигналом (m*, n*).

22. Петлевой накопитель по п.19, отличающийся тем, что, по меньшей мере, в двух участках (14) накопителя расположен, по меньшей мере, один приводной ролик (6), что управляющее устройство (11) выполнено так, что оно определяет для каждого приводного ролика (6), в зависимости от натяжения (Z1) на стороне входа и натяжения (Z2) на стороне выхода, соответствующий управляющий сигнал (m*, n*) и подает на соответствующий приводной ролик (6), и что накопленная в петлевом накопителе полоса (1) нагружается каждым приводным роликом (6) в соответствии с соответствующим управляющим сигналом (m*, n*).

23. Петлевой накопитель по п.20, отличающийся тем, что, по меньшей мере, в двух участках (14) накопителя расположен, по меньшей мере, один приводной ролик (6), что управляющее устройство (11) выполнено так, что оно определяет для каждого приводного ролика (6), в зависимости от натяжения (Z1) на стороне входа и натяжения (Z2) на стороне выхода, соответствующий управляющий сигнал (m*, n*) и подает на соответствующий приводной ролик (6), и что накопленная в петлевом накопителе полоса (1) нагружается каждым приводным роликом (6) в соответствии с соответствующим управляющим сигналом (m*, n*).