Система и способ для отбора проб скважинной текучей среды
Иллюстрации
Показать всеИзобретение относится к системе и способу для отбора проб скважинных текучих сред. Техническим результатом является избирательное включение с поверхности инструмента для отбора проб и его установка в любом месте в каротажной колонне. Система содержит каротажную колонну для размещения в скважине, инструмент для отбора проб, подсоединенный к каротажной колонне и имеющий камеру для пробы, подвижный элемент, размещенный в ней для отделения буферной текучей среды от пробируемой текучей среды, и камеру низкого давления. При этом извлечение буферной текучей среды из камеры для пробы создает разность давлений, вызывающую перемещение подвижного элемента и втекание пробируемой текучей среды в камеру для пробы через приспособление всасывания, выборочно открываемое для скважинной текучей среды, окружающей инструмент для отбора проб, и пусковое средство, содержащее средство с электрическим приводом, расположенное в камере низкого давления и предназначенное для выборочного приведения в действие с поверхности инструмента для отбора проб для втекания пробы скважинной текучей среды в камеру для пробы. 4 н. и 22 з.п. ф-лы, 7 ил.
Реферат
Область техники изобретения
Настоящее изобретение в основном относится к системе и способу для отбора проб скважинных текучих сред. Скважина пробурена в формации, содержащей текучие среды, и инструмент для отбора проб используется для получения пробы текучей среды для анализа.
Предшествующий уровень техники
Во время различных фаз эксплуатации скважины может быть зарегистрировано несколько характеристик добываемой текучей среды. Каротажные зонды используются для анализа одно- или многофазного потока в эксплуатационных скважинах и в нагнетательных скважинах. Колонна каротажного инструмента часто содержит несколько специальных датчиков для измерения каждого из требующихся параметров, например скорости текучей среды, давления и температуры. Каротажные зонды имеют довольно сложную конструкцию, требующую наземного считывания и получения данных. Конструкция может также включать в себя как внутреннюю электронику, так и сквозную проводку, позволяющую устанавливать соединение с другими модулями над и под данным каротажным инструментом.
В дополнение к каротажным данным, полученным относительно протекающей текучей среды, сбор типичных проб текучей среды резервуара для анализа давления, объема и температур может дополнительно оптимизировать будущую добычу из резервуара. Однако сбор проб скважинной текучей среды во время каротажных работ является трудным. Инструмент для отбора проб должен захватить пробу текучей среды под давлением и вернуть эту пробу под давлением на поверхность для анализа, по существу, в первоначальных условиях. Многие инструменты для отбора проб были сконструированы для спуска в каротажной колонне, в результате чего получались относительно дорогие и сложные устройства, которые могут быть непригодными для использования в среде добычи. Такие инструменты для отбора проб рассчитаны на включение по таймеру и не могут быть выборочно включены с поверхности. Дополнительно, эти инструменты для отбора проб должны быть установлены снизу каротажной колонны, что значительно препятствует использованию скважинного профилометра, который должен быть размещен снизу каротажной колонны. Следовательно, существует необходимость в инструменте для отбора проб, который может избирательно включаться с поверхности и может быть установлен в любое место в каротажной колонне.
Краткое описание сущности изобретения
Согласно изобретению создана система отбора проб скважинной текучей среды в процессе каротажа скважины, содержащая каротажную колонну для размещения в скважине, инструмент для отбора проб, подсоединенный к каротажной колонне и имеющий камеру для пробы, подвижный элемент, размещенный в ней для отделения буферной текучей среды от пробируемой текучей среды, и камеру низкого давления, при этом извлечение буферной текучей среды из камеры для пробы создает разность давлений, вызывающую перемещение подвижного элемента и втекание пробируемой текучей среды в камеру для пробы через приспособление всасывания, выборочно открываемое для скважинной текучей среды, окружающей инструмент для отбора проб, и пусковое устройство, расположенное в камере низкого давления и предназначенное для выборочного приведения в действие с поверхности инструмента для отбора проб для втекания пробы скважинной текучей среды в камеру для пробы.
Подвижный элемент может содержать плавающий поршень, расположенный в камере для пробы.
Инструмент для отбора проб может содержать продольный канал для проведения коммуникационных линий к модулю под инструментом для отбора проб, клапан, приводимый в действие для извлечения буферной текучей среды, насос, приводимый в действие для извлечения буферной текучей среды, внутренний двигатель, используемый для инициирования отбора проб, внутренний соленоид, используемый для инициирования отбора проб, систему компенсации давления для восстановления давления резервуара после удаления инструмента для отбора проб из скважины.
Система может дополнительно содержать перемешиватель с магнитным приводом, размещенный внутри камеры для пробы.
Согласно изобретению создано скважинное устройство для использования в процессе каротажа скважины, содержащее инструмент для отбора проб, имеющий корпус, образующий камеру для пробы, содержащую буферную текучую среду, при этом извлечение буферной текучей среды из камеры для пробы создает разность давлений, вызывающую втекание пробы текучей среды в камеру для пробы через приспособление всасывания на одном конце корпуса, выборочно открываемое для скважинной текучей среды, окружающей инструмент для отбора проб, и пусковое устройство, содержащее средство с электрическим приводом, размещенное в камере низкого давления и предназначенное для выборочного приведения в действие с поверхности инструмента для отбора проб для втекания пробы скважинной текучей среды в камеру для пробы.
Инструмент для отбора проб может содержать канал для размещения коммуникационных линий, проходящих через инструмент для отбора проб.
Устройство может дополнительно содержать клапан, приводимый в действие средством с электрическим приводом, насос, приводимый в действие средством с электрическим приводом.
Инструмент для отбора проб может быть приспособлен для подсоединения к каротажной колонне, имеющей диаметр, соответствующий диаметру корпуса инструмента для отбора проб.
Устройство может дополнительно содержать источник энергии, расположенный в корпусе для сжатия пробы скважинной текучей среды до давления резервуара после удаления инструмента для отбора проб из скважины, перемешиватель с магнитным приводом, размещенный в камере для пробы.
Согласно изобретению создан способ отбора проб скважинной текучей среды из подземного резервуара в процессе каротажа скважины, содержащий следующие этапы:
подсоединение инструмента для отбора проб к каротажной колонне;
спуск каротажной колонны в скважину;
обеспечение втекания пробы скважинной текучей среды в камеру для пробы инструмента для отбора проб путем удаления из нее буферной текучей среды с использованием пускового устройства, содержащего средство с электрическим приводом и расположенного в камере низкого давления указанного инструмента и предназначенного для выборочного приведения в действие с поверхности указанного инструмента для втекания пробы текучей среды в камеру для пробы через приспособление всасывания, выборочно открываемое для скважинной текучей среды, окружающей инструмент для отбора проб;
удержание пробы скважинной текучей среды в инструмент для отбора проб после его возвращения на поверхность.
При осуществлении способа можно использовать инструмент для отбора проб с диаметром, не превышающим диаметр каротажной колонны.
Способ может дополнительно содержать обеспечение проводного соединения через инструмент для отбора проб.
При осуществлении способа можно использовать пусковое устройство, которое содержит средство с электрическим приводом в виде внутреннего двигателя, подсоединенного к клапану, в виде внутреннего соленоида, подсоединенного к клапану, или в виде внутреннего двигателя, подсоединенного к насосу.
Способ может дополнительно содержать перемешивание пробы скважинной текучей среды и возвращение пробы скважинной текучей среды к ее давлению резервуара, когда она находится на поверхности.
Согласно изобретению создана система отбора проб скважинной текучей среды в процессе каротажа скважины, содержащая инструмент для отбора проб, имеющий корпус с внутренней камерой для пробы для введения пробы скважинной текучей среды через приспособление всасывания, выборочно открываемое для скважинной текучей среды, окружающей инструмент для отбора проб при его размещении в скважине, камеру низкого давления и магнитный перемешивающий элемент, размещенный во внутренней камере для пробы, и пусковое устройство, содержащее средство с электрическим приводом, расположенное в камере низкого давления и предназначенное для выборочного приведения в действие с поверхности инструмента для отбора проб для втекания пробы скважинной текучей среды во внутреннюю камеру для пробы.
Система может дополнительно содержать перемешивающее устройство для перемешивания пробы скважинной текучей среды, имеющее магнитный перемешивающий элемент и, по меньшей мере, один магнит для приведения магнитного перемешивающего элемента в возвратно-поступательное движение во внутренней камере для пробы.
Система может дополнительно содержать нагревательный элемент, размещенный вдоль перемешивающего устройства для выборочного нагрева пробы скважинной текучей среды.
Краткое описание чертежей
Определенные варианты осуществления изобретения будут описаны ниже со ссылкой на прилагаемые чертежи, на которых изображено следующее:
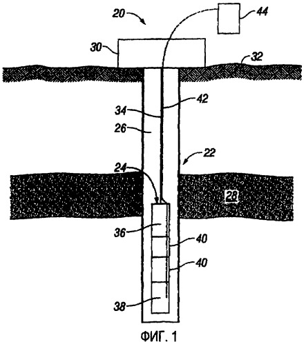
фиг.1 изображает вид спереди каротажной системы, размещенной в скважине, в соответствии с вариантом осуществления настоящего изобретения;
фиг.2 - схематический вид инструмента для отбора проб, который может быть использован в каротажной системе, показанной на фиг.1, в соответствии с вариантом осуществления настоящего изобретения;
фиг.3 - более детальный схематический вид инструмента для отбора проб в соответствии с вариантом осуществления настоящего изобретения;
фиг.4 - схематический вид альтернативного варианта осуществления инструмента для отбора проб, показанного на фиг.3;
фиг.5 - схематический вид альтернативного варианта осуществления инструмента для отбора проб, показанного на фиг.3;
фиг.6 - схематический вид альтернативного варианта осуществления инструмента для отбора проб, показанного на фиг.3;
фиг.7 - схематический вид инструмента для отбора проб, объединенного с перемешивающей и нагревающей системой, в соответствии с вариантом осуществления настоящего изобретения.
Подробное описание изобретения
В следующем описании излагаются многочисленные подробности для обеспечения понимания настоящего изобретения. Однако специалисты в данной области техники должны понимать, что настоящее изобретение может быть осуществлено без этих подробностей и возможны многочисленные вариации и модификации описанных вариантов осуществления.
Настоящее изобретение относится в основном к системе и способу для отбора типичной пробы текучей среды из резервуара, такой как типичные пробы нефти и/или газа из нефтяной скважины. Инструмент для отбора проб используется с колонной каротажных инструментов для облегчения сбора, например, проб для анализа объема, температуры и давления при его выборочной установке в каротажной колонне. Инструмент для отбора проб может быть выполнен с байпасом для обеспечения коммуникационных линий, таких как электрические линии или волоконно-оптические линии, для коммуникации с оборудованием, расположенным выше или ниже инструмента для отбора проб. Эта возможность также облегчает размещение инструмента для отбора проб в любом из доступных мест вдоль каротажной колонны. Более того, инструмент для отбора проб может быть подготовлен на центральной станции, доставлен на буровую площадку, подсоединен в колонну инструментов, опущен в скважину для получения пробы скважинной текучей среды, поднят из скважины, удален из колонны каротажных инструментов и доставлен в лабораторию по анализу проб без перемещения пробы скважинной текучей среды. Это значительно облегчает возможности по обеспечению качества пробы. Система и способ могут быть использованы с различными скважинными системами каротажа.
Один вариант системы изображен на фиг.1 и содержит каротажную систему 20 для использования в оценке скважинных характеристик, таких как характеристики потока в скважине 22. Каротажная система 20 обычно содержит колонну 24 каротажных инструментов, размещенную в стволе 26 скважины, которая пробурена или сформирована другим образом в подземном резервуаре или формации 28. Ствол 26 скважины может быть открытым стволом или обсаженным стволом. Колонна 24 каротажных инструментов подвешивается ниже устья 30 скважины, расположенного, например, на поверхности 32 земли. Колонна 24 каротажных инструментов подвешивается с помощью системы 34 размещения, такой как кабель-канат, гибкая насосно-компрессорная труба или буровая колонна.
В показанном варианте осуществления колонна 24 каротажных инструментов содержит множество каротажных инструментов или модулей, например модули 36 и 38. Модули 36 и 38 могут включать в себя оборудование, используемое в определении различных скважинных параметров, таких как характеристики потока добываемой текучей среды, по мере его протекания вверх через ствол 26 скважины. Один или несколько инструментов 40 для отбора проб съемно подсоединены в каротажную колонну 24 между модулями 36 и 38. В показанном варианте использованы два инструмента 40 для отбора проб, несмотря на то, что может быть использовано множество различных мест во всей каротажной колонне. Например, несколько инструментов 40 для отбора проб могут быть установлены последовательно и выборочно активированы в разное время для получения.
Каждый инструмент 40 для отбора проб соединен в линию с другими компонентами колонны 24 каротажных инструментов с помощью, например, обычных механизмов, используемых для соединения компонентов каротажной колонны в линию и известных специалистам в данной области техники. Более того, каждый инструмент 40 для отбора проб может быть выполнен с внешним диаметром, не превышающим внешний диаметр компонентов каротажной колонны, например модулей 36 и 38 каротажной колонны. Ограниченный внешний диаметр облегчает использование одного или нескольких инструментов для отбора проб в различных местах вдоль колонны каротажных инструментов без создания любых расширенных областей, которые иначе могли мешать установке и удалению колонны каротажных инструментов из скважины.
Каротажная система 20 дополнительно содержит одну или несколько коммуникационных линий 42 для коммуникации сигналов между наземным управлением 44 и инструментом 40 для отбора проб и/или другими модулями каротажной колонны. Коммуникационные линии 42 также могут быть использованы для обеспечения коммуникации между инструментом 40 для отбора проб и модулем выше инструмента для отбора проб, например модулем 36, и между инструментом 40 для отбора проб и модулем ниже инструмента для отбора проб, например модулем 38, или между модулями, расположенными с противоположных сторон от инструмента 40 для отбора проб. Коммуникационная линия или линии 42 могут быть использованы для передачи множества сигналов, включающих в себя электрические сигналы, оптические сигналы или другие типы сигналов, используемых для коммуникации в скважине. С проводными системами, такими, которые используют электрические или оптоволоконные линии, каждый инструмент 40 для отбора проб может содержать байпас, через который коммуникационные линии проходят внутри инструмента для отбора проб.
Инструменты 40 для отбора проб сконструированы так, чтобы брать пробы скважинной текучей среды из подземных резервуаров для облегчения работы по оценке резервуара. Текучая среда внутри скважины 26 перемещается в конкретный инструмент 40 для отбора проб и содержится в нем, по существу, в первоначальных условиях. Проба скважинной текучей среды обрабатывается, как только инструмент 40 для отбора проб доставляется в определенное место для анализа. Например, каротажная система 20 может быть извлечена с помощью системы 34 размещения, и каждый инструмент 40 для отбора проб может быть отсоединен, т.е. удален, от колонны 24 каротажных инструментов. Каждый инструмент 40 для отбора проб может быть сконструирован так, чтобы сделать возможно безопасной и легкой транспортировку инструмента 40 для отбора проб, в то время как находящиеся под давлением пробы остаются внутри инструмента. Эта возможность транспортировать пробы скважинной текучей среды внутри инструмента для отбора проб гарантирует, что проба остается в первоначальных условиях до тех пор, пока проба не сможет быть проанализирована в, например, лаборатории для анализа давления, объема и температуры текучей среды. Содержание пробы скважинной текучей среды внутри инструмента 40 для отбора проб также устраняет необходимость в дополнительном рабочем/обслуживающем оборудовании на буровой площадке, тем самым значительно снижая издержки. Более того, каждый инструмент 40 для отбора проб может быть сконструирован для восстановления пробы скважинной текучей среды до забойных скважинных условий до ее перемещения из инструмента, как это объяснено ниже более детально.
На фиг.2 показан обобщенный вариант одного из инструментов 40 для отбора проб. Инструмент 40 для отбора проб содержит корпус 46, имеющий внутреннюю камеру 48 для пробы. Подвижный элемент 50 подвижно установлен внутри камеры 48 и отделяет буферную текучую среду от пробы скважинной текучей среды, которая может быть втянута в камеру 48 для пробы. В качестве примера, подвижный элемент 50 может содержать плавающий поршень, герметично и подвижно закрепленный внутри камеры 48 для пробы. Когда инструмент 40 для отбора проб размещен в требуемом месте внутри скважины 26, проба скважинной текучей среды всасывается в камеру 48 для пробы через, например, клапан 54, путем создания разности давлений. В этом варианте осуществления инструмент 40 для отбора проб содержит приспособление 56 всасывания пробы, такое как заглушка, через которую проба скважинной текучей среды всасывается благодаря разности давлений между высоким внешним давлением скважины и низким внутренним давлением внутри камеры 48 для пробы. Всасывание пробы скважинной текучей среды в камеру 48 для пробы показано стрелкой 58.
Разность давлений может быть создана путем использования камеры 48 для пробы в качестве камеры с атмосферным давлением, содержащей сжимаемую текучую среду, выборочно изолированную от высокого окружающего давления скважины с помощью, например, клапана 54. Когда клапан открыт, разность давлений заставляет пробу скважинной текучей среды течь в камеру 48. В других вариантах осуществления, как обсуждается более подробно ниже, буферная текучая среда 52 содержит по существу несжимаемую текучую среду, такую как гидравлическая текучая среда, которая может быть выборочно удалена из камеры 48 для пробы через сливное приспособление 60. Например, простое недорогое пусковое устройство 62 может быть подсоединено к сливному приспособлению 60 для управления выходом буферной текучей среды 52. Выход буферной текучей среды 52 создает разность давлений, которая перемещает подвижный элемент 50 через камеру 48 для проб и приводит к поступлению пробы скважинной текучей среды в камеру 48 для пробы на стороне подвижного элемента 50, противоположной буферной текучей среде.
Один вариант осуществления спускового устройства 62 проиллюстрирован на фиг.3. В этом варианте осуществления пусковое устройство 62 содержит средство 64 с электрическим приводом, подсоединенное к клапану 66, размещенному в сливном приспособлении 60. В качестве примера, средство 64 с электрическим приводом может содержать соленоид или электрический двигатель, подсоединенный к клапану 66 с помощью ходового винта для приведения в действие клапана 66. Средство 64 с электрическим приводом размещено в корпусе 46 внутри камеры 68 низкого давления с атмосферным или пониженным давлением. Когда на средство 64 с электрическим приводом подается напряжение, клапан 66 приводится в требуемое открытое положение, которое позволяет буферной текучей среде 52 течь из камеры 48 для пробы через сливное приспособление 60 и в камеру 68 с низким давлением с требуемой скоростью. Камера 68 с низким давлением может быть герметизирована с помощью заглушки 70 для надежного удержания буферной текучей среды 52 и пробы скважинной текучей среды внутри инструмента 40 для отбора проб. По мере протекания буферной текучей среды 52 из камеры 48 для пробы в камеру 68 подвижный элемент 50 перемещается через камеру 48, и результирующая разница давлений между камерой 48 и окружающей скважинной средой заставляет течь пробу скважинной текучей среды в камеру 48 через приспособление 56 всасывания.
В этом варианте осуществления использован внутренний байпас 72 для установления соединения линии или линий 42 через инструмент 40 для отбора проб. Как проиллюстрировано, внутренний байпас 72 может быть образован каналом 74, проходящим вдоль или через корпус 46. Внутренний байпас 72 позволяет устанавливать соединение между модулями в колонне каротажных инструментов выше и ниже инструмента 40 для отбора проб, между наземным управлением 44 и модулями ниже инструмента 40 и/или между инструментом 40 и другими модулями в колонне 24 каротажных инструментов.
Например, внутренний байпас 72 и коммуникационные линии 42 могут быть использованы для выборочного управления средством 64 с электрическим приводом с помощью сигналов, обеспечиваемых наземным управлением 44. Фактически средство 64 с электрическим приводом, например электрического двигателя, может служить пусковым устройством для начала взятия проб и/или для управления скоростью потока буферной текучей среды 52 из камеры 48 в камеру 68 с низким давлением. Однако работа средства 64 также может быть начата в соответствии с логикой, содержащейся в инструменте 40 для отбора проб. Более того, пусковое средство 62 может быть запитано с поверхности, или источник энергии может быть локальным источником, таким как внутренняя батарея.
Еще один вариант осуществления инструмента 40 для отбора проб проиллюстрирован на фиг.4. В этом варианте осуществления инструмент 40 содержит источник 76 энергии для облегчения извлечения пробы скважинной текучей среды при давлении, равном или большем давления резервуара. Например, проба скважинной текучей среды может быть возвращена до давления резервуара для улучшения анализа пробы скважинной текучей среды на поверхности. Сжатие выполняется с использованием источника 76 энергии для перемещения вытесненной буферной текучей среды 52 обратно в камеру 48 для пробы, противодействуя подвижному элементу или плавающему поршню 50, который, в свою очередь, перемещается, противодействуя пробе скважинной текучей среды, увеличивая тем самым давление пробы скважинной текучей среды. В качестве примера, источник 76 энергии может содержать дополнительную камеру 78, предназначенную для хранения сжатой текучей среды, такой как сжатый азот, внутри корпуса 46 инструмента для отбора проб. Сжатый азот действует как пружина, противодействующая буферной текучей среде 52 и, таким образом, противодействуя плавающему поршню 50, сжимая тем самым пробу скважинной текучей среды. Плавающий поршень или другая структура 82 могут быть использованы между сжатым азотом и буферной текучей средой 52 так же, как используется подвижный элемент 50. Более того, сжатый азот может быть высвобожден множеством известных механизмов, включая клапаны с ручным или автоматическим приводом. Компенсация давления может быть также использована для компенсации температурного сжатия пробы скважинной текучей среды после ее выхода из скважины. Более того, клапан 66 или добавочный клапан может быть предусмотрен для обеспечения снижения давления, если увеличение давления по отношению к давлению внутренней буферной текучей среды увеличится выше заранее определенного порога вследствие, например, тепловых эффектов в буферной текучей среде 52.
На фиг.5 проиллюстрирован еще один вариант осуществления инструмента 40 для отбора проб. В этом варианте осуществления пуск всасывания пробы скважинной текучей среды выполняется путем создания разности давлений с помощью насоса 80, расположенного внутри корпуса 46. В этом варианте осуществления средство 64 с электрическим приводом содержит двигатель, подсоединенный к насосу 80 для осуществления выборочного действия насоса 80 для удаления буферной текучей среды 52 из камеры 48 для пробы через клапан 66 сливного приспособления 60. Насос 80 и двигатель 64 работают внутри чистой буферной текучей среды, такой как чистое гидравлическое масло, которое позволяет использовать недорогие насосные и моторные компоненты, например простой роторный аксиально-поршневой насос, винтовой насос или шестеренчатый насос.
В этом варианте осуществления операции по отбору пробы начинаются с запуска двигателя 64 с помощью управляющих сигналов, идущих с поверхности или локально изнутри инструмента 40 для отбора проб. Поскольку двигатель 64 приводит в движение насос 80, то текучая среда перекачивается из камеры 48 для пробы в камеру 68 низкого давления. Насос 80 может быть предназначен для перекачки буферной текучей среды 52, например гидравлического масла, после двигателя для облегчения ее охлаждения. В качестве альтернативы, насос 80 может быть использован для перемещения буферной текучей среды 52 в окружающую скважину, а не в камеру 68 низкого давления. Этот последний вариант осуществления исключает необходимость в камере 68 с низким давлением, что дополнительно уменьшает сложность и длину инструмента 40 для отбора проб. Более того, когда буферная текучая среда 52 перекачивается в окружающую скважину, пусковое средство 62, содержащее насос 80 и двигатель 64, может уравнивать давление с давлением окружающей скважины для минимизации разности давлений. Насос 80 может также быть использован для сжатия пробы скважинной текучей среды путем накачивания буферной текучей среды 52 обратно в камеру 48, противодействуя подвижному элементу 50. Насос 80 может быть использован отдельно или в комбинации с источником 76 энергии для уменьшения нагрузки на насос 80. Например, источник 76 энергии может быть использован для существенного сжатия пробы скважинной текучей среды, и насос 80 может быть использован для дополнительного изменения давления.
Действие насоса 80 при сжатии пробы скважинной текучей среды может быть также минимизировано путем использования внешнего давления, имеющегося в окружающей скважине, как показано на фиг.6. В этом варианте осуществления буферная текучая среда 52 отделяется от скважины поршнем 82, открывающимся в камеру 68 с низким давлением и буферной текучей средой 52 с одной стороны и подвергающимся давлению скважины с противоположной стороны. Воздействие скважинного давления обеспечивается отверстием 84 в корпусе 46. Скважинное давление эффективно действует как источник энергии, облегчающий оттеснение буферной текучей среды обратно в камеру 48 и противодействующий подвижному элементу 50 для сжатия пробы скважинной текучей среды. Насос 80 может работать для дополнительного изменения давления буферной текучей среды 52, действующей на пробу скважинной текучей среды.
В альтернативном варианте осуществления инструмент 40 для отбора проб содержит компоненты для облегчения возврата пробы обратно в забойные условия, такие как забойная температура и фазовые состояния. Это может быть облегчено путем размещения перемешивающего элемента 86 в камере 48, как проиллюстрировано на фиг.7. Перемешивающий элемент 86 является подвижным элементом, который может быть магнитным перемешивающим элементом, имеющим магниты 88. Например, перемешивающий элемент 86 может быть образован с помощью кольца 90, к которому прикреплены магниты 88, при этом кольцо 90 способно осуществлять возвратно-поступательное или вращательное движение внутри камеры 48.
Движение перемешивающего элемента 86 осуществляется с помощью внешнего ведущего механизма 92, когда инструмент 40 для отбора проб монтируется в монтажной структуре 93 инструмента 40 для отбора проб. В качестве примера, ведущий механизм 92 может содержать ведущее кольцо 94, имеющее прикрепленные к нему приводные магниты 96. Приводные магниты 96 расположены так, что полюса притягиваются и располагают магниты 88 внутреннего перемешивающего элемента 86 так, что полюса приводных магнитов 96 перемещают перемешивающий элемент 86 посредством сил отталкивания. Ведущий механизм 92 подсоединен к источнику энергии 98 с помощью приводного звена 100.
В этом варианте осуществления источник энергии 98 перемещает перемешивающий элемент 86 возвратно-поступательным способом через камеру 48 для облегчения перемешивания пробы скважинной текучей среды, содержащейся в камере 48. Дополнительно, нагревательный элемент 102 может быть включен в конструкцию для восстановления требуемых температур пробы скважинной текучей среды внутри камеры 48. В качестве примера, нагревательный элемент 102 может содержать тонкий элемент травленой фольги, размещенный поверх инструмента 40 для отбора проб, когда инструмент 40 для отбора проб монтируется в монтажной структуре 93 перемешивающего устройства. Нагревательный элемент 102 может быть помещен между приводным кольцом 94 и инструментом 40 для отбора проб для возможности одновременного нагревания и перемешивания пробы скважинной текучей среды. Дополнительно, нагревательный элемент 102 может включать в себя интегральный датчик или подобную систему спутникового обогрева для облегчения управления теплом, прилагаемым к пробе скважинной текучей среды.
Источник 98 энергии может быть предназначен для использования электрического двигателя для перемещения приводного звена 100. В качестве альтернативы, шаговый двигатель, управляемый для ограничения длины перемещения, используется для перемещения приводного звена 100. В качестве другой альтернативы, возвратно-поступательное движение выполняется с помощью простой системы 104 логического пневмоуправления, использующей ограничивающие переключатели 106, которые подают сигналы для смены направления воздуха, подаваемого в удлиненную воздушную камеру 108. Внутри удлиненной воздушной камеры 108 поршневой элемент 110 передвигается взад и вперед с помощью изменения направления воздуха, подаваемого в камеру 108. Поршневой элемент 110 подсоединен к приводному кольцу 94 с помощью приводного звена 100 для осуществления возвратно-поступательного движения приводного кольца 94, тем самым приводя в возвратно-поступательное движение перемешивающий элемент 86 внутри камеры 48 для пробы.
Таким образом, несмотря на то что подробно были описаны только несколько вариантов осуществления настоящего изобретения, специалисты в данной области техники легко поймут, что множество модификаций являются возможными без существенного выхода за рамки идей настоящего изобретения. Соответственно, такие модификации должны быть включены в объем этого изобретения, как это определено в формуле изобретения.
1. Система отбора проб скважинной текучей среды в процессе каротажа скважины, содержащая каротажную колонну для размещения в скважине, инструмент для отбора проб, подсоединенный к каротажной колонне и имеющий камеру для пробы, подвижный элемент, размещенный в ней для отделения буферной текучей среды от пробируемой текучей среды, и камеру низкого давления, при этом извлечение буферной текучей среды из камеры для пробы создает разность давлений, вызывающую перемещение подвижного элемента и втекание пробируемой текучей среды в камеру для пробы через приспособление всасывания, выборочно открываемое для скважинной текучей среды, окружающей инструмент для отбора проб, и пусковое средство, содержащее средство с электрическим приводом, расположенное в камере низкого давления и предназначенное для выборочного приведения в действие с поверхности инструмента для отбора проб для втекания пробы скважинной текучей среды в камеру для пробы.
2. Система по п.1, в которой подвижный элемент содержит плавающий поршень, расположенный в камере для пробы.
3. Система по п.1, в которой инструмент для отбора проб содержит продольный канал для проведения коммуникационных линий к модулю под инструментом для отбора проб.
4. Система по п.1, в которой инструмент для отбора проб дополнительно содержит клапан, приводимый в действие для извлечения буферной текучей среды.
5. Система по п.1, в которой инструмент для отбора проб дополнительно содержит насос, приводимый в действие для извлечения буферной текучей среды.
6. Система по п.1, в которой средство с электрическим приводом содержит внутренний двигатель.
7. Система по п.1, в которой средство с электрическим приводом содержит внутренний соленоид.
8. Система по п.1, в которой инструмент для отбора проб содержит систему компенсации давления для восстановления давления резервуара после удаления инструмента для отбора проб из скважины.
9. Система по п.1, дополнительно содержащая перемешиватель с магнитным приводом, размещенный внутри камеры для пробы.
10. Скважинное устройство для использования в процессе каротажа скважины, содержащее инструмент для отбора проб, имеющий корпус, образующий камеру для пробы, содержащую буферную текучую среду, при этом извлечение буферной текучей среды из камеры для пробы создает разность давлений, вызывающую втекание пробы текучей среды в камеру для пробы через приспособление всасывания на одном конце корпуса, выборочно открываемое для скважинной текучей среды, окружающей инструмент для отбора проб, и пусковое средство, содержащее средство с электрическим приводом, расположенное в камере низкого давления и предназначенное для выборочного приведения в действие с поверхности инструмента для выборочного удаления буферной текучей среды из камеры для пробы и для втекания пробы скважинной текучей среды в камеру для пробы.
11. Устройство по п.10, в котором инструмент для отбора проб содержит канал для размещения коммуникационных линий, проходящих через инструмент для отбора проб.
12. Устройство по п.10, дополнительно содержащее клапан, приводимый в действие средством с электрическим приводом.
13. Устройство по п.10, дополнительно содержащее насос, приводимый в действие средством с электрическим приводом.
14. Устройство по п.10, в котором инструмент для отбора проб приспособлен для подсоединения к каротажной колонне, имеющей диаметр, соответствующий диаметру корпуса инструмента для отбора проб.
15. Устройство по п.10, дополнительно содержащее источник энергии, расположенный в корпусе для сжатия пробы скважинной текучей среды до давления резервуара после удаления инструмента для отбора проб из скважины.
16. Устройство по п.10, дополнительно содержащее перемешиватель с магнитным приводом, размещенный в камере для пробы.
17. Способ отбора проб скважинной текучей среды из подземного резервуара в процессе каротажа скважины, содержащий следующие этапы: подсоединение инструмента для отбора проб к каротажной колонне; спуск каротажной колонны в скважину; обеспечение втекания пробы скважинной текучей среды в камеру для пробы инструмента для отбора проб путем удаления из нее буферной текучей среды с использованием пускового средства, содержащего средство с электрическим приводом, расположенного в камере низкого давления указанного инструмента и предназначенного для выборочного приведения в действие с поверхности указанного инструмента для втекания пробы текучей среды в камеру для пробы через приспособление всасывания, выборочно открываемое для скважинной текучей среды, окружающей инструмент для отбора проб; удержание пробы скважинной текучей среды в инструмент для отбора проб после его возвращения на поверхность.
18. Способ по п.17, в котором используют инструмент для отбора проб с диаметром, не превышающим диаметр каротажной колонны.
19. Способ по п.17, дополнительно содержащий обеспечение проводного соединения через инструмент для отбора проб.
20. Способ по п.17, в котором пусковое средство содержит средство с электрическим приводом в виде внутреннего двигателя, подсоединенного к клапану.
21. Способ по п.17, в котором пусковое средство содержит средство с электрическим приводом в виде внутреннего соленоида, подсоединенного к клапану.
22. Способ по п.17, в котором пусковое средство содержит средство с электрическим приводом в виде внутреннего двигателя, подсоединенного к насосу.
23. Способ по п.17, дополнительно содержащий перемешивание пробы скважинной текучей среды и возвращение пробы скважинной текучей среды к ее давлению резервуара, когда она находится на поверхности.
24. Система отбора проб скважинно
 
                         
                            


