Контейнер для хранения формирующего изображение агента, устройство формирования изображения, способ установки контейнера для хранения формирующего изображение агента и способ извлечения контейнера для хранения формирующего изображение агента
Иллюстрации
Показать всеЗаявленный контейнер для хранения формирующего изображение агента включает в себя корпус контейнера, ведомый передаточный элемент и направляющую часть. В корпусе контейнера хранится формирующий изображение агент. Корпус контейнера имеет конфигурацию, обеспечивающую установку в корпус устройства формирования изображения. Ведомый передаточный элемент предусмотрен на боковой грани корпуса контейнера. На ведомый передаточный элемент передается движущая сила. Направляющая часть направляет установку корпуса контейнера в корпус устройства формирования изображения. Направляющая часть находится в положении перед ведомым передаточным элементом в направлении, в котором корпус контейнера устанавливают в корпус устройства формирования изображения. Направляющая часть предусмотрена на боковой грани корпуса контейнера таким образом, что выступает из него. Технический результат - обеспечение контейнера для хранения формирующего изображение агента, который может затруднить повреждение ведомого передаточного элемента без увеличения внешней кромки контейнера и который легко устанавливается в корпус устройства формирования изображения и извлекается из него даже в наклоненном состоянии. 4 н. и 9 з.п. ф-лы, 14 ил.
Реферат
ПРЕДПОСЫЛКИ СОЗДАНИЯ ИЗОБРАЖЕНИЯ
1. Область техники, к которой относится изобретение
Данное изобретение относится к контейнеру для хранения формирующего изображение агента, устройству формирования изображения, способу установки контейнера для хранения формирующего изображение агента и способу извлечения контейнера для хранения формирующего изображение агента.
2. Предшествующий уровень техники
В документе JP 2007-93697 A описан контейнер для подачи проявителя, включающий в себя корпус контейнера, внутри которого хранится проявляющий агент и который имеет часть с отверстием для выпуска проявителя, шторку, которая закрывает отверстие, и рабочую часть, которая открывает шторку, причем корпус контейнера включает в себя часть, которая воспринимает усилие, отклоняющее в направлении, в котором контейнер отсоединяют от корпуса электрофотографического устройства формирования изображения, и первую запираемую часть, запираемую без возможности отсоединения в запирающий элемент, предусмотренный на стороне корпуса устройства при установке на корпус устройства, при этом рабочая часть включает в себя вводимую в зацепление часть с освобождающим элементом, предусмотренным на корпусе устройства, при этом вводимая в зацепление часть и освобождающий элемент вводятся в зацепление друг с другом при срабатывании рабочей части, а освобождающий элемент освобождает первую запираемую часть от запирания при срабатывании рабочей части.
СУЩНОСТЬ ИЗОБРЕТЕНИЯ
В изобретении предложены контейнер для хранения формирующего изображение агента, устройство формирования изображения, способ установки контейнера для хранения формирующего изображение агента и способ извлечения контейнера для хранения формирующего изображение агента, которые могут затруднить повреждение приводного передаточного элемента без увеличения внешней кромки контейнера для хранения формирующего изображение агента.
[1]. В соответствии с первым аспектом данного изобретения контейнер для хранения формирующего изображение агента включает в себя корпус контейнера, ведомый передаточный элемент и направляющую часть. В корпусе контейнера хранится формирующий изображение агент. Корпус контейнера имеет конфигурацию, обеспечивающую установку в корпус устройства формирования изображения. Ведомый передаточный элемент предусмотрен вдоль боковой грани корпуса контейнера. На ведомый передаточный элемент передается движущая сила. Направляющая часть направляет установку корпуса контейнера в корпус устройства формирования изображения. Направляющая часть находится в положении перед ведомым передаточным элементом в направлении установки, в котором корпус контейнера устанавливают в корпус устройства формирования изображения. Направляющая часть предусмотрена так, чтобы выступать в направлении от боковой грани корпуса контейнера.
При конфигурации [1] появляется возможность обеспечить контейнер для хранения формирующего изображение агента, который может затруднить повреждение ведомого передаточного элемента без увеличения внешней кромки контейнера для хранения формирующего изображение агента.
[2]. В контейнере для хранения формирующего изображение агента согласно конфигурации [1] направляющая часть может быть расположена на переднем конце корпуса контейнера в направлении установки.
При конфигурации [2] появляется возможность обеспечить контейнер для хранения формирующего изображение агента, который - в дополнение к наличию эффекта, демонстрируемого конфигурацией [1], - можно легко установить в корпус устройства формирования изображения.
[3]. В контейнере для хранения формирующего изображение агента согласно конфигурации [1] направляющая часть может выступать так, чтобы в направлении, пересекающем направление установки, она находилась дальше от боковой грани, чем ведомый передаточный элемент.
При конфигурации [3] появляется возможность обеспечить контейнер для хранения формирующего изображение агента, который - в дополнение к наличию эффекта, демонстрируемого конфигурацией [1], - может затруднить повреждение ведомого передаточного элемента, даже если корпус контейнера устанавливают в корпус устройства формирования изображения в наклоненном состоянии.
[4]. В контейнере для хранения формирующего изображение агента согласно конфигурации [1] после ведомого передаточного элемента в направлении установки, в котором корпус контейнера устанавливают в корпус устройства формирования изображения, может располагаться первый выступающий элемент, который может быть предусмотрен так, чтобы выступать в направлении от боковой поверхности корпуса контейнера.
При конфигурации [4] появляется возможность обеспечить контейнер для хранения формирующего изображение агента, который затрудняет повреждение ведомого передаточного элемента, даже если контейнер для хранения формирующего изображение агента извлекают из корпуса устройства формирования изображения в наклоненном состоянии.
[5]. В контейнере для хранения формирующего изображение агента согласно конфигурации [4] в положении между направляющей частью и первым выступающим элементом вдоль периферийного края ведомого передаточного элемента может располагаться второй выступающий элемент, который может быть предусмотрен так, чтобы выступать в направлении от боковой грани корпуса контейнера.
При конфигурации [5] появляется возможность обеспечить контейнер для хранения формирующего изображение агента, который затрудняет повреждение ведомого передаточного элемента, даже если контейнер для хранения формирующего изображение агента падает.
[6]. В контейнере для хранения формирующего изображение агента согласно конфигурации [1] ведомый передаточный элемент может быть предусмотрен на боковой грани корпуса контейнера, при этом боковая грань ведомого передаточного элемента оказывается раскрытой после того, как направляющая часть предусмотрена в корпусе контейнера.
При конфигурации [6] появляется возможность обеспечить контейнер для хранения формирующего изображение агента, который позволяет легко получить ведомый передаточный элемент корпуса контейнера без изменения внешней кромки корпуса контейнера для хранения формирующего изображение агента по сравнению со случаем, когда ведомый передаточный элемент накрыт крышкой для ведомого передаточного элемента.
[7]. Контейнер для хранения формирующего изображение агента согласно конфигурации [1] может дополнительно содержать:
подавляющий соударения выступ, сформированный в качестве продолжения направляющей части и затрудняющий соударение ведомого передаточного элемента с корпусом устройства формирования изображения,
при этом корпус контейнера имеет конфигурацию, обеспечивающую установку в корпус устройства формирования изображения сверху,
направляющая часть расположена на переднем конце корпуса контейнера в направлении установки,
направляющая часть выступает дальше от боковой грани, чем ведомый передаточный элемент в направлении, пересекающем направление установки,
причем в направлении, пересекающем направление установки, дистальный концевой участок выступающей стороны подавляющего соударения выступа находится ближе к боковой поверхности корпуса контейнера, чем дистальный концевой участок направляющей части, и
направляющая часть и подавляющий соударения выступ сформированы в форме дуги так, чтобы закрывать нижнюю сторону ведомого передаточного элемента, включая самую нижнюю часть ведомого передаточного элемента.
[8]. В соответствии с другим аспектом изобретения устройство формирования изображения включает в себя корпус устройства формирования изображения, контейнер для хранения формирующего изображение агента и формирующую изображение часть. Контейнер для хранения формирующего изображение агента содержит формирующий изображение агент. Формирующая изображение часть предусмотрена внутри корпуса устройства формирования изображения и формирует изображение с помощью формирующего изображение агента, хранимого в контейнере для хранения формирующего изображение агента. Контейнер для хранения формирующего изображение агента включает в себя корпус контейнера, приводной передаточный элемент и направляющую часть. Корпус контейнера имеет конфигурацию, обеспечивающую установку в корпус устройства формирования изображения. Ведомый передаточный элемент предусмотрен вдоль боковой грани корпуса контейнера. На ведомый передаточный элемент передается движущая сила. Направляющая часть направляет установку корпуса контейнера в корпус устройства формирования изображения. Направляющая часть находится в положении перед ведомым передаточным элементом в направлении, в котором корпус контейнера устанавливают в корпус устройства формирования изображения. Направляющая часть предусмотрена так, чтобы выступать в направлении от боковой грани корпуса контейнера.
При конфигурации [7] появляется возможность обеспечить устройство формирования изображения, которое нелегко повредить.
[9]. В устройстве формирования изображения согласно конфигурации [8] контейнер для хранения формирующего изображение агента дополнительно включает в себя подавляющий соударения выступ, сформированный в качестве продолжения направляющей части и затрудняющий соударение ведомого передаточного элемента с корпусом устройства формирования изображения,
при этом корпус контейнера имеет конфигурацию, обеспечивающую установку в корпус устройства формирования изображения сверху,
направляющая часть расположена на переднем конце корпуса контейнера в направлении установки,
направляющая часть выступает дальше от боковой грани, чем ведомый передаточный элемент в направлении, пересекающем направление установки,
причем в направлении, пересекающем направление установки, дистальный концевой участок выступающей стороны подавляющего соударения выступа находится ближе к боковой поверхности корпуса контейнера, чем дистальный концевой участок направляющей части, и
направляющая часть и подавляющий соударения выступ сформированы в форме дуги так, чтобы закрывать нижнюю сторону ведомого передаточного элемента, включая самую нижнюю часть ведомого передаточного элемента.
[10]. В соответствии с еще одним аспектом изобретения способ установки контейнера для хранения формирующего изображение агента заключается в том, что направляют контейнер для хранения формирующего изображение агента с помощью направляющей части контейнера для хранения формирующего изображение агента с тем, чтобы установить контейнер для хранения формирующего изображение агента в корпус устройства формирования изображения. Контейнер для хранения формирующего изображение агента включает в себя корпус контейнера, приводной передаточный элемент и направляющую часть. Корпус контейнера имеет конфигурацию, обеспечивающую установку в корпус устройства формирования изображения. Ведомый передаточный элемент предусмотрен вдоль боковой грани корпуса контейнера. На ведомый передаточный элемент передается движущая сила. Направляющая часть направляет установку корпуса контейнера в корпус устройства формирования изображения. Направляющая часть находится в положении перед ведомым передаточным элементом в направлении, в котором корпус контейнера устанавливают в корпус устройства формирования изображения. Направляющая часть предусмотрена на боковой грани корпуса контейнера таким образом, что выступает из него.
При этапах согласно конфигурации [10] появляется возможность обеспечить способ установки контейнера для хранения формирующего изображение агента, который нелегко повредить.
[11]. В способе установки согласно конфигурации [10] контейнер для хранения формирующего изображение агента дополнительно включает в себя подавляющий соударения выступ, сформированный в качестве продолжения направляющей части и затрудняющий соударение ведомого передаточного элемента с корпусом устройства формирования изображения,
при этом корпус контейнера имеет конфигурацию, обеспечивающую установку в корпус устройства формирования изображения сверху,
направляющая часть расположена на переднем конце корпуса контейнера в направлении установки,
направляющая часть выступает дальше от боковой грани, чем ведомый передаточный элемент в направлении, пересекающем направление установки,
причем в направлении, пересекающем направление установки, дистальный концевой участок выступающей стороны подавляющего соударения выступа находится ближе к боковой поверхности корпуса контейнера, чем дистальный концевой участок направляющей части, и
направляющая часть и подавляющий соударения выступ сформированы в форме дуги так, чтобы закрывать нижнюю сторону ведомого передаточного элемента, включая самую нижнюю часть ведомого передаточного элемента.
[12]. В соответствии с еще одним аспектом изобретения способ извлечения контейнера для хранения формирующего изображение агента заключается в том, что направляют контейнер для хранения формирующего изображение агента с помощью направляющей части контейнера для хранения формирующего изображение агента с тем, чтобы извлечь контейнер для хранения формирующего изображение агента из корпуса устройства формирования изображения. Контейнер для хранения формирующего изображение агента включает в себя корпус контейнера, приводной передаточный элемент и направляющую часть. Корпус контейнера имеет конфигурацию, обеспечивающую установку в корпус устройства формирования изображения. Ведомый передаточный элемент предусмотрен вдоль боковой грани корпуса контейнера. На ведомый передаточный элемент передается движущая сила. Направляющая часть направляет установку корпуса контейнера в корпус устройства формирования изображения. Направляющая часть находится в положении перед ведомым передаточным элементом в направлении, в котором корпус контейнера устанавливают в корпус устройства формирования изображения. Направляющая часть предусмотрена так, чтобы выступать в направлении от боковой грани корпуса контейнера.
При этапах согласно конфигурации [12] появляется возможность обеспечить способ извлечения контейнера для хранения формирующего изображение агента, который нелегко повредить.
[13]. В способе извлечения согласно конфигурации [12], в котором контейнер для хранения формирующего изображение агента дополнительно включает в себя подавляющий соударения выступ, сформированный в качестве продолжения направляющей части и затрудняющий соударение ведомого передаточного элемента с корпусом устройства формирования изображения,
при этом корпус контейнера имеет конфигурацию, обеспечивающую установку в корпус устройства формирования изображения сверху,
направляющая часть расположена на переднем конце корпуса контейнера в направлении установки,
направляющая часть выступает дальше от боковой грани, чем ведомый передаточный элемент в направлении, пересекающем направление установки,
причем в направлении, пересекающем направление установки, дистальный концевой участок выступающей стороны подавляющего соударения выступа находится ближе к боковой поверхности корпуса контейнера, чем дистальный концевой участок направляющей части, и
направляющая часть и подавляющий соударения выступ сформированы в форме дуги так, чтобы закрывать нижнюю сторону ведомого передаточного элемента, включая самую нижнюю часть ведомого передаточного элемента.
КРАТКОЕ ОПИСАНИЕ ЧЕРТЕЖЕЙ
Иллюстративные варианты осуществления изобретения будут подробно описаны ниже на основе прилагаемых чертежей, при этом:
на фиг.1 представлено перспективное изображение, на котором показано устройство формирования изображения в соответствии с иллюстративным вариантом осуществления изобретения;
на фиг.2 представлено перспективное изображение сбоку, на котором показано устройство формирования изображения в соответствии с иллюстративным вариантом осуществления изобретения;
на фиг.3 представлено первое перспективное изображение, на котором показан контейнер для хранения в соответствии с иллюстративным вариантом осуществления изобретения;
на фиг.4 представлено второе перспективное изображение, на котором показан контейнер для хранения в соответствии с иллюстративным вариантом осуществления изобретения;
на фиг.5 представлен вид сбоку, на котором показан контейнер для хранения в соответствии с иллюстративным вариантом осуществления изобретения;
на фиг.6 представлен вид снизу, на котором показан контейнер для хранения в соответствии с иллюстративным вариантом осуществления изобретения;
на фиг.7 представлен вид сбоку, на котором показано сечение контейнера для хранения в соответствии с иллюстративным вариантом осуществления изобретения;
фиг.8А-8С показывают движение рабочего элемента контейнера для хранения в соответствии с иллюстративным вариантом осуществления изобретения, и, в частности, на фиг.8А представлен вид сбоку, на котором показано состояние, в котором рабочий элемент находится в первом положении, на фиг.8В представлен вид сбоку, на котором показано состояние, в котором рабочий элемент находится во втором положении, а на фиг.8С представлен вид сбоку, на котором показано состояние, в котором рабочий элемент находится в третьем положении;
фиг.9А-9С иллюстрируют движение рабочего элемента контейнера для хранения в соответствии с иллюстративным вариантом осуществления изобретения, и, в частности, на фиг.9А представлено сечение, показывающее состояние, в котором рабочий элемент находится в первом положении, на фиг.9В представлено сечение, показывающее состояние, в котором рабочий элемент находится во втором положении, а на фиг.9С представлено сечение, показывающее состояние, в котором рабочий элемент находится в третьем положении;
на фиг.10 представлено первое перспективное изображение, показывающее установочную часть, которая выполнена в корпусе устройства, имеющемся в устройстве формирования изображения, в соответствии с иллюстративным вариантом осуществления изобретения, и которая установлена с контейнером для хранения;
на фиг.11 представлено второе перспективное изображение, показывающее установочную часть, которая выполнена в корпусе устройства, имеющемся в устройстве формирования изображения, в соответствии с иллюстративным вариантом осуществления изобретения, и которая установлена с контейнером для хранения;
фиг.12А и фиг.12В показывают, что контейнер для хранения в соответствии с иллюстративным вариантом осуществления изобретения установлен в установочное устройство, причем на фиг.12А представлен вид справа, на котором показан контейнер для хранения в состоянии, в котором рабочий элемент расположен во втором положении, а на фиг.12В представлен вид, показывающий правую боковую грань контейнера для хранения и поперечное сечение установочного устройства;
на фиг.13 представлено перспективное изображение, на котором показано состояние, в котором контейнер для хранения в соответствии с иллюстративным вариантом осуществления изобретения устанавливают в корпус устройства формирования изображения; и
на фиг.14 представлено перспективное изображение, на котором показано состояние, в котором контейнер для хранения в соответствии со сравнительным примером устанавливают в корпус устройства формирования изображения.
ПОДРОБНОЕ ОПИСАНИЕ ИЗОБРЕТЕНИЯ
Ниже будет приведено описание иллюстративных вариантов осуществления изобретения со ссылками на прилагаемые чертежи.
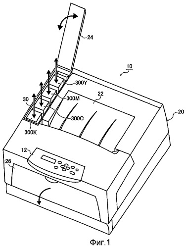
На фиг.1 показано устройство 10 формирования изображения в соответствии с иллюстративным вариантом осуществления изобретения. Как показано на фиг.1, устройство 10 формирования изображения имеет корпус 20 устройства формирования изображения, при этом верхняя часть корпуса 20 устройства формирования изображения используется как выпускная часть 22, из которой выпускается бумага, на которой сформировано изображение. Кроме того, на передней стороне корпуса 20 устройства формирования изображения установлена операционная панель 12, используемая в качестве операционного устройства.
На корпус 20 устройства формирования изображения установлены открываемая и закрываемая часть 24 для установки и открываемая и закрываемая часть 26 для подачи бумаги так, что каждую из них можно открывать и закрывать. Открываемая и закрываемая часть 24 для установки открыта, когда контейнеры 300Y, 300M, 300C и 300K для хранения, используемые в качестве контейнеров для хранения формирующих изображение агентов, устанавливают в корпус 20 устройства формирования изображения, а также открыта, когда контейнеры 300Y, 300M, 300C и 300K для хранения отсоединяют и извлекают из корпуса 20 устройства формирования изображения. Открываемая и закрываемая часть 24 для установки закрыта, когда осуществляется формирование изображения. Открываемая и закрываемая часть 26 для подачи бумаги открыта, когда бумага, на которой надлежит сформировать изображения, подается из передней стороны корпуса 20 устройства формирования изображения. Кроме того, открываемую и закрываемую часть 24 для установки открывают и закрывают, поворачивая эту открываемую и закрываемую часть 24 для установки и используя при этом заднюю поверхность корпуса 20 устройства формирования изображения, показанного на фиг.1, в качестве оси шарнира (таким образом, что на короткой стороне открываемой и закрываемой части 24 образуется ось шарнира). Вместе с тем, конфигурация согласно фиг.1 не ограничивается этим. Открываемую и закрываемую часть 24 для установки можно открывать и закрывать, поворачивая эту открываемую и закрываемую часть 24 для установки и используя при этом боковую сторону корпуса 20 устройства формирования изображения в качестве оси шарнира (таким образом, что на длинной стороне открываемой и закрываемой части 24 образуется ось шарнира). Кроме того, в корпусе 20 устройства формирования изображения предусмотрено установочное устройство 30, на котором следует устанавливать контейнеры 300Y, 300M, 300C и 300K для хранения.
В контейнерах 300Y, 300M, 300C и 300K для хранения соответственно хранятся желтый тонер, пурпурный тонер, голубой тонер и черный тонер, используемые в качестве формирующих изображение агентов. Контейнеры 300Y, 300M, 300C и 300K для хранения имеют одинаковые формы и размеры, а их конфигурация делает их способными хранить одинаковые объемы тонера. Контейнер 300К для хранения таков, что он в вертикальном направлении длиннее, чем контейнеры 300Y, 300M и 300C для хранения и имеет больший объем, чем контейнеры 300Y, 300M и 300C для хранения, при этом его емкость является большей, что позволяет хранить в нем больше тонера, чем в контейнерах 300Y, 300M и 300C для хранения.
Контейнеры 300Y, 300M и 300C для хранения имеют емкости для тонеров, отличающиеся от емкости контейнера 300К для хранения, но имеют одинаковые элементы и функции. Далее, за исключением случаев, когда показан конкретный контейнер для хранения, контейнеры 300Y, 300M, 300C и 300К для хранения будут собирательно именоваться контейнером 300 для хранения.
На фиг.2 представлено сечение устройства 10 формирования изображения.
Как показано на фиг.2, в корпус 20 устройства формирования изображения установлены формирующая изображение часть 100 и самонаклад 200 для подачи бумаги, который подает листы бумаги в формирующую изображение часть 100. Кроме того, в корпусе 20 устройства формирования изображения сформирован транспортный тракт 250, используемый для транспортировки листов бумаги.
Формирующая изображение часть 100 имеет фоточувствительные барабаны 102Y, 102M, 102C и 102K, зарядные устройства 104Y, 104M, 104C и 104K, которые соответственно заряжают фоточувствительные барабаны 102Y, 102M, 102C и 102K, устройство 106 формирования скрытого изображения, которое излучает свет на фоточувствительные барабаны 102Y, 102M, 102C и 102K, заряженные зарядными устройствами 104Y, 104M, 104C и 104K, для формирования электростатических скрытых изображений, и проявочные устройства 110Y, 110M, 110C и 110K, которые проявляют электростатические скрытые изображения, сформированные на фоточувствительных барабанах 102Y, 102M, 102C и 102K с помощью устройства 106 формирования скрытого изображения, с использованием тонера для формирования изображения, проявленного желтым тонером, изображения, проявленного пурпурным тонером, изображения, проявленного голубым тонером, и изображения, проявленного черным тонером.
Желтый тонер, пурпурный тонер, голубой тонер и черный тонер подаются в проявочные устройства 110Y, 110M, 110C и 110K соответственно из контейнеров 300Y, 300M, 300C и 300К для хранения.
Кроме того, формирующая изображение часть 100 имеет устройство 140 переноса, которое переносит на бумагу изображение, проявленное желтым тонером, изображение, проявленное пурпурным тонером, изображение, проявленное голубым тонером, и изображение, проявленное черным тонером, которые сформированы соответственно проявочными устройствами 110Y, 110M, 110C и 110K. Формирующая изображение часть 100 также имеет очищающие устройства 114Y, 114M, 114C и 114K, которые очищают поверхности фоточувствительных барабанов 102Y, 102M, 102C и 102K, и фиксирующее устройство 116, которое фиксирует изображения, проявленные тонерами, перенесенные на бумагу посредством устройства 140 переноса.
Устройство 140 переноса имеет лентообразное тело 142 для промежуточного переноса, на которое переносятся изображение, проявленное желтым тонером, изображение, проявленное пурпурным тонером, изображение, проявленное голубым тонером, и изображение, проявленное черным тонером, которые были сформированы на фоточувствительных барабанах 102Y, 102M, 102C и 102K, причем упомянутое устройство используется в качестве переносящей среды. Тело 142 для промежуточного переноса поддерживается опорными роликами 146, 148, 150 и 150, чтобы совершать вращательное движение.
Кроме того, устройство 140 для переноса имеет валики 156Y, 156M, 156C и 156K первичного переноса, используемые в качестве устройств для первичного переноса, которые переносят на тело для промежуточного переноса изображение, проявленное желтым тонером, изображение, проявленное пурпурным тонером, изображение, проявленное голубым тонером, и изображение, проявленное черным тонером, которые сформированы соответственно на фоточувствительных барабанах 102Y, 102M, 102C и 102K, и валик 158 вторичного переноса, используемый в качестве устройства для вторичного переноса, которое переносит на бумагу изображение, проявленное желтым тонером, изображение, проявленное пурпурным тонером, изображение, проявленное голубым тонером, и изображение, проявленное черным тонером, которые перенесены на тело 142 для промежуточного переноса. Кроме того, устройство 140 переноса имеет очищающее устройство 160, которое очищает поверхность тела 142 для промежуточного переноса.
Самонаклад 200 для подачи бумаги имеет, например, часть 202, в которой содержится бумага и которая использует кассету, извлекающий валик 204 для извлечения листа бумаги, который находится в крайнем сверху положении и который заключен в части 202, в которой содержится бумага, транспортирующий валик 206, который транспортирует лист бумаги, извлеченный извлекающим валиком 204, по направлению к формирующей изображение части 100, и отделяющий валик 208, который вступает в контакт с транспортирующим валиком 206 и отделяет листы бумаги между отделяющим валиком и транспортирующим валиком 206. Часть 202, в которой содержится бумага, выполнена с возможностью вытаскивания, например, в переднюю сторону (левую сторону на фиг.2) корпуса 20 устройства формирования изображения, а листы бумаги пополняются подачей в часть 202, в которой содержится бумага, в состоянии, в котором часть, в которой заключена бумага, вытащена из корпуса 20 устройства формирования изображения.
Тракт 250 транспортировки имеет основной тракт 252 транспортировки, тракт 254 обратной транспортировки и вспомогательный тракт 256 транспортировки.
Основной тракт 252 транспортировки - это тракт транспортировки, по которому происходит транспортировка листа бумаги, подаваемого из самонаклада 200 для подачи бумаги по направлению к выпускной части 22, и он установлен с помощью регистрового валика 260, валика 158 вторичного переноса, фиксирующего устройства 116 и выпускающего валика 262 в указанном порядке со стороны набегания в направлении транспортировки бумаги вдоль основного тракта 252 транспортировки. Регистровый валик 260 начинает свое вращение в заданный момент из состояния останова и подает лист бумаги на участок контакта между телом 142 для промежуточного переноса и валиком 158 вторичного переноса, чтобы обеспечить синхронизацию с моментом, когда изображение, проявленное тонером, переносится на тело 142 для промежуточного переноса.
Выпускающий валик 262 выпускает лист бумаги, на котором изображение, проявленное тонером, зафиксировано фиксирующим устройством 116, в выпускную часть 22. Кроме того, когда изображения надо сформировать на обеих поверхностях листа бумаги, выпускающий валик 262 вращается в направлении, противоположном направлению для случая, когда лист бумаги выпускается в выпускную часть 22, и подает лист бумаги, на котором - на его поверхности - сформировано изображение, в тракт 254 обратной транспортировки со стороны его заднего конца.
Тракт 254 обратной транспортировки используется, когда лист бумаги, на одной поверхности которого сформировано изображение, снова подается на набегающую сторону регистрового валика 260, и этот лист бумаги переворачивается. Оба валика 262 и 264 обратной транспортировки установлены вдоль тракта 254 обратной транспортировки.
Вспомогательный тракт 256 транспортировки - это тракт транспортировки, используемый, когда лист бумаги подается с передней стороны корпуса 20 устройства формирования изображения в состоянии, в котором открываемая и закрываемая часть 26 для подачи бумаги открыта относительно корпуса 20 устройства формирования изображения. Вдоль вспомогательного тракта 256 транспортировки установлены валик 266 вспомогательной транспортировки, который транспортирует лист бумаги по направлению к регистрирующему валику 260, и отделяющий валик 268, который используется для контакта с валиком 266 вспомогательного переноса, чтобы отделять листы бумаги.
На фиг.3-7 показан контейнер 300 для хранения.
Как описано выше, соответствующие контейнеры 300Y, 300M и 300C для хранения имеют одинаковые формы и размеры, а емкость контейнера 300K для хранения больше, чем у контейнеров 300Y, 300M и 300C для хранения. На фиг.3-6 показан контейнер 300 для хранения, используемый в качестве контейнеров 300Y, 300M и 300C для хранения.
Как показано на фиг.3-7, контейнер 300 для хранения имеет корпус 310 контейнера, открываемую и закрываемую часть 350, рабочий элемент 380, используемый в качестве рабочей части, и шестерню 370, используемую в качестве ведомого передаточного элемента. Контейнер 300 для хранения выполнен с выпускным отверстием 312 в положении, которое находится на нижней стороне относительно направления действия силы тяжести в состоянии, когда контейнер 300 для хранения установлен в корпус 20 устройства формирования изображения.
Кроме того, корпус 310 контейнера выполнен с наполнительным отверстием 314, которое используется для наполнения тонером корпуса 310 контейнера, в положении, которое находится на направлении вверх относительно направления действия силы тяжести в состоянии, когда контейнер 300 для хранения установлен в корпус 20 устройства формирования изображения. Наполнительное отверстие 314 выполнено по существу над всей областью в обращенной кверху грани корпуса 310 контейнера, а корпус 310 контейнера заполняют тонером через наполнительное отверстие 314 таким образом, что тонер падает сверху в направлении действия силы тяжести. Форма наполнительного отверстия 314, если смотреть сверху в направлении действия силы тяжести, является по существу прямоугольной. Следовательно, форма обращенной кверху грани корпуса 310 контейнера, если смотреть сверху в направлении действия силы тяжести, также является по существу прямоугольной.
Кроме того, на передней грани корпуса 310 контейнера выполнен фиксирующий выступ 316, выступающий по направлению к передней стороне. Фиксирующий выступ 316 используется в качестве фиксирующего элемента, который фиксирует рабочий элемент 380, устанавливая его в третье положение, которое будет описано позже.
Кроме того, на передней грани корпуса 310 контейнера выполнен препятствующий выступ 318, выступающий по направлению к передней стороне (см. фиг.5). Фиксирующий выступ 318 используется в качестве препятствующего движению элемента, который препятствует движению рабочего элемента 380 из второго положения, которое будет описано ниже, в первое положение, которое будет описано ниже. Кроме того, препятствующий выступ используется в качестве препятствующего открыванию элемента, который препятствует открыванию выпускного отверстия 312 в состоянии, в котором корпус 310 контейнера не установлен в корпус 20 устройства формирования изображения.
Кроме того, в положении на передней стороне корпуса 310 контейнера и около шестерни 370 сформирован защитный выступ 320, выступающий по направлению к передней стороне. Защитный выступ 320 затрудняет соударение поверхности шестерни 370, на которой сформированы зубья, с другими предметами, тем самым защищая шестерню 370.
Внутри корпуса 310 контейнера установлено перемешивающее устройство 330, используемое в качестве перемешивающей части для перемешивания тонера, хранимого в корпусе 310 контейнера. Перемешивающее устройство 330 имеет вал 322, прикрепленный к корпусу 310 контейнера для вращения его вокруг оси 332 вращения, параллельную часть 334, которая прикреплена к валу 322 и по существу параллельна валу 322, и перемешивающую пластину 336, которая прикреплена к валу 322. Перемешивающая пластина 336 выполнена из упругого пленкообразного листа и имеет такую конфигурацию, что ее дистальный конец вступает в контакт с внутренней поверхностью корпуса 310 контейнера.
Кроме того, на задней грани корпуса 310 контейнера выполнен опорный выступ 324 цилиндрической формы, который используется для создания опоры с возможностью вращения рабочего элемента 380. Кроме того, на передней грани корпуса 310 контейнера сформирован опорный выступ (не показан), который аналогичен опорному выступу 324 и используется для создания опоры с возможностью вращения рабочего элемента 380.
Кроме того, как показано на фиг.7, перемешивающее устройство 330 может быть расположено таким образом, что его продольное направление совпадает с вертикальным направлением, которое является направлением, в котором осуществляется заполнение корпуса 310 контейнера тонером через наполнительное отверстие 314. Если корпус 310 контейнера наполняют тонером в состоянии, в котором перемешивающее устройство 330 находится в таком положении, что движение тонера сверху вниз вряд ли тормозится перемешивающим устройством, тонер может эффективно храниться в корпусе 310 контейнера, удлиненном в вертикальном направлении.
Кроме того, левая грань корпуса 310 контейнера установлена с идентифицирующим элементом 420, который используется в качестве идентифицирующей части. Идентифицирующий элемент 420 имеет несколько (например, три) выпуклых участков 422, а между выпуклыми участками 422 выполнены вогнутые участки 424, и они примыкают друг к другу. Вогнутые участки 424 выполнены таким образом, что по меньшей мере любой параметр из их количества, положения и ширины отличается в зависимости от типа тонера, хранимого в корпусе 310 контейнера. По меньшей мере любой параметр из количества, положения и ширины вогнутых участков 424 отличается в зависимости, например, от того, является ли цвет тонера, хранимого в корпусе 310 контейнера, желтым, пурпурным или голубым. Кроме того, даже если хранится, например, черный тонер, который имеет тот же цвет, если хранится любой из тонеров, используемых для отличающихся типов или моделей, или если хранится любой из тонеров, имеющих отличающиеся характеристики, по меньшей мере один из параметров количества, положения и ширины вогнутых участков 424 отличается в соответствии с моделью и характеристикой.
Кроме того, на идентифицирующем



