Самолет

Иллюстрации

Показать все

Изобретение относится к авиации, в частности к конструкции хвостового горизонтального оперения летательного аппарата. Несущий фюзеляж самолета имеет в поперечном сечении форму приплюснутого снизу круга. Стреловидное крыло выполнено V-образной формы относительно плоскостей и прикреплено к фюзеляжу на стойке, имеющей острые передний и задние края. Самолет содержит расположенные на крыле двигатели, убираемые переднее и заднее шасси, вертикальное и горизонтальное хвостовые оперения. Горизонтальное хвостовое оперение, прикрепленное ближе к верхней задней части фюзеляжа, имеет возможность увеличивать или уменьшать свою площадь с помощью выдвижных перьев и опускаться или подниматься относительно фюзеляжа на нужный угол. Достигается увеличение подъемной силы летательного аппарата. 5 ил.

Реферат

Изобретение относится к авиационной технике, в частности к летательным аппаратам, и предназначено для транспортировки пассажиров или любых грузов.

Известен самолет, RU 2351507 С2, 26.04.2007, с несущим фюзеляжем.

Недостатком данной конструкции является то, что увеличенная площадь фюзеляжа лишь в незначительной степени увеличивает подъемную силу самолета, а неустойчивое положение по оси пикирования затрудняет выход самолета из «пике» и «штопора».

Задачей данного изобретения является увеличение несущей поверхности самолета, уменьшение взлетно-посадочного пути, создание устойчивого положения по оси пикирования, возможность свободного выхода самолета из «пике» и «штопора», уменьшение горючего и улучшение безопасности полета.

Технический результат достигается тем, что несущую поверхность самолета составляют не только крылья, но и фюзеляж и горизонтальное хвостовое оперение, которое может менять свою площадь выдвижными «перьями» и подниматься или опускаться относительно корпуса фюзеляжа вверх или вниз на нужный угол.

На фиг.1 показан самолет, вид сверху.

На фиг.2 показан самолет, вид сбоку.

На фиг.3 показан самолет, вид спереди.

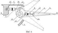
На фиг.4 показан хвост, вид сбоку.

На фиг.5 показан хвост, вил сверху.

Фюзеляж самолета 1 данной конструкции в поперечном сечении имеет форму приплюснутого снизу круга для создания площади, которая создает дополнительную подъемную силу. Крылья 2 прикреплены к фюзеляжу на некоторой высоте на стойке, имеющей острый передний и задний край для лучшего обтекания воздуха. V-образная форма крыльев относительно их плоскостей делает самолет более устойчивым по оси крена. Общая стреловидная форма крыльев уменьшает их сопротивление встречному потоку воздуха. Двигатели 5 обязательно крепятся на крыльях, что имеет важное значение. Имеются передние и задние убираемые шасси 6. Вертикальное хвостовое оперение 9 служит для разворота самолета. Горизонтальное хвостовое оперение 3 прикреплено к верхней задней части фюзеляжа самолета для того, чтобы в начале разбега самолета по взлетной полосе раскрытые «перья» горизонтального хвостового оперения могли опуститься вниз и, образовав положительный угол встречному потоку воздуха, создать значительную подъемную силу задней части фюзеляжа. Горизонтальное хвостовое оперение может подниматься или опускаться на нужный угол штоками 10 с поршнями гидроцилиндров 7, которые, в свою очередь, могут перемещаться по вертикали на находящейся в корпусе фюзеляжа оси 14. Штоки передают движение на ось 13 и поворачивают горизонтальное хвостовое оперение по оси 12.

«Перья» горизонтального хвостового оперения делают повороты на осях 15 за счет работы штоков 11 с поршнями гидроцилиндров 8, которые, в свою очередь, могут перемещаться по горизонтали на осях 16, которые находятся в корпусе горизонтального хвостового оперения. Штоки 11 передают движение на «перья» через оси 12.

В данной конструкции вес самолета распределяется на две основные несущие плоскости: площадь крыльев и площадь горизонтального хвостового оперения. Притом, больше половины веса самолета должно приходиться на горизонтальное оперение хвоста, чтобы в полете задняя часть фюзеляжа самолета находилась чуть ниже передней его части.

Перед взлетом горизонтальное хвостовое оперение полностью раскрывается и опускается вниз. С самого начала движения самолета вперед встречный поток воздуха создает подъемную силу не только крыльями, но и горизонтальным хвостовым оперением. Но т.к. задняя часть самолета тяжелее передней части, то передняя часть самолета поднимется раньше. С подъемом передней части самолета начинает действовать дополнительная подъемная сила плоской части фюзеляжа, которая поворачивается навстречу потоку воздуха. Двигателям, расположенным на крыльях, которые находятся в передней части фюзеляжа, легче тянуть самолет вперед, т.к. задняя часть фюзеляжа поднимается площадями фюзеляжа и горизонтального хвостового оперения. Это позволяет делать путь взлета намного короче, уменьшая тем самым расход топлива. С увеличением скорости уменьшается нагрузка на крылья, а площадь горизонтального хвостового оперения постепенно уменьшается убиранием «перьев».

При производстве посадки уменьшается скорость полета самолета, и медленно раскрываются «перья» горизонтального хвостового оперения, увеличивая подъемную силу в задней части фюзеляжа самолета.

Подъемная сила крыльев, фюзеляжа и горизонтального хвостового оперения позволяет произвести посадку самолета на малой скорости и значительно сократить путь приземления. При приближении самолета к земле горизонтальное хвостовое оперение в раскрытом виде немного приподнимают вверх. В результате этого уменьшается подъемная сила площади горизонтального хвостового оперения и задняя часть фюзеляжа самолета начнет медленно опускаться вниз, позволяя произвести плавное касание посадочной полосы задними открытыми шасси самолета.

Данная конструкция самолета позволит благополучно произвести аварийную посадку самолета при отказе работы двигателей. Если же самолет войдет в «штопор» или «пике», то пилот обязательно выведет самолет из этой ситуации, подняв вверх горизонтальное хвостовое оперение. При развороте самолета с раскрытым горизонтальным хвостовым оперением значительно уменьшится радиус этого разворота.

Летательный аппарат, содержащий фюзеляж, имеющий в поперечном сечении форму приплюснутого снизу круга, крылья, имеющие V-образную форму относительно их плоскостей и общую стреловидную форму, прикрепленные к фюзеляжу на стойке, имеющей острый передний и задний края, расположенные на крыльях двигатели, убираемые переднее и заднее шасси, вертикальное и горизонтальное хвостовое оперение, отличающийся тем, что горизонтальное хвостовое оперение, прикрепленное ближе к верхней задней части фюзеляжа, может подниматься и опускаться на нужный угол и увеличивать или уменьшать свою площадь с помощью выдвижных «перьев», что значительно увеличивает подъемную силу самолета.