Центробежный осевой насос, имеющий неосесимметричные контуры каналов, и способ нагнетания текучей среды с его использованием
Иллюстрации
Показать всеГруппа изобретений относится к области транспортировки текучей среды. Центробежный осевой насос содержит множество каналов, рабочее колесо, имеющее один или более неосесимметричных контуров каналов, ограниченных по меньшей мере частично лопастями на стороне всасывания и стороне нагнетания неравной высоты, при этом высота лопастей на стороне всасывания меньше высоты лопастей на стороне нагнетания. Изобретения направлены на уменьшение пульсации, приводящей к неудовлетворительной работе насоса, за счет снижения воздействия вторичных потоков и вихрей на основной поток. 2 н. и 10 з.п. ф-лы, 5 ил.
Реферат
Область техники, к которой относится изобретение
Настоящее изобретение относится в целом к области транспортировки текучих сред, а более конкретно, к ступеням насоса, имеющим неосесимметричные контуры каналов, насосной установке и способам ее применения.
Уровень техники
Ступени центробежных погружных насосов с электроприводом и других центробежных насосов испытывают гидравлические потери из-за так называемых вторичных структур потока, которые развиваются внутри ступени. Одним из примеров вторичных потоков является развитие вихрей около границ каналов. Обычно причиной возникновения вихрей и других вторичных потоков являются силы Кориолиса в рабочих колесах и кривизна каналов и лопастей в рабочих колесах и диффузорах. Вторичный поток, как правило, обладает меньшей скоростью, чем основной или главный поток, и часто собирается в диффузорах в углу между всасывающей частью и втулкой и в рабочих колесах в углу между нагнетательной частью и кожухом. Вторичные потоки являются нежелательными, так как они приводят к неудовлетворительной работе насоса, пульсации и, в крайних случаях, к отказу насоса.
Каналы в известных диффузорах образованы контурами лопасти втулки и кожуха, которые представляют собой поверхности вращения вокруг оси ступени. Поэтому высота лопасти на стороне всасывания и на стороне нагнетания одинаковая или осесимметричная. Осесимметричные контуры представляют собой результат используемых в настоящее время методик проектирования и анализа ступени и, более важно, текущей технологии производства для изготовления оснастки сердцевины.
Наиболее близким аналогом заявленного изобретения является диффузор с разной высотой лопастей, описанный в патенте США 6695579 (F04D 29/44, 25.12.2003). В данном патенте указано, что лопасти на стороне всасывания имеют большую высоту, чем лопасти на стороне нагнетания, в результате чего наименее вероятно возникновение препятствий потоку текучей среды вследствие отделения от стороны всасывания. Однако в указанном патенте не раскрыто, что высота лопастей на стороне всасывания меньше высоты лопастей на стороне нагнетания, в результате чего увеличивается скорость вторичного потока, который имеет тенденцию к накоплению на поверхности всасывания лопасти, и уменьшается скорость потока, который имеет тенденцию к образованию на стороне нагнетания лопасти диффузора.
Таким образом, в области транспортировки текучих сред существует необходимость в таких конструкциях ступеней насоса, при помощи которых снижается воздействие вторичного потока.
Раскрытие изобретения
В соответствии с настоящим изобретением описаны ступени насоса, насосы, включающие такие ступени, и способы их изготовления и использования, с помощью которых уменьшаются или преодолеваются описанные проблемы. Основным признаком изобретения является элемент насоса, имеющий один или более неосесимметричных контуров каналов, образованных лопастями или лопатками неравной высоты. В результате образуется более равномерная структура потока с меньшей потерей производительности по каналу. Изготовление контура центральной ступицы и/или кожуха может быть осуществлено при помощи технологий электроэрозионной обработки, например при помощи врезной электроэрозионной обработки, проволочной электроэрозионной обработки и тому подобных.
Первым вариантом настоящего изобретения является центробежный насос, содержащий множество каналов, по меньшей мере один элемент имеет один или более неосесимметричных контуров каналов, образованных по меньшей мере частично лопастями или лопатками на стороне всасывания и стороне нагнетания неравной высоты, при этом высота лопастей или лопаток на стороне всасывания меньше высоты лопастей или лопаток на стороне нагнетания. Высота измеряется от поверхности, где у лопасти или лопатки находится хвостовик. Когда по меньшей мере один из элементов насоса представляет собой диффузор, каналы представляют собой диффузорные каналы, которые по меньшей мере частично образованы контурами втулки и кожуха, ни один из которых не является поверхностью вращения. Сторона всасывания лопасти может иметь уменьшенную высоту лопасти, в то время как высота стороны нагнетания лопасти может быть увеличена. В результате этого скорость вторичного потока, который стремится образовываться на всасывающей поверхности лопасти, увеличивается, и скорость струйного потока, который стремится образовываться на стороне нагнетания лопасти диффузора, снижается. По меньшей мере один элемент насоса представляет собой рабочее колесо, при этом между лопастями рабочего колеса образованы один или более неосесимметричных каналов. Центробежные насосы согласно изобретению включают такие насосы, в которых как рабочие колеса, так и диффузоры имеют по меньшей мере один неосесимметричный канал, и вариант, в котором все каналы в насосе являются неосесимметричными. Центробежные насосы согласно изобретению могут включать привод, который может представлять собой мотор, турбину, дизельный или не дизельный двигатель внутреннего сгорания, генератор и тому подобное, в некоторых случаях совмещенный с предохранителем, уплотняющей камерой, напорной камерой, коробкой передач и тому подобным; ведущий вал приводится в движение от привода; и по меньшей мере одна ступень насоса содержит по меньшей мере один элемент, имеющий один или более неосесимметричных контуров каналов, и вал насоса.
Ведущий вал может быть одним и тем же валом насоса в некоторых вариантах, и в некоторых других вариантах вал насоса может быть механически соединен с ведущим валом и приводиться от него. В других вариантах ведущий вал и вал насоса могут быть отдельными и не соединены механически, например как в магнитных соединениях, когда ведущий вал приводит в движение магнитное соединение, содержащее магниты на ведущем валу, которые взаимодействуют с магнитами на предохранителе, в этом случае вал предохранителя механически соединен с валом насоса и приводит его в действие.
Центробежные насосы согласно изобретению включают такие насосы, в которых все ступени насоса идентичны и обладают идентичными рабочими характеристиками, и варианты, в которых по меньшей мере две ступени насоса содержат первый набор ступеней насоса, каждая из которых обладает рядом первых заданных рабочих характеристик, и второй набор ступеней насоса, каждая из которых обладает рядом вторых заданных рабочих характеристик. Установка согласно изобретению включает такую установку, в которой рабочие характеристики выбираются из характеристик пульсирующего выброса, характеристик эффективной мощности, рабочего диапазона, характеристик упора, производительности, высоты столба жидкости над всасывающим патрубком насоса и двух или более из них.
Центробежные насосы согласно изобретению, имеющие по меньшей мере две ступени насоса с различными характеристиками, могут дополнительно иметь соотношение элементов ступеней от 1:99 до 99:1. Соотношение элементов ступеней может в некоторых вариантах составлять от 1:9 до 9:1. В некоторых других вариантах соотношение элементов ступеней может составлять от 3:7 до примерно 7:3, и в других вариантах соотношение элементов ступеней может составлять 1:1.
Некоторые варианты установки согласно изобретению, например такие, которые подходят для использования при погружении, могут включать предохранитель мотора, который может быть объединен, а может и не быть объединен с мотором, и могут включать встроенные измерительные приборы, предназначенные для измерения одного или более параметров в скважине, и средства для связи установки согласно изобретению с поверхностью, например при помощи использования одной или более линий связи, включая, но не ограничиваясь, жесткие провода, оптические волокна, радио или микроволновую передачу.
Другой вариант настоящего изобретения относится к способу изготовления центробежного насоса, имеющего неосесимметричные контуры каналов, включающий:
(a) выбор элемента насоса, который имеет по меньшей мере один неосесимметричный контур канала;
(b) образование (например, при помощи лазерной резки, электроэрозионной обработки, или других способов) по меньшей мере одного неосесимметричного контура канала, образованного по меньшей мере частично лопастями или лопатками на стороне всасывания и стороне нагнетания неравной высоты, при этом высота лопастей или лопаток на стороне всасывания меньше высоты лопастей или лопаток на стороне нагнетания; и
(c) совмещение элемента насоса с другими элементами насоса для образования центробежного насоса.
Способ согласно изобретению включает такие способы, при которых выбор элемента насоса, который включает по меньшей мере один неосесимметричный контур канала, включает выбор из диффузоров, рабочих колес, нагнетательных устройств и кожухов. Другие способы этого варианта изобретения включают такие способы, при которых образование неосесимметричных контуров каналов осуществляется путем фрезерования, сверления, токарной обработки, нарезания резьбы, литьевого формования, шлифования, лазерной резки, электроэрозионной обработки и их комбинаций. Способы электроэрозионной обработки могут быть выбраны из проволочной электроэрозионной обработки, врезной электроэрозионной обработки, электроэрозионной обработки для скважин малого диаметра, ударной электроэрозионной обработки и их комбинаций.
Еще один вариант настоящего изобретения относится к способу нагнетания текучих сред с использованием вышеописанного насоса, включающему:
(a) определение требований к насосному оборудованию для транспортировки текучей среды;
(b) выбор центробежного насоса, удовлетворяющего требованиям к насосному оборудованию, при этом насос имеет по меньшей мере один элемент насоса, имеющий по меньшей мере один неосесимметричный канал, образованный по меньшей мере частично лопастями или лопатками на стороне всасывания и стороне нагнетания неравной высоты, при этом высота лопастей или лопаток на стороне всасывания меньше высоты лопастей или лопаток на стороне нагнетания; и
(c) нагнетание текучей среды при помощи насоса, отвечающего требованиям к насосному оборудованию.
Установка и способы согласно изобретению станут более понятными после ознакомления с кратким описанием чертежей, с подробным описанием изобретения и формулой изобретения, которые приведены ниже.
Краткое описание чертежей
Настоящее изобретение изложено более подробно ниже в описании со ссылкой на прилагаемые чертежи, на которых:
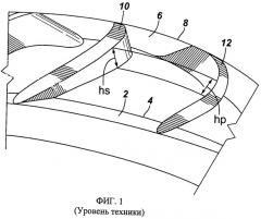
на Фиг.1 изображен схематичный вид в перспективе конструкции диффузора предшествующего уровня техники, имеющего осесимметричный контур канала;
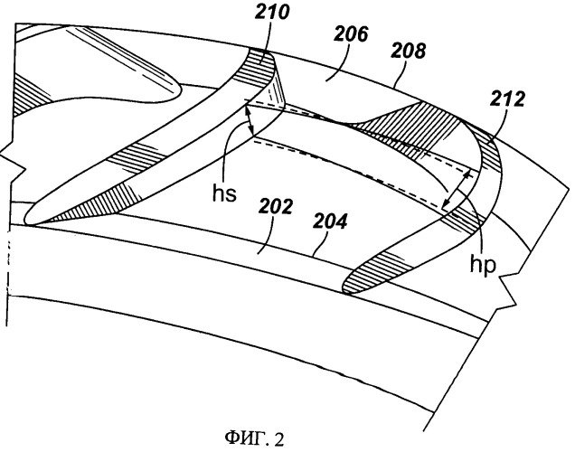
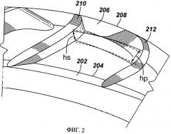
на Фиг.2 изображен схематичный вид в перспективе конструкции диффузора согласно изобретению, имеющего неосесимметричный контур канала;
на Фиг.3 изображен вид спереди иллюстративного погружного насоса с электроприводом, расположенного внутри буровой скважины;
На Фиг.4 изображен схематичный вид сбоку, частично в поперечном сечении, вертикальной насосной системы, включающей конструкцию диффузора на Фиг.2; и
на Фиг.5 изображен схематичный вид сбоку, частично в поперечном сечении, горизонтальной насосной системы, включающей конструкцию диффузора на Фиг.2.
Однако следует отметить, что прилагаемые чертежи не должны ограничивать изобретение и иллюстрируют лишь типичные варианты настоящего изобретения, и, следовательно, не следует рассматривать их как ограничивающие его объем, так как изобретение может допускать другие столь же эффективные варианты.
Подробное описание изобретения
В приведенном ниже описании изложены многочисленные детали для обеспечения понимания настоящего изобретения. Однако специалистам в данной области техники понятно, что настоящее изобретение может быть выполнено без этих деталей и возможны многочисленные изменения или модификации описанных вариантов.
Все выражения, словообразования, словосочетания и многословные выражения, использованные здесь, в частности в нижеследующей формуле изобретения, не ограничиваются существительными и глаголами. Очевидно, что значения не только выражаются существительными и глаголами или отдельными словами. В различных языках используется множество путей для выражения содержания. Наличие изобретательской идеи и пути, посредством которых ее можно выразить, изменяются в языковых культурах. Например, многие лексические составляющие в германских языках часто выражаются комбинациями прилагательного и существительного, комбинациями существительное-предлог-существительное или словообразованиями в романских языках. Возможность включения фраз, словообразований и словосочетаний в формулу изобретения является основным для высококачественных патентов, обеспечивая возможность снижения выражений в их концептуальном содержимом, и все возможные концептуальные комбинации слов, которые можно сопоставить с этим содержанием (либо в одном языке, либо в нескольких языках) должны быть включены в используемые фразы.
Изобретение относится к центробежному насосу, содержащему множество каналов, по меньшей мере один элемент которых имеет один или более неосесимметричных контуров каналов, образованных по меньшей мере частично лопастями или лопатками неравной высоты, и способы изготовления и применения таких насосов для перекачивания текучих сред, например в и из буровых скважин (стволов скважин), хотя изобретение применимо к насосам, сконструированным для любого предполагаемого использования, включая, но не ограничиваясь так называемыми работами по транспортировке текучих сред на поверхность. «Буровая скважина» может представлять собой любой тип скважины, включая, но не ограничиваясь добывающую скважину, недобывающую скважину, экспериментальную скважину и разведочную скважину, и тому подобное. Буровые скважины могут быть вертикальными, горизонтальными, расположенными под некоторым углом между вертикальным и горизонтальным расположением и их комбинацией, например вертикальная скважина с невертикальным элементом. Как сказано выше, ступени центробежных погружных насосов с электроприводом (ESP) и других центробежных насосов испытывают гидравлические потери из-за так называемых вторичных структур потока, которые развиваются внутри ступени. Одним из примеров вторичного потока является развитие вихрей около границ каналов. Обычной причиной возникновения вихрей и других вторичных потоков являются силы Кориолиса в рабочих колесах и кривизна каналов и лопастей в рабочих колесах и диффузорах. Вторичный поток, как правило, имеет меньшую скорость, чем основной или главный поток, и часто собирается в углу между всасывающей частью и частью втулки в диффузорах, и в углу между напорной частью и кожухом в рабочих колесах. Вторичные потоки являются нежелательными, так как они приводят к неудовлетворительной работе насоса, пульсациям и, в крайних случаях, к отказу насоса. Каналы в известных диффузорах образуются контурами лопастей втулки и кожуха, которые представляют собой поверхности вращения вокруг оси ступени. Поэтому высота лопастей на стороне всасывания и стороне нагнетания одинаковая или осесимметричная. Осесимметричные контуры являются результатом используемой в настоящее времени методики проектирования и анализа ступени и, что наиболее важно, текущих производственных технологий для изготовления оснастки сердцевины.
При условии, что существуют значительные вложения в существующее оборудование, прогрессом в данной области техники можно считать тот факт, что центробежные насосы будут иметь такую конструкцию, при которой снижаются или устраняются проблемы, вызываемые вторичными потоками.
На Фиг.1 изображен схематичный вид в перспективе конструкции диффузора предшествующего уровня техники, имеющего осесимметричный контур канала. Контуры втулки 2 и кожуха 6, 4 и 8 соответственно, представляют собой поверхности вращения вокруг оси ступени, которая параллельна оси Y. Такая конструкция приводит к тому, что лопасти 10 и 12 будут иметь равную высоту на стороне всасывания «hs» и на стороне нагнетания «hp», и, таким образом, канал между лопастями 10 и 12 называется осесимметричным. Осесимметричные контуры являются результатом методик проектирования данной ступени и, что более важно, текущей производственной технологии для изготовления оснастки сердцевины.
На Фиг.2 изображен схематичный вид в перспективе конструкции диффузора согласно изобретению, имеющего неосесимметричный контур канала. Контуры втулки 202 и кожуха 206, 204 и 208 соответственно, не являются поверхностями вращения вокруг оси ступени. Это приводит к тому, что лопасти 210 и 212 будут иметь неравную высоту на стороне всасывания «hs», и на стороне нагнетания «hp», и, таким образом, канал между лопастями 210 и 212 называется неосесимметричным. Неосесимметричные контуры являются результатом того, что всасывающая сторона лопасти 210 имеет высоту лопасти hs, которая меньше, чем высота лопасти в осесимметричной конфигурации, в то время как высота лопасти на стороне нагнетания hp лопасти 212 больше, чем высота лопасти в осесимметричной конфигурации. Высоты лопастей в осесимметричной конфигурации показаны пунктирными линиями. Такая конфигурация создает эффект увеличения скорости вторичного потока, который стремится собираться на поверхности лопасти 210 на стороне всасывания, и снижения скорости струйного потока, который стремится образовываться на стороне нагнетания лопасти 212 диффузора. В результате образуется структура потока, которая является более равномерной, с меньшей потерей производительности за проход.
Выполнение контура центральной втулки и/или кожуха может быть осуществлено при помощи одного или более способов, выбранных из группы, состоящей из: фрезерования, сверления, токарной обработки, нарезания резьбы, литьевого формования, шлифования, лазерной резки, электроэрозионной обработки и их комбинаций. Некоторые контуры могут быть выполнены при помощи проволочной электроэрозионной обработки, врезной электроэрозионной обработки, электроэрозионной обработки скважин малого диаметра, ударной электроэрозионной обработки и их комбинаций. Врезные электроэрозионные станки поставляются такими производителями, как Easco-Sparcatron Corporation, Holly, Michigan (под торговым обозначением «JM320C»); Hansveldt (под торговым обозначением «CS-1»); Sodick, Schaumburg, Illinois (под торговым обозначением KICN и «MOLDMAKER»). Проволочные электроэрозионные станки производятся Sodick (под торговыми обозначениями AQ325L, 300L и AQ750L) и Fanuc (под торговыми обозначениями MODEL ОС и MODEL OIA). Технические данные и соглашения, касающиеся обработки при помощи технологий электроэрозионной обработки, доступны от множества поставщиков, например Norman Noble, Inc., Highland Heights, Ohio, и на их web-сайте, www.nnoble.com; и АМТ, Inc., Poway, California, и на их web-сайте www.amtinc.com.
Принципы настоящего изобретения могут быть использованы в любом центробежном насосе или насосной системе. На Фиг.3, 4 и 5 показаны три неограничивающих центробежных насоса, в которых используются неосесимметричные контуры каналов в по меньшей мере одном элементе насоса. Со ссылкой на Фиг.3 показана погружная насосная система 100. Насосная система 100 может содержать множество элементов в зависимости от конкретного применения или окружающей среды, в которой она используется. Как правило, система 100 имеет по меньшей мере один погружной насос 13, мотор 14 и предохранительный блок 16. Мотор 16 может содержать любой электромотор или другой мотор, который требует выравнивания объема, основываясь, например, на термическом расширении и/или сжатии внутренней текучей среды. Погружной насос 13 может быть различных типов, например центробежный насос, осевой насос, или их композицией, хотя принципы изобретения относятся лишь к центробежному насосному участку насоса. Система 100 может также включать коробку передач, напорную камеру, уплотнительную камеру и тому подобное, как известно из предшествующего уровня техники.
В показанном примере насосная система 100 предназначена для размещения в скважине 18 внутри геологической формации 20, содержащей добываемые текучие среды, такие как нефть. При типичном использовании буровая скважина 22 выбуривается и облицовывается корпусом 24 буровой скважины. Корпус 24 буровой скважины, как правило, содержит множество отверстий 26, например перфораций, через которые добываемая текучая среда может попадать в буровую скважину 22.
Насосная система 100 устанавливается в буровую скважину 22 при помощи установочной системы 28, которая может иметь множество различных форм и конфигураций. Например, установочная система 28 может содержать насосно-компрессорную трубу 30, присоединенную к насосу 13 посредством соединителя 32. Энергия к погружному мотору 14 подается через силовой кабель 34. Мотор 14, в свою очередь, приводит в действие центробежный насос 13, который засасывает добываемую текучую среду через всасывающее отверстие 36 насоса и нагнетает добываемую текучую среду к поверхности по насосно-компрессорной трубе 30.
На Фиг.4 показан другой альтернативный вариант погружного насоса с электроприводом в соответствии с изобретением. Центробежные насосы выполнены в соответствии с определенными техническими требованиями, так что могут возникнуть проблемы, когда оборудование разрегулировано или работает неправильно. Существуют ограничения, касающиеся давления, температуры, мощности мотора, и тому подобного, которые могут быть взаимосвязаны. То, насколько близко к оболочке работает насос, может в конечном счете повлиять на долговечность насоса. Часто стоимость насоса является частью стоимости капитального ремонта. В попытке уменьшить стоимость срока службы были изучены альтернативные способы установки. На протяжении последних 20 лет они включали установку погружного насоса с электроприводом на кабеле, установку погружного насоса с электроприводом на змеевике, причем силовой кабель обвязывался вокруг внешней поверхности змеевика (труба выполняет роль производящей среды), и относительно недавно появилась система, известная под торговым обозначением REDACoil™, такая, как показана на Фиг.4, с силовым кабелем 132, размещенным внутри змеевика 25. В варианте, показанном на Фиг.4, три мотора 14а, 14b, 14с, расположенных сверху, приводят в действие три ступени 136а, 136b и 138 насоса, все ступени насоса заключены в корпус 141. Ступени насоса 136а, 136b и 138 могут быть идентичны по числу насосных ступеней и рабочим особенностям, или ступень 138 насоса может иметь другие рабочие характеристики, в соответствии с изобретением. Выполнен отдельный предохранительный блок 16, а также необязательный датчик 140 давления/температуры. Также в этом варианте выполнен скважинный предохранительный клапан 142 и оправка 144 для химического впрыскивания. Используется нижний соединитель 134, который может быть гидравлически разъемным с силовым кабелем 135, и может включать линию управления и приспособления для прохождения кабеля. Пакер 146 линии управления завершает этот вариант. Технология погружных насосов с электроприводом с всасывающим отверстием на дне (с мотором наверху) создавалась в течение нескольких лет. Важно прочно установить ступени насоса, моторы и предохранитель внутрь змеевика 25, тем самым обеспечивая более быструю установку и время поиска, а также защиту кабеля и возможность подъема и опускания в скважине. Это может быть осуществлено при помощи размещения кабеля 132, который может представлять собой кабель, известный под торговым обозначением REDACoil™, включающего силовой кабель и плоский корпус с измерительным тросом и одной или несколькими, как правило, тремя, гидравлическими линиями управления, по одной для управления освобождением нижнего соединителя, скважинным предохранительным клапаном и установкой пакера/химического впрыскивания.
В множестве применений предпочтительно использовать поверхностный насос, такой как горизонтальная насосная система. Со ссылкой на Фиг.5 в соответствии с настоящим изобретением в перспективе с частичным вырезом показана горизонтальная насосная система 150, в которой может использоваться один или более неосесимметричных контуров канала. Горизонтальная насосная система 150 включает насос 152, мотор 154, соединенный с насосом 152 для его привода, горизонтальную раму 156 для поддержки насоса 152 и мотора 154. Как и в случае погружных насосов согласно изобретению принципы изобретения применимы, когда насос 152 включает центробежный насос, в то время как мотор 154 может быть заменен рядом приводных устройств, таких как турбины, генераторы и тому подобное. Однако горизонтальная насосная система может содержать другие насосы, такие как поршневые насосы прямого вытеснения, в соединении с центробежным насосом, и другие приводные устройства для данного применения. Насос 152 включает первый набор рабочих колес 96 и диффузоров 97, предназначенных для перемещения текучей среды через насос 152 по направлению ко второй ступени, имеющей такой же или другой набор рабочих колес 96' и диффузоров 97', в конечном счете выпускающих текучую среду из нагнетательного отверстия 169 насоса, при этом другой трубопровод 169 насоса представляет собой всасывающее отверстие насоса. Установка 150 включает ступени насоса, соединенные при помощи соединителя 93. Как можно видеть, все ступени насоса размещены в единый корпус насоса.
Как указано в патенте США №6425735 правопреемника патентовладельца, мотор 154 может быть прочно прикреплен к горизонтальной раме 156 на установочной поверхности 158 мотора горизонтальной рамы 156. Насос 152 может быть присоединен к горизонтальной раме 156 при помощи установочной сборки 160. Установочная сборка 160 может включать опору 162 (например, жесткую опору) и зажимные сборки 164 и 166. Опора 162 проходит наружу от установочной поверхности 158 мотора в осевом положении 168 вдоль горизонтальной рамы 156. Насос 152 присоединен к мотору 154 через опору 162 с возможностью привода от него.
Альтернативно, опора 162 может представлять собой внешнюю сборку трубопроводов, имеющую такую конфигурацию, которая обеспечивает присоединение к насосному трубопроводу, например как один из двух насосных трубопроводов 169, проходящих от насоса 152. Опора 162, либо в проиллюстрированной конфигурации, либо в виде внешней сборки трубопроводов, может закреплять насос 152 по оси или может обеспечивать осевое перемещение насоса 152 относительно опоры 162. Насосные трубопроводы 169 имеют такую конфигурацию, чтобы принимать и выталкивать текучие среды или наоборот, в зависимости от работы насоса 152. Например, насос 152 может всасывать воду, морскую воду, сточные воды, химикаты, нефть, жидкий пропан или другие текучие среды через один из насосных трубопроводов 169 и выпускать их через другой насосный трубопровод 169. Дополнительно, температура текучих сред может изменяться. Например, некоторые применения могут быть связаны с перекачкой горячих текучих сред, в то время как другие могут быть связаны с перекачкой холодных текучих сред. Дополнительно, температура может изменяться в ходе процесса перекачки, либо из самого источника текучей среды, либо возможно благодаря теплу, образованному работой насоса 152 и/или мотора 154. Дополнительно, температура может сильно изменяться из-за перемены погоды.
Насос 152 может иметь неподвижный конец 170 и свободный конец 172, неподвижный конец 170 по оси прикреплен к опоре 162. Зажимные сборки 164 и 166 могут быть присоединены к горизонтальной раме в осевых положениях 174 и 176 соответственно, и предпочтительно они обычно расположены параллельно опоре 162. Зажимные сборки 164 и 166 имеют элементы основания 178 и 180 и верхние зажимы 182 и 184, создающие зажимные каналы 186 и 188 соответственно, для установки насоса 152 в зажимные каналы 186 и 188.
Зажимные сборки 164 и 166 могут иметь такую конфигурацию, чтобы обеспечивать осевое перемещение насоса 152 через зажимные каналы 186 и 188. Такая свобода осевого перемещения необходима для снижения напряжений и усталости и, возможно, механических повреждений, из-за вибраций и термического расширения/сжатия насоса 152. Более того, количество и геометрическая форма зажимных сборок может меняться в зависимости от применения, размера насоса 152 и прочих факторов.
Установка согласно изобретению может включать множество необязательных элементов. Одним из дополнительных элементов установки в соответствии с изобретением является расположение одного или более датчиков на предохранителе 16 для обнаружения присутствия углеводородов (или других химических веществ) во внутренней смазывающей текучей среде 54. Химический индикатор может передавать сигнал на поверхность через волоконно-оптическую линию, провод, беспроводную передачу и тому подобное. Когда обнаруживается определенное химическое вещество, которое представляет угрозу безопасности или возможного повреждения мотора 14, если оно достигнет мотора, насос может быть остановлен задолго до того, как данное химическое вещество создаст проблему.
Типичным применением установки согласно изобретению будет ситуация, когда желательно снизить вторичные потоки во время отдельных насосных операций. Добыча текучих сред при помощи змеевика или другого трубопровода может стать более сложной, при изменении давления скважины на постоянной глубине, или если скважина выбурена глубже, чем изначально планировалось. В этих ситуациях, принудительное использование доступных насосов для осуществления нагнетания может быть не просто неэффективным, но также небезопасным. Установка согласно изобретению может быть использована для решения этой проблемы, в частности, если техники снабжены оборудованием, инструментами, и им известно, как соединить существующие насосные ступени и установить элементы насоса, имеющие неосесимметричные контуры каналов в соответствии с изобретением.
Несмотря на то что выше были подробно описаны лишь несколько иллюстративных вариантов настоящего изобретения, специалистам в данной области техники очевидно, что в иллюстративных вариантах возможны множественные модификации, по существу не отступая от новых особенностей и преимуществ настоящего изобретения. Соответственно, все такие модификации должны быть включены в рамки настоящего изобретения, определенные в нижеизложенной формуле изобретения. В формуле изобретения, ни один из пунктов не рассматривается в формате средство-плюс-функция, разрешенном в 35 U.S.С.(Свод законов США), §112, параграф 6, за исключением того, когда «средства для» воспринимаются однозначно вместе со связанной функцией. Пункты со словами «средства для» предназначены для схватывания всех структур, описанных здесь, исполняющих рассматриваемую функцию, и не только структурных эквивалентов, но также эквивалентных структур.
1. Центробежный осевой насос, содержащий множество каналов, рабочее колесо, имеющее один или более неосесимметричных контуров каналов, образованных по меньшей мере частично лопастями на стороне всасывания и стороне нагнетания неравной высоты, при этом высота лопастей на стороне всасывания меньше высоты лопастей на стороне нагнетания.
2. Насос по п.1, в котором высота измеряется от поверхности хвостовика лопасти.
3. Насос по п.1, дополнительно содержащий диффузор, который имеет каналы диффузора.
4. Насос по п.3, в котором каналы диффузора по меньшей мере частично образованы контурами втулки и кожуха, ни один из которых не является поверхностью вращения.
5. Насос по п.3, в котором высота лопасти на стороне всасывания диффузора меньше по сравнению с высотой лопасти на стороне всасывания элемента, имеющего осесимметричные контуры каналов.
6. Насос по п.3, в котором высота лопасти на стороне нагнетания диффузора больше по сравнению с высотой лопасти на стороне нагнетания элемента, имеющего осесимметричные контуры каналов.
7. Насос по п.5, в котором высота лопасти на стороне нагнетания диффузора больше по сравнению с высотой лопасти на стороне нагнетания элемента, имеющего осесимметричные контуры каналов.
8. Насос по п.1, в котором один или более неосесимметричных каналов выполнены между лопастями рабочего колеса.
9. Насос по п.1, в котором все из множества каналов являются неосесимметричными.
10. Насос по п.1, выполненный в виде погружного насоса с электроприводом.
11. Насос по п.1, выполненный в виде горизонтальной насосной системы.
12. Способ нагнетания текучей среды с использованием центробежного осевого насоса по п.1, включающий:(a) определение требований к насосному оборудованию для транспортировки текучей среды,(b) выбор центробежного осевого насоса, отвечающего требованиям к насосному оборудованию, имеющего рабочее колесо с по меньшей мере одним неосесимметричным каналом, образованным по меньшей мере частично лопастями на стороне всасывания и стороне нагнетания неравной высоты, при этом высота лопастей на стороне всасывания меньше высоты лопастей на стороне нагнетания, и(c) нагнетание текучей среды при помощи насоса, удовлетворяющего требованиям к насосному оборудованию.
 
                         
                            


