Разматывающее устройство
Иллюстрации
Показать всеИзобретение относится к области обработки металлов давлением и может быть использовано в разматывающих устройствах. Осуществляют разматывание полосы посредством разматывателя, измеряют толщину разматываемой полосы посредством устройства измерения толщины, размещенного за разматывателем. Измеренную толщину полосы подают на управляющее устройство. Посредством управляющего устройства в зависимости от измеренной толщины разматываемой полосы и на основании предписания по определению определяют управляющие значения для правильного станка, размещенного после устройства измерения толщины, которые передают правильному станку для соответствующего управления правкой разматываемой полосы. Посредством устройства измерения высоты, расположенного после правильного станка, определяют положение по высоте выпрямленной полосы, которое передают управляющему устройству. Причем после устройства измерения высоты посредством устройства обработки осуществляют дальнейшую обработку выпрямленной полосы. При этом посредством управляющего устройства адаптируют упомянутое предписание по определению в зависимости от упомянутого определенного положения полосы по высоте. Обеспечивается оптимизация управления разматывающим устройством за счет того, что при обработке следующих полос используют уточненные параметры, которые корректируют на основании измерения положения полосы по высоте. 7 з.п. ф-лы, 6 ил.
Реферат
Настоящее изобретение относится к разматывающему устройству, которое содержит следующие элементы:
- разматыватель для разматывания полосы;
- размещенный за разматывателем правильный станок для выпрямления размотанной полосы;
- размещенное за правильным станком устройство измерения высоты для определения положения по высоте выпрямленной полосы;
- размещенное за устройством измерения высоты устройство обработки для дальнейшей обработки выпрямленной полосы;
- управляющее устройство, на которое подаются измеренная устройством измерения толщины толщина разматываемой полосы и определенное положение по высоте, которым на основе предписания для определения, в зависимости от измеренной толщины разматываемой полосы, могут определяться управляющие значения для правильного станка и которым может управляться, по меньшей мере, правильный станок.
Подобное разматывающее устройство известно из DE 10 2004 041732 А1. Оно используется, например, если несколько полос должны свариваться одна с другой.
Для установления корректного положения по высоте головной части полосы и конца полосы правильный станок должен управляться корректным образом.
Задача настоящего изобретения заключается в том, чтобы создать разматывающее устройство, которое может эксплуатироваться более оптимизированным способом.
Указанная задача решается разматывающим устройством с признаками пункта 1 формулы изобретения.
В соответствии с изобретением предписание для определения может адаптироваться управляющим устройством в зависимости от определенного положения по высоте.
Устройство измерения толщины выполнено предпочтительным образом как основанное на расстоянии устройство измерения толщины. Например, подобные устройства измерения толщины представляют собой измерительные устройства, работающие на основе вихревых токов, и измерительные устройства, работающие на основе времени прохождения. Последние работают на основе ультразвука или на основе света, в частности с использованием лазеров. Устройства измерения толщины, основанные на расстоянии, являются особенно предпочтительными в настоящем изобретении, потому что они являются компактными, экономичными и надежными. В частности, с подобными приборами измерения толщины возможно даже переоснащение уже существующих разматывающих устройств.
Возможным является, что устройство измерения толщины сканирует разматываемую полосу с одной стороны. В этом случае должно гарантироваться, что не сканируемая сторона полосы находится на определенном уровне. Например, возможно, что разматываемая полоса в том месте, где она сканируется устройством измерения толщины, перемещается над опорным роликом.
В качестве альтернативы, возможно, что устройство измерения толщины сканирует разматываемую полосу с двух сторон. Этот вариант выполнения устройства измерения толщины требует, правда, более высоких затрат на оснащение. Однако, в противоположность первому варианту, толщина полосы может определяться независимо от положения по высоте полосы.
Возможно, что управляющим устройством дополнительно может управляться разматыватель.
Другие преимущества и особенности поясняются в последующем описании примеров выполнения в связи с чертежами и в других пунктах формулы изобретения.
На чертежах в схематичном представлении показано следующее:
фиг.1 - соответствующее изобретению разматывающее устройство,
фиг.2 - блок-схема последовательности операций,
фиг.3-5 - возможные варианты выполнения устройств измерения толщины и
фиг.6 - возможное выполнение устройства обработки.
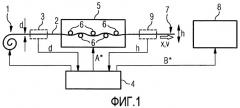
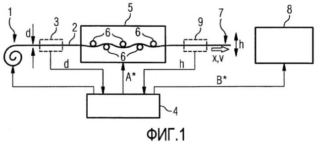
Согласно фиг.1 разматывающее устройство содержит разматыватель 1. Посредством разматывателя 1 может разматываться полоса 2. Полоса 2, как правило, представляет собой тонкую металлическую полосу, например стальную полосу. Она имеет, как правило, толщину d полосы от 0,1 до 8,0 мм.
За разматывателем 1 размещено устройство 3 измерения толщины. Посредством устройства 3 измерения толщины может динамически измеряться толщина d полосы 2. Измеренная толщина d полосы подается устройством 3 измерения толщины на управляющее устройство 4.
За устройством 3 измерения толщины размещен правильный станок 5. Правильный станок 5 имеет несколько роликов. Ролики 6 размещены со смещением в направлении х перемещения полосы. Они могут устанавливаться попеременно сверху и/или снизу у полосы 2.
Посредством роликов 6 правильного станка 5 полоса 2 может выпрямляться, то есть может устанавливаться горизонтальное положение по высоте h, с которым головная часть 7 полосы 2 и конец полосы 2 подаются в устройство 8 обработки. Устройство 8 обработки размещено за правильным станком 5. С помощью него полоса 2 подвергается дальнейшей обработке.
Между правильным станком 5 и устройством 8 обработки размещено устройство 9 измерения высоты. Этим устройством положение по высоте h полосы определяется и подается на управляющее устройство 4.
Управляющее устройство 4 управляет, как правило, всем разматывающим устройством, то есть разматывателем 1, правильным станком 5 и устройством 8 обработки. Этот случай поясняется ниже в связи с фиг.2. В принципе, однако, было бы достаточным, если бы управляющее устройство 4 управляло правильным станком 5, в особенности правильным станком 5 и устройством 8 обработки.
Согласно фиг.2 управляющее устройство 4 управляет сначала на этапе S1 разматывателем 1 так, что разматыватель 1 начинает процесс разматывания полосы 2.
На этапе S2 управляющее устройство 4 воспринимает толщину d полосы, определенную устройством 3 измерения толщины.
На этапе S3 управляющее устройство 4 проверяет, отличается ли поданная на него толщина d полосы от нуля, таким образом, полоса 2 измеряется устройством 3 измерения толщины. Если это имеет место, то управляющее устройство 4 управляет на этапе S4 - при необходимости с соответствующим смещением по времени - правильным станком 5 в зависимости от определенной толщины d. В особенности, управляющее устройство 4 может в рамках этапа S4 на основе предписаний по определению, в зависимости от измеренной толщины d разматываемой полосы 2, определить управляющие значения А* для отдельных роликов 6 правильного станка 5 и передать определенные управляющие значения А* на правильный станок 5.
На этапе S5 управляющее устройство 4 может - при необходимости с соответственно определенным смещением по времени - определить управляющие значения В* для устройства 8 обработки и передать на устройство 8 обработки. Управляющие значения В* для устройства 8 обработки могут также зависеть от измеренной толщины d разматываемой полосы 2. Например, может определяться момент времени, с которого действительная толщина d полосы отклоняется от номинальной толщины d* полосы максимально только лишь на разрешенный допуск δd толщины (или менее). Устройство 8 обработки может в этом случае, например, управляться таким образом, чтобы на соответствующем месте полосы 2 головная часть 7 полосы отделялась от остальной полосы 2. Дополнительно возможно устанавливать расстояние, на котором находятся ножи соответствующего разделительного устройства, в направлении х перемещения полосы, в зависимости от измеренной толщины d разматываемой полосы 2.
На этапе S6 управляющее устройство 4 проверяет, достигла ли уже полоса 2 устройства 9 измерения высоты. Это может определяться, например, простым, общеизвестным для специалистов отслеживанием пути.
На этапе S7 управляющее устройство 4 воспринимает определенное устройством 9 измерения высоты положение по высоте h выпрямленной полосы 2 и адаптирует, в зависимости от определенного положения по высоте h, предписание по определению, на основании которого оно определяет управляющие значения А* для правильного станка 5. В частности, управляющее устройство 4 может сравнивать определенное положение по высоте h с номинальным положением по высоте h* и на основе сравнения доводить (адаптировать) предписание по определению.
Доводка (адаптация) предписания по определению, как таковая, известна специалистам. Например, по этим принципам работают адаптивные способы регулирования и основанные на модели способы определения.
На этапе S8 управляющее устройство 4 проверяет, достигла ли полоса 2 устройство 8 обработки. И эта проверка может осуществляться, например, посредством отслеживания пути. В качестве альтернативы, возможно, что на управляющее устройство 4 от устройства 8 обработки передается соответствующее сообщение обратной связи.
Если полоса 2 еще не достигла устройства 8 обработки, то управляющее устройство 4 возвращается к этапу S2. Если полоса 2 уже достигла устройства 8 обработки, то управляющее устройство 4 продолжает выполнение способа на этапе S9.
На этапе S9 управляющее устройство 4 управляет правильным станком 5 таким образом, что он больше не выпрямляет полосу 2. В частности, ролики 6 отводятся от полосы 2. Однако управление разматывателем 1 и устройством 8 обработки в рамках этапа S9 сохраняется. В зависимости от дальнейшей обработки, в рамках этапа S9 может, например, повышаться скорость v полосы, с которой полоса 2 разматывается.
На этапе S10 управляющее устройство 4 вновь воспринимает толщину d полосы от устройства 3 измерения толщины.
На этапе S11 управляющее устройство 4 проверяет, имеет ли определенная толщина d полосы значение, равное нулю.
Если толщина d полосы имеет значение, отличное от нуля, то управляющее устройство 4 управляет на этапе S12 - при необходимости с соответствующим смещением по времени - устройством 8 обработки в соответствии с определенной толщиной d полосы 2. Например, может - аналогично случаю с головной частью 7 полосы - определяться, с какого момента времени толщина d полосы отклоняется от номинальной толщины d* полосы более чем на допустимый допуск δd толщины. Устройство 8 обработки может в этом случае, например, управляться таким образом, что оно отделяет не показанный на чертеже конец полосы от остальной полосы 2. Затем управляющее устройство 4 возвращается к этапу S9.
Если определенная толщина d полосы достигла значения, равного нулю, то конец полосы прошел мимо устройства 3 измерения толщины. В этом случае управляющее устройство 4 на этапе S13 настраивает управление разматывателем 1 и устройством 8 обработки соответствующим образом. Например, может снижаться скорость v полосы. Также вновь может возобновляться управление правильным станком 5.
Устройство 3 измерения толщины может, в принципе, выполняться любым образом. Например, оно может работать с излучением, которое проникает в полосу 2. Например, подобное излучение может представлять собой рентгеновское излучение и гамма-излучение. Однако предпочтительным образом устройство измерения толщины выполнено как устройство 3 измерения толщины, базирующееся на времени прохождения. Подобные устройства 3 измерения толщины работают не с проникающим излучением, а, например, с излучением, которое отражается от полосы. Например, подходящими излучениями являются звук (предпочтительно ультразвук), а также свет, в частности лазерный свет. Длина волны применяемого света может находиться, в соответствующем случае, в видимом, инфракрасном или даже в ультрафиолетовом диапазоне.
Фиг.3-5 показывают примеры устройств 3 измерения толщины, основывающихся на времени прохождения.
Согласно фиг.3 устройство 3 измерения толщины сканирует разматываемую полосу 2 в месте 10 сканирования с одной стороны. Понятие «место сканирования» относится в этой связи не к месту полосы, где она сканируется, а к позиции в направлении х перемещения полосы, на которой полоса 2 сканируется.
Согласно фиг.3 разматываемая полоса 2 проходит в месте 10 сканирования над опорным роликом 11. Согласно фиг.4 место 10 сканирования находится между двумя направляющими роликами 12.
Согласно фиг.5 устройство 3 измерения толщины сканирует разматываемую полосу 2 в месте 10 сканирования с двух сторон. В этом случае на месте 10 сканирования может не иметься никакого опорного ролика.
Устройство 9 измерения высоты может - если оно предусмотрено - быть выполнено подобно устройству 3 измерения толщины. Как правило, в случае устройства 9 измерения высоты достаточно одностороннее сканирование без опорного ролика.
Фиг.6 показывает типовое выполнение устройства 8 обработки. Согласно фиг.6 устройство 8 обработки имеет несколько частичных устройств 13-15. Расположенное вслед за правильным станком 5 частичное устройство 13 выполнено согласно фиг.6 как ножницы. Посредством ножниц 13, в частности, головная часть 7 и конец полосы могут отделяться от остальной полосы 2. Предпочтительным образом ножницы 13 выполнены подвижными в направлении х перемещения полосы (так называемые летучие ножницы). Это показано на фиг.6 двойной стрелкой около ножниц 13.
Расположенное вслед за ножницами 13 частичное устройство 14 выполнено согласно фиг.6 как сварочное устройство 14. Посредством сварочного устройства 14 выпрямленная полоса 2 может свариваться с другой полосой 2'.
Расположенное за сварочным устройством 14 частичное устройство 15 выполнено согласно фиг.6 как накопитель полосы. В качестве альтернативы, оно могло бы быть выполнено как устройство очистки. Посредством накопителя 15 полосы может промежуточным образом храниться другая полоса 2'. Накопитель 15 полосы в типовом случае выполнен как так называемый петлевой накопитель.
Посредством выполненного согласно изобретению разматывающего устройства возможна оптимизированная эксплуатация правильного станка 5. Устройство 3 измерения толщины является экономичным, компактным и надежным. Полоса 2 может транспортироваться быстрее, чем в известном уровне техники. Кроме того, накопитель 15 полосы может быть выполнен с меньшими габаритами, чем в уровне техники.
Приведенное выше описание служит исключительно объяснению предложенного изобретения. Объем охраны предложенного изобретения должен определяться исключительно посредством приложенной формулы изобретения.
1. Способ управления разматывающим устройством, в котором осуществляют разматывание полосы (2) посредством разматывателя (1), измеряют толщину (d) разматываемой полосы (2) посредством устройства (3) измерения толщины, размещенного за разматывателем (1), причем измеренную толщину (d) полосы подают на управляющее устройство (4) посредством управляющего устройства (4), в зависимости от измеренной толщины (d) разматываемой полосы (2) и на основании предписания по определению определяют управляющие значения (А*) для правильного станка (5), размещенного после устройства (3) измерения толщины, которые передают правильному станку (5) для соответствующего управления правкой разматываемой полосы (2),посредством устройства (9) измерения высоты, расположенного после правильного станка (5), определяют положение по высоте (h) выпрямленной полосы (2), которое передают управляющему устройству (4), причемпосле устройства (9) измерения высоты посредством устройства (8) обработки осуществляют дальнейшую обработку выпрямленной полосы (2), при этом посредством управляющего устройства (4) адаптируют упомянутое предписание по определению в зависимости от упомянутого определенного положения полосы (2) по высоте (h).
2. Способ по п.1, отличающийся тем, что посредством устройства (3) измерения толщины по меньшей мере на одной стороне полосы определяют расстояние полосы (2) от упомянутого устройства (3) в качестве характеристики толщины (d) полосы (2).
3. Способ по п.2, отличающийся тем, что посредством устройства (3) измерения толщины на одной стороне полосы определяют расстояние полосы (2) от упомянутого устройства (3) в качестве характеристики толщины (d) полосы (2).
4. Способ по п.3, отличающийся тем, что разматываемую полосу (2) в том месте (10), где ее сканируют упомянутым устройством (3) измерения толщины, перемещают над опорным роликом (11).
5. Способ по п.2, отличающийся тем, что посредством устройства (3) измерения толщины с двух сторон полосы определяют расстояние полосы (2) от упомянутого устройства (3) в качестве характеристики толщины (d) полосы (2).
6. Способ по любому из пп.1-5, отличающийся тем, что разматывателем (1) дополнительно управляют посредством управляющего устройства (4).
7. Способ по любому из пп.1-5, отличающийся тем, что устройством (8) обработки дополнительно управляют посредством управляющего устройства (4).
8. Способ по п.6, отличающийся тем, что устройством (8) обработки дополнительно управляют посредством управляющего устройства (4).



