Блок хранения вещества, формирующего изображение, способ наполнения блока хранения вещества веществом, формирующим изображение, и устройство формирования изображения
Иллюстрации
Показать всеИзобретение относится к блоку хранения вещества, формирующего изображение. Заявленный блок хранения вещества, формирующего изображение, включает в себя корпусную часть, захватываемую часть и элемент предотвращения перемещения. Корпусная часть имеет протяженность в направлении, в котором блок хранения вещества, формирующего изображение, устанавливается в устройство формирования изображения. Захватываемая часть расположена на стороне расположения оператора корпусной части в направлении, в котором блок хранения вещества, формирующего изображение, устанавливается в устройство формирования изображения, таким образом, чтобы захватываемая часть могла быть захвачена посредством руки. Элемент предотвращения перемещения расположен в верхней части захватываемой части. Элемент предотвращения перемещения зацепляется за устройство формирования изображения. А также элемент предотвращения перемещения предотвращает перемещение блока хранения вещества, формирующего изображение, установленного в устройстве формирования изображения, в направлении, в котором вытаскивается блок хранения вещества, формирующего изображение. Технический результат - создание блока хранения вещества формирования изображения, который может предотвратить неточную установку его в устройство формирования изображения, когда в него устанавливается блок хранения вещества, формирующего изображение. 3 н. и 1 з.п. ф-лы, 12 ил.
Реферат
Область техники, к которой относится изобретение
Настоящее изобретение имеет отношение к блоку хранения вещества, формирующего изображение, способу наполнения блока хранения вещества, формирующего изображение веществом, формирующим изображение, и к устройству формирования изображения.
Уровень техники
Абзац [0071] патентного документа 1 (JP-A-2009-036921) раскрывает конструкцию, в которой в верхней части картриджа с тонером предусмотрен осевой выступ. Патентный документ 2 (JP-A-2009-122543) дает описание крышки 68, закрывающей передний конец блока 62 хранения проявочного вещества в направлении, в котором будет вставлен блок 62 хранения проявочного вещества (абзац [0043]) и описание предусмотренной регулирующей части 86 блока хранения проявочного вещества на крышке 68 и служащей в качестве направляющих, если блок 62 хранения проявочного вещества вставляется или отсоединяется от корпуса 12 устройства формирования изображения (абзац [0045]).
Раскрытие изобретения
Целью настоящего изобретения является создание такого блока хранения вещества формирования изображения, который может предотвратить неточную установку его в устройство формирования изображения, когда в него устанавливается блок хранения вещества, формирующего изображение.
[1] В соответствии с вариантом изобретения блок хранения вещества, формирующего изображение, включает в себя корпусную часть, захватываемую часть и элемент предотвращения перемещения. Корпусная часть выполнена с возможностью выдвигаться для того, чтобы выдвигаться в направлении, в котором смонтирован блок хранения вещества, формирующего изображение в устройстве формирования изображения. Захватываемая часть размещена на стороне расположения оператора корпусной части в направлении, в котором смонтирован блок хранения вещества, формирующего изображение в устройстве формирования изображения так, чтобы захватываемая часть могла быть захвачена рукой. Элемент предотвращения перемещения расположен в верхней части захватываемой части. Элемент предотвращения перемещения зацепляется за устройство формирования изображения. Таким образом, элемент предотвращения перемещения предотвращает перемещение блока хранения вещества, формирующего изображение, смонтированного в устройстве формирования изображения в направлении, в котором выдвигается блок хранения вещества, формирующего изображение.
[2] В соответствии с блоком хранения вещества, формирующего изображение, по пункту [1], элемент предотвращения перемещения может включать в себя: выступающую часть, которая является упруго деформируемой, и зацепляющуюся часть, которая зацепляется за устройство формирования изображения. Зацепляющаяся часть включает в себя: наклон, который вплотную прилегает к устройству формирования изображения для толкания зацепляющейся части вниз, когда корпусная часть выдвинута из устройства формирования изображения, и часть, предотвращающую выдвижение, которая расположена в верхней части наклона и которая вплотную прилегает к устройству формирования изображения для препятствования перемещению корпусной части в том же направлении, в котором выдвигается корпусная часть.
[3] В соответствии с блоком хранения вещества формирования изображения по пункту [1] элемент предотвращения перемещения может включать в себя: выступающую часть, которая является упруго деформируемой, основную часть выступающей части, в сочетании с захватываемой частью, и зацепляющуюся часть, которая зацепляется за устройство формирования изображения, зацепляющаяся часть сформирована на конце выступающей части. Зацепляющаяся часть включает в себя: зацепляющуюся поверхность, которая зацепляется за устройство формирования изображения, когда корпусная часть перемещается в направлении, в котором выдвигается корпусная часть, и наклон, который предусмотрен между зацепляющейся поверхностью и выступающей частью, что позволяет ему контактировать с устройством формирования изображения во время выдвижеиня корпусной части из устройства формирования изображения. Когда наклон контактирует с устройством формирования изображения во время выдвижения корпусной части из устройства формирования изображения, наклон отклоняет зацепляющуюся поверхность посредством упруго деформируемой выступающей части.
[4] В соответствии с другим вариантом изобретения способ наполнения блока хранения вещества, формирующего изображение, по любому из пунктов с [1] по [3] веществом, формирующим изображение. Блок хранения вещества, формирующего изображение, в последующем, может включать в себя запечатанное отверстие, которое предусмотрено на задней поверхности стороны расположения оператора корпусной части в направлении, в котором смонтирован блок хранения вещества, формирующего изображение в устройстве формирования изображения. Способ включает в себя: вскрытие запечатанного отверстия для того, чтобы раскрыть отверстие; и помещение вещества, формирующего изображение в корпусную часть через оставленное открытым отверстие.
[5] В соответствии с другим вариантом изобретения устройство формирования изображения включает в себя: блок хранения вещества, формирующего изображение по одному из пунктов с [1] по [3], и блок проявки, в который подается вещество, формирующий изображение, из блока хранения вещества, формирующего изображение.
При использовании конструкции [1] имеется возможность предотвращения неточной установки блока хранения вещества, формирующего изображение в устройстве формирования изображения, когда в него устанавливается блок хранения вещества, формирующего изображение.
При использовании конструкции [2] отменяется функция элемента предотвращения перемещения, когда блок хранения вещества, формирующего изображение, выдвигается из устройства формирования изображения с помощью захватываемой части.
При использовании конструкции [3], когда блок хранения вещества, формирующего изображение, присоединен к устройству формирования изображения, возможно уверенно предотвратить силу, получаемую от устройства формирования изображения при удалении блока хранения вещества, формирующего изображение, а когда блок хранения вещества, формирующего изображение, выдвигается из устройства формирования изображения, имеется возможность легко удалить блок хранения вещества, формирующего изображение, ввиду того, что наклон отклоняет зацепляющуюся поверхность.
При использовании конструкции [4] имеется возможность осуществить способ заправки блока хранения вещества, формирующего изображение, веществом, формирующим изображение.
При использовании конструкции [5] имеется возможность успешно предусмотреть устройство формирования изображения в соответствии с первой или второй конструкцией изобретения.
Краткое описание чертежей
Примерные варианты осуществления настоящего изобретения будет более подробно описаны на основе нижеследующих чертежей, в которых:
Фиг.1 является схематическим видом устройства формирования изображения в соответствии с примерным вариантом осуществления;
Фиг.2 является видом в перспективе блока хранения тонера;
Фиг.3A и 3B являются боковым видом и видом сзади блока хранения тонера;
Фиг.4A и 4B являются боковым видом и фронтальным видом блока хранения тонера;
Фиг.5 является частично увеличенным видом в перспективе блока хранения тонера;
Фиг.6 является частично увеличенным видом в перспективе блока хранения тонера;
Фиг.7 является частично увеличенным видом в перспективе блока хранения тонера;
Фиг. с 8A по 8D являются схематическими видами, изображающими действие элемента предотвращения перемещения;
Фиг. с 9A по 9D являются схематическими видами, изображающими действие элемента предотвращения перемещения;
Фиг.10A и 10B являются схематическими видами для объяснения возможности визуального контроля направления блока хранения тонера;
Фиг.11 является схематическим видом, изображающим положение, в котором блоки хранения тонера устанавливаются в устройстве формирования изображения; и
Фиг.12 является схематическим видом, изображающим заднюю часть корпусной части блока хранения тонера.
Осуществления изобретения
Устройство формирования изображения
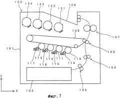
Ниже будет описан примерный вариант осуществления изобретения. Фиг.1 является схематическим видом устройства формирования изображения в соответствии с примерным вариантом осуществления. Фиг.1 изображает устройство 100 формирования изображения. У устройства 100 формирования изображения имеется функция формирования изображения на материале для записи изображения (например, лист бумаги) на основе данных об изображении, получаемых извне, и вывода материала для записи изображения со сформированным на нем изображением. У устройства 100 формирования изображения имеется корпус 101. В данном примерном варианте осуществления в корпусе 101 имеется блок 102 хранения бумаги, в котором хранится множество листов бумаги, на которых будут сформированы изображения.
Лист бумаги, хранящийся в блоке 102 хранения бумаги, передается на вторичную подающую часть 105 через передающие механизмы 103 и 104 с использованием вращающихся валиков. Посредством вторичной подающей части 105 порошковое изображение в первую очередь подается на транспортную ленту 106, а во вторую очередь подается на лист бумаги, переданный передающим механизмом 104. Вторичная подающая часть 105 имеет пару валиков. Вторичная подающая часть 105 выполняет вторичную подачу путем подачи напряжения между валиками, в то время как лист бумаги и транспортная лента 106 удерживаются между валиками.
Порошковые изображения соответствующих цветов Y, М, С и К с барабанов 110, 111, 112 и 113 с фотопроводящим слоем в первую очередь подаются прямо на транспортировочную ленту 106. Первичные цветные порошковые изображения накладываются сверху друг на друга на транспортировочной ленте 106. Таким образом, цветное порошковое изображение формируется на транспортировочной ленте 106.
Например, очищающий блок (не указан) для очищения от остаточного тонера, блок заправки (не указан) для заправки поверхности барабана 110 с фотопроводящим слоем, блок облучения (не указан) для облучения заряженной поверхности барабана 110 с фотопроводящим слоем световыми лучами для частичного подвергания поверхности барабана 110 с фотопроводящим слоем облучению световыми лучами, и, таким образом, для формирования скрытого изображения, блок 114 проявки для подачи тонера (вещества, формирующего изображение) на скрытое изображение для проявки скрытого изображения, расположены вокруг барабана 110 с фотопроводящим слоем. Та же конструкция может быть применена к любому другому барабану с фотопроводящим слоем. На Фиг.1 изображены: блок 115 проявки для выполнения проявки на поверхности барабана 111 с фотопроводящим слоем, блок 116 проявки для выполнения проявки на поверхности барабана 112 с фотопроводящим слоем, и блок 117 проявки для выполнения проявки на поверхности барабана 113 с фотопроводящим слоем.
Блоки хранения тонера 121, 122, 123 и 124 (как примеры блоков хранения вещества, формирующего изображение) хранят тонеры (как примеры веществ, формирующих изображение) соответствующих цветов Y, М, С и К, и установлены внутри устройства 100 формирования изображения с возможностью их извлечения. Каждый блок хранения тонера 121-124 имеет конструкцию, которая может быть вставлена в корпус 101, отсоединена от него, и заменена новой, когда тонер израсходован. Конструкция, которая может быть вставлена в корпус 101, отсоединена от него, и заменена новой, будет описана позже. Кроме того, в устройстве 100 формирования изображения направление каждого из блоков 121-124 хранения тонера относительно корпуса 101 (направление относительно направлений осей X, Y и Z) фиксировано без изменений в соответствии с действием по установке блоков 121-124 хранения тонера.
Тонер подается из блока 121 хранения тонера на блок 114 проявки через механизм передачи тонера, который на чертежах не указан. Таким же способом тонер подается из блока 122 хранения тонера на блок 115 проявки, тонер доставляется из блока 123 хранения тонера на блок 116 проявки, а тонер доставляется из блока 124 хранения тонера на блок 117 проявки.
Лист бумаги, на который во вторую очередь подаются порошковые изображения с транспортировочной ленты 106 посредством вторичной подающей части 105, посылается на устройство 107 закрепления, в котором порошковые изображения закрепляются на листе бумаги. В устройстве 107 закрепления изображения имеется пара валиков, посредством которых к листу бумаги применяется высокая температура и давление для закрепления незакрепленных порошковых изображений на листе бумаги. Лист бумаги, на котором изображения были закреплены, выводится в лоток выдачи 108.
Блок хранения тонера
Пример блока 121-124 хранения тонера, изображенного на Фиг.1, будет описан ниже. Блоки 121-124 хранения тонера одинаковы, за исключением того, что цвета (виды) хранящихся тонеров различны. В данном случае, будет сделано описание блока 121 хранения тонера. Фиг.2 является видом в перспективе блока хранения тонера в соответствии с примерным вариантом осуществления. Фиг.3A является боковым видом блока хранения тонера в соответствии с примерным вариантом осуществления, а Фиг.3B является его видом сзади. Фиг.4 является боковым видом блока хранения тонера в соответствии с примерным вариантом осуществления, а Фиг. 4B является его фронтальным видом.
Фиг.2, Фиг.3A-3B и Фиг.4A-4B изображают блок 121 хранения тонера. Блок 121 хранения тонера имеет конструкцию, в которой часть 202 переднего конца и захватываемая часть 203 предусмотрены в частях переднего и заднего конца части 201 цилиндрического корпуса в продольном направлении, которое является направлением оси части 201 цилиндрического корпуса, в котором будет установлен блок 121 хранения тонера в корпусе 101 устройства 100 формирования изображения. Часть 202 переднего конца расположена со стороны, которая будет вставлена в устройство 100 формирования изображения, когда блок 121 хранения тонера устанавливается в устройство 100 формирования изображения. Захватываемая часть 203 присоединяется на стороне расположения оператора по направлению вставки. Захватываемая часть 203 служит в качестве части, которая может быть захвачена посредством руки, когда блок 121 хранения тонера устанавливается и удаляется (то есть вставляется и отсоединяется) из корпуса 101 устройства 100 формирования изображения по Фиг.1.
Фиг.5 является видом в перспективе, изображающим часть переднего конца. Фиг.5 изображает часть 202 переднего конца. Если часть 202 переднего конца вдвинута в устройство 100 формирования изображения, то блок 121 хранения тонера может быть установлен в устройстве 100 формирования изображения.
В части 202 переднего конца имеется соединительная шестерня 204. Соединительная шестерня 204 сцепляется с ведущей шестерней, расположенной на устройстве 100 формирования изображения, если блок хранения тонера 121 был установлен в сторону устройства формирования изображения 100. В случае, когда ведущая шестерня вращается посредством двигателя, вращается и соединительная шестерня 204, сцепленная с ведущей шестерней.
Средство доставки (не указано) связано с соединительной шестерней 204. Средство доставки доставляет тонер, размешивая тонер, в продольном направлении (в направлении оси Y на Фиг.5), то есть в направлении, в котором блок 121 хранения тонера вставлен в корпус 101 устройства 100 формирования изображения, и которое является продольным направлением цилиндрической части 201 корпуса. Средство доставки выполнено из провода, имеющего форму спирали. Когда соединительная шестерня 204 вращается, элемент доставки вращается вокруг оси Y для доставки тонера хранимого в части 201 корпуса тонера, в процессе размешивания тонера, в направлении вперед по оси Y на Фиг.5.
Как изображено на Фиг. 5, сигнальный зажим 205 расположен в части 202 передней части. Сигнальный зажим 205 предусмотрен на панели 206. Запоминающее устройство IC (не указано) присоединено к поверхности противолежащей панели 206 то есть к поверхности, на которой предусмотрен сигнальный зажим 205. Информация о цвете хранимого тонера или подобное, информация об остающемся количестве тонера, и т.д. хранится в запоминающем устройстве IC. Когда блок 121 хранения тонера установлен в устройстве 100 формирования изображения, эти части информации могут считываться или записываться при помощи электроники в запоминающее устройство IC через сигнальный зажим 205 корпуса 101.
Фиг.6 и 7 являются видами в перспективе, изображающими захватываемую часть. Фиг.6 и 7 изображают захватываемую часть 203. Захватываемая часть 203 механически соединена с частью 201 корпуса посредством монтажа этой конструкции внутри отверстия. Таким образом, отверстие 207 предусмотрено на захватываемой части 203. С другой стороны, зажимная часть 208, которая может входить в отверстие 207 и захватывается посредством отверстия 207, предусмотрена на стороне корпуса 101. Когда захватываемая часть 203 вдвинута в корпусную часть 201, зажимная часть 208 входит в отверстие 207, и зажимная часть 208 задерживается кромкой отверстия 207. Таким образом, захватываемая часть 203 установлена в части 201 корпуса.
Внутри задней поверхности 211 захватываемой части 203 сформирована полая структура таким образом, чтобы, при помещении пальца в полую структуру, можно было легко отжать рукой заднюю поверхность 211 в направлении назад по оси Y. Можно не говорить, что в соответствии с конструкцией задняя поверхность 211 может быть вдвинута в направлении вперед по оси Y.
Элемент 209 предотвращения перемещения расположен в верхней части (расположенной в направлении 12 часов, в соответствии с положениями стрелок часов) захватываемой части 203. Элемент 209 предотвращения перемещения расположен в границах прямоугольной части 1210, выступающей по отношению к окружающей поверхности. Элемент 209 предотвращения перемещения изготовлен из полимера и сформирован в конструкцию, которая может быть упруго деформируемой в направлении оси Z на Фиг.5.
Фиг.8A-8D и 9A-9D являются схематическими видами для объяснения действия элемента предотвращения перемещения. Фиг.8A-8D и 9A-9D изображают элемент 209 предотвращения перемещения, который также изображен на Фиг.6. У элемента 209 предотвращения перемещения имеется выступающая часть 21 и зацепляющаяся часть 22. Выступающая часть 21 удлинения имеет форму пластины продольной формы. Зацепляющаяся часть 22 сформирована на задней стороне части 21 удлинения, а задняя сторона, противолежащая зацепляющейся части 22 (основная часть выступающей части 21) объединена с захватываемой частью 203. У зацепляющейся части 22 имеется первая наклонная поверхность 23, зацепляющаяся поверхность 24 и вторая наклонная поверхность 25.
Фиг.8A-8D изображают контактный элемент 210 на боку корпуса 101 устройства 100 формирования изображения. В данном документе будет дано описание такого случая, в котором блок 121 хранения тонера перемещается в направлении вперед по оси Y на Фиг.8A-8D, для установки его в устройство 100 формирования изображения.
В данном случае, если блок 121 хранения тонера вдвинут в устройство 100 формирования изображения, то контактный элемент 210 достигает зацепляющейся части 22 (Фиг.8A). Тогда, если контактный элемент 210 соприкасается с первой наклонной поверхностью 23, то выступающая часть 21 может быть упруго деформирована, и зацепляющаяся часть 22 перемещается по направлению стрелки 26 (Фиг.8B).
Когда блок 121 хранения тонера вдвигается в устройство 100 формирования изображения дальше, зацепляющаяся часть 22 перемещается дальше по направлению, указанному осью Y, а нисходящее движение зацепляющейся части 22 по направлению стрелки 26 (то есть деформация выступающей части 21) становится больше, как изображено на Фиг.8C. После этого, как только контактный элемент 210 выходит за границу (граница первой наклонной поверхности) между первой наклонной поверхностью 23 и зацепляющейся поверхностью 24, упруго деформированная выступающая часть 21 возвращается в исходное положение, как изображено на Фиг.8D.
В этом случае, даже когда имеется намерение сместить элемент 209 предотвращения перемещения (а таким образом и блок 121 хранения тонера) в направлении назад по оси Y Фиг.8D, перемещение можно предотвратить посредством зацепляющейся поверхности 24, которая соприкасается с контактным элементом 210 и захватывается им. Таким образом, блоку 121 хранения тонера, установленному в устройство 100 формирования изображения, создается препятствие в перемещении в направлении, в котором блок 121 хранения тонера может быть выдвинут (удален). Предотвращение перемещения в направлении, в котором блок 121 хранения тонера может быть выдвинут, действует против противодействующей силы, которую получает блок 121 хранения тонера от соединительной шестерни 204, которая будет описана позже, и противодействующей силы, которую получает блок 121 хранения тонера от пружины, принуждающей не указанный на чертежах защитный элемент, предусмотренный на боку корпуса 101 устройства 100 формирования изображения, как будет описано позже. Таким образом, если данная сила сильнее результирующей силы вышеупомянутых двух противодействующих сил, приложенных к блоку 121 хранения тонера посредством оператора, когда блок 121 хранения тонера выдвигается из внутренней части устройства 100 формирования изображения, блок 121 хранения тонера может быть выдвинут из внутренней части устройства 100 формирования изображения.
Далее будет сделано описание действия по удалению блока 121 хранения тонера. Для удаления (извлечения) блока 121 хранения тонера из корпуса 101 устройства 100 формирования изображения палец упирается в заднюю поверхность 211 на Фиг.6, и к ней прилагается сила в направлении назад по оси Y. Таким образом, палец упирается в углубление внутри задней поверхности 211 захватываемой части 203 и к ней прилагается сила для вытаскивания блока 121 хранения тонера в направлении назад по оси Y.
В данном случае, сила может действовать вверх, то есть вертикально вверх по направлению оси Z. В данном случае, сила применяется по направлению стрелки 28 (Фиг.9A). В результате, как только элемент 209 предотвращения перемещения вытащен, элемент 209 предотвращения перемещения слегка приподнимается (то есть перемещается вперед по направлению оси Z). Таким образом, контактный элемент 210 приходит в соприкосновение с выступающей частью 21 или со второй наклонной поверхностью 25. Фиг.9B показывает состояние, в котором контактный элемент 210 пришел в соприкосновение со второй наклонной поверхностью 25.
Последовательно, как изображено на Фиг.9B, если непрерывно применяется сила, чтобы выдвигать блок 121 хранения тонера по направлению назад по оси Y, то вторая наклонная поверхность 25 приходит в соприкосновение с контактным элементом 210 для того, чтобы упруго деформировать выступающую часть 21. Таким образом, зацепляющаяся часть 22 перемещается по направлению стрелки 27 (Фиг.9C).
После этого контактный элемент 210 приходит в соприкосновение с зацепляющейся поверхностью 24, отклоненной относительно направления деформации, для дальнейшего увеличения упругого деформирования выступающей части 21, что приводит к состоянию, изображенному на Фиг.9D. Как только контактный элемент 210 выходит за границу (край первой наклонной поверхности 23) между первой наклонной поверхностью 23 и зацепляющейся поверхностью 24 справа налево на Фиг.9D, выступающая часть 21, которая была упруго деформирована, начинает возвращаться в исходное положение. Когда элемент 209 предотвращения перемещения далее сдвигается налево, согласно чертежам, элемент 209 предотвращения перемещения достигает состояния, изображенного на Фиг.8A. Таким образом, элемент 209 предотвращения перемещения высвобождается из состояния, в котором элемент 209 предотвращения перемещения захвачен контактным элементом 210 для предотвращения перемещения блока 121 хранения тонера в направлении назад по оси Y. В результате блок 121 хранения тонера может быть выдвинут и удален из устройства 100 формирования изображения.
Допустим, что имеется намерение сместить блок 121 хранения тонера в направлении назад по оси Y посредством силы столь же сильной, как и сила противодействия, полученная от соединительной шестерни 204, и сила противодействия, полученная от пружины, предусмотренной на боку корпуса 101 и принуждающая не указанную на чертежах защитную деталь. В данном случае, контактный элемент 210 в соприкосновении с зацепляющейся поверхностью 24 осуществляет функцию предотвращения перемещения блока 121 хранения тонера в направлении назад по оси Y. Таким образом, имеется возможность воспрепятствовать перемещению блока 121 хранения тонера в направлении назад по оси Y (чтобы его вытащить). Когда оператор применяет силу сверх вышеупомянутой результирующей силы для того, чтобы вытащить блок 121 хранения тонера из внутренней части устройства 100 формирования изображения, применяется сила такая, как большая, чем сила сцепления зацепляющейся поверхности 24 с контактным элементом 210. Таким образом, выступающая часть 21 поддается этой силе для того, чтобы быть упруго деформированной для перемещения по направлению стрелки 27. В результате, функция предотвращения перемещения элемента 209 предотвращения перемещения отменяется. Допустим, что сила, направленная вверх (в направлении оси Z) воздействует на элемент 209 предотвращения перемещения, если блок 121 хранения тонера должен быть вытащен из внутренней части устройства 100 формирования изображения. Также, в данном случае, функция предотвращения перемещения элемента 209 предотвращения перемещения отменяется таким же образом.
Кроме того, как изображено на Фиг.6, захватываемая часть 203 оборудована меткой 31 для выравнивания его с корпусной частью 201. Метка 32 совмещается с меткой 31, предусмотренной на корпусной части 201. Если метки 31 и 32 совмещены друг с другом, то захватываемая часть 203 может быть совмещена по направлению вращения, если захватываемая часть 203 присоединена к части 201 корпуса.
Как изображено на Фиг.2, 3A-3B и 4A-4B, часть 220 выброса тонера расположена в корпусной части 201 блока 121 хранения тонера. В части 220 выброса тонера имеется защитный элемент 221, который может скользить в направлении по оси (по направлению оси Y), для открытия/закрытия. Когда блок 121 хранения тонера вдвигается в установочную часть устройства 100 формирования изображения, защитный элемент 221 сталкивается с устройством 100 формирования изображения. После этого, когда блок 121 хранения тонера вдвигается далее в установочную часть устройства 100 формирования изображения, корпусная часть 201 также вдвигается в установочную часть устройства 100 формирования изображения, а защитный элемент 221 остается в таком положении, в котором защитный элемент 221 находится при соприкосновении с устройством 100 формирования изображения. В результате, корпусная часть 201 скользит в направлении оси (в направлении вперед по оси Y), а защитный элемент 221 скользит относительно направления оси (в направлении назад по оси Y) для формирования отверстия. Через отверстие тонер, находящийся внутри корпусной части 201, подается в блок 114 проявки (см. Фиг.1) устройства 100 формирования изображения. С другой стороны, когда блок 100 хранения тонера вытащен из установочной части устройства 100 формирования изображения, корпусная часть 201 перемещается в направлении защитного элемента 221, остающегося позади. Таким образом, корпусная часть 201 скользит в направлении оси (в направлении назад по оси Y), а защитный элемент 221 скользит относительно направления оси (в направлении вперед по оси Y), для закрытия отверстия. Защитная деталь, не указанная на чертежах, также предусмотрена на боку установочной части устройства 100 формирования изображения. Защитный элемент на стороне установочной части принуждается к закрытию посредством пружины. Когда блок 121 хранения тонера вдвигается далее в установочную часть устройства 100 формирования изображения, закрывающий элемент на боку установочной части сталкивается с блоком 121 хранения тонера и открывается. Таким образом, когда блок 121 хранения тонера установлен в установочной части устройства 100 формирования изображения, блок 121 хранения тонера выдвигается в таком направлении (по направлению назад по оси Y), чтобы выталкиваться из установочной части посредством противодействующей силы пружины.
Как изображено на Фиг.3A-3B, Фиг.4A-4B и Фиг.5-7, у части 201 корпуса имеются выступающие части 301 и 302, тянущиеся в продольном направлении (в направлении оси Y) блока 121 хранения тонера. Выступающая часть 305, имеющая такие же функции, как и выступающая часть 301, оборудована в позиции части 202 переднего конца, и тянется в продольном направлении, начиная от выступающей части 301. Кроме того, выступающая часть 303 оборудована в позиции захватываемой части 203, и тянется в продольном направлении, начиная от выступающей части 302, а выступающая часть 304 оборудована в позиции части 202 переднего конца, и тянется в продольном направлении, начиная от выступающей части 302.
Совокупность выступающих частей 301 и 305 и совокупность выступающих частей 302, 303 и 304 имеют в разрезе выпуклую форму, и расположены в таких позициях, что центральная ось круглой части 201 корпуса находится между ними (то есть в позициях, в которых любая линия, соединяющая совокупность выступающих частей 301 и 305 с совокупностью выступающих частей 302, 303 и 304 проходит через центральную ось части 201 корпуса), в проекции продольного направления (в направлении оси Y).
Совокупность выступающих частей 301 и 305, как и совокупность выступающих частей 302, 303 и 304 служит в качестве направляющих для установки блока 121 хранения тонера в устройство 100 формирования изображения. Таким образом, направляющие принимающей стороны имеют в разрезе вогнутую форму для приема совокупности выступающих частей 301 и 305 и совокупности выступающих частей 302, 303 и 304 соответственно и расположены в корпусе 101. Блок 121 хранения тонера вдвигается в устройство 100 формирования изображения в том случае, если совокупность выступающих частей 301 и 305 и совокупность выступающих частей 302, 303 и 304 контактируют с направляющими принимающей стороны. В данном случае, обе направляющие детали совпадают с деталями-партнерами (направляющими приемной стороны) соответственно. Таким образом, блок 121 хранения тонера может быть расположен в позиции угла поворота вокруг оси (вокруг оси Y) и расположен в плоскости X-Y. В результате, блок 121 хранения тонера может быть установлен в положение, в котором сигнальный зажим 205 и часть 220 выброса тонера расположены правильно относительно устройства 100 формирования изображения.
Как было описано выше, выступающие части 301 и 302 оборудованы таким образом, чтобы тянуться вдоль всего продольного направления корпусной части 201. В дальнейшем, выступающая часть 305 располагается в продолжение выступающей части 301, а выступающие части 303 и 304 расположены в продолжение выступающей части 302.
Когда центр разреза блока 121 хранения тонера считать центральной осью, другими словами, когда блок 121 хранения тонера рассматривается в продольном направлении (в направлении оси Y), угловое положение выступающей части 301, 305 вокруг оси (вокруг оси Y), и угловое положение выступающей части 302, 303, 304 вокруг оси (вокруг оси Y) расположено на линии, проходящей через ось (то есть на любой линии, соединяющей совокупность выступающих частей 301 и 305 с совокупностью частей 302, 303 и 304, расположенной таким образом, чтобы проходить через центральную ось проекции в продольном направлении (направлении оси Y)), и, в дальнейшем, расположенной в левой нижней позиции и в правой верхней позиции проекции со стороны оси Y в противоположном направлении (проекции со стороны захватываемой части 203). Предпочтительно, чтобы правая верхняя позиция была установлена в угловую позицию 45°±20° при условии, что направление оси Z находится в угловой позиции 0°, а левая нижняя позиция была установлена в угловую позицию 225°±20° при условии, что направление оси Z находится в угловой позиции 0°.
Ранее был описан блок 121 хранения тонера. Такая же конфигурация может быть применена также и к блокам 122-124 хранения тонера.
Преимущества
Ниже будет дано описание конструктивных преимуществ блоков 121-124 хранения тонера. Фиг.10A-10B являются схематическими видами, изображающими состояние, в котором блок 121 хранения тонера установлен в устройстве формирования изображения (не указано на Фиг.10A-10B).
Обычно, когда рабочий 401, правша, устанавливает блок 121 хранения тонера в устройство 100 формирования изображения, рабочий 401 захватывает захватываемую часть 203 (см. Фиг.6 и 7) блока 121 хранения тонера посредством правой руки 402 и толкает захватываемую часть 203 по направлению вперед по оси Y, дополнительно придерживая корпусную часть 201 посредством левой руки 403, как изображено на Фиг.10A. В этом случае, в точке обзора Фиг.10A, вследствие того, что выступающая часть 303 (302) предусмотрена в правой верхней угловой позиции, а выступающая часть 301 оборудована в левой нижней угловой позиции, рабочий 401 может опознать соответствующие выступающие части визуально и легко понять их взаимное расположение, как изображено на Фиг.10A. Таким образом, в случае, изображенном на Фиг.10A, рабочий 401 может легко опознать выступающую часть 303 (302) и выступающую часть 301. Кроме того, рабочий 401 может визуально опознать две выступающих части, даже если выступающие части не высоки.
Кроме того, после того, как передняя часть блока 121 хранения тонера вдвигается в устройство 100 формирования изображения, рабочий 401 освобождает левую руку и правой рукой толкает захватываемую часть 203 в направлении вперед по оси Y, как изображено на Фиг.10B. В этом случае, рабочий 401 будет расположен в стороне, наискосок слева и сзади относительно блока 101 хранения тонера, чтобы видеть перемещение блока 121 хранения тонера в направлении вперед по оси Y. В данном случае, рабочий 401 может легко и одновременно опознать правые выступающие части 304, 302 и 303 и левые выступающие части 305 и 301.
Выступающая часть 303 (302) и выступающая часть 301 служат направляющими для определения поворотной угловой позиции блока 121 хранения тонера, видимого с точки обзора на Фиг.10A-10B. Необходимо действие по совмещению позиции с позицией не указанной здесь детали принимающей стороны на боку устройства 100 формирования изображения. В соответствии с данным примерным вариантом осуществления, как изображено на Фиг.10A-10B, выступающая часть 303 (302) и выступающая часть 301 настолько легко опознаются визуально, что направление блока 121 хранения тонера может быть легко определено, а действие по совмещению может быть легко выполнено, по сравнению со случаем, когда только одна из выступающих частей может быть видна, а остальные не могут быть видны.
Соответственно, возможно получить такие преимущества, как облегчение нагрузки на рабочего при работе по замене блока хранения тонера новым, правильная установка блока хранения тонера, предотвращение повреждения блока хранения тонера и/или устройства формирования изображения при установке блока хранения тонера и предотвращение случайной установки блока хранения тонера в неверном направлении.
Кроме того, при конструкции, в которой выступающая часть 303 (302) расположена в правой верхней угловой позиции, а выступающая часть 301 расположена в нижней левой угловой позиции в проекции со стороны захватываемой части 203, может быть сэкономлено место в том случае, если блоки 121-124 хранения тонера будут расположены и установлены в устройстве 100 формирования изображения. Этот пункт будет описан ниже.
Фиг.11 является схематическим видом, изображающим состояние, при котором блоки хранения тонера установлены в устройстве формирования изображения. Конструкция устройства формирования изображения не иллюстрирована на Фиг.11. Как изображено на Фиг.11, в блоке 121 хранения тонера, выступающая часть 303 (302) служащая направляющей, когда устанавливается блок 121 хранения тонера, расположена в правой верхней угловой позиции, а выступающая часть 301 расположена в левой нижней угловой позиции. В соответствии с данной конструкцией, задние части выступающей части 303 (302) и выступающей части 301 в направлении оси X расположены таким образом, чтобы не превышать ширину блока 121 хранения тонера. Таким образом, если блок хранения тонера, установленный в устройстве 100 формировани



