Система для направленного бурения
Иллюстрации
Показать всеИзобретение относится к нефтегазовой промышленности, а именно к системе, предназначенной для направленного бурения. Содержит компоновку (18) низа буровой колонны, включающую в себя верхнюю секцию (22) и секцию (24) управления. Через верхнюю секцию проходит вертлюг (26), позволяющий регулировку ориентации оси секции (24) управления относительно оси верхней секции (22). Скважинный двигатель выполнен с возможностью приведения во вращение секции (24) управления относительно верхней секции (22) через вертлюг. На одной из секции (24) управления и верхней секции (22) смонтировано множество приводов (34), управляющих ориентацией оси секции (24) управления относительно оси верхней секции (22). Между приводами (34) и другой из секции (24) управления и верхней секции (22) обеспечен высокоскоростной скользящий контакт. Достигнуто создание системы направленного бурения, имеющей простую и удобную конфигурацию. 21 з.п. ф-лы, 5 ил.
Реферат
Настоящее изобретение относится к системе для направленного бурения для использования в формациях скважин, например для последующего использования при извлечении углеводородов.
Патент Великобритании 2399121 описывает систему для направленного бурения, в которой компоновка низа буровой колонны включает в себя вертлюг или карданный шарнир, расположенный между ее верхней секцией и секцией управления. Скважинный двигатель расположен в верхней секции и приводит во вращение буровое долото, расположенное на секции управления. На верхней секции размещен набор поршней, способных регулировать угол оси секции управления относительно оси верхней секции.
Целью настоящего изобретения является создание системы для направленного бурения, имеющей простую и удобную конфигурацию.
В соответствии с настоящим изобретением создана система для направленного бурения, содержащая компоновку низа буровой колонны, включающую в себя верхнюю секцию и секцию управления, вертлюг, позволяющий регулировку ориентации оси секции управления относительно оси верхней секции, скважинный двигатель, приводящий во вращение секцию управления относительно верхней секции, множество приводов, управляющих ориентацией оси секции управления относительно оси верхней секции, смонтированных на одной из секции управления и верхней секции и предназначенных для воздействия на другую из секции управления и верхней секции.
Высокоскоростной скользящий контакт может быть образован между приводами и упомянутой одной из секции управления и верхней секции.
Высокоскоростной скользящий контакт может образовывать гидродинамический подшипник, препятствующий истиранию приводов и/или контактирующих поверхностей.
Приводы предпочтительно содержат поршни, например, предназначенные для приведения в действие с помощью бурового раствора. Буровой раствор может быть доставлен через поршни для смазки контакта между поршнями и упомянутой другой из секции управления и верхней секции.
В качестве альтернативы узел роликового подшипника может быть размещен между приводами и упомянутой другой из секции управления и верхней секции. Упругий материал может быть включен в узел подшипника для компенсации углового перемещения направляемого сегмента относительно верхней секции вокруг вертлюга.
Скважинный двигатель может быть различных типов. Например, он может содержать двигатель с приводом от бурового раствора или двигатель с электроприводом.
Далее, изобретение будет описано, для примера, со ссылкой на прилагаемые чертежи, на которых изображено следующее:
фиг.1 иллюстрирует буровую вышку, включающую в себя систему для направленного бурения в соответствии с одним вариантом осуществления изобретения;
фиг.2 является видом, иллюстрирующим систему, показанную на фиг.1;
фиг.3, фиг.4, фиг.5 иллюстрируют альтернативные варианты системы согласно изобретению.
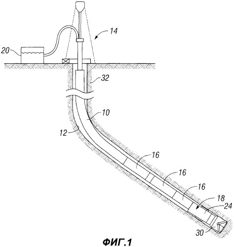
Буровая вышка, проиллюстрированная на фиг.1, содержит буровую колонну 10, поддерживаемую в скважине 12 с помощью расположенного на поверхности оборудования 14. Буровая колонна 10 несет набор стабилизаторов 16 и другие компоненты и ее нижний конец подсоединен к и поддерживает компоновку 18 низа буровой колонны. Расположенное на поверхности оборудование 14 предназначено для вращения буровой колонны 10 и закрепленных на ней компонентов и для подачи бурового раствора 20 по буровой колонне к расположенным в скважине компонентам.
Компоновка 18 низа буровой колонны проиллюстрирована более подробно на фиг.2 и содержит верхнюю секцию 22 и секцию 24 управления. Карданный шарнир 26 подсоединяет секцию 24 управления к верхней секции 22. Карданный шарнир 26 позволяет регулировать ориентацию секции 24 управления в диапазоне углов, по меньшей мере, +/-2° относительно верхней секции 22. Верхняя секция 22 содержит в себе скважинный двигатель (не показан). Двигатель может быть различных типов. Например, он может быть двигателем с приводом от бурового раствора, турбиной или двигателем с электроприводом. Ротор двигателя соединен с выходным валом 28, который проходит через, вращается относительно верхней секции 22 и передает вращение от скважинного двигателя через карданный шарнир 26 к секции 24 управления. Буровое долото 30 подсоединено к секции 24 управления. Действие скважинного двигателя приводит к вращению бурового долота 30 относительно верхней секции 22.
При использовании верхняя секция 22 закреплена в буровой колонне 10 так, чтобы перемещаться вместе с ней. Буровая система действует так, что нагрузка на долото прилагается через буровую колонну 10 к верхней секции 22, передается через карданный шарнир 26 к секции 24 управления и к буровому долоту 30. Приложение нагрузки на долото в сочетании с вращением бурового долота 30 вследствие действия скважинного двигателя и вращения буровой колонны 10 приводит к зацеплению, соскабливанию и прочему удалению буровым долотом 30 материала из формации 32, в которой формируется скважина 12, таким образом увеличивая длину скважины 12.
Множество приводов 34 смонтировано на верхней секции 22 и предназначено для контакта с частью секции 24 управления и для управления положением или ориентацией оси секции 24 управления относительно оси верхней секции 22. Поскольку приводы 34 смонтированы на части верхней секции 22, способной вращаться вместе с буровой колонной 10, и они упираются в часть секции 24 управления, приводимой в действие скважинным двигателем, существует высокоскоростной скользящий контакт между приводами 34 и секцией 24 управления. Высокоскоростной скользящий контакт приводит к образованию гидродинамического подшипника, который служит для минимизации износа приводов 34 и связанных с ними частей секции 24 управления.
Приводы 34 имеют форму набора поршней, которые снабжаются текучей средой под давлением по подающим линиям 36, расположенным в верхней секции 22. Подача текучей среды по подающим линиям 36 предпочтительно управляется с использованием, например, шарового клапана или набора бистабильных клапанов, которые могут быть расположены выше или ниже скважинного двигателя.
Несмотря на то, что это не проиллюстрировано, компоновка 18 низа буровой колонны включает в себя канал для подачи бурового раствора через компоновку 18 низа буровой колонны к буровому долоту 30 для прохождения через каналы или отверстия в нем. Например, это может быть достигнуто путем подачи текучей среды по каналу, сформированному в валу 28, и через гибкую трубу, которая проходит через карданный шарнир 26 к секции 24 управления. Буровой раствор, подаваемый таким образом, служит для вымывания обломков формации из бурового долота 30, при этом буровой раствор и обломочный материал выносятся по скважине 12 по кольцевому зазору, сформированному между буровой колонной 10 и стенкой скважины 12, на поверхность или другое подходящее место, удаляя тем самым обломочный материал от бурового долота 30.
Направленное бурение может быть обеспечено использованием различных решений, как описано в патенте Великобритании 2399121. В одной технике приводы 34 управляются так, чтобы удерживать переднюю грань бурового долота 30 в требуемой ориентации или направлять в нужном направлении, в то время как двигатель приводит буровое долото 30 во вращение и нагрузка на долото прикладывается, как это было описано выше. Поскольку по мере выполнения операции буровая колонна 10 может вращаться непрерывно или с перерывами, приводы 34 требуют непрерывной или периодической регулировки для удержания секции 24 управления в требуемой ориентации. Там, где требуется относительно прямая секция скважины, приводы 34 могут работать так, чтобы удерживать секцию 24 управления и верхнюю секцию 22 практически соосно относительно друг друга. Однако даже в этом режиме работы есть вероятность, что сформированная секция скважины будет отклоняться от абсолютно прямого направления, например в силу того, что буровое долото 30 пересекает слои с различными типами материала формации.
Как и в случае с компоновками, описанными в патенте Великобритании 2399121, стабилизаторы могут быть смонтированы или связаны с верхней секцией и/или с секцией управления, положение стабилизаторов определяет до некоторой степени типы средств направления, которые могут быть использованы. Там, где стабилизатор обеспечен на секции управления, он может быть расположен выше на или ниже расположения центра карданного шарнира.
Угловые датчики (не показаны) могут быть использованы для обеспечения округления углов секции 24 управления относительно верхней секции 22 и тем самым получения измерений направления бурового долота. Эта информация может быть использована в цикле обратной связи, управляющем работой системы. Угловые датчики могут быть индуктивного типа, например содержащие катушки, смонтированные на секции 24 управления, и некомпланарные датчики, расположенные на верхней секции или, наоборот.
Кабель или провод может проходить по всей длине ротора и вала 28 для осуществления электрического соединения, например, с датчиками, расположенными на буровом долоте. Контактные кольца или индуктивная связь могут быть обеспечены для осуществления соединения с кабелем или проводом. Кабель или провод может быть использован для питания датчиков и/или передачи от них сигналов.
Несмотря на то, что компоновка, проиллюстрированная и описанная выше, использует приводы 34 в виде поршней, расположенных над карданным шарниром 26, существует возможность расположения некоторых или всех приводов 34 ниже положения карданного шарнира 26 и/или на другом расстоянии от карданного шарнира 26. Располагая приводы 34 в шахматном порядке, можно увеличить число приводов 34 без увеличения диаметра компоновки 18 низа буровой колонны.
В другом варианте осуществления вместо установки приводов 34 на части верхней секции 22, вращаемой вместе с буровой колонной 10, приводы 34 могут быть смонтированы на секции 24 управления и могут вращаться вместе с ней, при этом при действии приводы 34 упираются в части верхней секции 22.
Фиг.3 иллюстрирует вариант, в котором приводы 34 имеют вид поршней и обеспечивают каналы 40, по которым некоторое количество текучей среды, используемой для управления работой приводов 34, доставляется к точкам контакта с секцией 24 управления, смазывая тем самым высокоскоростной контакт между ними и улучшая эффект гидродинамического подшипника.
Фиг.4 иллюстрирует вариант, в котором высокоскоростной скользящий подшипник заменен на роликовый подшипник 42, включающий в себя внутреннее кольцо 44, поддерживаемое приводами 34, и внешнее кольцо 46, смонтированное на секции 24 управления. Элемент 48 из упругого материала может быть также введен в подшипник 42 для компенсации углового перемещения секции 24 управления относительно карданного шарнира 26.
В каждой компоновке, описанной выше, вместо использования поршней в качестве приводов 34 могут быть использованы узлы 50 приводных винтов, как показано на фиг.5. Узлы 50, каждый, включают в себя винт 52, вращаемый двигателем 54 и сцепленный с резьбовой муфтой 56 так, что действие двигателя 54 обеспечивает выдвижение или втягивание винта 52. Роликовые подшипники или скользящие подшипники могут быть использованы, как это описано выше.
Несмотря на то, что узлы приводных винтов вероятнее всего имеют более низкую скорость реакции по сравнению с компоновкой с гидравлическим приводом, там, где они смонтированы на верхнем корпусе и используются в компоновках, в которых верхний корпус вращается очень медленно, скорость реакции может быть адекватной, и энергия, используемая для регулировки ориентации секции управления, может быть очень низкой. Такие компоновки могут быть особенно выгодными в высокотемпературных приложениях.
Другая возможность включает в себя использование гидравлического масла для перемещения поршней приводов, при этом масло подается, например, с помощью маломощного насоса.
Во всех компоновках, описанных выше, путем расположения приводов на верхнем корпусе их активация требуется только при нормальной работе, время от времени при вращении верхнего корпуса, а не со скоростью бурового долота, и таким образом может быть достигнута существенная экономия энергии.
Следует понимать, что широкий диапазон модификаций и изменений может быть сделан по отношению к компоновке, описанной выше, без выхода за пределы объема изобретения.
1. Система направленного бурения, содержащая компоновку низа буровой колонны, включающую в себя верхнюю секцию и секцию управления, вертлюг, позволяющий регулировку ориентации оси секции управления относительно оси верхней секции, скважинный двигатель, приводящий во вращение секцию управления относительно верхней секции, и множество приводов, управляющих ориентацией оси секции управления относительно оси верхней секции, смонтированных на одной из секции управления и верхней секции и предназначенных для воздействия на другую из секции управления и верхней секции.
2. Система по п.1, в которой высокоскоростной скользящий контакт образован между приводами и другой из секции управления и верхней секции.
3. Система по п.1, которая содержит роликовый подшипниковый узел, расположенный между приводами и другой из секции управления и верхней секции.
4. Система по п.3, в которой роликовый подшипниковый узел включает в себя элемент из упругого материала.
5. Система по пп.1-4, в которой приводы содержат поршни.
6. Система по п.5, в которой поршни образуют каналы.
7. Система по п.1, в которой приводы включают в себя узлы приводных винтов.
8. Система по п.1, в которой приводы взаимно расположены на одинаковом расстоянии от вертлюга.
9. Система по п.1, в которой приводы расположены на двух или более расстояниях от вертлюга.
10. Система по п.1, в которой, по меньшей мере, один привод расположен с одной стороны вертлюга и, по меньшей мере, один привод расположен с другой стороны вертлюга.
11. Система по п.1, в которой вертлюг приспособлен передавать нагрузку на долото на секцию управления.
12. Система по п.1, дополнительно содержащая гибкую трубу, предназначенную для подачи текучей среды через вертлюг к секции управления.
13. Система по п.5, дополнительно содержащая клапан, предназначенный для управления подачей текучей среды к приводам.
14. Система по п.13, в которой клапан расположен над двигателем.
15. Система по п.13, в которой клапан расположен под двигателем.
16. Система по п.13, в которой клапан является шаровым клапаном.
17. Система по п.13, в которой клапан является, по меньшей мере, одним бистабильным клапаном.
18. Система по п.1, в которой двигатель содержит один из скважинного двигателя, турбины и двигателя с электроприводом.
19. Система по п.1, дополнительно содержащая угловые датчики, способные регистрировать угол секции управления относительно верхней секции.
20. Система по п.19, в которой угловой датчик является датчиком индуктивного типа.
21. Система по п.1, дополнительно содержащая стабилизатор, смонтированный на секции управления.
22. Система по п.1, дополнительно содержащая электрический проводник, проходящий через систему.
 
                         
                            


