Холодильный аппарат с выдвижной емкостью для охлаждаемых продуктов

Иллюстрации

Показать все

Изобретение относится к холодильному аппарату с холодильной камерой, в которой емкость для охлаждаемых продуктов установлена с возможностью перемещения с помощью телескопических выдвижных устройств, и направлено на наилучшую рациональность использования пространства холодильной камеры. Холодильный аппарат содержит холодильную камеру, в которой емкость для охлаждаемых продуктов установлена с возможностью перемещения с помощью телескопических выдвижных устройств. Емкость для охлаждаемых продуктов удерживается на каждом телескопическом выдвижном устройстве с помощью адаптера. Контактная поверхность адаптера, поддерживающая емкость для охлаждаемых продуктов, расположена по высоте над телескопическими выдвижными устройствами. Контактная поверхность адаптера проходит частично перпендикулярно над телескопическим выдвижным устройством, на котором укреплен адаптер, или контактная поверхность адаптера проходит частично перпендикулярно над промежуточным пространством между емкостью для охлаждаемых продуктов и телескопическим выдвижным устройством. 14 з.п. ф-лы, 10 ил.

Реферат

Область техники

Настоящее изобретение относится к холодильному аппарату с холодильной камерой, в которой емкость для охлаждаемых продуктов установлена с возможностью перемещения с помощью телескопических выдвижных устройств.

Уровень техники

Общеизвестно использование в холодильных аппаратах телескопических выдвижных устройств для подвижной навески емкостей для охлаждаемых продуктов, таких как коробки, поддоны и подобные емкости. В общем случае такое телескопическое выдвижное устройство содержит две входящие друг в друга рейки, которые могут перемещаться относительно друг друга в продольном направлении, причем укрепленный на первой рейке ролик обкатывается по другой рейке.

Для обеспечения линейного направления реек они должны опираться друг на друга, по меньшей мере, в двух точках, отстоящих друг от друга в продольном направлении. Расстояние между этими двумя точками становится тем меньше, чем дальше рейки выдвигаются одна из другой, так что устойчивость телескопического выдвижного устройства ухудшается по мере того, как емкость для охлаждаемых продуктов все дальше выдвигается из холодильной камеры холодильного аппарата. Поэтому необходимо ограничивать подвижность реек относительно друг друга таким образом, чтобы опорные точки не могли оказаться слишком близко друг к другу. Соответственно, свободный ход реек, как правило, значительно меньше их длины. Из-за этого также невозможно с помощью простого телескопического выдвижного устройства, состоящего из двух реек, обеспечить такую степень подвижности емкости для охлаждаемых продуктов, чтобы можно было полностью выдвинуть ее из холодильной камеры.

Для достижения этой цели требуются телескопические выдвижные устройства, по меньшей мере, с тремя рейками, подвижными относительно друг друга. Они значительно дороже устройств с двумя рейками. Поэтому для изготовителя, который намерен предлагать к продаже холодильные аппараты в широком диапазоне цен и оснащения, невыгодно использовать телескопические выдвижные устройства с тремя рейками во всех моделях. Однако в том случае, когда в гамме моделей изготовителя предусматриваются выдвижные устройства как с двумя, так с тремя и с большим числом реек, возникает проблема в том, что различные типы телескопических выдвижных устройств требуют различного конструктивного пространства. Поскольку габаритные размеры холодильных аппаратов предварительно заданы шкалой типоразмеров, а толщина стенок изменяется мало, потребность в конструктивном пространстве для различных типов телескопических выдвижных устройств должна быть учтена при проектировании емкостей для охлаждаемых продуктов. Это означает что для различных моделей холодильных аппаратов, отличающихся видом используемых выдвижных устройств, нужны различные емкости. Соответственно, эти емкости для охлаждаемых продуктов должны изготавливаться во множестве типов сравнительно небольшими партиями, что повышает стоимость изготовления.

Раскрытие изобретения

Задача, на решение которой направлено настоящее изобретение, заключается в снижении до минимума числа компонентов, которые требуются для изготовления различных моделей холодильных аппаратов, как с полностью выдвижными емкостями, так и с частично выдвижными емкостями для охлаждаемых продуктов.

В соответствии с изобретением решение поставленной задачи достигается за счет создания холодильного аппарата, содержащего холодильную камеру, в которой емкость для охлаждаемых продуктов установлена с возможностью перемещения с помощью двух телескопических выдвижных устройств, причем емкость для охлаждаемых продуктов удерживается на каждом телескопическом выдвижном устройстве с помощью, по меньшей мере, одного адаптера (т.е. стыковочного устройства или переходника), а контактная поверхность адаптера, поддерживающая емкость для охлаждаемых продуктов, расположена по высоте над телескопическими выдвижными устройствами. За счет того, что с помощью адаптеров контактная поверхность расположена выше телескопических выдвижных устройств, она может быть позиционирована в направлении ширины корпуса холодильного аппарата по существу свободно и, прежде всего, независимо от ширины используемых телескопических выдвижных устройств. Это обеспечивает возможность использования унифицированных емкостей для охлаждаемых продуктов в комбинации с выдвижными телескопическими устройствами различной ширины.

Наибольшая возможная ширина емкостей для охлаждаемых продуктов и, соответственно, рациональное использование пространства холодильной камеры достигается, когда контактные поверхности адаптеров с обеих сторон от емкости для охлаждаемых продуктов разнесены как можно дальше друг от друга, в особенности когда они проходят, по меньшей мере, частично перпендикулярно над телескопическими выдвижными устройствами, на которых укреплены соответствующие адаптеры.

В том случае, когда используются узкие телескопические выдвижные устройства, в частности только с двумя рейками, контактная поверхность может также проходить перпендикулярно над промежуточным пространством между телескопическим выдвижным устройством и емкостью для охлаждаемых продуктов.

Предпочтительно ширина этого промежуточного пространства равна, по меньшей мере, ширине узкого телескопического выдвижного устройства, так что при необходимости в этом промежуточном пространстве может быть установлено дополнительное телескопическое выдвижное устройство такого же типа, объединенное в ряд с ранее установленным телескопическим выдвижным устройством. За счет этого достигается увеличение свободного хода емкости для охлаждаемых продуктов.

В предпочтительном примере осуществления адаптер выполнен в форме угольника с вертикальным телом, укрепленным сбоку на соответствующем телескопическом выдвижном устройстве, и горизонтальной закраиной, содержащей контактную поверхность.

Для улучшения устойчивости горизонтальная закраина может опираться непосредственно на верхнюю сторону телескопического выдвижного устройства.

Для облегчения установки емкости для охлаждаемых продуктов в холодильном аппарате адаптеры предпочтительно снабжены фиксирующими элементами для фиксации на соответствующем ответном фиксирующем элементе емкости для охлаждаемых продуктов.

В предпочтительном примере выполнения каждый адаптер снабжен передним и задним фиксирующими элементами, причем задний фиксирующий элемент фиксируется на ответном фиксирующем элементе первой емкости для охлаждаемых продуктов путем смещения по существу параллельно направлению перемещения первой емкости для охлаждаемых продуктов, а передний фиксирующий элемент фиксируется на ответном фиксирующем элементе первой емкости для охлаждаемых продуктов путем смещения по существу перпендикулярно направлению перемещения первой емкости для охлаждаемых продуктов. Таким образом, передний фиксирующий элемент препятствует выводу из фиксации, когда емкость тянут только в горизонтальном направлении для выдвижения из холодильной камеры. Установка емкости для охлаждаемых продуктов может осуществляться простым образом путем того, что вначале заднюю часть емкости, удерживаемой в наклонном положении, сдвигают горизонтально, чтобы привести во взаимодействие задние фиксирующие элементы, а затем переднюю часть емкости опускают, чтобы зафиксировать также передние фиксирующие элементы.

Для этой цели в предпочтительном примере осуществления задний фиксирующий элемент адаптеров выполнен в виде жесткой головки с подрезом, а ответный ему фиксирующий элемент емкости для охлаждаемых продуктов выполнен в виде прорези, имеющей открытый конец в направлении перемещения.

В отличие от него передний фиксирующий элемент предпочтительно выполнен в виде головки, упруго деформируемой при фиксации и выводе из фиксации с ответным фиксирующим элементом.

Эта головка может быть снабжена упругой в направлении перемещения полкой, которая в зафиксированном состоянии удерживает ответный фиксирующий элемент емкости для охлаждаемых продуктов прижатым к упору для того, чтобы жестко, без свободного хода удерживать емкость на телескопическом выдвижном устройстве. В том случае, когда ответный фиксирующий элемент емкости представляет собой отверстие, в которое входит головка, упор может быть образован краем головки, дальним от этой упругой полки головки.

Предпочтительно передний и задний фиксирующие элементы образованы раздельно соответственно на переднем или заднем адаптере каждого телескопического выдвижного устройства. Это раздельное выполнение позволяет использовать одинаковые адаптеры как на правом, так и на левом телескопическом выдвижном устройстве или также на телескопических выдвижных устройствах различной длины.

В этом случае в предпочтительном примере выполнения передний и задний адаптеры имеют каждый плоскость симметрии, перпендикулярную направлению перемещения емкости для охлаждаемых продуктов. При этом два передних адаптера, установленные на правом и левом телескопических выдвижных устройствах, или два задних адаптера, установленные на правом и левом телескопических выдвижных устройствах, расположены напротив друг друга в зеркальной симметрии.

Предпочтительно свободный ход двух подвижных относительно друг друга реек каждого телескопического выдвижного устройства ограничен до величины, составляющей меньше двух третей их длины. В принципе может достигаться и больший свободный ход, однако тогда моменты сил, создаваемые в максимально выдвинутом положении реек, потребовали бы повышенной прочности реек, а следовательно, большего расхода материала и повышения стоимости. В рамках настоящего изобретения не требуется такого увеличенного свободного хода, поскольку для его достижения предпочтительно используют два телескопических выдвижных устройства, объединенных в ряд.

В одном и том же холодильном аппарате могут быть скомбинированы емкость для охлаждаемых продуктов, удерживаемая одиночными телескопическими выдвижными устройствами, и емкость, удерживаемая объединенными в ряд телескопическими выдвижными устройствами.

В таком случае предпочтительно конструкция и расположение ответных фиксирующих элементов двух емкостей для охлаждаемых продуктов одинаковы. За счет этого обеспечивается возможность, например, устанавливать, по меньшей мере, одну из двух емкостей на место другой емкости.

Для упрощения изготовления в предпочтительном примере каждая емкость для охлаждаемых продуктов выполнена сборной из основного корпуса и двух укрепленных на основном корпусе опорных элементов, на которых образованы ответные фиксирующие элементы. Это создает особенную возможность формования основного корпуса из листа, в то время как опорные элементы могут быть изготовлены, например, способом литья под давлением.

Для направления емкости для охлаждаемых продуктов с малыми зазорами две рейки каждого телескопического выдвижного устройства предпочтительно направляются с возможностью относительного перемещения с помощью линейных шариковых опор.

Краткий перечень чертежей

Далее со ссылками на прилагаемые чертежи будут подробно описаны примеры осуществления изобретения, его дополнительные особенности и преимущества. На чертежах:

фиг.1 изображает в перспективе холодильный аппарат с использованием изобретения,

фиг.2 изображает в перспективе две емкости для охлаждаемых продуктов холодильного аппарата по фиг.1,

фиг.3 изображает в перспективе левое телескопическое выдвижное устройство нижней емкости для охлаждаемых продуктов,

фиг.4 изображает участок рейки телескопического выдвижного устройства и адаптера, иллюстрируя крепление адаптера на рейке,

фиг.5 изображает телескопическое выдвижное устройство по фиг.3 с установленным на нем опорным элементом,

фиг.6 изображает в разрезе телескопическое выдвижное устройство по фиг.3 и 5 и его окружение на высоте адаптера,

фиг.7 изображает в перспективе комбинированное телескопическое выдвижное устройство для верхней емкости по фиг.2,

фиг.8 изображает комбинированное телескопическое выдвижное устройство по фиг.7 с установленным на нем опорным элементом на виде в перспективе со стороны, обращенной к стенке корпуса,

фиг.9 изображает комбинированное телескопическое выдвижное устройство с установленным на нем опорным элементом на виде в перспективе со стороны холодильной камеры холодильного аппарата,

фиг.10 изображает в разрезе комбинированное телескопическое выдвижное устройство по фиг.5 и его окружение на высоте адаптера.

Осуществление изобретения

На фиг.1 показан в перспективе холодильный аппарат с корпусом 1 и дверью 2. В холодильной камере 3 внутри холодильного аппарата помещены две емкости 4, 5 для охлаждаемых продуктов, показанные в данном примере выполнения в виде выдвижных ящиков. Выдвижные ящики 4, 5 удерживаются с возможностью перемещения телескопическими выдвижными устройствами, которые навешены на боковые стенки корпуса 1 и не видны на фиг.1. Верхний выдвижной ящик 4 имеет меньшую глубину, чем нижний выдвижной ящик 5, для организации места для размещения дверной полки 6, укрепленной на двери 2.

В верхней области холодильной камеры 3, которая оставлена пустой на чертеже, могут быть размещены другие устройства для хранения охлаждаемых продуктов. В зависимости от потребности они могут быть выполнены в виде дополнительных выдвижных ящиков, стационарных или выдвижных поддонов.

На фиг.2 показаны два выдвижных ящика 4, 5 на виде в перспективе сзади. Каждый выдвижной ящик 4, 5 представляет собой коробку, изготовленную из перфорированного листа, причем обращенная к двери передняя сторона коробки облицована панелью 7 из синтетического материала. В выдвижном ящике 4 панель 7 проходит по всей высоте, а в выдвижном ящике 5 она занимает только часть высоты, так что между этой панелью 7 и верхним выдвижным ящиком 4 образовано пространство для захвата, как показано на фиг.1.

Боковые стенки коробок имеют вертикальные верхние и нижние участки 8 и 9 и промежуточные наклонные уступы 10, проходящие сверху вниз навстречу друг другу. На уступах 10 укреплены опорные элементы 11, изготовленные из синтетического материала способом литья под давлением и более подробно показанные на фиг.4, 8 и 9. Опорные элементы 11 опираются на телескопические выдвижные устройства 12 или 13 с помощью адаптеров (т.е. стыковочных устройств или переходников).

Каждое из телескопических выдвижных устройств 13, на которые опирается нижний выдвижной ящик 5, содержит две входящие друг в друга планки или рейки. Свободный ход этих реек относительно друг друга составляет от 50 до 80% их длины. В показанном примере выполнения этот свободный ход равен глубине верхнего выдвижного ящика 4, так что выдвижной ящик 5 в своем выдвинутом до упора положении полностью выдвинут из-под верхнего выдвижного ящика 4 со свободным доступом к нему по всей верхней стороне.

На фиг.3 одно из телескопических выдвижных устройств 13 нижнего выдвижного ящика 5, а именно левое выдвижное устройство 13, показано на виде в перспективе, если смотреть внутрь холодильной камеры 3. Выдвижное устройство содержит две рейки 14, 15, изготовленные гнутьем из стального листа. Наружная рейка 14 имеет по существу С-образное поперечное сечение, а внутренняя рейка 15 входит в полое пространство наружной рейки 14. Лежащие напротив друг друга полки реек 14, 15 ограничивают два цилиндрических канала 16. В этих каналах помещено множество не показанных на чертеже шариков, с помощью которых обеспечивается легкое направление относительного перемещения реек 14, 15 с малым зазором. Палец 17 выступает от переднего конца наружной рейки 14 в промежуточное пространство между рейками 14, 15. Его контакт с укрепленным на внутренней рейке 15 резиновым амортизатором 18 определяет границу свободного относительного хода реек 14, 15.

Передний адаптер 19 (т.е. стыковочное устройство или переходник) и задний адаптер 20 из синтетического материала укреплены на наружной рейке 14. Каждый адаптер 19, 20 имеет угловую форму и выполнен с вертикальным телом 21 по существу в форме усеченной призмы и горизонтальной закраиной 22, прилегающей сверху к верхней полке рейки 14.

От верхней стороны 56 адаптера 19 или 20 выступает фиксирующий элемент 23 или 24. Фиксирующий элемент 23 переднего адаптера 19 выполнен приблизительно Т-образным, причем концы верхней поперечины сформованы таким образом, что образуют упругие полки 25, которые отходят вначале вниз, затем расходятся друг от друга и затем вновь сходятся друг к другу. Фиксирующий элемент 24 заднего адаптера 20 выполнен в виде более жесткого стержня, который на своем верхнем конце снабжен направленным вперед выступом 26.

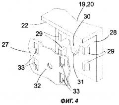
Фиг.4 иллюстрирует закрепление адаптеров 19, 20 на рейке 14. На чертеже показаны отдельно участок 27 рейки 14 и обращенная к нему сторона адаптера 19 или 20, причем тип крепления обоих адаптеров 19, 20 одинаков. Обращенная к участку 27 стенка 28 адаптера снабжена четырьмя жесткими фиксирующими крюками 29 и упругим язычком 30, который образован путем прорезки в стенке U-образной или V-образной щели, причем от острия язычка 30 выступает шпонка 31. Напротив этих элементов расположены выполненные в рейке 14 круглое отверстие 32 и четыре многоугольных отверстия 33 в форме прямоугольников, нижние кромки которого продолжены короткими прорезями. Для закрепления адаптера 19 или 20 на рейке 14 фиксирующие крюки 29 вводят в многоугольные отверстия 33. При этом вначале шпонка 31 язычка 30 упирается в сплошную стенку рейки 14 и отжимается назад внутрь полого тела адаптера. Когда фиксирующие крюки 29 полностью введены в отверстия 33 и стенка 28 адаптера прилегает к рейке 14, адаптер может быть сдвинут вниз, так что шейки фиксирующих крюков 29 задвигаются в прорези отверстий 33, а горизонтальная закраина 22 адаптера ложится на верхнюю полку рейки 14. При этом шпонка 31 оказывается напротив круглого отверстия 32 и защелкивается в нем. После этой фиксации адаптер может быть снят с рейки 14 только путем того, что шпонку 31 с помощью инструмента выдавливают из отверстия 32 и затем поднимают адаптер.

На фиг.5 показано в перспективе телескопическое выдвижное устройство 13 по фиг.3 с установленным на нем опорным элементом 11. Опорный элемент 11 содержит продольное плоское основание 34, которое опирается на верхние стороны 56 адаптеров 19, 20. На переднем конце основания 34 образовано прямоугольное отверстие 35, через которое проходит насквозь и выступает фиксирующий элемент 23 адаптера 19. Участки упругих полок 25 фиксирующего элемента 23, сходящиеся вниз друг к другу, прижимаются к передней и задней кромке отверстия 35 и удерживают основание 34 относительно верхней стороны 56 адаптера 19 без зазора свободного хода. Стержень 24 заднего адаптера 20 входит в открытую назад прорезь 36 основания 34, при этом основание 34 опирается на верхнюю сторону 56 адаптера под действием собственного веса.

На обоих концах основания 34 над отверстием 35 или над прорезью 36 образованы опоры для коробки выдвижного ящика 5. Опора содержит наклонную планку 37, соединенную на своем нижнем краю с кромкой основания 34, обращенной к коробке. На верхнем краю наклонная планка 37 соединена с двумя отходящими от основания 34 вертикальными стойками 38 с образованием U-образного профильного участка 39. В середине планки 37 сформовано неглубокое углубление 40 с центральной проточкой 41, которая расширяется к задней стороне планки 37 до шестиугольного поперечного сечения.

Фиг.6 изображает в разрезе телескопическое выдвижное устройство и его окружение на высоте адаптера 19. Как видно на этом чертеже, проточка 41 планки 37 служит для того, чтобы с помощью болта 42 и гайки 43, которая входит в шестиугольное гнездо проточки, закреплять уступ 10 коробки. Лапка 44, выполненная путем вырубки на верхнем участке 8 боковой стенки коробки, опирается на верхнюю кромку U-образного профильного участка 39.

На этом чертеже также видны уже упомянутые шарики 45, помещенные в каналах 16 между рейками 14, 15 и при необходимости установленные в направляющем сепараторе 46.

На чертеже также видно, что между наружной рейкой 14 и обращенным к нему участком 9 стенки коробки имеется промежуточное пространство 47, частично занятое полым вертикальным телом 21 адаптера 19 и 20. Ширина этого промежуточного пространства 47 больше ширины телескопического выдвижного устройства 13, так что в зависимости от потребности можно разместить в нем второе телескопическое выдвижное устройство без необходимости изменения размеров выдвижного ящика 5.

На фиг.2 показано, что такая система сдвоенных телескопических выдвижных устройств предусмотрена на каждой стороне верхнего выдвижного ящика 4. Эти сдвоенные телескопические выдвижные устройства обеспечивают для выдвижного ящика 4 свободный ход величиной больше его глубины, так что он может быть выдвинут полностью из-под расположенной над ним не показанной емкости для охлаждаемых продуктов такой же глубины.

На фиг.7 показаны на виде в перспективе два объединенных в один ряд телескопических выдвижных устройства 48, 49, расположенные на правой стороне, если смотреть внутрь холодильной камеры 3. Конструкция телескопических выдвижных устройств 48, 49 с внутренней рейкой 50 или 52 и наружной рейкой 51 или 53, которые направляются с возможностью относительного перемещения с помощью шариков 45, аналогична конструкции телескопического выдвижного устройства 13 и вновь не описывается. Рейки 51, 52 жестко соединены друг с другом заклепками 58, показанными на фиг.10. При этом одна или другая заклепка одновременно может служить упором для ограничения свободного хода выдвижных устройств 48, 49.

Передний и задний адаптеры 54, 55 зафиксированы на рейке 53 аналогично примеру выполнения по фиг.4. Вместо широкого полого вертикального тела в адаптерах 19, 20 здесь предусмотрены только более узкое пластинчатое вертикальное тело, на видимой стороне которого видны упругие язычки 30 и окна 57, расположенные напротив фиксирующих крюков 29. Фиксирующие элементы 23, 24 на адаптерах 54, 55 выполнены такими же, как на адаптерах 19, 20. Соответственно, как это показано на фиг.8 и 9, на адаптерах 54, 55 могут быть установлены аналогичные опорные элементы 11, как это было описано применительно к примеру выполнения по фиг.5.

На фиг.8 показаны телескопические выдвижные устройства 48, 49 и опорный элемент 11 на виде в перспективе со стороны, обращенной к боковой стенке корпуса 1. На чертеже видны, в частности, шестиугольные расширения проточек 41 и прорезь 36 в основании 34 опорного элемента 11, открытая назад, к задней стенке корпуса 1. Прорезь имеет кромки, расходящиеся к заднему концу основания 34 для облегчения ввода прорези на фиксирующий элемент 24 заднего адаптера.

Как показано на фиг.10, промежуточное пространство 47 сбоку от участка 9 стенки коробки практически полностью заполнено дополнительным телескопическим выдвижным устройством 49 и пластинчатыми вертикальными телами адаптеров 54, 55. В адаптерах 19 и 20 фиксирующие элементы 23, 24 находятся по существу вертикально на продолжении вертикальных тел 21, а в адаптерах 54, 55 они находятся по существу над рейкой 53. Положение фиксирующих элементов 23 и 24 относительно боковой стенки корпуса или относительно непосредственно установленного на ней выдвижного устройства 48 остается таким же, как и на фиг.6. Таким образом, одни и те же опорные элементы 11 и коробки могут устанавливаться как на простом выдвижном устройстве 13, так и на сдвоенном выдвижном устройстве 48, 49.

1. Холодильный аппарат, содержащий холодильную камеру (3), в которой емкость (5; 4) для охлаждаемых продуктов установлена с возможностью перемещения с помощью двух телескопических выдвижных устройств (13; 48, 49), отличающийся тем, что емкость (5; 4) для охлаждаемых продуктов удерживается на каждом телескопическом выдвижном устройстве (13; 48, 49) с помощью, по меньшей мере, одного адаптера (19, 20), причем контактная поверхность (56) адаптера (19, 20), поддерживающая емкость (5; 4) для охлаждаемых продуктов, расположена по высоте над телескопическими выдвижными устройствами (13; 48, 49), причем контактная поверхность (56) адаптера (19, 20) проходит, по меньшей мере, частично перпендикулярно над телескопическим выдвижным устройством (48, 49), на котором укреплен адаптер, или контактная поверхность (56) адаптера (19, 20) проходит, по меньшей мере, частично перпендикулярно над промежуточным пространством (47) между емкостью (5) для охлаждаемых продуктов и телескопическим выдвижным устройством (13).

2. Холодильный аппарат по п.1, отличающийся тем, что адаптер (19, 20) имеет угловую форму и выполнен с вертикальным телом, укрепленным сбоку на телескопическом выдвижном устройстве, и горизонтальной закраиной, образующей контактную поверхность.

3. Холодильный аппарат по п.1, отличающийся тем, что установленная на адаптерах (19, 20) емкость (5, 4) для охлаждаемых продуктов перекрывает адаптеры (19, 20) своим боковым краем.

4. Холодильный аппарат по п.1, отличающийся тем, что адаптер (19, 20) несет промежуточный опорный элемент (11), соединенный с емкостью (5, 4) для охлаждаемых продуктов.

5. Холодильный аппарат по п.1, отличающийся тем, что адаптеры (19, 20) снабжены фиксирующими элементами (23, 24), для фиксации на соответствующем ответном фиксирующем элементе (35, 36) первой емкости (5) для охлаждаемых продуктов.

6. Холодильный аппарат по п.5, отличающийся тем, что каждый адаптер (19, 20) снабжен передним и задним фиксирующими элементами (23, 24), причем задний фиксирующий элемент (24) фиксируется на ответном фиксирующем элементе (36) первой емкости (5) для охлаждаемых продуктов путем смещения по существу параллельно направлению перемещения первой емкости (5) для охлаждаемых продуктов, а передний фиксирующий элемент (23) фиксируется на ответном фиксирующем элементе (35) первой емкости (5) для охлаждаемых продуктов путем смещения по существу перпендикулярно направлению перемещения первой емкости (5) для охлаждаемых продуктов.

7. Холодильный аппарат по п.6, отличающийся тем, что задний фиксирующий элемент (24) адаптеров (19, 20) выполнен в виде жесткой головки, а ответный ему фиксирующий элемент выполнен в виде прорези (36) емкости (5) для охлаждаемых продуктов, причем прорезь имеет открытый конец в направлении перемещения емкости.

8. Холодильный аппарат по п.6, отличающийся тем, что передний фиксирующий элемент (23) адаптеров (19, 20) выполнен в виде головки, упруго деформируемой при фиксации и выводе из фиксации с ответным фиксирующим элементом (35).

9. Холодильный аппарат по п.8, отличающийся тем, что головка переднего фиксирующего элемента (23) содержит, по меньшей мере, одну упругую в направлении перемещения полку (25), которая в зафиксированном состоянии удерживает прижатым к упору ответный фиксирующий элемент (35) емкости (5) для охлаждаемых продуктов.

10. Холодильный аппарат по любому из пп.6-9, отличающийся тем, что передний и задний фиксирующий элемент (23, 24) образован соответственно на переднем или заднем адаптере (19, 20) каждого телескопического выдвижного устройства (13).

11. Холодильный аппарат по п.10, отличающийся тем, что передний и задний адаптеры (19, 20) имеют каждый плоскость симметрии, перпендикулярную направлению перемещения емкости (5) для охлаждаемых продуктов.

12. Холодильный аппарат по п.1, отличающийся тем, что свободный ход двух подвижных относительно друг друга реек (14, 15; 50, 51; 52, 53) каждого телескопического выдвижного устройства (13; 48, 49) составляет меньше двух третей их длины.

13. Холодильный аппарат по п.6, отличающийся тем, что каждая емкость (4, 5) для охлаждаемых продуктов содержит основной корпус и два укрепленных на основном корпусе опорных элемента (11), на которых образованы ответные фиксирующие элементы (35, 36).

14. Холодильный аппарат по п.13, отличающийся тем, что основной корпус сформован из листа, а опорные элементы (11) изготовлены способом литья под давлением.

15. Холодильный аппарат по п.1, отличающийся тем, что две рейки (14, 15; 50, 51; 52, 53) каждого телескопического выдвижного устройства (13; 48, 49) направляются с возможностью относительного перемещения с помощью линейных шариковых опор (45, 46).