Радиатор с функцией частичной нагрузки
Иллюстрации
Показать всеИзобретение относится к области теплотехники и может быть использовано при изготовлении и реконструкции радиаторов водяного отопления. Многорядный радиатор, прежде всего плоский радиатор или нагревательная стенка, с местом подключения (V) подачи и местом подключения (R) слива, и первой проточной и, предпочтительно, обращенной к подлежащему обогреву помещению пластиной радиатора и по меньшей мере одной другой проточной и расположенной, предпочтительно, позади пластиной, и расположенными между ними на каждом верхнем боковом концевом участке и на нижних боковых концевых участках соединительными фитингами, выполненными в виде тройников, при этом для направления теплоносителя из передней отопительной пластины в заднюю(-ие) пластину(-ы) пара соединительных фитингов, в зависимости от типа подключения, соединены между собой посредством восходящей трубы, у соответственно противолежащих восходящей трубе соединительных фитингов направленные к задней(-им) нагревательной(-ым) пластине(-ам) направления движения потока закрыты, соответственно нижние, соединенные с восходящей трубой соединительные фитинги отделяют выходящий из задней пластины в место подключения (R) слива теплоноситель от передаваемого от передней пластины через восходящую трубу в заднюю пластину теплоносителя. 6 з.п. ф-лы, 2 ил.
Реферат
Изобретение относится к многорядному радиатору, прежде всего плоскому радиатору или нагревательной стенке, с функцией частичной нагрузки согласно ограничительной части пункта 1 формулы изобретения.
Радиаторы с устройствами для направленной проводки теплоносителя для достижения функции частичной нагрузки уже известны. Тем самым должно достигаться то, что в процессе обогрева теплоноситель протекает через, предпочтительно, направленную к подлежащему отоплению помещению отопительную пластину, и, тем самым, происходит быстро ощутимый нагрев помещения. Подобные радиаторы могут быть выполнены различными способами. Одной из возможностей является последовательное включение отдельных нагревательных пластин таким образом, что теплоноситель сначала протекает через обращенную к помещению пластину, а затем через обращенную (-ые) от помещения пластину (-ы). Конструктивные формы осуществления такого принципа радиатора получат большое значение в будущем в мероприятиях по ремонту и модернизации, вследствие чего особое внимание следует обратить на варианты без встроенного вентиля при одновременном полностью свободно выбираемом расположении разъемных соединений. Радиаторы названного типа описываются, например, в публикациях ЕР 1227290 В1, DE 3216922 C2, DE 202004019163 U1, DE 202004017628 U1 и DE-PS 25117611. В ЕР 1227290 В1 в одной конструктивной форме в одном из поперечных каналов в области хода подачи расположена вставная деталь, при этом посредством вставной детали вода подачи может направляться к другому поперечному каналу. В другой форме осуществления в одном из поперечных каналов вставная деталь расположена в области соединительной детали, при этом посредством вставной детали предотвращается перетекание теплоносителя из поперечного канала в соединительную деталь.
В остальных публикациях описаны схожие решения с разнообразными вставными деталями. Недостатком в таких решениях является то, что перед ниппелями клапана и запорными резьбовыми соединениями согласно руководству по монтажу в соединительные тройники должны устанавливаться соответствующие вставные детали.
Далее, из DE 202005012826 U1 уже известен фитинг, который сам простирается в продольном направлении по отношению к радиатору и обеспечивает необходимую схему соединений. В данном случае недостатком является зависимость от конструктивной длины радиатора.
Поэтому задача данного изобретения заключается в предоставлении пользователю готового и универсально подключаемого радиатора с возможностью эксплуатации с функцией частичной нагрузки, который без всякой привязки к конструктивной длине ориентируется только на конструктивную высоту радиатора и, таким образом, может быть более просто и экономично изготовлен. Предпочтительно, благодаря этому могут быть исключены ошибки при подключении, которые могут оказать негативное влияние на функции частичной нагрузки.
Согласно изобретению эта задача решена посредством признаков пункта 1 формулы изобретения. Предпочтительные усовершенствования изобретения содержатся в относящихся к нему пунктах 2-7.
Таким образом, изобретение включает в себя многорядный радиатор, прежде всего плоский радиатор или нагревательную стенку, с местом подключения подачи и местом подключения слива, и первой проточной и, предпочтительно, обращенной к подлежащему обогреву помещению пластиной радиатора и по меньшей мере одной другой проточной и расположенной, предпочтительно, позади пластиной, и расположенными между нагревательными пластинами на каждом верхнем боковом концевом участке, выполненными в виде тройников соединительными фитингами a, b и расположенными на нижних боковых концевых участках, выполненными в виде тройников соединительными фитингами с, d, при этом соединительные фитинги а, с или b, d для направления теплоносителя из передней отопительной пластины в заднюю(-ие) пластину(-ы) соединены между собой посредством восходящей трубы (е). У соответственно противолежащих восходящей трубе (е) соединительных фитингов направленные к задней(-им) нагревательной(-ым) пластине(-ам) направления движения потока закрыты. Соответственно нижние, соединенные с восходящей трубой (е) соединительные фитинги отделяют выходящий из задней пластины в место подключения (R) слива теплоноситель от передаваемого от передней пластины через восходящую трубу (е) в заднюю пластину теплоносителя. Предпочтительно, подключение к нагревательному контуру может осуществляться согласно схемам соединений AC, AD, ВС и BD. Таким образом, подключение радиатора к нагревательному контуру может происходить любым образом с разных сторон или с одной стороны.
В зависимости от типа подключения подача теплоносителя может вводиться через правый или левый верхний соединительный фитинг. Нежелательные направления движения потока в соединительных фитингах предотвращаются благодаря тому, что в них предусмотрены запорные шайбы.
При схемах подключений AD, ВС у противолежащих месту подключения подачи верхних соединительных фитингов проход к задней пластине закрыт запорной шайбой. Запорные шайбы могут быть снабжены отверстиями утечки. Отверстия служат для удаления воздуха или опорожнения радиатора.
При схемах подключений AC, BD, содержащие место подключения подачи, верхние соединительные фитинги отделяют подачу (V) теплоносителя от передаваемого из восходящей трубы (е) в заднюю пластину теплоносителя. Предпочтительно, отделение встречающихся в соединительных фитингах потоков теплоносителя может происходить посредством конструкций сдвоенных труб внутри соединительных фитингов.
Далее изобретение более подробно поясняется с помощью чертежей. При этом описываются другие преимущества данного изобретения.
Фиг.1 - двухрядный плоский радиатор в перспективном изображении со схемой подключения AD,
Фиг.2 - двухрядный радиатор в перспективном изображении в частичном разрезе со схемой подключения BD.
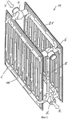
На фиг.1 изображен двухрядный плоский радиатор (10) с местом подключения подачи и местом подключения слива и первой проточной и, предпочтительно, обращенной к подлежащему обогреву помещению пластиной (11) радиатора и другой проточной и расположенной, предпочтительно, позади пластиной (21) и расположенными между нагревательными пластинами (11, 21) на каждом верхнем боковом концевом участке соединительными фитингами (а, b) и расположенными на нижних боковых концевых участках соединительными фитингами (с, d).
Соединительные фитинги (а, b, с, d) состоят из тройников, при этом у соединительных фитингов (а, с) направленные к задней отопительной пластине (21) направления движения потока закрыты запорными шайбами, а у соединительного фитинга (b) направленное к передней отопительной пластине (11) направление движения потока также закрыто запорной шайбой. При этом запорные шайбы в зависимости от типа подключения могут быть снабжены отверстием утечки для удаления воздуха или опорожнения радиатора.
Согласно фиг.1 и 2 соединительные фитинги (b, d) соединены между собой посредством восходящей трубы (е), с помощью которой поток теплоносителя направляется от передней к задней пластине. Подключение радиатора может происходить любым образом с разных сторон или с одной стороны согласно схемам подключения AC, AD, ВС или BD. Подача V теплоносителя также может вводиться в зависимости от типа подключения через соединительный фитинг (а) или (b) (Фиг.1 или Фиг.2).
Соединительные фитинги (b, d) для направления теплоносителя из передней отопительной пластины (11) в заднюю(-ие) отопительную(-ые) пластину(-ы) (21) соединены между собой посредством восходящей трубы (е).
У противолежащих восходящей трубе (е) соединительных фитингов (а, с) направленные к задней(-им) пластине(-ам) (21) направления движения потока закрыты.
Нижний соединенный с восходящей трубой (е) соединительный фитинг (d) отделяет выходящий из задней пластины (21) в место подключения (R) слива теплоноситель от передаваемого от передней пластины (11) через восходящую трубу (е) в заднюю пластину (21) теплоносителя. В противолежащем месту подключения подачи верхнем соединительном фитинге b проход к задней пластине (21) закрыт запорной шайбой.
Из фиг.2 становится ясно, что при схеме подключения BD содержащий место подключения подачи верхний соединительный фитинг b отделяет подачу (V) теплоносителя от передаваемого из восходящей трубы (е) в заднюю пластину (21) теплоносителя.
1. Многорядный радиатор, прежде всего плоский радиатор или нагревательная стенка (10), с местом подключения (V) подачи и местом подключения (R) слива, и первой проточной и, предпочтительно, обращенной к подлежащему обогреву помещению пластиной (11) радиатора и по меньшей мере одной другой проточной и расположенной, предпочтительно, позади пластиной (21), и расположенными между нагревательными пластинами (11, 21) на каждом верхнем боковом концевом участке, выполненными в виде тройников соединительными фитингами (а, b) и расположенными на нижних боковых концевых участках, выполненными в виде тройников соединительными фитингами (с, d),отличающийся тем, чтосоединительные фитинги (а, с) или (b, d) для направления теплоносителя из передней отопительной пластины (11) в заднюю (-ие) пластину (-ы) (21) соединены между собой посредством восходящей трубы (е),у соответственно противолежащих восходящей трубе (е) соединительных фитингов направленные к задней (-им) нагревательной (-ым) пластине (-ам) (21) направления движения потока закрыты,соответственно нижние, соединенные с восходящей трубой (е) соединительные фитинги отделяют выходящий из задней пластины (21) в место подключения (R) слива теплоноситель от передаваемого от передней пластины (11) через восходящую трубу (е) в заднюю пластину (21) теплоносителя.
2. Радиатор по п.1, отличающийся тем, что подключение к отопительному контуру выполнено с возможностью подключения согласно схемам соединений AC, AD, ВС и BD.
3. Радиатор по п.2, отличающийся тем, что подача (V) теплоносителя в зависимости от типа подключения выполнена с возможностью ввода через соединительный фитинг (а) или (b).
4. Радиатор по одному из пп.1-3, отличающийся тем, что при схемах соединений AD, ВС у противолежащих месту подключения подачи верхних соединительных фитингов проход к задней пластине (21) закрыт запорной шайбой.
5. Радиатор по одному из пп.1-3, отличающийся тем, что при схемах соединений AC, BD содержащие место подключения подачи верхние соединительные фитинги отделяют подачу (V) теплоносителя от передаваемого из восходящей трубы (е) в заднюю пластину (21) теплоносителя.
6. Радиатор по п.4, отличающийся тем, что запорные шайбы для закрытия соединительных фитингов снабжены отверстиями утечки.
7. Радиатор по одному из пп.1-3, отличающийся тем, что отделение встречающихся в соединительных фитингах потоков теплоносителя происходит посредством конструкций сдвоенных труб внутри соединительных фитингов.

