Способ и система для управления потоками в скважине
Иллюстрации
Показать всеГруппа изобретений относится к области управления потоками в скважине. Например, типичное эксплуатационное оборудование скважины может включать сепаратор для отделения воды от нефти, в котором получают добытую смесь текучих сред и разделяют смесь на соответствующие потоки воды и нефти. Поток воды могут закачивать обратно в скважину. Для этого может быть разработана скважинная система для регулирования скорости закачки воды обратно в скважину. Группа изобретений обеспечивает повышение эффективности управления потоками в скважине. Сущность изобретений: в скважине размещают скважинное оборудование для приема потоков текучих сред через первый и второй каналы для прохождения потоков текучих сред. Это оборудование содержит регулятор разделения потока, имеющий взаимодействующие между собой устройство, связанное с первым каналом, и устройство, связанное со вторым каналом. Посредством регулятора регулируют выходные потоки в первом и втором каналах таким образом, что увеличивается выходной поток в одном из первого и второго каналов в ответ на увеличение выходного потока в другом из первого и второго каналов посредством воздействия на одно из указанных устройств для поддержания постоянным соотношения выходных потоков в указанных каналах. 2 н. и 14 з.п. ф-лы, 6 ил.
Реферат
Настоящее изобретение относится к способу и системе для управления потоками текучих сред в скважине.
В скважине возникают различные задачи, которые связаны с управлением потоками. Например, типичное эксплуатационное оборудование скважины может включать сепаратор для отделения воды от нефти, который получает добытую смесь текучих сред и разделяет смесь на соответствующие потоки воды и нефти. Поток воды может закачиваться обратно в скважину, и для этого может быть разработана скважинная система для регулирования скорости закачки воды обратно в скважину.
Обычный способ управления потоком в среде скважины связан с использованием устройства, создающего потери, например жиклеры или другие ограничители. Размер протоков в устройстве можно определить, например, с помощью простых гидравлических вычислений, которые основаны на предположении, что скважинные гидравлические параметры являются относительно не изменяющимися во времени. Однако, когда давление и/или характеристики потока в одной части гидравлической системы изменяются, весь баланс потока может быть нарушен, поскольку вычисленный размер больше не является правильным.
Таким образом, существует потребность в улучшении способов управления потоками в скважине.
Краткое описание изобретения
Согласно изобретению создан способ управления потоками текучих сред в скважине, при котором размещают в скважине скважинное оборудование для приема потоков через первый и второй каналы для прохождения потоков текучих сред, содержащее регулятор разделения потока, имеющий взаимодействующие между собой устройство, связанное с первым каналом, и устройство, связанное со вторым каналом, при этом посредством регулятора регулируют выходные потоки в первом и втором каналах таким образом, что увеличивается выходной поток в одном из первого и второго каналов в ответ на увеличение выходного потока в другом из первого и второго каналов посредством воздействия на одно из указанных устройств для поддержания постоянным соотношения выходных потоков в указанных каналах.
В качестве оборудования можно использовать делитель потока.
При осуществлении способа можно регулировать указанные выходные потоки таким образом, что их соотношение, по существу, не зависит от давлений ниже по потоку от точки, в которой происходит регулирование.
При осуществлении способа можно создавать выходные потоки из единственного входного потока или из множества входных потоков.
В качестве оборудования можно использовать, по меньшей мере, один гидроциклон для приема, по меньшей мере, одного из потоков, или трубопровод для подачи, по меньшей мере, одного потока из скважины на поверхность, или, по меньшей мере, один трубопровод для закачки, по меньшей мере, одного из потоков в скважину.
Потоки можно создавать сепаратором текучих сред. Согласно изобретению создана скважинная система для управления потоками текучих сред в скважине, содержащая первый и второй каналы, расположенные в скважине для прохождения потоков текучих сред, и регулятор разделения потока для регулирования соотношения выходных потоков в первом и втором каналах, имеющий взаимодействующие между собой устройство, связанное с первым каналом, и устройство, связанное со вторым каналом, при этом регулятор способен регулировать выходные потоки в первом и втором канале таким образом, что увеличивается выходной поток в одном из первого и второго каналов в ответ на увеличение выходного потока в другом из первого и второго каналов посредством воздействия на одно из первого и второго устройств для поддержания постоянным соотношения выходных потоков в указанных каналах.
Система может содержать делитель потока.
По меньшей мере, один из первого и второго каналов может пропускать, по меньшей мере, один поток из скважины на поверхность.
Система может дополнительно содержать скважинное оборудование для подачи, по меньшей мере, одного потока на регулятор потока.
Регулятор потока может содержать механическое устройство или трубку Вентури.
Первый канал может быть предназначен для прохождения скважинной текучей среды, добытой в скважине на поверхность, и второй канал может быть предназначен для прохождения воды, добытой в скважине, обратно в скважину.
Преимущества и другие признаки настоящего изобретения будут очевидны из нижеследующих чертежей, описания и формулы.
КРАТКОЕ ОПИСАНИЕ ЧЕРТЕЖЕЙ
Фиг.1 изображает блок-схему способа управления потоками в скважине согласно варианту настоящего изобретения.
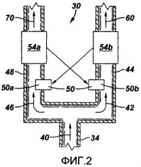
Фиг.2 - схематичный вид системы для управления потоками в скважине, создаваемыми одинарным потоком на входе согласно варианту настоящего изобретения.
Фиг.3 - схематичный вид системы для управления потоками в скважине, создаваемыми множеством потоков на входе согласно варианту настоящего изобретения.
Фиг.4 - схематичный вид регулятора разделения потоков на основе трубки Вентури согласно варианту настоящего изобретения.
Фиг.5 - схематичный вид регулятора разделения потока на основе механической обратной связи согласно варианту настоящего изобретения.
Фиг.6 - схематичный вид скважины согласно варианту настоящего изобретения.
ПОДРОБНОЕ ОПИСАНИЕ
Согласно вариантам настоящего изобретения потоками в скважинной среде управляют путем регулирования соотношения потоков. Так, такой подход позволяет преодолеть недостатки обычных скважинных гидравлических систем, в которых размеры жиклера и другие гидравлические параметры закладываются исходя из предположения, что в расходах, давлении и других скважинных параметрах изменений не произойдет.
Более конкретно, как показано на фиг.1, способ 10 согласно вариантам настоящего изобретения включает создание на стадии 14 в скважине гидравлической системы, которая содержит сообщающиеся каналы для прохождения потоков. Соотношение потоков регулируют на стадии 16 так, что это соотношение остается относительно постоянным и не чувствительным к изменениям давления и/или расхода в гидравлической системе.
В качестве более конкретного примера на фиг.2 показана система 30 для регулирования потоков в скважине по некоторым вариантам настоящего изобретения. Система 30 содержит две перекрестно соединенные гидравлические подсистемы управления потоком, которые регулируют выходные потоки 60 и 70, создаваемые из входного потока 40. Более конкретно, входной поток 40 (приходящий по трубопроводу 34) делится на два промежуточных потока 42 и 46, подаваемых по трубопроводам 44 и 48 соответственно на регулятор 50 потока (регулятор 50а предназначен для управления потоком 46, а регулятор 50b предназначен для управления потоком 42). Регулятор 50b, управляя промежуточным потоком 42, создает выходной поток 60, а регулятор 50а, управляя промежуточным потоком 46, создает выходной поток 70.
Датчики 54а, 54b потока установлены для определения потоков 46 и 42 соответственно и создают положительную обратную связь на регулятор 50 потока в другом канале. Таким образом, регулятор 50а управляет выходным потоком 70 на основе выходного потока 60, который определяется датчиком 54b. Аналогично, регулятор 50b регулирует выходной поток 60 на основе выходного потока 70, определяемого датчиком 54а. Благодаря положительно обратной связи, создаваемой такой схемой управления, регулятор 50 потока увеличивает выходной поток 70 в ответ на обнаружение увеличения выходного потока 60. Точно так же регулятор 50b потока увеличивает выходной поток 60 в ответ на обнаруженное увеличение выходного потока 70.
Хотя на фиг.2 показана схема управления для использования с единственным входным потоком, в других вариантах изобретения подобная схема управления может использоваться для управления отношениями потоков, создаваемых параллельными входными потоками. Более конкретно, на фиг.3 показан вариант такой системы 76 по некоторым вариантам настоящего изобретения. Система 76 получает параллельные входные потоки 78. Система 76 может содержать, например, пассивное устройство 74, которое регулирует результирующие выходные потоки 80, полученные в ответ на наличие параллельных входных потоков 78, так, что соотношение выходных потоков 80 является относительно постоянным. Так, для двух выходных потоков Q1 и Q2 система 76 по существу выполняет следующее равенство:
Q1/Q2=k (Равенство 1),
где "k" - константа.
В качестве более конкретного примера пассивное устройство 74 (фиг.3) согласно некоторым вариантам настоящего изобретения может быть трубкой Вентури или механизмом измерительной диафрагмы. Например, на фиг.4 показан пассивный, построенный на трубке Вентури регулятор 100 разделения потока согласно вариантам настоящего изобретения. Регулятор 100 принимает входной поток 104 (для этого примера) на входе 105. Входной поток 104 течет по основному каналу трубки 110 Вентури для создания соответствующего выходного потока 108 на выходе 107. Трубка 110 Вентури содержит всасывающее входное отверстие 115, прилагающее всасывающее усилие к поршню 120 в ответ на наличие в основном канале трубки 110 Вентури. Это всасывание, создаваемое потоком, имеющимся в основном канале трубки 110 Вентури заставляет поршень преодолевать сопротивление пружины 140 и двигаться для открывания канала 117 и создания в нем потока. Канал 117, в свою очередь, сообщается с входом 105. Таким образом, для данного потока через трубку 110 Вентури, открывается сообщение через канал 117 для создания соответствующего потока на другом выходе 131 регулятора 100. Когда выходной поток 108 увеличивается, это приводит к соответствующему увеличению всасывания на линии 115 всасывания для дальнейшего открывания канала 117 для дальнейшего увеличения потока 130. Таким образом, регулятор 100 создает положительную обратную связь для регулирования соотношения выходных потоков 108 и 130 так, чтобы оно было относительно постоянным.
Следует отметить, что регулятор 100 показан на фиг.4 и описан просто для иллюстрации пассивного делителя потока или регулятора потока, который может использоваться в скважинной среде по некоторым вариантам настоящего изобретения. В других вариантах настоящего изобретения могут использоваться другие пассивные или активные регуляторы потока.
На фиг.5 в качестве другого варианта настоящего изобретения показана система 150, в которой используются два объемных устройства 160 для регулирования соотношений двух выходных потоков 180. По существу, объемные устройства 160 содержат лопасти или турбины, которые вращаются в ответ на поступающий входной поток 152. Благодаря механической связи 170 между объемными устройствами 160 их вращение управляется частично через положительную обратную связь от другого объемного устройства 160. Таким образом, увеличение потока через одно объемное устройство 160 приводит к соответствующему увеличению потока через другое объемное устройство 160.
Описанные выше системы управления потоком могут применяться в скважине для решения различных задач. В качестве конкретного примера некоторых вариантов настоящего изобретения такие системы управления потоком могут использоваться для отделения в скважине воды от нефти. Основной принцип заключается в принятии добытой текучей среды (смеси нефти и воды, в которой содержание воды обычно составляет восемьдесят и более процентов) и прокачивании добытой текучей среды через устройство, которое отделяет воду от смеси и закачивает воду в зону отложения в скважине. В качестве более конкретного примера на фиг.6 показана скважина 200, содержащая регулятор 244 разделения потока согласно вариантам настоящего изобретения.
Скважина 200 содержит продуктивную зону 220, расположенную под нижним пакером 240, и зону 260 отвода воды, расположенную между нижним пакером 240 и верхним пакером 241. Насос 222 скважины 200 принимает добытую смесь 221 скважинных текучих сред, содержащую нефть и воду. Насос 222 создает выходной поток 230, который поступает на сепаратор 234, отделяющий нефть от воды, который согласно вариантам настоящего изобретения может быть гидроциклоном. Гидроциклон 234 создает два потока: поток воды и поток нефти.
Без правильного регулирования соотношения потоков нефти и воды могут возникнуть несколько проблем. Например, если количество добываемой воды возрастет больше, чем ожидалось, для предотвращения подачи воды на поверхности скважины 200, скорость, с которой воду нагнетают обратно в зону 260 отвода воды, необходимо увеличить. Если добыча воды существенно меньше, чем ожидалось, в эту зону 260 отвода можно закачивать нефть. Следовательно, за счет управления соотношением потоков нефти и воды эффективность процессов удаления воды и добычи нефти повышается до максимума.
Как показано на фиг.6, регулятор 244 потоков создает поток 270 воды, который по трубопроводу 250 подается в зону 260 отвода воды, и регулятор 244 также создает поток 217 нефти, который по трубопроводу, или по эксплуатационной колонне 215, подается на поверхность.
Итак, общим назначением регулятора потоков является поддержание соотношения разделения потока на некотором постоянном уровне в среде скважины. Регулятор потоков определяет изменения потока или давления и реагирует, поддерживая соотношение потоков. Такая конструкция должна контрастировать с подходом, согласно которому проектируют гидравлическую систему, основываясь на предполагаемой (но, вероятно, неверной) модели разделения потока, используют жиклеры с потерями для принудительно разделения потока или помещают в систему устройство, которое максимально удаляет воду. Последний подход может быть значительно более сложным, чем применение регулятора для разделения потока, поскольку при таком подходе потребуются датчики для воды и обратная связь на клапан, управляющий расходом.
При использовании регуляторов в среде скважины возникает несколько практических вопросов как общего характера, так и специфичных для конкретных задач. Устройства являются пассивными (т.е. не требуют энергии). Поэтому, чтобы повлиять на разделение потока, необходимо проделать работу, которая основана на потерях в устройстве, измеряющем поток (которые могут быть небольшими, если используется трубка Вентури), тем более, если контроллер потока должен дросселировать поток (преимущественно как частично закрытый клапан). Чем большей степени управления должно достичь устройство, тем больше потери. Поэтому существенное разделение потока при неблагоприятных перепадах давления создаст наибольшее падение давление на устройстве.
Регуляторы потока могут иметь движущиеся детали для ограничения потока, и, следовательно, наличие твердых частиц в среде скважины может представлять опасность и исключить возможность применения регуляторов потока объемного типа. Твердые частицы также могут представлять проблему для регуляторов потока гидравлического типа, поскольку скорость потока через датчик потока и регулятор потока высока. Обычно для создания достаточных гидравлических сил в системе гидравлической обратной связи используют скорость потока несколько метров в секунду. Верхняя граница скорости потока может быть ограничена такими факторами, как эрозия и потенциал заклинивания движущихся деталей высокоскоростным потоком.
Устройства могут иметь конечный динамический диапазон в зависимости от СD относительно характеристики расхода контроллеров потока, но одно устройство может охватить разделение потока в соотношении 10:1 и изменения давления в одном из потоков ниже по течению.
При использовании регулятора для разделения потока после сепаратора, разделяющего нефть и воду, независимо от того, относится он к гравитационному типу, является гидроциклоном или вращающимся циклоном, могут возникнуть другие трудности. Во-первых, давление в двух разделенных потоках не обязательно может быть одинаковым, и, во-вторых, плотность двух потоков может быть разной. Разницу давлений на входе можно компенсировать конструкцией регулятора потока в одной или в обеих линиях либо в форме коррекции в контроллере потока, если разница невелика, либо в форме устройства с потерями (например, фиксированный жиклер) в линии давления.
Использование гидравлического регулятора связано с наличием датчика потока, характеристики которого пропорциональны корню квадратному из плотности. Поэтому различия и изменения в плотности в одной или в обеих линиях влияют на управление, но, если имеются некоторые знания о первоначальных свойствах текучих сред, можно задать начальную установку для учета начальных условий и квадратный корень уменьшает чувствительность к этому эффекту. В такой конфигурации датчик потока для линии текучей среды, богатой нефтью, воздействует на регулятор потока для линии текучей среды богатой водой и наоборот, поэтому возникает объединенный эффект контраста плотности между двумя линиями.
Хотя настоящее изобретение было описано в отношении ограниченного количества вариантов, специалистам из настоящего описания будут понятны многочисленные модификации и варианты настоящего изобретения. Все такие модификации и варианты, входящие в пределы изобретательской идеи и объема настоящего изобретения, охвачены прилагаемой формулой.
1. Способ управления потоками текучих сред в скважине, при котором размещают в скважине скважинное оборудование для приема потоков текучих сред через первый и второй каналы для прохождения потоков текучих сред, содержащее регулятор разделения потока, имеющий взаимодействующие между собой устройство, связанное с первым каналом, и устройство, связанное со вторым каналом, при этом посредством регулятора регулируют выходные потоки в первом и втором каналах таким образом, что увеличивается выходной поток в одном из первого и второго каналов в ответ на увеличение выходного потока в другом из первого и второго каналов посредством воздействия на одно из указанных устройств для поддержания постоянным соотношения выходных потоков в указанных каналах.
2. Способ по п.1, в котором в качестве оборудования используют делитель потока.
3. Способ по п.1, в котором регулируют указанные выходные потоки таким образом, что их соотношение, по существу, не зависит от давлений ниже по потоку от точки, в которой происходит регулирование.
4. Способ по п.1, в котором создают выходные потоки из единственного входного потока.
5. Способ по п.1, в котором создают выходные потоки из множества входных потоков.
6. Способ по п.1, в котором в качестве оборудования используют, по меньшей мере, один гидроциклон для приема, по меньшей мере, одного из потоков.
7. Способ по п.1, в котором в качестве оборудования используют трубопровод для подачи, по меньшей мере, одного потока из скважины на поверхность.
8. Способ по п.1, в котором в качестве оборудования используют, по меньшей мере, один трубопровод для закачки, по меньшей мере, одного из потоков в скважину.
9. Способ по п.1, в котором потоки создают сепаратором текучих сред.
10. Скважинная система для управления потоками текучих сред в скважине, содержащая первый и второй каналы, расположенные в скважине для прохождения потоков текучих сред, и регулятор для разделения потока для регулирования соотношения выходных потоков в первом и втором каналах, имеющий взаимодействующие между собой устройство, связанное с первым каналом, и устройство, связанное со вторым каналом, при этом регулятор способен регулировать выходные потоки в первом и втором канале таким образом, что увеличивается выходной поток в одном из первого и второго каналов в ответ на увеличение выходного потока в другом из первого и второго каналов посредством воздействия на одно из первого и второго устройств для поддержания постоянным соотношения выходных потоков в указанных каналах.
11. Система по п.10, которая содержит делитель потока.
12. Система по п.10, в которой, по меньшей мере, один из первого и второго каналов способен пропускать, по меньшей мере, один поток из скважины на поверхность.
13. Система по п.10, дополнительно содержащая скважинное оборудование для подачи, по меньшей мере, одного потока на регулятор потока.
14. Система по п.10, в которой регулятор потока содержит механическое устройство.
15. Система по п.10, в которой регулятор потока содержит трубку Вентури.
16. Система по п.10, в которой первый канал предназначен для прохождения скважинной текучей среды, добытой в скважине на поверхность, и второй канал предназначен для прохождения воды, добытой в скважине, обратно в скважину.
 
                         
                            


